Using unmanned aerial vehicles to identify unauthorized municipal solid waste dump sites
- Authors: Popov A.A.1, Tramova A.M.1, Romanova Y.D.1
-
Affiliations:
- Plekhanov Russian University of Economics
- Issue: Vol 26, No 5 (2024)
- Pages: 40-52
- Section: Automation and control of technological processes and productions
- Submitted: 24.12.2024
- Accepted: 24.12.2024
- Published: 17.11.2024
- URL: https://bakhtiniada.ru/1991-6639/article/view/274262
- DOI: https://doi.org/10.35330/1991-6639-2024-26-5-40-52
- EDN: https://elibrary.ru/EWTBYA
- ID: 274262
Cite item
Full Text
Abstract
The article is devoted to the issues related to the use of unmanned aerial vehicles for waste management. The purpose of the research is to improve the waste management system by recognizing municipal solid waste in images obtained using unmanned aerial vehicles. The object of the study is waste management. The subject of the research is a methodological apparatus that allows: to determine the required number of unmanned aerial vehicles for remotely obtaining the required number of images of surface areas within a specified period of time and to detect unauthorized dumps sites (accumulations of municipal solid waste) in the obtained images. An analysis of examples of using neural networks and machine learning algorithms for recognizing unauthorized dumps sites in images obtained as a result of remote monitoring of the surface using manned and unmanned aerial vehicles is carried out. An algorithm for determining the minimum number of flights of unmanned aerial vehicles to monitor a surface area is built and the features of using the algorithm are considered. The results obtained in the work can be used in the design of a waste management system that includes remote sensing of the surface using unmanned aerial vehicles.
Full Text
Введение
В 2018 году Президентом России была поставлена задача преобразовать обращение c отходами. Поэтому в 2019 году была начата реформа обращения с отходами в России. Основными положениями «мусорной» реформы являются:
- появление российского экологического оператора – нового субъекта в управлении обращением с отходами;
- ликвидация существующих мусорных свалок и запрет несанкционированных (стихийных) мусорных свалок (НМС);
- внедрение раздельного сбора отходов;
- ввод в строй мусороперерабатывающих заводов.
Наиболее распространенной практикой обнаружения НМС являются наземные проверки состояния участков территории. Это является трудоемким и зачастую опасным для здоровья и вредным для сотрудников, выполняющих такие проверки.
С появлением технологий дистанционного наблюдения Земли стало возможным дистанционное наблюдение за определенными участками территории с помощью использования аэрофотоснимков и снимков с космических аппаратов. Дистанционное наблюдение за поверхностью Земли может производиться с помощью беспилотных и пилотируемых летательных аппаратов, действующих в космосе (за пределами атмосферы Земли), а также с помощью пилотируемых и беспилотных летательных аппаратов различного типа и конфигурации, действующих в пределах атмосферы Земли и совершающих полеты на различных высотах. Аэрофотоснимки и снимки с космических аппаратов, как правило, расшифровывались «вручную» экспертами.
В 2010 – 2015 годах был достигнут прогресс в использовании БПЛА для дистанционного зондирования поверхности Земли. Поэтому выросла привлекательность использования аэрофотоснимков, полученных с видео- и фотокамер, установленных на БПЛА. В настоящее время БПЛА могут применяться для решения широкого спектра задач (например, в геодезических изысканиях, картографировании; при инспектировании ЛЭП, нефте- и газопроводов, инвентаризации водных, лесных и сельскохозяйственных угодий, наблюдении за ходом строительных работ, обследовании объектов ЖКХ [1], в военном деле). Таким образом, БПЛА могут применяться для решения следующих задач в рамках анализа состояния полигонов для хранения отходов (ПХО) и обнаружения НМС:
- Картографирование ПХО и НМС, а также определение особенностей рельефа, типа грунта, глубины залегания подземных вод, плана размещения инженерных сооружений возле ПХО и НМС.
- Оценка вместимости ПХО и объема НМС (получение данных о размерах и границах ПХО и НМС, уровне заполнения ПХО, составе отходов, степени уплотнения захороненных отходов, объеме оставшейся вместимости на ПХО.
- Общий мониторинг (получение данных о состоянии ПХО, НМС и окружающих территорий, определение газовых выбросов, в частности, метана, определение температуры в местах скопления отходов).
Решение таких задач позволяет лицам, принимающим решения (ЛПР), оценить наличие НМС, ее состояние, а также разработать мероприятия по устранению или предотвращению НМС.
Обработка данных, полученных в результате аэрофотосъемки с помощью БПЛА, включает в себя два этапа: фотограмметрическую обработку изображений с получением конечных продуктов обработки (ортофотоплана с географической привязкой и трехмерной модели, текстурированной аэрофотоснимками), тематическую интерпретацию полученных изображений [2, 3].
Эффективность использования БПЛА для обнаружения НМС достигается высокой скоростью сбора данных, их точностью, высокой степенью детализированности, а также отсутствием необходимости привлечения сотрудников, которые должны работать непосредственно на территории для обнаружения НМС.
При этом в [2–4] отмечается, что до недавнего времени при всей эффективности использования аэрофотосъемки с использованием БПЛА все равно им отводилась вспомогательная роль. Например, в [3, 4] определены группы задач по управлению ПХО и НМС, решаемые с помощью БПЛА. Многие решаемые задачи посвящены только изучению пространственных и объемных характеристик ПХО и НМС. Около четверти решаемых задач посвящены мониторингу выбросов свалочного газа или его отдельных компонентов (метана). Причиной такого использования БПЛА являлась недостаточная автоматизация обработки изображений отходов, полученных от фото- и видеокамер на БПЛА, отсутствие баз данных для распознавания снимков отходов и свалок отходов, а также недостаточность методологических материалов для организации такого использования БПЛА. Несмотря на то, что доступность аэрофотоснимков привела к внедрению методов интерпретации изображений для выявления НМС, все равно анализ наблюдаемой поверхности Земли был затруднен из-за преимущественно «ручного» характера решения задачи интерпретации изображений с помощью экспертов.
Современный уровень технологий сбора, обработки данных с помощью дистанционного зондирования, а также уровень развития технологий для распознавания изображений (нейросети, глубокое обучение, компьютерное зрение) позволяют использовать БПЛА для решения более серьезных задач (оценки экологических последствий от эксплуатации ПХО и возникновения НМС, а также обнаружения НМС и оценки их состава и состояния). При этом необходимым условием для использования преимуществ технологий для распознавания изображений является создание высококачественных наборов данных для машинного обучения (МО) и тестирования нейросетей (НС).
Целью исследований является совершенствование системы управления обращением с отходами за счет распознавания НМС на изображениях, полученных с помощью БПЛА. Объектом исследования является управление обращением с отходами. Предметом исследований является методический аппарат, позволяющий определить необходимое количество БПЛА для обнаружения НМС за счет дистанционного наблюдения за участком поверхности Земли, получения изображений поверхности и использования НС и МО для распознавания НМС.
Для выполнения цели исследований необходимо решить следующие задачи:
- Проанализировать примеры использования НС и МО для распознавания изображений отходов и НМС по результатам дистанционного наблюдения за поверхностью Земли.
- Определить количество БПЛА и количество их вылетов для наблюдения за участком поверхности с целью обнаружения НМС.
Исследования, проводимые в рамках данных задач, являются логическим продолжением исследований, проведенных в [1].
Анализ примеров использования нейросетей и машинного обучения для распознавания изображений отходов и несанкционированных мусорных свалок по результатам дистанционного наблюдения за поверхностью Земли
Рассмотрим возможности по распознаванию изображений отходов и НМС с помощью нейросетей (НС) и машинного обучения (МО) с использованием снимков, полученных от фото- и видеокамер на таких летательных аппаратах.
В [5] показано создание модели глубокого обучения сверточной НС для анализа спутниковых изображений сельских районов Кипра. В результате появляется возможность с вероятностью 90 % распознавать изображения, содержащие или не содержащие отходы.
В [6] приведены сведения об использовании данных, полученных в результате дистанционного наблюдения за участком на поверхности Земли для обнаружения несанкционированных свалок строительного мусора. На основе полученных данных определяется коэффициент шероховатости поверхности, который используется в качестве характеристики неровности рельефа. С помощью значений шероховатости идентифицируются скопления строительных отходов на участке поверхности Земли (вероятность распознавания составляет 85,12 %).
В [7] приведена реализация обнаружения НМС в результате решения задачи многомасштабной классификации объектов, расположенных на изображениях, полученных в результате дистанционного наблюдения. Для распознавания используется сверточная НС, для обучения которой создан набор данных приблизительно из 3000 изображений с разрешением 20 см на пиксель. Распознавание НМС производится с вероятностью 87-88 %.
В [8] рассматривается система автоматического дистанционного обнаружения отходов и НМС с использованием результатов видеонаблюдения, а также с помощью НС и МО. Видеокамеры установлены на БПЛА. Система сканирует и идентифицирует объекты, которые напоминают НМС, в режиме реального времени и предупреждает ЛПР о необходимости устранения НМС с указанием его местоположения. При этом наилучшие результаты по обнаружению отходов и НМС были достигнуты при использовании НС Resnet-50.
В [9] анализируются аспекты, связанные с использованием БПЛА для мониторинга окружающей среды и автоматической обработки изображений, полученных с помощью БПЛА. В качестве БПЛА использовался беспилотник Phantom 4 с автономностью полета до 20 минут, оснащенный шестью CMOS-датчиками, включая один RGB-датчик для получения изображений в видимом свете и пять монохроматических датчиков для получения мультиспектральных изображений. Также БПЛА оснащен видеокамерой. Для распознавания НМС используется НС YOLOv4, для обучения которой был создан набор данных. Для создания набора данных было проведено обследование мест, содержащих отходы. Для этого БПЛА в соответствии с планом полета автономно выполняет сканирование местности. Высота полета БПЛА была равна около 10 метров. В результате обследования получено пять видеороликов, которые использовались при формировании набора данных для обучения и тестирования НС. Набор данных включает различные типы местности, на которых содержатся различные типы отходов. В итоге сформированный набор данных содержит несколько последовательностей аэрофотоснимков, из которых были извлечены изображения и помечены скопления отходов. Из полученных пяти видеороликов четыре используются для обучения НС, а один видеоролик – для тестирования с использованием модели обнаружения объектов YOLOv4. Поэтому в обучающих видеороликах отбираются только изображения, на которых присутствуют отходы. Для обучения YOLOv4 использовался высокопроизводительный компьютер с 128 ГБ оперативной памяти и видеокартой Nvidia GeForce RTX2080. Распознавание скоплений отходов на изображениях производится с вероятностью 92 %.
В [10] рассмотрено создание системы, использующей видеотрансляцию в режиме реального времени, полученную с помощью БПЛА, который наблюдает за участком территории для обнаружения участков поверхности, загрязненных отходами. Полученные от БПЛА видеоматериалы с помощью модуля Arduino передаются в режиме реального времени в сервер, выполняющий их обработку. Модули GSM и GPS, размещенные на БПЛА, обеспечивают мобильную связь и определение местоположения БПЛА. Из полученных видеоматериалов формируются панорамные изображения местности, которые обрабатываются с помощью алгоритмов обработки изображений с использованием МО. Для машинного обучения используется предопределенный набор данных в TensorFlow. Данные об обнаружении отходов отправляются соответствующему ЛПР в виде уведомления, содержащего местоположение участка местности с обнаруженными отходами.
В [11] рассмотрено формирование набора данных AerialWaste для обнаружения свалок на аэрофотоснимках. Набор данных содержит 10 434 изображения. Изображения заданного участка поверхности Земли получены из трех источников: по результатам аэросъемки, проведенной итальянским агентством по развитию сельского хозяйства, с помощью коммерческого спутника WorldView-3, а также с помощью сервиса GoogleEarth. На этапе создания набора данных эксперты изучают аэрофотоснимки местности и создают базу данных выявленных местоположений НМС или отходов с соответствующими метаданными (тип отходов, тип местности, режим хранения, степень опасности). В результате в наборе данных 3478 изображений являются положительными примерами мест, которые считаются содержащими НМС, а 6956 – отрицательными примерами (отсутствие НМС). Далее набор данных используется для обучения и тестирования НС ResNet50. Модель распознавания НМС, обученная с использованием набора данных, позволяет распознавать НМС на аэрофотоснимках с вероятностью 87–94,5 %.
В [12] сформирован алгоритм определения местоположения строительных отходов с помощью БПЛА, который позволяет распознавать строительные отходы с большого расстояния. При помощи изображений, полученных с БПЛА (1292 изображения), сформирован набор данных о строительных отходах с высоким разрешением, из которых 1033 были использованы в качестве обучающего набора данных для алгоритма, а остальные – в качестве тестового набора. Точность распознавания скоплений строительного мусора с использованием разработанного алгоритма составила 94,2 %.
В [13] для обнаружения отходов в холмистых районах местности предлагается система на базе использования сверточной НС и БПЛА. Для обучения НС используется набор данных, сформированный на основе изображений пластиковых, сельскохозяйственных, биомедицинских, строительных, бытовых и электронных отходов. Для съемки участка территории с отходами использовался квадрокоптер с 8-мегапиксельной камерой. Высота полета не превышала 10 футов. В некоторых местах съемка изображений была затруднена. В таких местах БПЛА записывал видеоролик, который в дальнейшем преобразовывался в совокупность изображений. Было сделано 2000 снимков, из которых на 1000 изображены участки местности без отходов, а на 1000 – с отходами. Также часть изображений получена из Интернета. После сбора изображений проведено преобразование их размера, а также расширение данных (получено дополнительно 5000 изображений) для обучения двух НС. Одна из НС продемонстрировала лучшее распознавание отходов с вероятностью 94 %.
В [14] рассмотрена система для обнаружения скоплений мусора в море с помощью БПЛА и предоставления информации государственным учреждениям в режиме реального времени. Система мониторинга мусора состоит из БПЛА, системы очередей сообщений (Kafka), базы данных (Mongo), сервера потоковой передачи видео, станции управления БПЛА, веб-сервиса, интеллектуального контроллера, контроллера полета БПЛА, GPS-модуля. веб-камеры Logitech BRIO. Для создания сервера потоковой передачи видео использована сеть 4G. Для выполнения полета в целях обнаружения мусора в БПЛА загружаются предварительно определенные путевые точки. Затем контроллер управления полетом обеспечивает полет БПЛА по путевым точкам. Пролетая между путевыми точками, БПЛА делает снимки, обнаруживает наличие мусора и вычисляет площадь скопления мусора. Распознавание скоплений мусора производится с помощью интеллектуального контроллера в режиме реального времени. На базе интеллектуального контроллера реализована модель обнаружения объектов YOLO. Для обучения данной модели с использованием аэрофотоснимков высокого разрешения создан набор данных HAIDA. После выполнения анализа данных изображение с информацией о мусоре отправляется на сервер для последующего оповещения ЛПР. После того, как все путевые точки проверены, БПЛА должен вернуться в точку старта.
В [15] описано обнаружение НМС с помощью глубокого обучения сверточной НС. Для обучения НС используется набор данных, сформированный на основе видеофайлов, полученных в процессе съемок участка поверхности с помощью БПЛА (DJI Mavic PRO Phantom). Цветная камера, установленная на БПЛА, производит съемку с высоким разрешением 5472*3648 во время полета БПЛА. Полученное видео преобразуется в последовательность изображений, которые трансформируются до размера, соответствующего входным данным алгоритма глубокого обучения. Кроме видеофайлов, от БПЛА поступают метаданные (выдержка, угол обзора, широта, долгота и высота над уровнем моря). После этого определяются изображения, содержащие отходы. При этом на изображениях выделяются участки, соответствующие наличию отходов. В полученном наборе данных содержится 5000 изображений. Методика позволяет с высокой точностью определять НМС на участках местности без деревьев, но точность обнаружения НМС снижается при наличии деревьев.
В результате анализа приведенных выше публикаций установлено, что в них не рассматривается определение количества вылетов БПЛА для обеспечения непрерывного или периодического наблюдения за участком поверхности с целью обнаружения НМС.
Определение количества БПЛА и количества их вылетов для наблюдения за участком поверхности с целью обнаружения несанкционированных мусорных свалок
Беспилотные летательные аппараты используют видеокамеры с углом зрения A для получения изображений наблюдаемого участка поверхности. Для того чтобы видеокамера делала снимки, по которым можно было бы распознавать НМС, необходимо, чтобы БПЛА был на высоте H. В результате съемки видеокамера покрывает на поверхности Земли зону наблюдения в виде окружности площадью S (рис. 1) и радиусом .
Поэтому .
Рис. 1. Зона наблюдения одного БПЛА
Fig. 1. Observation area of one UAV
Предполагается, что для обнаружения НМС под наблюдением должен быть участок поверхности прямоугольной формы площадью D и размерами Q (длина), Y (ширина).
Обзор участка поверхности может производиться либо постоянно в течение некоторого промежутка времени T, либо периодически в течение промежутков времени . Время работы БПЛА складывается из трех составляющих: (время полета от места старта к участку поверхности, за которым производится наблюдение), (выполнение наблюдения за участком поверхности) и (время полета от участка поверхности, за которым производится наблюдение, к месту посадки).
Если , то в текущий момент времени для наблюдения необходимо несколько (Р) БПЛА. В соответствии с рис. 2 БПЛА должны быть расположены друг относительно друга по схеме, приведенной на рис. 2, и расстояние между БПЛА равно Z (по горизонтали) и B (по вертикали). При этом R<Z<2*R, R<B<2*R, B≤Z.
Рис. 2. Зона наблюдения, формируемая с помощью нескольких БПЛА
Fig. 2. Observation zone formed by several UAVs
Как показано на рис. 2, зона наблюдения нескольких БПЛА образуется из совокупности «одиночных» зон наблюдения, которые пересекаются друг на другом. При этом площадь каждой из которых равна S.
В одном ряду по горизонтали расположены Р1 БПЛА. При этом имеется несколько рядов БПЛА (Р2). Таким образом, P = Р1 * Р2. Зоны наблюдения БПЛА, пересекающиеся друг с другом (в количестве Р штук), образуют геометрическую фигуру, состоящую из прямоугольника и «лепестков» (фигура серого цвета на рис. 2). Площадь фигуры равна
,
где
,
,
,
.
Для наблюдения за прямоугольным участком площадью D необходимо, чтобы его полностью «накрывала» фигура серого цвета (рис. 2) площадью W, то есть должно выполняться условие .
Если БПЛА наблюдает за участком поверхности, то через промежуток времени его ресурсы заканчиваются, и его должен сменить другой БПЛА. Поэтому следующий БПЛА должен вылететь на смену через промежуток времени после старта предыдущего БПЛА. Беспилотный летательный аппарат, выполнивший наблюдение, возвращается для подготовки к новому запуску. Таким образом, для обеспечения наблюдения за участком поверхности в течение некоторого момента времени необходимо иметь как минимум три БПЛА, находящихся в следующих режимах функционирования (по одному в каждом режиме):
- первый режим функционирования: БПЛА выполняет наблюдение;
- второй режим функционирования: БПЛА находится в готовности к вылету;
- третий режим функционирования: БПЛА находится в состоянии подготовки к вылету.
Таким образом, для постоянного наблюдения за участком поверхности в течение промежутка времени требуется F вылетов БПЛА с нахождением их в первом режиме функционирования, где
– время работы p-го БПЛА в первом режиме функционирования (p = 1, 2, …, P).
При этом – оператор извлечения целой части из числа.
Если же требуется периодическое наблюдение в течение промежутков времени , то для этого потребуется F вылетов БПЛА с нахождением их в первом режиме функционирования, где
Если , то для постоянного наблюдения за участком поверхности достаточно одного БПЛА (P = 1), наблюдающего за участком поверхности. При таких условиях для постоянного наблюдения одним БПЛА в течение промежутка времени T требуется F вылетов БПЛА, находящихся в первом режиме функционирования. При этом значение F для постоянного наблюдения и периодического наблюдения в моменты времени определяется с использованием приведенных выше формул, в которых P = 1.
Таким образом, с учетом БПЛА, находящихся во втором и третьем режимах функционирования, для организации наблюдения за участком поверхности потребуется минимум 3*P БПЛА в разных режимах функционирования.
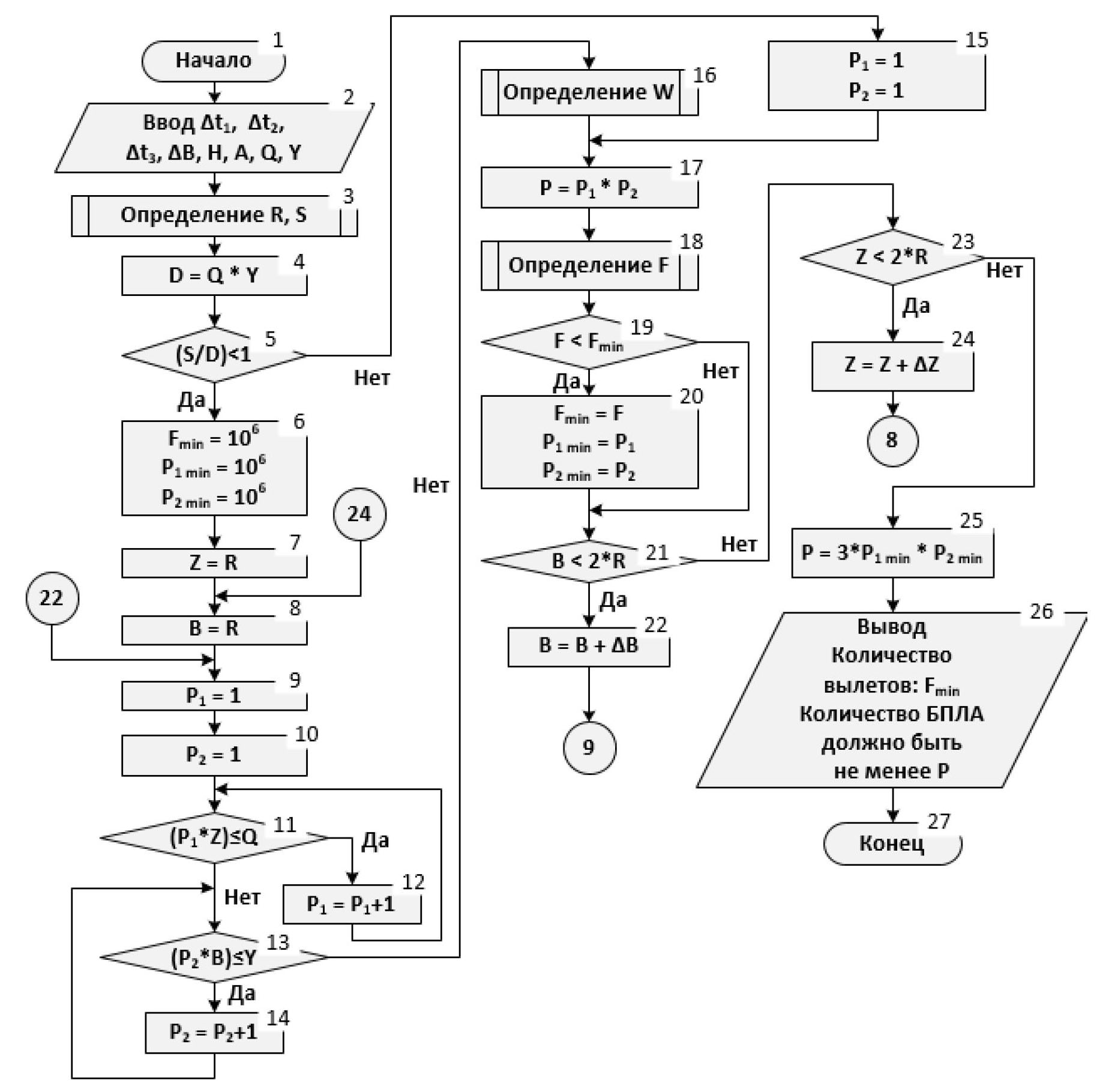
Для определения минимального количества вылетов БПЛА, необходимого для наблюдения за прямоугольным участком поверхности площадью D, предлагается использовать алгоритм, приведенный на рис. 3.
Рис. 3. Алгоритм определения минимального количества вылетов БПЛА, необходимого для наблюдения за участком поверхности
Fig. 3. Algorithm for determining the minimum number of UAV flights required to monitor a surface area
В операторе 2 алгоритма производится ввод исходных данных. В операторе 3 производится выполнение предопределенного процесса по определению значений переменных R и S. В операторе 4 производится определение площади участка местности, за которым будет производиться наблюдение. Далее в операторе 5 проверяется соотношение площади S зоны наблюдения одиночного БПЛА и площади D участка поверхности для наблюдения. Если значение S не меньше D, то производится выполнение оператора 15 (инициация начальных значений параметров P1, P2). Если значение S меньше D, то производится выполнение оператора 6 (инициация начальных значений параметров Fmin, P1min, P2min, которые в дальнейшем будут корректироваться).
Параметр Fmin отображает текущее минимальное значение вылетов БПЛА, необходимых для наблюдения за участком поверхности площадью D. Значения параметров P1min и P2min отображают текущие значения P1 и P2, соответствующие полученному значению Fmin.
Далее в операторах 7, 8 производится инициация начальных значений параметров для организации циклов по параметрам Z и B. В операторах 9, 10 производится инициация начальных значений параметров P1, P2 для определения размера зоны наблюдения в соответствии с рис. 2. В операторе 11 сравнивается длина Q наблюдаемого участка поверхности и длина области наблюдения, образуемой P1*P2 БПЛА. Значение P1 увеличивается на 1 (оператор 12) до тех пор, пока выполняется условие в операторе 11. Как только перестает выполняться условие в операторе 11, управление передается на оператор 13. В операторе 13 сравнивается ширина Y наблюдаемого участка поверхности и ширина области наблюдения, образуемой P1*P2 БПЛА. Значение P2 увеличивается на 1 (оператор 14) до тех пор, пока выполняется условие в операторе 13. Как только перестает выполняться условие в операторе 13, управление передается на оператор 16, в котором реализуется предопределенный процесс по определению площади W зоны наблюдения, формируемой несколькими БПЛА.
После выполнения операторов 15 и 16 управление передается на оператор 17, в котором для полученных значений P1 и P2 определяется количество БПЛА, находящихся в первом режиме функционирования в текущий момент времени. В операторе 18 с помощью предопределенного процесса на основе полученного значения Р и исходных данных, введенных в операторе 2, определяется значение необходимого количества вылетов F. Далее в операторе 19 производится сравнение полученного значения F с имеющимся значением Fmin. Если условие в операторе 19 выполняется, то выполняется оператор 20, в котором корректируются значения параметров Fmin, P1min, P2min. Если же условие в операторе 19 не выполняется, то выполнение оператора 20 не производится. После проверки условия в операторе 19 производится переход к проверке условия окончания цикла по переменной B (оператор 21). Если условие в операторе 21 выполняется, то цикл по переменной B не закончен. Значение переменной B увеличивается на величину ∆B (оператор 22), после чего происходит переход к выполнению оператора 9 и продолжается выполнение цикла по переменной B. Если условие в операторе 21 не выполняется, то цикл по переменной B закончен. Происходит переход к оператору 23, в котором проверяется условие окончания цикла по переменной Z. Если условие в операторе 23 выполняется, то цикл по переменной Z не закончен. Значение переменной Z увеличивается на величину ∆Z (оператор 24), после чего происходит переход к выполнению оператора 8 и продолжается выполнение цикла по переменной Z. Если условие в операторе 23 не выполняется, то цикл по переменной Z закончен, и с помощью оператора 25 производится определение значения P. После этого с помощью оператора осуществляется вывод полученных результатов (значений параметров Fmin и P).
Особенности использования алгоритма определения минимального количества вылетов БПЛА
При построении алгоритма учитывались следующие факторы:
- Ось видеокамеры, установленной на БПЛА, направлена вертикально вниз и перпендикулярна наблюдаемому участку поверхности.
- Для получения снимков поверхности с требуемым разрешением необходим угол обзора видеокамеры и высота полета БПЛА, равные соответственно H и A.
- Время подготовки БПЛА к вылету не более . В противном случае в третьем режиме функционирования (в состоянии подготовки к вылету) должно находиться более одного БПЛА.
- После вылета БПЛА производится его переход из второго в первый режим функционирования. После возврата БПЛА производится его переход из первого в третий режим функционирования. После окончания подготовки БПЛА производится его переход из третьего во второй режим функционирования.
- Участок местности, соответствующий зоне наблюдения БПЛА (рис. 1), имеет форму круга. Участок местности, на котором расположена НМС, имеет прямоугольную форму (рис. 2).
Заключение
В результате проведения исследований были решены следующие задачи:
- Проанализированы примеры использования НС и МО для распознавания изображений отходов и НМС по результатам дистанционного наблюдения за поверхностью Земли.
- Определено количество БПЛА и количество их вылетов для наблюдения за участком поверхности с целью обнаружения НМС. Построен алгоритм определения минимального количества вылетов БПЛА и рассмотрены особенности использования алгоритма.
Результаты, полученные в работе, могут быть использованы при проектировании системы управления обращением с отходами.
About the authors
Aleksey A. Popov
Plekhanov Russian University of Economics
Author for correspondence.
Email: Popov.aa@rea.ru
ORCID iD: 0000-0002-0692-3629
SPIN-code: 4105-9404
Candidate of Technical Sciences, Associate Professor, Associate Professor of the Department of Informatics
Russian Federation, 117997, Moscow, 36 Stremyannyy laneAziza M. Tramova
Plekhanov Russian University of Economics
Email: Tramova.am@rea.ru
ORCID iD: 0000-0002-4089-6580
SPIN-code: 8583-3592
Doctor of Economic Sciences, Associate Professor, Professor of the Department of Informatics
Russian Federation, 117997, Moscow, 36 Stremyannyy laneYulia D. Romanova
Plekhanov Russian University of Economics
Email: Romanova.yud@rea.ru
ORCID iD: 0000-0002-8273-0757
SPIN-code: 8743-9162
Candidate of Economic Sciences, Associate Professor, Professor of the Department of Informatics
Russian Federation, 117997, Moscow, 36 Stremyannyy laneReferences
- Попов А. А., Соломина Ю. К. Анализ возможностей использования беспилотных летательных аппаратов для управления жилищно-коммунальным хозяйством // Фундаментальные исследования. 2018. № 2. С. 144–151. EDN: YSEXJE Popov A.A., Solomina Ju.K. Analysis of the possibilities of using unmanned aerial vehicles for managing housing and communal services. Fundamental'nye issledovaniya [Fundamental research]. 2018. No. 2. Pp. 144–151. EDN: YSEXJE. (In Russian)
- Filkin T., Sliusar N., Ritzkowski M., Huber-Humer M. unmanned aerial vehicles for operational monitoring of landfills. Drones. 2021. Vol. 5(4). Art. Number: 125. DOI: 10.3390/ drones5040125
- Sliusar N., Filkin T., Huber-Humer M., Ritzkowski M. Drone technology in municipal solid waste management and landfilling: A comprehensive review. Waste Management. 2022. Vol. 139. Pp. 1–16. doi: 10.1016/j.wasman.2021.12.006
- Filkin T., Sliusar N., Ritzkowski M., Huber-Humer M. Unmanned aerial vehicles for operational monitoring of landfills. Drones. 2021. Vol. 5(4). Art. Number: 125. DOI: 10.3390/ drones5040125
- Wilkinson A.K. The identification of garbage dumps in the rural areas of Cyprus through the application of deep learning to satellite imagery. arXiv. 2023. Vol. 8. Art. number:02502. doi: 10.13140/RG.2.2.22837.86244
- Jia Z., Chen Q., Hong S., Cheng Q. Remote sensing recognition of construction waste accumulation based on resources satellite three multi-view stereoscopic image. IOP Conference Series: Earth and Environmental Science. 2020. Vol. 615. Art. Number: 012027. doi: 10.1088/1755-1315/615/1/012027
- Torres R.N., Fraternali P. Learning to Identify Illegal Landfills through Scene Classification in Aerial Images. Remote Sensing. 2021. Vol. 13(22). Art. Number: 4520. DOI: 10.3390/ rs13224520
- Sharma A.K., Jain A., Chaudhary D. et al. An approach to automatic garbage detection framework designing using CNN. International Journal of Advanced Computer Science and Applications. 2024. Vol. 14(2). Pp. 257–262. doi: 10.14569/IJACSA.2023.0140231
- Musci M., Serrão G. de M.P., Ferreira M.V.E.N.B. et al. Drones and sustainability: how technology can assist in the automatic detection of waste in hard-to-access areas. Revista de Gestão Social e Ambiental. 2024. Vol. 18(9). Number: e07235. doi: 10.24857/rgsa.v18n9-109
- Anadkat A.P., Monisha B.V., Puthineedi M. et al. Drone based Solid Waste Detection using Deep Learning & Image Processing. Alliance International Conference on Artificial Intelligence and Machine Learning (AICAAM). Karnataka. India. 26–27 April 2019. Pp. 357–364.
- Torres R.N., Fraternali P. Aerial Waste dataset for landfill discovery in aerial and satellite images. Scientific Data. 2023. Vol. 10. Art. Number: 63. doi: 10.1038/s41597-023-01976-9
- Wang Z., Yang X., Zheng X., Li H. Vision-Based On-Site construction waste localization using unmanned aerial vehicle. Sensors. 2024. Vol. 24. Art. Number: 2816. DOI: 10.3390/ s24092816
- Verma V., Gupta D., Gupta S. et al. A Deep learning-based intelligent garbage detection system using an unmanned aerial vehicle. Symmetry. 2022. Vol. 14. Art. Number: 960. doi: 10.3390/sym14050960
- Liao Y.-H., Juang J.-G. Real-Time UAV Trash monitoring system. Applied Science. 2022. Vol. 12(4). Art. Number: 1838. doi: 10.3390/app12041838
- Youme O., Bayet T., Dembele J.M., Cambier C. Deep learning and remote sensing: Detection of dumping waste using UAV. Procedia Computer Science. 2021. Vol. 185. Pp. 361–369. doi: 10.1016/j.procs.2021.05.037
Supplementary files






