Автоматизированный комплекс управления агротехнологией в точном земледелии
- Авторы: Михайленко И.М.1, Тимошин В.Н.1
-
Учреждения:
- Агрофизический научно-исследовательский институт
- Выпуск: № 5 (2024)
- Страницы: 54-62
- Раздел: Земледелие
- URL: https://bakhtiniada.ru/2500-2082/article/view/268574
- DOI: https://doi.org/10.31857/S2500208224050127
- EDN: https://elibrary.ru/zsnylv
- ID: 268574
Цитировать
Аннотация
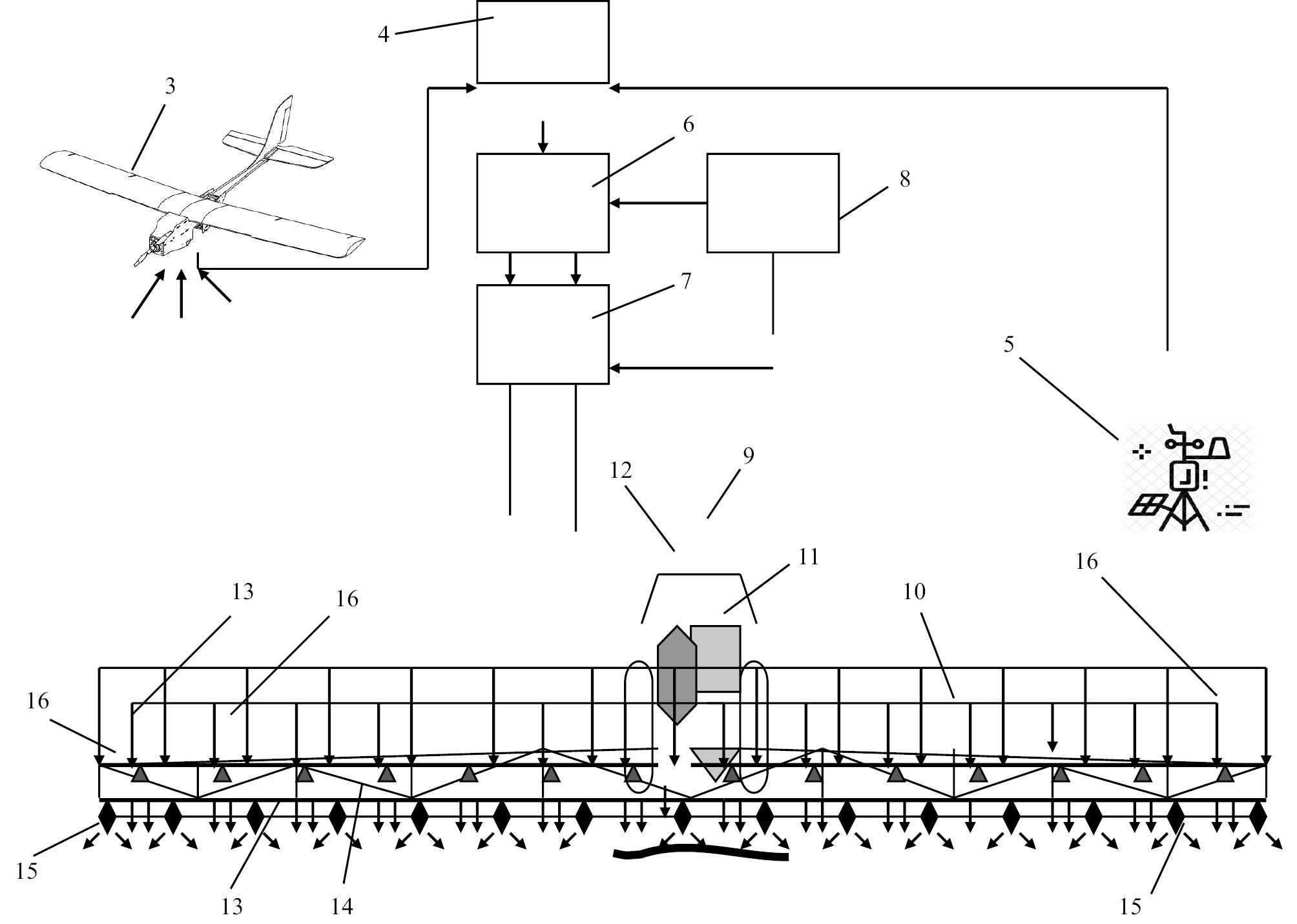
В работе представлен проект автоматизированного комплекса для управления агротехнологией. Комплекс состоит из двух неразрывных компонентов – управляющего блока и исполнительной роботизированной технологической машины. В первом реализована современная теория управления сложной динамической системой (сельскохозяйственное поле с посевом культуры). Отличительная особенность предлагаемой теории заключается в том, что объект управления – агроценоз, включающий сельскохозяйственные культуры и сорные растения. Эта особенность переносится на исполнительную технологическую машину, с помощью которой осуществляется одновременно внесение минеральных удобрений и обработка гербицидами. При этом формирование оптимальных технологических операций производится на основе данных дистанционного зондирования Земли, по которым изучают параметры состояния агроценоза. Полученные оценки считаются общесистемной обратной связью, посредством которой управляют агротехнологией. Представленный комплекс интересен для специалистов, разрабатывающих отдельные компоненты современных систем точного земледелия.
Полный текст
Об авторах
Илья Михайлович Михайленко
Агрофизический научно-исследовательский институт
Автор, ответственный за переписку.
Email: ilya.mihailenko@yandex.ru
доктор технических наук
Россия, г. Санкт-ПетербургВалерий Николаевич Тимошин
Агрофизический научно-исследовательский институт
Email: ilya.mihailenko@yandex.ru
кандидат технических наук
Россия, г. Санкт-ПетербургСписок литературы
- Емельянов Ю.Я., Копылов Е.В., Кириллова Е.В. Эффективность гербицидов в сочетании с удобрениями на яровой пшенице // Нива Заураля. 2014. Vol. 6 (106). С. 18–23. https://doi.org/10.32861/jac.91.130.136
- Корсаков К.В., Стрижков Н.И., Пронько В.В. Комбинированное применение удобрений, гербицидов и регуляторов роста при возделывании овса и проса в Поволжье. // Вестник Алтайского государственного аграрного университета. 2013. № 4 (120). PP. 24–32.
- Михайленко И.М. Способ одновременного дифференцированного внесения жидких минеральных удобрений и гербицидов и устройство для его осуществления. Патент РФ № 2772889 от 26 мая 2022 г.
- Михайленко И.М. Теоретические основы и техническая реализация управления агротехнологиями. Изд. СПбГТУ. 2017. 250 с.
- Точное земледелие: учебник. Практическое пособие / под ред. Д. Шпаар, А.В. Захаренко, В.П. Якушева. СПб. Пушкин. 2009. 397 с.
- Benjamin L.R., Milne A.E., Parsons D.J. et al. Using stochastic dynamic programming to support weed management decisions over a rotation // Weed Res. 2009. Vol. 49. PP. 207–216. https://doi.org/10.1111 /J.1365-3180.2008.00678.X
- Bessette D., Wilson R., Beaudrie C., Schroeder C. An online decision support tool to evaluate ecological weed management strategies // Weed Sci. 2019. Vol. 67. PP. 463–473. https://doi.org/10.1017/wsc2019.21
- Bohanec M., Cortet J. Griffiths B. et al. A qualitative multi-attribute model for assessing the impact of cropping systems on soil quality // Pedobiologia. 2007. Vol. 51 (3). PP. 239–250. https://doi.org/10.1016/j.pedobi.2007.03.006
- Emmi L., Gonzalez-De-Soto M., Pajares G., Gonzalez-De-Santos P. New trends in robotics for agriculture: Integration and assessment of a real fleet of robots // The Scientific World Journal. 2014. 21 p. https://doi.org/10.1155/2014/404059
- Oliver M., Bishop T., Marchant B. An overview of precision agriculture. In Precision Agriculture for Sustainability and Environmental Protection // Eds. Rout. London. 2013. https://doi.org/10.4324/970203128329
- Precision agriculture technology for crop farming. Edited by Qin Zhang. Washington State University Prosser, Washington, USA. 2016. 382 p. https://doi.org/10.1111/sum.12320
Дополнительные файлы








