Исследование кинетических коэффициентов процесса электромембранной очистки технологических растворов от катионов тяжелых металлов
- Авторы: Киясова Г.М.1, Ломакина В.А.2, Абоносимов О.А.2, Селиванов Ю.Т.2, Шель Н.В.2, Брянкин К.В.2
-
Учреждения:
- ЧВПОУ «Западно-Казахстанский инновационно-технологический университет»
- ФГБОУ ВО «ТГТУ»
- Выпуск: Том 30, № 4 (2024)
- Страницы: 670-680
- Раздел: Процессы и аппараты химических и других производств. Химия
- URL: https://bakhtiniada.ru/0136-5835/article/view/278194
- DOI: https://doi.org/10.17277/vestnik.2024.04.pp.670-680
- ID: 278194
Цитировать
Полный текст
Аннотация
Исследовано влияние трансмембранных параметров электромембранного процесса разделения на основные кинетические характеристики мембран МГА-95П, ОПМ-К и ОПМН-К при очистке технологических вод металлообрабатывающего производства. Дан анализ влияния трансмембранных параметров на кинетические зависимости коэффициента равновесного распределения и коэффициента электродиффузионной проницаемости мембран ацетатцеллюлозного и полиамидного видов. Получены аппроксимационные выражения для расчета коэффициента равновесного распределения и коэффициента электродиффузионной проницаемости в зависимости от физико-химической основы материала полупроницаемой мембраны, величины плотности тока, концентрации и температуры технологического раствора.
Ключевые слова
Полный текст
Введение
Проблема загрязнения водных объектов технологическими растворами металлообрабатывающих производств, содержащих ионы тяжелых металлов, вызывает необходимость поиска новых и более эффективных методов очистки от них сточных вод, например, сосредоточенных выпусков и рассредоточенного стока [1 – 4].
Одним из наиболее эффективных методов очистки является электромембранное разделение, при котором загрязненные стоки проходят под давлением и воздействием электрического поля через полупроницаемые мембраны. При этом получают концентрат (ретентат) и фильтрат (пермеат), используемый в замкнутом водообороте.
Для разработки схемы очистки необходимы экспериментальные данные по процессу массопереноса через мембрану. Для расчета массопереноса через мембрану необходимо получить экспериментальные данные по коэффициентам равновесного распределения и электросорбционной способности мембран, электродиффузионной проницаемости мембран.
Литературные данные по результатам исследований ведущих специалистов в области процесса массопереноса через мембрану подтверждают, что электросорбционная емкость мембран и электродиффузионная проницаемость значительно влияет на процесс электромембранного разделения. Перенос растворенного вещества через мембрану за счет электродиффузии сопоставим по величине с переносом за счет конвективного потока растворителя через мембрану [5, 6]. Электродиффузия происходит при наличии электрического поля, когда заряженные частицы в растворе подвергаются электрическим силам и мигрируют в направлении поля. В мембране это может привести к неравномерному распределению концентрации вещества, в результате изменится электрическая проницаемость мембраны и степень селективности. Конвективный перенос происходит в результате движения раствора через мембрану под действием внешних сил, а диффузный перенос происходит в результате движения молекул вещества из-за разности их концентраций в разных точках системы. Изучение всех этих составляющих переноса важно для более полного понимания процессов массопереноса через мембраны и для разработки новых материалов с высокой эффективностью и селективностью в различных приложениях, таких как фильтрация воды, очистка газов и других жидкостей, а также в процессах различных видов сепарации и катализа [6].
Цель работы – исследование кинетических коэффициентов электромембранного метода в процессе очистки технологических вод от катионов тяжелых металлов.
Результаты экспериментальных исследований
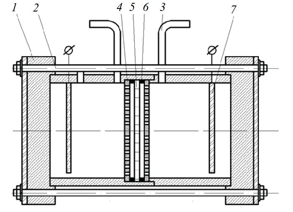
Для исследования электросорбционной емкости мембран применяли лабораторную установку, схема которой представлена на рис. 1.
Рис. 1. Лабораторная установка для исследования электросорбционной емкости:
1 – корпус; 2 – шпильки; 3 – трубки контроля уровня раствора в камерах; 4 – перфорированные пластины; 5 – мембрана; 6 – прокладки уплотнения; 7 – электроды
Для поддержания необходимого градиента электрического потенциала (плотности тока) использовался источник постоянного электрического тока, что позволяло поддерживать постоянное значение плотности тока на мембране в течение всего опыта. Исследуемый раствор оставляли на 11 – 13 часов, чтобы установить диффузионное равновесие, то есть после определенного времени происходит равновесие между концентрацией исследуемого вещества на разных сторонах мембраны.
Коэффициент равновесного распределения определяется по следующему выражению [7, 8]:
, (1)
где См, Сисх – концентрации растворенного вещества в полупроницаемой мембране и исследуемом растворе соответственно, кг/м³,
На рисунке 2 приведена схема лабораторной установки, применяемая для исследования электродиффузионной проницаемости мембран.
Рис. 2. Схема электродиффузионной установки:
1 – корпус; 2 – шпильки; 3 – капилляры; 4 – перфорированные пластины; 5 – мембрана; 6 – прокладки; 7 – электроды; 8 – 11 – емкости раствора; 12, 13 – магнитные мешалки; 14 – источник постоянного тока; 15 – амперметр; 16 – вольтметр
Мембраны помещались в ячейку для измерения коэффициента электродиффузионной проницаемости и в камеры заливали раствор известной концентрации, который должен проходить через мембрану. Электроды, подключенные к постоянному электрическому току, создавали движущую силу, которая приводила к прохождению растворов через мембраны. Образующиеся различия концентраций измерялись для определения коэффициента электродиффузионной проницаемости мембраны.
Коэффициент электродиффузионной проницаемости Рэд рассчитывали по следующей формуле [9]
, (2)
где М – масса проницаемого вещества, кг; Fм – рабочая площадь мембраны, м²; τ – время экспериментальных исследований, с; i – плотность тока, А/м².
При проведении экспериментальных исследований кинетических характеристик процесса электромембранной очистки использовались отечественные ацетатцеллюлозная мембрана МГА-95П и полиамидные ОПМ-К, ОПМН-К, промышленно выпускаемые ЗАО НТЦ «Владипор» (г. Владимир). При выборе мембран учитывалось наиболее оптимальное соотношение удельной производительности и задерживающей способности, обеспечивающей требования к качеству пермеата. В качестве объектов для проведения экспериментальных исследований использованы модельные растворы, имитирующие технологические растворы АО «Тамбовмаш», основные характеристики которых приведены в табл. 1.
Таблица 1
Основные характеристики модельных растворов
Катионы | ПДК, | Концентрация, | Температура, |
Fe2+ | 0,10 | 0,5…2,2 | 5…20 |
Ni2+ | 0,02 | 0,3…2,0 |
Коэффициент равновесного распределения находится в определенной зависимости от материала мембран, природы растворенных веществ и их концентрации в исходном растворе, плотности тока [6, 10]. Полученные данные в ходе экспериментальных исследований по влиянию концентрации исходного раствора и плотности тока на величину коэффициента равновесного распределения водных растворов железа и никеля представлены на рис. 3. Графики зависимостей свидетельствуют о том, что с ростом концентрации исходного раствора, уменьшается сорбционная способность полимерных мембран. Это объясняется заполнением пор сорбированными веществами, что приводит к снижению их сечения, через которое проходит вода. С уменьшением сечения молекулы, наиболее приспособленные к сорбированию, подвергаются заполнению наиболее узких пор, что приводит к полной блокировке этих пор и ограничению доступности воды. Этот аспект играет важную роль в объяснении отдельных кинетических характеристик массопереноса для мембранных разделительных процессов.
Рис. 3. Зависимости коэффициента равновесного распределения мембран МГА-95П (а, б), ОПМ-К (в, г), ОПМН-К (д, е) при i=5,2 А/м² для раствора: а, в, д – никеля; б, г, е – железа
Температура заметно влияет на процесс сорбции веществ из раствора. В литературе [9, 11, 12] отмечено, что температура может как способствовать, так и препятствовать сорбции. В данном случае, наблюдалось снижение сорбционной способности полимерных мембран при увеличении температуры раствора. Это связано с тем, что при повышении температуры растворимость вещества в растворе увеличивается. В соответствии с данными из [12], атомы, образующие поверхность адсорбента, взаимодействуют как с молекулами растворенных веществ, так и с молекулами растворителя во время сорбции из растворов. При этом экспериментально установлено, что вещества с более высокой растворимостью в воде адсорбируются менее интенсивно [11, 12]. Ожидается, что эффекты взаимодействия проявятся в различных физико-химических свойствах мембран, например, в их пористости, зарядах на поверхности (например, ацетатцеллюлозные мембраны имеют отрицательный заряд, в то время как полиамидные мембраны – положительный) и т.д. [13].
Данный эффект можно объяснить различием физико-химических свойств мембран, их пористости и зарядовых характеристик поверхностей, что было замечено в ранее проведенных исследованиях [13].
Для расчета равновесных коэффициентов распределения использовано аппроксимационное уравнение вида [14]
, (3)
где С – концентрация раствора, кг/м³; T0, T – реперная (293 K) и рабочая температуры соответственно; b, n, m – экспериментальные коэффициенты.
Значения эмпирических коэффициентов для выражения (3) приведены в табл. 2. Расхождение экспериментальных и рассчитанных по формуле (3) значений не превышают 15 %, что является достаточным для инженерных расчетов.
Рис. 4. Зависимости коэффициента электродиффузионной проницаемости мембран МГА-95П (а, б), ОПМ-К (в, г), ОПМН-К (д, е) при Т = 293 K для раствора: а, в, д – никеля; б, г, е – железа
На рисунках 4 представлены результаты экспериментальных исследований коэффициента электродиффузионной проницаемости для всех исследуемых растворов и мембран. При рассмотрении зависимости изменения коэффициентов электродиффузионной проницаемости от концентрации исследуемых веществ можно отметить их уменьшение с увеличением концентрации растворенных веществ, которое характерно для всех исследуемых веществ и типов мембран. Объяснением такой реакции коэффициента электродиффузионной проницаемости на увеличение концентрации растворенных веществ является утверждение о том, что при сорбции растворенных веществ в мембране происходит уменьшение свободного сечения пор и, как результат, уменьшение транспорта ионов через поровое пространство [15, 16].
Таблица 2
Значения эмпирических коэффициентов для выражения (3)
Раствор | Мембрана | b | m | n |
Ni2+ | МГА-95П | 0,0198 | 0,445 | 1,32 |
ОПМ-К | 0,0187 | 0,455 | 3,24 | |
ОПМН-К | 0,0253 | 0,444 | 4,32 | |
Fe2+ | МГА-95П | 0,0215 | 0,492 | 2,51 |
ОПМ-К | 0,0118 | 0,772 | 2,31 | |
ОПМН-К | 0,0377 | 0,468 | 4,02 |
Следует также отметить, что нарастание плотности тока способствует увеличению коэффициента электродиффузионной проницаемости, так как электрическое поле играет роль движущей силы, которая способствует переносу ионов через мембрану. Электродиффузионный массоперенос линейно зависит от напряжения, при условии сохранения структурных свойств мембран и свойств растворов. Поэтому, при росте плотности тока, увеличивается сила, действующая на ионы, и ускоряется процесс переноса через мембраны. Эти результаты могут быть полезны для оптимизации работы электромембранных устройств и повышения эффективности процессов разделения и очистки растворов [14 – 18].
Таблица 3
Значения эмпирических коэффициентов для выражения (4)
Раствор | Мембрана | k·106 | n | m | g | A |
Ni2+ | МГА-95П | 14,622 | –0,454 | 0,0532 | 0,0056 | –162,1 |
ОПМ-К | 15,876 | –0,422 | 0,0757 | 0,0042 | –163,2 | |
ОПМН-К | 7,326 | 0,123 | 0,0812 | –0,0356 | –161,6 | |
Fe2+ | МГА-95П | 20,624 | –0,642 | 0,1425 | 0,0348 | –172,4 |
ОПМ-К | 14,234 | –0,373 | 0,0764 | 0,0042 | –183,2 | |
ОПМН-К | 5,642 | 0,131 | 0,1694 | –0,0456 | –47,2 |
Сравним величины коэффициентов электродиффузионной проницаемости, полученные для всех исследуемых мембран и растворенных веществ (см. рис. 4). Мембрана ОПМН-К имеет наибольшие величины коэффициента электродиффузионной проницаемости, тогда как минимальные значения наблюдаются в случае использования мембраны МГА-95П. Причинами являются различия в материалах, из которых изготовлены активные слои мембран, а также различные пористости и поверхностные потенциалы мембран.
Проведенный анализ зависимостей изменения коэффициента электродиффузионной проницаемости и литературных данных других авторов исследований позволил предложить следующее выражение для математического описания [15]:
, (4)
где С – концентрация растворенных веществ, кг/м³; a, m, n, k, g – эмпирические коэффициенты.
Расхождения экспериментальных и расчетных значений коэффициента электродиффузионной проницаемости мембран совпадают достаточно хорошо и не превышают 15 %.
Заключение
Для очистки технологических растворов от ионов тяжелых металлов выбран метод электромембранного разделения, как наиболее экономически и экологически эффективный. Результатом проведенных экспериментальных исследований является получение оригинальных данных по коэффициентам равновесного распределения и коэффициентам электродиффузионной проницаемости мембран МГА-95П, ОПМ-К, ОПМН-К по растворам никеля и железа в зависимости от изменения основных параметров проведения процесса разделения. Проанализированы зависимости коэффициента равновесного распределения и коэффициента электродиффузионной проницаемости от концентрации растворенных веществ для всех исследуемых мембран, и выявлены факторы влияния. Объяснено влияние температуры раствора на изменение коэффициента равновесного распределения и плотности тока на изменение коэффициента электродиффузионной проницаемости мембран.
В результате анализа полученных зависимостей и литературных данных других исследователей предложены выражения для математического описания коэффициента равновесного распределения и коэффициента электродиффузионной проницаемости мембран со значениями эмпирических коэффициентов для исследуемых растворов и мембран. Предложено использовать полученные результаты исследований в проектировании лабораторных, пилотных и промышленных установок, используемых в производственных процессах разделения, очистки и концентрирования технологических и сточных вод.
Работа выполнена в рамках проведения исследования по государственному заданию, проект № FEMU-2024-0011.
Об авторах
Гульзада Мадиевна Киясова
ЧВПОУ «Западно-Казахстанский инновационно-технологический университет»
Автор, ответственный за переписку.
Email: mig@tstu.ru
старший преподаватель кафедры «Транспорт и технологии»
Россия, Уральск, Республика КазахстанВиктория Александровна Ломакина
ФГБОУ ВО «ТГТУ»
Email: mig@tstu.ru
аспирант кафедры «Механика и инженерная графика»
Россия, ТамбовОлег Аркадьевич Абоносимов
ФГБОУ ВО «ТГТУ»
Email: mig@tstu.ru
доктор технических наук, профессор кафедры «Механика и инженерная графика»
Россия, ТамбовЮрий Тимофеевич Селиванов
ФГБОУ ВО «ТГТУ»
Email: mig@tstu.ru
доктор технических наук, доцент кафедры «Механика и инженерная графика»
Россия, ТамбовНаталия Владимировна Шель
ФГБОУ ВО «ТГТУ»
Email: mig@tstu.ru
доктор химических наук, профессор кафедры «Химия и химические технологии»
Россия, Тамбов
Константин Вячеславович Брянкин
ФГБОУ ВО «ТГТУ»
Email: mig@tstu.ru
доктор технических наук, профессор кафедры «Химия и химические технологии»
Россия, ТамбовСписок литературы
- Проблемы экологии и рационального природопользования в контексте экономического развития России / В. Б. Сажин, А. Б. Полковников, И. Селдинас [и др.] // Успехи в химии и химической технологии. – 2009. – Т. 23, № 12(105). – С. 94 – 108.
- Колесников, В. А. Очистка сточных вод на металлургических предприятиях / В. А. Колесников, В. И. Ильин, А. А. Кучеров // Экология производства. – 2010. – № 3. – С. 31 – 36.
- Павлов, Д. В. Очистка сточных вод различных производств с применением наилучших доступных технологий / Д. В. Павлов, С. О. Вараксин, В. А. Колесников // Чистая вода: проблемы и решения. – 2010. – № 2–3. – С. 50 – 59.
- Пути решения проблемы очистки сточных вод от тяжелых и радиоактивных металлов / Е. А. Комягин, В. Н. Мынин, И. Ф. Ляпин [и др.] // Экология и промышленность России. – 2008. – № 11. – С. 21 – 23.
- Paidar, M. Membrane electrolysis – History, current status and perspective / М. Paidar, V. Fateev, K. Bouzek // Electrochimica Acta. – 2016. – Vol. 209. – P. 737 – 756. doi: 10.1016/j.electacta.2016.05.209
- Свитцов, А. А. Введение в мембранные технологии. – М. : ДеЛи принт, 2007. – 170 с.
- Toth, J. Adsorption: Theory, Modeling, and Analysis (Surfactant Science Series, Vol. 107). – Marcel Dekker, 2006. – 878 р.
- Rouquerol, F. Adsorption by Powders and Porous Solids: Principles, Methodology and Applications / F. Rouquerol, J. Rouquerol, K. Sing. – San Diego, Calif.: Academic Press, 2005. – 467 р.
- Some Kinetic Dependence of Electrohyperfiltration Method of Purification of Wastewater from Iron Ions / A. A. Levin, O. A. Abonosimov, S. I. Lazarev, O. A. Kovaleva // Вестн. Тамб. гос. техн. ун-та. – 2018. – Т. 24, № 2. – С. 295 – 306. doi: 10.17277/vestnik.2018.02.pp.295-306
- Мембраны и мембранные технологии : монография / А. Б. Ярославцев | [и др.] ; отв. ред. А. Б. Ярославцев. – М. : Научный мир, 2013. – 616 с.
- Karge H. G., Weitkamp J. Adsorption and Diffusion (Molecular Sieves). – 2008. – 467 р. doi: 10.1007/978-3-540-73966-1
- Ягодовский, В. Д. Адсорбция [Электронный ресурс] / В. Д. Ягодовский. – Эл. изд. – Электрон. текстовые дан. (1 файл pdf : 219 с.).М. : БИНОМ ; Лаборатория знаний, 2015. – 219 с. (Учебник для высшей школы). – Систем. требования: Adobe Reader XI ; экран 10
- Ямпольский, Ю. П. Методы изучения свободного объема в полимерах / Ю. П. Ямпольский // Успехи химии. – 2007. – Т. 76, № 1. – С. 66 – 87.
- Кинетические зависимости и технологическая эффективность электрохимического мембранного разделения сточных вод на очистных предприятиях / О. А. Абоносимов, М. А. Кузнецова, О. А. Ковалева, В. М. Поликарпов, В. М. Дмитриев // Вестн. Тамб. гос. техн. ун-та. – 2017. – Т. 23, № 4. – С. 641 – 655. doi: 10.17277/vestnik.2017.04.pp.641-655
- Чепеняк, П. А. Электродиффузионная проницаемость ультрафильтрационных мембран в водных фосфатсодержащих растворах / П. А. Чепеняк, В. Л. Головашин, С. И. Лазарев // Известия высших учебных заведений. Серия Химия и химическая технология. – 2012. – Т. 55, № 8. – С. 52 – 56.
- Филиппов, А. Н. Ячеечная модель ионообменной мембраны. Электродиффузионный коэффициент и диффузионная проницаемость / А. Н. Филиппов // Коллоидный журнал. – 2021. – Т. 83, № 3. – С. 360 – 372. doi: 10.31857/ S002329122103006X
- Акулиничев, А. М. Исследование электробаромембранного разделения промышленных технологических растворов, содержащих ионы тяжелых металлов / А. М. Акулиничев, О. А. Абоносимов, С. И. Лазарев // Вестн. Тамб. гос. техн. ун-та. – 2017. – Т. 23, № 1. – С. 120 – 128. doi: 10.17277/vestnik.2017.01.pp.120-128
- Мембранная очистка технологических растворов от ионов железа и марганца / А. А. Левин [и др.] // Вестник технологического университета. – 2019. – Т. 22, № 11. – С. 70 – 73.
Дополнительные файлы







