Синергизм совместного действия ингибитора и инертного газа
- Авторы: Прокопенко В.М.1, Алымов М.И.1, Абрамов С.К.1
-
Учреждения:
- Институт структурной макрокинетики и проблем материаловедения им. А.Г. Мержанова РАН
- Выпуск: Том 98, № 2 (2024)
- Страницы: 166-172
- Раздел: ФИЗИЧЕСКАЯ ХИМИЯ ПРОЦЕССОВ ГОРЕНИЯ И ВЗРЫВА
- Статья получена: 22.09.2024
- Статья одобрена: 22.09.2024
- Статья опубликована: 23.09.2024
- URL: https://bakhtiniada.ru/0044-4537/article/view/264427
- DOI: https://doi.org/10.31857/S0044453724020164
- EDN: https://elibrary.ru/RCDPBZ
- ID: 264427
Цитировать
Полный текст
Аннотация
Явление синергизма известно как неаддитивное влияние присадок различной химической природы на реакцию. Закономерность ранее использовалась в основном в жидкофазных реакциях и объяснялась реакциями взаимодействия активных примесей между собой или с продуктами их превращений. В настоящем исследовании показано, что синергизм осуществляется также, если одна из присадок – инертный газ. Показано, что синергетический эффект на пределе самовоспламенения имеет место даже без реакций промежуточных частиц между собой. Выяснен механизм синергизма.
Ключевые слова
Полный текст
ВВЕДЕНИЕ
Явление синергизма известно как неаддитивное влияние присадок различной химической природы на реакцию. Закономерность ранее использовалась в основном в жидкофазных реакциях и объяснялась реакциями взаимодействия активных примесей между собой или с продуктами их превращений (например, [1, 2]) Очевидно, что механизм и проявления синергизма зависят от характера реакционной системы и от химической природы самих примесей. Механизм взаимного усиления воздействия примесей не рассматривался. В работах [3–5] и в настоящем исследовании показано, что синергизм осуществляется также, если одна из присадок – инертный газ. Значит, эффект синергизма может осуществляться также без химического взаимодействия присадок.
Как для теории, так и для практики весьма важно выяснить эффект синергизма на концентрационных пределах воспламенения. Значимость для теории определяется тем, что в таких условиях концентрации промежуточных частиц незначительны и, значит, крайне мала также роль реакций взаимодействия этих частей между собой. В данных условиях на первый план выходит специфика функциональной зависимости скорости цепной реакции от концентраций компонентов. Для практики синергизм создает большие возможности химического управления концентрационных пределов.
В настоящей работе для торможения горения вместе с ингибитором использовали в качестве добавки азот. Результаты работ показали, что, хотя азот в реакцию с ингибитором не вступает, тем не менее присутствие азота приводит к уменьшению необходимого количество ингибитора, и притом не аддитивно. Объяснить это влиянием изменения теплоемкости невозможно: теплоемкость азота примерно такая же, как у исследуемой смеси.
Добавление в смесь газов азота приводит к тому, что реакции протекают медленнее и, как следствие, роль теплоотвода увеличивается. В теории теплового горения газов цепная природа реакции не учитывалась, в некоторых работах упоминается, но в расчетах обычно рассматривается одностадийный процесс (например, [6, 7]). Очевидно, что одностадийные реакции могут самоускоряться только в результате саморазогрева реакционной смеси. Однако в силу очень больших энергий активации межмолекулярных реакций, превышающих 200 кДж/моль, скорости таких процессов чрезвычайно медленны. Характеристическое же время реакции составляет десятки минут даже при обычных температурах горения. Поэтому очевидно, что процессы горения не могут протекать между молекулами и все реакции в газовой фазе протекают только по цепному пути. Неаддитивность воздействия присадок расширяет возможности практического использования явления для управления процессом и в то же время представляет большой интерес с точки зрения теории горения, указывая на не учтенный ранее фактор. Мы решили выяснить природу синергизма.
Явление синергизма, наблюдающееся в реакциях газофазного горения, вызвано цепной природой процесса: реакция ингибируется. Соответственно, процесс останавливается. При наличии ингибиторов, перехватывающих активные промежуточные частицы, цепной путь блокируется. Энергетический же барьер межмолекулярной реакции практически непреодолим. Соответственно, скорость реакции в целом резко уменьшается даже несмотря на то, что акт ингибирования – экзотермический процесс.
Поскольку в присутствии ингибитора вне зоны горения в горючей смеси никакая реакция фактически не регистрируется [8], то наблюдаемое в отсутствии ингибитора горение протекает только при участии активных промежуточных частиц: свободных атомов и радикалов. Из сказанного следует, что скорость реакции развившегося горения пропорциональна концентрации активных частиц с точностью очень малой величины скорости зарождения:
, (1)
где ωo – скорость зарождения активных частиц в реакциях исходных реагентов между собой, kp – константа скорости реакции разветвления, обычно являющейся лимитирующей стадией горения, n и [О2] – концентрации активных частиц и О2 соответственно.
Зарождение цепей необходимо лишь для начала цепной лавины как своего рода пусковой механизм. Поскольку атомы и радикалы в своих реакциях размножаются и погибают, то скорость изменения их концентрации n равна алгебраической сумме этих реакций:
. (2)
В этом выражении f и g – скорости размножения и гибели активных частиц при их единичных концентрациях, равные:
, (3)
. (4)
В уравнении (4) go – эффективная константа скорости обрыва цепей без участия ингибитора, kIn – константа скорости ингибирования, [In] – концентрация ингибитора.
Из уравнения (2), однозначно следующего из цепного характера горения, видно, что в каждый момент времени величина находится в обратной связи с концентрацией n. Это значит, что в ходе протекания реакции концентрация активных частиц экспоненциально зависит от разности f – g и, следовательно, от концентраций молекулярных реагентов, входящих в величины f и g. Соответственно интегрирование уравнения (2) в начальных стадиях процесса, когда изменениями величин и можно пренебречь, приводит к известному из [9] выражению:
. (5)
Разветвление осуществляется в реакции:
. (6)
Учитывая изменения величин и во времени и с температурой, вместо уравнения (5) получаем уравнение В.В. Азатяна [10]:
. (7)
Обрыв цепей происходит по реакциям:
, (8)
, (9)
. (10)
С учетом уравнений (6) и (8) для скорости реакции получается:
(11)
,
(12)
В выражении (11) no – концентрация активного промежуточного продукта в момент to, после которого можно пренебречь скоростью зарождения цепей, т.е. величиной ωo.
Таким образом, из выражения (11) и (12) мы видим, что W зависит от разности удельных скоростей разветвления и обрыва цепей и, значит, от концентраций исходных компонентов в показателе экспоненты. Отсюда очевидно, что скорость цепного горения не может зависеть аддитивно от концентраций двух разных ингибиторов. По той же причине неаддитивность может наблюдаться также при добавке инертного газа и ингибитора даже без реакций между промежуточными продуктами, что и наблюдается в эксперименте.
ЭКСПЕРИМЕНТАЛЬНАЯ ЧАСТЬ
На рис. 1 представлена схема стенда, содержащего вакуумный пост и откачиваемый цилиндрический замкнутый реактор из нержавеющей стали объемом 3.2 л и диаметром 12.6 см, снабженный пьезоэлектрическим датчиком давления и фотодиодом. В качестве датчика давления использовался датчик 113В24 SN LM 47820 фирмы PCB PIEZOTRONICS (High frequency ICP® pressure sensor, 1000 psi, 5 мВ/psi, 0.218 dia. diaphragm, accel. comp.) Пробег пламени регистрировался по хемилюминесценции фотодатчикa ФД-11К (интервал длин волн спектральной чувствительности – от 500 до 1150 нм).
Рис. 1. Схема стенда, содержащего вакуумный пост и откачиваемый цилиндрический замкнутый реактор из нержавеющей стали объемом 3.2 л и диаметром 12.6 см, снабженный пьезоэлектрическим датчиком давления и фотодиодом
Горючие смеси составлялись в реакторе по парциальным давлениям компонентов за 15 мин до зажигания, что обеспечивало полное перемешивание смеси. Рассматривая горение водорода в воздухе при постоянном давлении, методически смесь готовили следующим образом. В одном случае вводили нужное парциальное количество водорода и затем добавкой воздуха доводили давление до 1 атм, во втором случае, при горении водорода с добавкой азота, также вводили необходимое количество водорода, затем добавляли азот и получившуюся смесь добавкой воздуха доводили до давления 1 атм. Очевидно, что в обоих случаях количество горючего вещества оставалось одним и тем же. Такие же действия проводились в случае опытов с метаном. Горение инициировалось искрой (3.2 Дж) в нижней части реактора. С помощью датчика давления и фотодиода, которые соединялись через усилители с многоканальным осциллографом, с момента запуска искры проводилась одновременная скоростная регистрация давления смеси и хемилюминесценции.
После каждого опыта перед откачкой реактора измерялось также остаточное давление смеси. Воспламенение регистрировалось по появлению пиков на осциллограммах давления и хемилюминесценции, а также по падению давления смеси после завершения горения. Возникшее после запуска искры воспламенение сопровождается хемилюминесценцией – вспышкой и кратковременным ростом давления. Пламя быстро поднимается по реактору. Поскольку реакция окисления водорода сопровождается монотонным уменьшением числа молей смеси, то кратковременный рост давления при воспламенении вызван только саморазогревом газа. В зоне продвигающегося пламени температура выше, чем в еще не сгоревшем газе. Однако в отсутствие взрыва давление по объему реактора устанавливается равномерно со скоростью звука, т.е. за доли миллисекунды. Поэтому если горение не переходит во взрыв, то рост давления (ΔP) в каждый данный момент времени характеризует среднее по объему реактора повышение температуры (и, значит, усредненную температуру).
Рост температуры определяется соотношением скоростей тепловыделения, сопровождающего реакцию горения, и теплоотвода из реактора. Таким образом, в этом эксперименте кинетика роста давления является показателем интенсивности горения. Другим показателем кинетики процесса является изменение интенсивности хемилюминесценции. За исключением смесей, непосредственно близких к концентрационному пределу, после запуска инициирующей искры горение завершается практически полным выгоранием недостающего компонента реакционной смеси. Поэтому предельными концентрациями воспламенения являются также и концентрационные пределы распространения пламени (КПРП), т.е. минимальным и максимальным содержанием горючего в газовой смеси, ограничивающими область составов, в которой возможно самоподдерживающееся распространение пламени.
Концентрационный предел определялся по минимальным концентрациям ингибитора, подавляющего горение. Зона взрыва определялась аналогично: при данной концентрации метана (водорода) в случае горения смеси уменьшали концентрацию ингибитора до тех пор, пока смесь не переходила в режим взрыва.
ОБСУЖДЕНИЕ РЕЗУЛЬТАТОВ
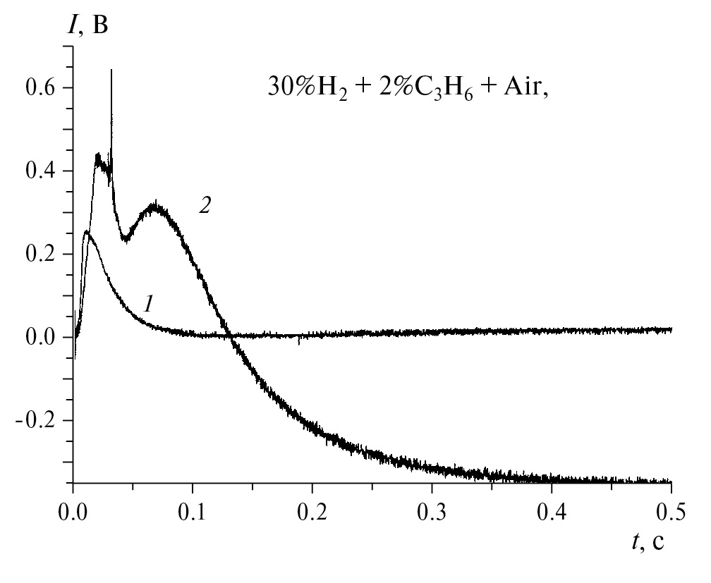
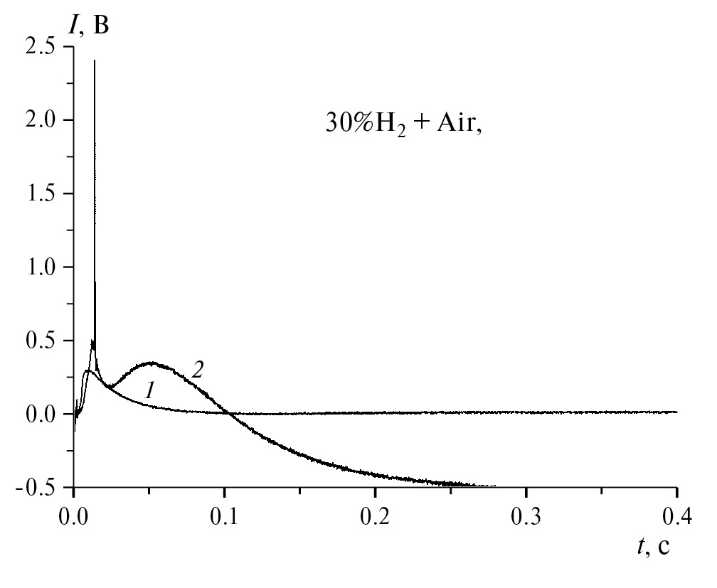
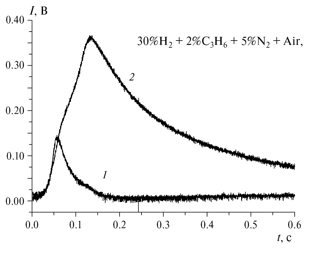
Явление синергизма, так же, как и ингибирование, присуще газофазным процессам горения, поскольку эти процессы протекают по цепному пути. Однозначным показателем цепного горения в нашем эксперименте являются кривые 1 на осциллограммах (рис. 2–4), показывающие, что горение начинается с хемилюминисценции, т.е. с возникновения цепной лавины, наблюдающейся в реакциях газофазного горения, вызванного цепной природой процесса. После хемилюминисценции начинается разогрев, растет давление (кривые 2).
Рис. 2. Горение и взрыв 30% смеси водорода в воздухе (р = 1 атм). Кривые 1 и 2 – графики хемилюминесценции и давления в зависимости от времени соответственно
Рис. 3. Горение и взрыв 30% смеси водорода в воздухе в присутствии 2%С3H6 (р = 1 атм). Кривые 1 и 2 – графики хемилюминесценции и давления в зависимости от времени соответственно
Рис. 4. Горение 30% смеси водорода в воздухе в присутствии 2%С3H6 и 5%N2 (р = 1 атм). Кривые 1 и 2 – графики хемилюминесценции и давления в зависимости от времени соответственно. В смеси 30%H2+2%C3H6+10%N2+Air горение отсутствует
На рис. 2 показана осциллограмма горения и взрыва 30% Н2 с воздухом при 1 атм. Добавка 2% С3Н6 в эту смесь приводит к резкому падению амплитуды взрыва водорода (рис. 3). Добавление 2% С3Н6 и 5% N2 к этой смеси водорода с воздухом приводит к перемещению состава из области взрыва в область горения (рис. 4). Добавка к 2% С3Н6 10% N2 выводит эту смесь из области горения. Смесь становится не поджигаемой даже многократной вспышкой с энергией 3 Дж.
На рис. 5 представлены пределы зоны горения и взрыва для водородо-воздушной смеси. Квадратами обозначена граница зоны горения, кружками – граница зоны взрыва. Все, что находится вне зоны ограниченной кривой с квадратиками, находится вне зоны горения. Все, что находится внутри зоны, ограниченной кружками, находится в зоне взрыва. Область, ограниченная этими двумя кривыми – границами зоны горения и взрыва, находится в зоне горения.
Рис. 5. Пределы горения и взрыва водорода с воздухом при ингибировании этой смеси пропиленом. Квадратами обозначена граница зоны горения, кружками – граница зоны взрыва
На рис. 6 представлены пределы воспламенения метана в атмосфере воздуха, разбавленного различными газами:
Рис. 6. Зависимости концентрационных пределов воспламенения метано-воздушных смесей от содержания добавок: 1 – СF3Н + 12%N2, 2 – СF3Н, 3 – СF4, 4 – N2
- Кривая 4 (метан с добавками N2) ограничивает зону горения, вне этой зоны горения не происходит [11].
- Кривая 2 (метан с добавками СF3Н) ограничивает зону горения, вне этой зоны горения не происходит.
- При 12% N2 в атмосфере метана с воздухом область, которая располагается между 0 и 12 %N2, воспламеняется. Везде, где превышается 12% N2, горения не происходит; 12% N2 соответствует отрезку а.
В качестве примера рассмотрена область метана с добавками СF3H (кривая 2). При 4% CF3H область, лежащая между 0 и 4% CF3H, находится в зоне горения; 4% CF3H соответствуют отрезку b. Все, что превышает 4% СF3H, находится вне зоны горения. Если бы не было синергизма, суммарное действие 4% CF3H и 12% азота было бы равно сумме отрезков а+b. Однако эксперимент показывает, что суммарное действие трифторметана и 12% азота гораздо больше этой величины (кривая 1 СF3Н +12% N2).
Видно, что аддитивное действие N2 и CF3H гораздо меньше результирующего действия этих газов на горение метана.
Из формулы (11) следует, что при постоянном давлении содержание кислорода напрямую зависит от содержания азота и других добавляемых в смесь газов. Синергетическое действие любых добавок определяется изменением концентрации кислорода. Так, например, при введении любой добавки в смесь происходит уменьшение концентрации воздуха на величину концентрации введенной добавки и, следовательно, изменение и содержания кислорода. Таким образом, воздействуя на содержание кислорода, мы воздействуем на характер горения смеси. Добавляя в смесь азот, мы уменьшаем и температуру смеси: она значительно падает, по двойной экспоненте в соответствии с падением скорости реакции.
Поэтому, рассматривая действие ингибитора на процесс горения, следует понимать, что изменение характера горения зависит не только от действия самого ингибитора, но также от уменьшения количества кислорода, вызванного присутствием этого ингибитора в смеси газов. Критическое условие воспламенения определяется равенством скоростей реакций активных промежуточных частиц, приводящих к их размножению (разветвлению цепей) и к обрыву цепей. Поскольку в обеих реакциях участвуют активные частицы, при первом кинетическом порядке этих реакций условие воспламенения – равенство скоростей разветвления и обрыва цепей при единичных концентрациях активных частиц:
. (13)
При добавлении в смесь азота условие (13) выполняется при меньшей концентрации ингибитора [In] уже потому, что при разбавлении азотом уменьшается и [O2], который напрямую задействован в разветвлении цепей. Но есть еще одна причина: из-за худшего горения уменьшается предэкспоненциальный множитель k1 в первом слагаемом (11), а, следовательно, и сама . Уменьшение этой экспоненты (в отношении к прежнему значению) сильнее, чем уменьшение экспоненты константы скорости k10b. Поэтомуингибитора требуется меньше, чем было бы при пропорциональном уменьшении k10b вместе с [O2].
Таким образом, на основе учета уменьшения содержания кислорода при добавке азота явление синергизма получает объяснение.
Работа выполнена при поддержке проекта РНФ №23-23-00024.
Об авторах
В. М. Прокопенко
Институт структурной макрокинетики и проблем материаловедения им. А.Г. Мержанова РАН
Автор, ответственный за переписку.
Email: vprok48@mail.ru
Россия, Черноголовка
М. И. Алымов
Институт структурной макрокинетики и проблем материаловедения им. А.Г. Мержанова РАН
Email: vprok48@mail.ru
Россия, Черноголовка
С. К. Абрамов
Институт структурной макрокинетики и проблем материаловедения им. А.Г. Мержанова РАН
Email: vprok48@mail.ru
Россия, Черноголовка
Список литературы
- Эмануэль Н.М., Денисов Е.Т., Майзус Э.К. Цепные реакции окисления углеводородов в жидкой фазе. М.: Наука, 1965. 375 с.
- Денисов Е.Т., Саркисов О.М., Лихтенштейн Г.И. Химическая кинетика. М.: Химия, 1999. 566 с.
- Katsitadze M.M., Dzotsenidze Z.G., Museridze M.D., Azatyan V.V. // Reaction Kinetics and Catalysis Letters. 1978. V. 9. P. 119.
- Азатян В.В., Болодьян И.А., Прокопенко В.М., Чапышева Н.В. // Докл. РАН. 2016. Т. 466. № 4. С. 1.
- Азатян В.В., Сайкова Г.Р. // Журн. физ. химии. 2013. Т. 87. № 10. С. 1640.
- Франк-Каменецкий Д.А. Диффузия и теплопередача в химической кинетике. М.: Наука, 1987. 502 с.
- Мержанов А.Г., Хайкин Б.И. Теория волн горения в гомогенных средах. Черноголовка: Институт структурной макрокинетики РАН, 1992. 160 с.
- Азатян В.В., Прокопенко В.М., Сайкова Г.Р. и др. // Кинетика и катализ. 2016. № 1. С. 426.
- Семенов Н.Н. Избранные труды. М.: Наука, 2005. Т. 3. 499 с.
- Азатян В.В. // Кинетика и катализ. 1977. Т. 18. № 2. С. 282.
- Льюис Б., Эльбе Г. Горение, пламя и взрывы в газах. М.: Мир, 1968. 592 с.
Дополнительные файлы








