Studying the Nature of Light Flashes in the Explosive Oxidation of Hydrogen with SO2
- Авторлар: Makaryan E.M.1, Gukasyan P.S.1, Arutyunyan A.A.1
-
Мекемелер:
- Nalbandyan Institute of Chemical Physics, Armenian Academy of Sciences
- Шығарылым: Том 97, № 8 (2023)
- Беттер: 1213-1217
- Бөлім: ФИЗИЧЕСКАЯ ХИМИЯ ПРОЦЕССОВ ГОРЕНИЯ И ВЗРЫВА
- ##submission.dateSubmitted##: 15.10.2023
- ##submission.datePublished##: 01.08.2023
- URL: https://bakhtiniada.ru/0044-4537/article/view/136679
- DOI: https://doi.org/10.31857/S0044453723080150
- EDN: https://elibrary.ru/QVRGIN
- ID: 136679
Дәйексөз келтіру
Толық мәтін
Аннотация
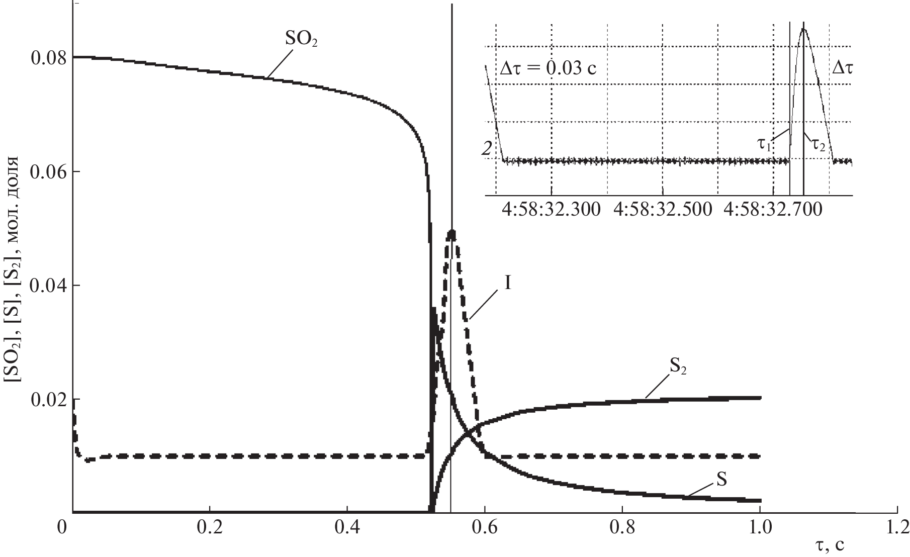
The reaction of hydrogen oxidation with sulfur dioxide in the region of self-ignition (T = 470–510°C and R < 200 Torr) is accompanied by the formation of elemental sulfur in an explosive mode. Kinetic calculations made with the SENKIN:CHEMKIN II program are used to analyze observed flashes of light from the explosive process, based on a mathematical model describing the oxidation of hydrogen with sulfur dioxide. Characteristics of the oxidation of hydrogen with sulfur dioxide in the region of a low-temperature chain explosion are revealed.
Негізгі сөздер
Авторлар туралы
E. Makaryan
Nalbandyan Institute of Chemical Physics, Armenian Academy of Sciences
Email: makaryan@mail.ru
Yerevan, Armenia
P. Gukasyan
Nalbandyan Institute of Chemical Physics, Armenian Academy of Sciences
Email: makaryan@mail.ru
Yerevan, Armenia
A. Arutyunyan
Nalbandyan Institute of Chemical Physics, Armenian Academy of Sciences
Хат алмасуға жауапты Автор.
Email: makaryan@mail.ru
Yerevan, Armenia
Әдебиет тізімі
- Rasmusen G.L., Glarborg P., Marshall P. // Proc. Combustion Institute. 2007. V. 31. P. 339.
- Gimenez-Lopez J., Martinez M., Millera A., Bilbao R., Alzueta M.U. // Combustion and Flame. 2011. V. 158.
- Kallend A.S. // Combustion and Flame. 1972. V. 19. № 2. P. 227.
- Durie R.A., Smith M.Y., Johnson G.M. // Combustion and Flame. 1971. V. 17. № 2. P. 197.
- Мкрян Т.Г., Гукасян П.С., Манташян А.А. // Хим. физика. 2002. Т. 21. № 11. С. 33.
- Манташян А.А. // Физика горения и взрыва. 2016. Т. 52. № 2. С. 3.
- Lutz A.E., Kee R.J., Miller J.A. SENKIN: A FORTRAN Program for Predicting Homogeneous Gas Phase Chemical Kinetics with Sensitivity Analysis // Sandia National Laboratory Rep. SAND-87-8248. Available at http: www.osti.gov/scitech/biblio/5371815.
- Semenov N. // Acta Physicochim. U.R.S.S. 1945. V. 20. P. 291.
- Baulch D.L., Drysdale D.D., Horne D.G. // Symp. Int. Combust. Proc. 1973. V. 14. P. 107.
- Baulch D.L., Cobos C.J., Cox R.A. et al. // J. Phys. Chem. Ref. Data. 1994. V. 23. P. 847.
- Baulch D.L., Cobos C.J., Cox R.A. et al. // J. Phys. Chem. Ref. Data. 1992. V. 21. P. 411.
- Pirraglia A.N., Michael J.-V., Sutherland J.W., Klemm R.B. // J. Phys. Chem. 1989. V. 93. P. 282.
- Warnatz J. Rate coefficients in the C/H/O system / Combustion Chemistry, ed. W.C. Gardiner, Jr., pub. Springer-Verlag.
- Blitz M.A., Hughes K.J., Pilling M.J., Robertson S.H. // J. Phys. Chem. A. 2006. V. 110. P. 2996.
- Stickel R.E., Chin M., Daykin E.P. et al. // J. Phys. Chem. 1993. V. 97. P. 13653.
- Goumri A., Rocha J.-D. R., Laakso D. et al. // J. Phys. Chem. A. 1999. V. 103. P. 11328.
- Schofield K. // J. Phys. Chem. Ref. Data. 1973. V. 2. P. 25.
- Lu C.W., Wu Y.J., Lee Y.P. et al. // J. Phys. Chem. A. 2003. V. 107. P. 11020–11029.
- Singleton D.L., Cvetanovic R.J. // J. Phys. Chem. Ref. Data. 1988. V. 17. P. 1377.
- Lu C.W., Wu Y.J., Lee Y.P. et al. // J. Chem. Phys. 2004. V. 121. P. 8271.
- Atkinson R., Baulch D.L., Cox R.A. et al. // Atmos. Chem. Phys. 2004. V. 4. P. 1461.
- Murakami Y., Onishi S., Kobayashi T. et al. // J. Phys. Chem. A. 2003. V. 107. P. 10996.
- Du S.Y., Francisco J.S., Shepler B.C., Peterson K.A. // J. Chem. Phys. 2008. V. 128.
- Durie R.A., Smith M.Y., Johnson G.M. // Combustion and Flame. 1971. V. 17. № 2. P. 197.
- Yilmaz A., Hindiyarti L., Jensen A.D. et al. // J. Phys. Chem. A. 2006. V. 110. P. 6654.
- Naidoo J., Goumri A., Marsha P.A. // Proc. Combust. Inst. 2005. V. 30. P. 1219–1225
- Payne W.A., Stief L.J., Davis D.D. // J. Am. Chem. Soc. 1973. V. 95. P. 761.
- Chung K., Calvert J.G., Bottenheim J.W. // Int. J. Chem. Kinet. 1975. V. 7. P. 161.





