Синтез и исследование адсорбционно-структурных свойств гидрометасиликата кальция на основе диатомита
- Authors: Манукян А.Г.1
-
Affiliations:
- Институт общей и неорганической химии Национальной академии наук Республики Армения
- Issue: Vol 60, No 1 (2024)
- Pages: 9-15
- Section: Articles
- URL: https://bakhtiniada.ru/0002-337X/article/view/274433
- DOI: https://doi.org/10.31857/S0002337X24010022
- EDN: https://elibrary.ru/MILHWK
- ID: 274433
Cite item
Full Text
Abstract
Установлены оптимальные условия известковой обработки диатомита Джрадзорского месторождения (Армения), при которых полученный гидрометасиликатный продукт обладает высокой удельной поверхностью, адсорбционной и фильтрационной способностью. Методами дериватографии, ИК-спектроскопии, рентгенографии установлен механизм образования гидрометасиликата кальция C–S–H(I) при известковой обработке диатомита. По изотермам адсорбции паров воды и бензола изучены адсорбционно-структурные свойства гидрометасиликата кальция и на их основе рассчитаны параметры пористой структуры. Показана эффективность применения гидрометасиликата кальция C–S–H(I) в качестве фильтрующего и адсорбирующего материала.
Full Text
ВВЕДЕНИЕ
Диатомиты являются высококремнистыми породами, сложены преимущественно структурной разновидностью опала (SiO2 · nH2O) [1]. Благодаря своим физическим свойствам и химическому составу, специфической форме и макроструктуре первичных частиц (эффективный радиус rcp = 0.3–1.6 мкм) природные диатомиты находят широкое применение в химической, нефтехимической, пищевой, медицинской, строительной, цементной промышленности [1–7]. Наиболее перспективно и экономически выгодно использовать эти природные ископаемые для производства адсорбентов, фильтровальных порошков, катализаторов и наполнителей [8–13].
Несмотря на пористую структуру и высокое содержание аморфного кремнезема, удельная поверхность (10–40 м2/г), адсорбционные, фильтрационные свойства природных диатомитов относительно невелики. Для улучшения этих свойств наиболее дешевым и эффективным способом является известковая обработка диатомитов [14, 15].
В литературе [15] взаимодействие Ca(OH)2 с диатомитом рассматривается как хемосорбция – реакция с поверхностными OH–-группами кремнезема, на первой стадии представляющая собой взаимодействие слабой кислоты (константа диссоциации 10–9.8) с сильным основанием
.
Следующей стадией этого взаимодействия является разрыв связей Si–O–Si с образованием аморфных кальциевых гидросиликатов различного состава (до температуры 100 °C при молярных отношений CaO : SiO2 ≤ 1.5 образуются гидросиликаты кальция C–S–H(I) и тоберморит 14Å), часть которых может кристаллизоваться [16, 17].
Работа посвящена синтезу и изучению свойств гидрометасиликатного продукта при известковой обработке диатомита в гидротермальных условиях, а также рассмотрению механизма превращения диатомита в гидрометасиликат кальция. Объектом исследований являлся диатомит Джарадзорского месторождения с содержанием общего кремнезема 86.50 мас. % (в том числе аморфного 77.01) и примесей 15.57 (табл. 1).
Таблица 1. Химический состав диатомитов после их известковой обработки (температура обработки 95 °С, продолжительность 6 ч)
Молярное отношение CaO : SiO2 в исходной смеси | Содержание. мас. % | Удельная поверхность по адсорбции азота, м2/г | pH водной вытяжки | ||||||
SiO2 | Fe2O3 | Al2O3 | CaO (общ.) | CaO (свобод.) | CO2 | п.п.п. | |||
Исходный диатомит | 86.50 | 0.36 | 5.24 | 1.50 | – | 2.29 | 6.18 | 37 | 7.6 |
0.05 | 79.00 | 0.18 | 4.71 | 7.40 | – | 1.10 | 8.49 | 65 | 9.1 |
0.10 | 74.13 | 0.19 | 4.61 | 9.75 | – | 1.40 | 10.97 | 96 | 9.2 |
0.20 | 69.96 | 0.17 | 4.99 | 11.66 | – | 1.20 | 12.64 | 138 | 9.0 |
0.30 | 62.99 | 0.17 | 4.36 | 16.85 | – | 1.50 | 14.98 | 200 | 9.1 |
0.40 | 58.30 | 0.17 | 4.33 | 21.00 | – | 1.98 | 16.15 | 190 | 9.5 |
0.50 | 51.60 | 0.16 | 4.30 | 24.38 | – | 2.05 | 19.62 | 150 | 9.8 |
0.60 | 50.30 | 0.18 | 4.33 | 28.11 | – | 2.70 | 17.11 | 130 | 9.9 |
0.70 | 47.60 | 0.18 | 5.00 | 31.30 | – | 2.70 | 15.74 | 100 | 10.2 |
0.80 | 38.50 | 0.17 | 4.37 | 28.65 | – | 2.90 | 27.88 | 95 | 10.0 |
0.90 | 36.00 | 0.17 | 4.30 | 30.54 | 0.25 | 1.90 | 28.90 | 67 | 11.6 |
1.15 | 36.90 | 0.15 | 4.20 | 40.08 | 2.50 | 2.30 | 18.60 | 65 | 12.4 |
ЭКСПЕРИМЕНТАЛЬНАЯ ЧАСТЬ
Известковую обработку диатомита проводили в металлическом реакторе, снабженном пропеллерной мешалкой и обратным холодильником. Для выбора оптимальных условий обработку проводили при температуре 50–95 °C и массовом соотношении Ж : Т = (4–10) : 1, молярном отношении CaO : SiO2 в исходной смеси 0.05–1.25. Известковое молоко с концентрацией CaO 150 г/л готовили гашением извести, полученной путем обжига известняка (CaCO3 ∼ 97 мас. %). Через определенные промежутки времени (1–10 ч) из реактора отбирали пробы. Отфильтрованные, промытые и высушенные (при температуре 120 °C до постоянного веса) продукты подвергали комплексным физико-химическим исследованиям.
Для всех исследуемых образцов определяли удельную поверхность методом БЭТ по низкотемпературной адсорбции азота [18], измеряли изотермы адсорбции паров воды и бензола и на их основе рассчитывали параметры пористой структуры [19, 20]. Термический анализ проводили на дериватографе фирмы МОМ при скорости подъема температуры 5 °C/мин, ИК-спектроскопический анализ – на приборе Specord IR в области 400–4000 см–1, рентгенофазовый – на дифрактометре URD63 с использованием CuКα-излучения и никелевого фильтра. Идентификацию линий дифрактограмм проводили по базе данных ICPDS–1CDD 2004. Химический состав, адсорбционные и фильтрационные свойства определяли по известным методикам [20, 21].
РЕЗУЛЬТАТЫ И ОБСУЖДЕНИЕ
Химический состав и некоторые свойства исходного и обработанного диатомита Джрадзорского месторождения приведены в табл. 1. Как видно, исходные компоненты полностью взаимодействуют до молярного отношения CaO : SiO2 = 0.8 включительно, при дальнейшем увеличении этого отношения в полученном осадке появляется свободный CaO.
Скачкообразное повышение pH водной вытяжки диатомитов, обработанных при молярном отношении 0.9–1.15 (табл. 1; рис. 1, кривая 12) связано с появлением в этих образцах некоторого количества несвязанного гидроксида кальция (pH водной вытяжки чистого гидрометасиликата кальция составляет 10.4–10.6 [15, 17]). Температура и продолжительность известковой обработки играют существенную роль в изменении удельной поверхности гидрометасиликатного продукта. Оптимальными условиями известковой обработки, при которых диатомит обладает максимальной удельной поверхностью до 200 м2/г, являются: массовое соотношение Ж : Т = (5–7) : 1, температура термообработки 95–97 °C, продолжительность 6 ч, молярное отношение CaO : SiO2 в исходной смеси 0.3 (табл. 1).
Рис. 1. ДТА-кривые исходного диатомита (1) и обработанных образцов (2–12) (температура обработки 95 °C, продолжительность 6 ч); молярное отношение CaO : SiO2 в исходной смеси: 2 – 0.05, 3 – 0.1, 4 – 0.2, 5 – 0.3, 6 – 0.4, 7 – 0.5, 8 – 0.6, 9 – 0.7, 10 – 0.8, 11 – 0.9, 12 – 1.15
ДТА-кривые (рис. 1) обработанных образцов имеют вид, характерный для гидрометасиликата кальция типа C–S–H(I) (по классификации Тейлора [16, 22, 23]) с молярным отношением CaO : SiO2 ≤ 1.5). Образование гидрометасиликатов кальция C–S–H(I) в процессе известковой обработки отражено на кривой ДТА экзотермическим эффектом при температуре 850–870 °С, относящимся к превращению C–S–H(I) в волластонит. Можно отметить, что при молярном отношении CaO : SiO2 = 1.15 в исходной смеси высокотемпературное плечо и диффузионность экзотермического эффекта связаны с тем, что в этом температурном интервале 870–900 °С в волластонит превращается непрерывный ряд гидрометасиликатов кальция типа C–S–H(I) с молярным отношением CaO : SiO2 > 0.8. На ДТА-кривых всех образцов эндотермический эффект при 670–700 °C связан с дегидроксилированием гидрометасиликата кальция, удалением мостиковых групп, а при 800–860 °C – с разложением небольшого количества карбоната кальция, всегда присутствующего в синтетических гидрометасиликатах кальция [17]. Данный эндотермический эффект декарбонизации всегда переходит в экзотермический эффект превращения гидрометасиликата кальция C–S–H(I) в волластонит.
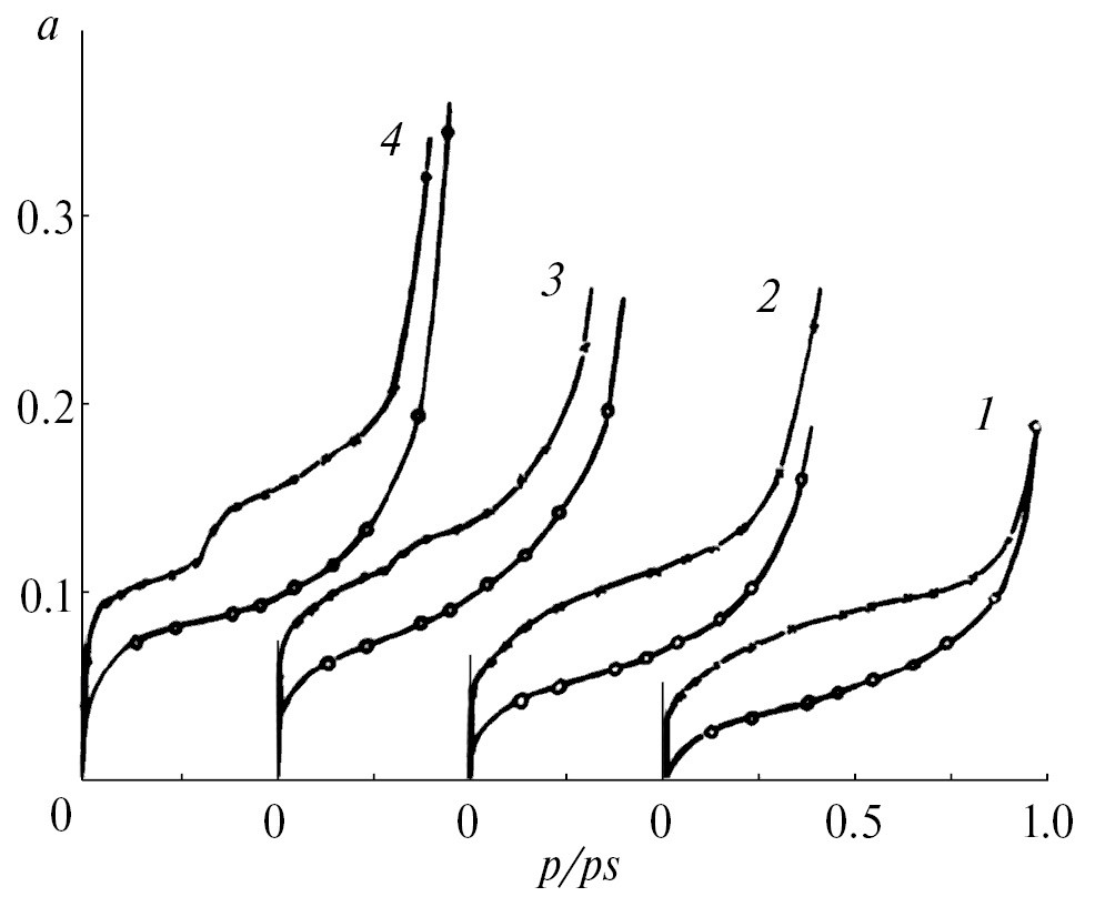
Изотермы адсорбции паров воды и бензола для исследуемых образцов (рис. 2, 3) после их известковой обработки имеют гистерезис типа Б по классификации Де-Бура [24], характерный для слоистых адсорбентов [19, 20]. Ширина петля гистерезиса увеличивается с ростом молярного отношения CaO : SiO2 в исходной смеси. На дeсорбционных ветвях в интервалах p : ps = 0.20–0.25 (при адсорбции паров бензола) и 0.25–0.3 (при адсорбции паров воды) наблюдается изгиб, вызванный адсорбцией этих паров в межслоевом пространстве новообразующихся гидрометасиликатов кальция типа C–S–H(I).
Рис. 2. Изотермы адсорбции паров бензола при температуре 20 °C для исходного диатомита (8) и обработанных образцов (1–7) (температура обработки 95 °C, продолжительность 6 ч); молярное отношение CaO : SiO2 в исходной смеси: 1 – 0.1, 2 – 0.2, 3 – 0.3, 4 – 0.5, 5 – 0.6, 6 – 0.8, 7 – 0.9
Рис. 3. Изотермы адсорбции паров воды при температуре 20 °C для исходного диатомита (1) и обработанных образцов (2–4) (температура обработки 95 °C, продолжительность 6 ч); молярное отношение CaO : SiO2 в исходной смеси: 2 – 0.1, 3 – 0.3, 4 – 0.6
Общий объем пор у обработанных диатомитов резко увеличивается с увеличением молярного отношения в исходной смеси от 0.1 до 0.3, а в интервале 0.3–0.9 понижается. При CaO : SiO2 = 0.3 обработанный диатомит имеет максимальные объем пор и удельную поверхность (табл. 1, табл. 2). Благодаря аморфной однородной поверхности и структурным особенностям (присутствию на поверхности аморфного кремнезема активных центров с ненасыщенными связами [16]) диатомиты, обработанные известковым молоком, обладают развитой пористой структурой и повышенной сорбционной способностью [15, 19].
Таблица 2. Адсорбционно-структурные характеристики диатомитов после обработки известковым молоком (температура обработки 95 °С, p/ps= 0.95)
Молярное отношение CaO : SiO2 в исходной смеси | Vп, см3/г по адсорбции паров | rп, Å | |
воды | бензола | ||
Исходный диатомит | 0.122 | 0.085 | 65 |
0.1 | 0.535 | 0.521 | 11 |
0.2 | 0.640 | 0.597 | 11 |
0.3 | 0.717 | 0.702 | 11 |
0.4 | 0.660 | 0.681 | 11 |
0.5 | 0.510 | 0.489 | 9 |
0.6 | 0.668 | 0.692 | 12 |
0.7 | – | – | 12 |
0.8 | 0.565 | 0.480 | 13 |
0.9 | – | – | 13 |
1.15 | 0.775 | 0.745 | 13 |
Примечание. Vп – общий объем пор, rп – средний радиус пор.
С увеличением молярных отношений CaO : SiO2 в исходной смеси на дифрактограммах (рис. 4) появляются и усиливаются рефлексы при 3.04, 2.62, 1.64 Å, которые характерны для гидросиликата кальция типа C–S–H(I) (карточка 11–0211). Одновременно с этим исчезает гало в интервале 3.5–4.5 Å, характерное для рентгеноаморфной разновидности опала (карточка 38–0448), из которого сложены панцири диатомей. В то же время кварц, присутствующий в диатомитовой породе, не претерпевает сколько-нибудь заметных превращений, о чем свидетельствует неизменность интенсивности рефлекса 3.34 Å на дифрактограммах.
Рис. 4. Дифрактограммы исходного диатомита (1) и обработанных образцов (2–4) (температура обработки 95 °C, продолжительность 6 ч); молярное отношение CaO : SiO2 в исходной смеси: 2 – 0.2, 3 – 0.4, 4 – 0.8
С увеличением молярных отношений CaO : SiO2 в исходной реакционной смеси на ИК-спектрах (рис. 5) синтезированных продуктов уменьшается интенсивность полос поглощения при 1100 и 800 см–1, присущих аморфному кремнезему, а при молярном отношении CaO : SiO2 = 0.8 они полностью исчезают. Одновременно появляется и возрастает полоса поглощения при 975 см–1, обусловленная симметричными колебаниями мостиковых Si–O–Si-связей и свойственная гидрометасиликатам кальция [25].
Рис. 5. ИК-спектры исходного диатомита (1) и обработанных образцов (2–5) (температура обработки 95 °C, продолжительность 6 ч); молярное отношение CaO : SiO2 в исходной смеси: 2 – 0.1, 3 – 0.3, 4 – 0.8, 5 – 1.25
Таким образом, рентгенографические и ИК-спектроскопические исследования также подтверждают образование гидрометасиликатов кальция и согласуются с данными [6, 15, 25].
В табл. 3 приведены адсорбционные и фильтрационные свойства обработанных диатомитов. Для сравнения там же приведены соответствующие данные для промышленных фильтрующих порошков «Специаль–2» и «Кизельгур».
Таблица 3. Адсорбционные и фильтрационные свойства исходного уайт-спирита и перхлорэтилена через слой исследуемых порошков
Порошок | Продолжительность фильтрации, с | Скорость фильтрации, м3/(м2 · с) | Светопропускание, % | Степень отбеливания, % |
Исходный уайт-спирит | ||||
C–S–H(I) | 69 | 8.7 | 72 | 67.4 |
«Специаль-2» | 75 | 7.2 | 64 | 48.8 |
«Кизельгур» | 83 | 6.5 | 62 | 21.0 |
Исходный перхлорэтилен | ||||
C–S–H(I) | 69 | 8.7 | 72 | 67.3 |
«Специаль-2» | 75 | 7.2 | 63 | 48.5 |
«Кизельгур» | 84 | 6.4 | 61 | 20.8 |
Примечание. Светопропускание исходного уайт-спирита 57%, перхлорэтилена 56.5%.
Отличительной особенностью фильтрующих порошков является несжимаемость фильтрующего слоя, что позволяет сохранять в нем сквозные поры, способные пропускать жидкость, но задерживать твердые частицы. Исследование гранулометрического состава гидрометасиликата кальция типа C–S–H(I), проведенное по методике [26], показало, что в образцах преобладают частицы размерами 20–100 мкм. Такой гранулометрический состав образцов создает возможность их плотной укладки в фильтрующем слое и обеспечивает высокую степень очистки органических растворителей при достаточно большой скорости фильтрации [27, 28]. Проведенные исследования (табл. 3) показывают, что гидрометасиликат кальция типа C–S–H(I) по скорости фильтрации и по адсорбционной способности значительно превосходит традиционные фильтрующие порошки.
ЗАКЛЮЧЕНИЕ
Установлены оптимальные условия известковой обработки диатомита Джрадзорского месторождения, при которых полученный гидрометасиликатный продукт обладает высокой удельной поверхностью, адсорбирующей и фильтрующей способностью: массовое соотношение Ж : Т = (5–7) : 1, температура – 95–97, продолжительность 6 ч, молярное отношение CaO : SiO2 = 0.3.
На основании комплексного изучения механизма известковой обработки диатомита установлено, что при определенных условиях происходит разрушение первичной структуры диатомита, гидроксид кальция реагирует с аморфным кремнеземом с образованием гидрометасиликат кальция типа C–S–H(I).
По изотермам адсорбции паров воды и бензола рассчитаны параметры пористой структуры исследуемых образцов.
Результаты сравнения адсорбционных и фильтрационных свойств исследуемых диатомитов после известковой обработки и традиционных фильтрующих порошков «Специаль–2» и «Кизельгур» показывают, что гидрометасиликат кальция типа C–S–H(I) на основе диатомита Джрадозорского месторождения можно рекомендовать в качестве адсорбирующего фильтрующего порошка в процессе очистки отработанных органических растворителей.
КОНФЛИКТ ИНТЕРЕСОВ
Автор заявляет, что у нее нет конфликта интересов.
About the authors
А. Г. Манукян
Институт общей и неорганической химии Национальной академии наук Республики Армения
Author for correspondence.
Email: hasmikgmanukyan@gmail.com
Armenia, Ереван
References
- Кремнистые породы СССР / Под ред. Дистанова У.Г. Казань: Татар. кн. изд., 1976. 412 с.
- Антипина С.А., Верещагин В.И. Фазовый состав и свойства известково-кремнеземистых вяжущих // Строительные материалы. 2008. № 11. С. 48–49.
- Serkan Dal, Muchait Sutcu, Mustafa sabri Gok, Osman Gencel. Characteristics of Lightweight Diatomite – Based Insulating firebricks // J. Korean Ceram. Soc. 2020. V. 57. № 3. P. 184–191. https://doi.org/10.1007/s43207 –020 – 00020 – 5
- Логанина В.И., Смирнов Е.Е. Повышение эффективности применения диатомита в отделочных составах // Современное промышленное и гражданское строительство. 2012. Т. 8. № 1. С. 45–52.
- Иванов С.Э., Беляков А.В. Диатомит и области его применения // Стекло и керамика. 2008. Т. 81. № 2. С. 18–22
- Elden H., Morsy G., Bokr M. Diatomite: Characterization, Modifications and Applications // Asian J. Mater. Sci. 2010. V. 2. № 3. P. 121–136. https://doi.org/10.3923/ajmskr.2010.121.136
- Taylor Jr., Harold A. Diatomite // Am. Ceram. Soc. Bull. 1995. V. 74. № 6. P. 122–122.
- Tsai W.–T., Lai C.–W., Hsien K.–J. Characterization and Adsorption Properties of Diatomaceous Earth Modified by Hydrofluoric acid Etching // J. Colloid Interface Sci. 2006. V. 29. № 2. P. 749–754. https://doi.org/10.1016/j.jcis2005.10.058
- Мдивнишвили О.М., Уридия Л.Я. Способ получения фильтрующего материала на основе диатомита: А. с. 1599055 СССР, МКИ B 01 D 39/00, B 01 20/14.
- Убаськина Ю.А., Арсентьев И.В., Фетюхина Е.Г., Коростелева Ю.А., Адаев Т.В. Исследование минералогического состава диатомита для его безопасной добычи и применения в промышленности // Вестн. Белгород. гос. технол. ун-та им. В. Г. Шухова. 2016. № 1. С. 128–132.
- Gao R., Gu Y., Li G., Sun Q. Study on Preparation and Adsorption Properties of Diatomite – Based Porous Ceramsite // Nature Environ. Pollution Technol. 2016. V. 16. № 4. P. 1283–1286.
- Houwaida Nefzi, Latifa Latrous EI Atrache. Application of Diatomite as a Biosorbent Material for the Removal of Chlortoluron and Isoproturon from Water // J. Mater. Environ. Sci. 2018. V. 9. № 5. P. 1614–1621. https://doi.org/10.26872/jmes.2018.9.3.104
- Senol Z.M., Senol Arslan D., Simsek S. Preparation and Characterization of a Novel Diatomite – Based Composite and Investigation of its Adsorption Properties for Uranyl Ions // J. Radioanal. Nucl. Chem. 2019. V. 321. P. 791–803. https://doi.org/10.1007/s10967 – 019 – 06662 – y
- Мартиросян Г.Г., Манукян А.Г., Овсепян Э.Б., Костанян К.А. Исследование адсорбционно–структурных свойств природных и обработанных диатомитов // Журн. прикл. химии. 2003. Т. 76. № 4. С. 551–555.
- Дмитриев П.П. Известковая активация природных минеральных сорбентов для нефтепродуктов. Ташкент: ФАН, 1975. 85 с.
- Taylor F.W. The Calcium Silicate Hydrates – The Chemistry of Cements. N. Y. V. 1. 467 p.
- Либау Ф. Структурная химия силикатов. М.: Мир, 1988. 410 с.
- Грег С., Сингх Н. Адсорбция, удельная поверхность, пористость. М.: Мир, 1970. 408 с.
- Дубинин М.М. Адсорбция и пористость. М.: Наука, 1976. 127 С.
- Экспериментальные методы адсорбции и молекулярной хроматографии / Под. ред. Киселева А.В. М.: МГУ, 1976. 198 с.
- Пономарев А.И. Методы химического анализа силикатных и карбонатных горных пород. М.: АН СССР, 1961. 414 с.
- Пашкевич А.А., Броневой В.А., Краус И.П. Термография продуктов глиноземного производства. М.: Металлургия, 1983. 130 с.
- Манукян А.Г. Дериватографический метод анализа для исследования механизма известковой обработки диатомитов // Сб. матер. VI междунар. конф. «Химия и химическая технология». Ереван: Изд. ИОНХ НАН РА, 2019. С. 92–94.
- De Boer Y.H., Linsen B.G., Osinga Th.J. Studies on Pore Systems in Catalysts: VI. The Universal t Curve // J. Catal. 1965. V. 4. № 6. P. 643-648. https://doi.org/10.1016/0021-9517(65)90263-0
- Лазарев А.И. Колебательные спектры и строение силикатов. Л.: Наука, 1968. 163 с.
- Справочник по производству строительной керамики / Под. ред. Юшкевича О.М. М.: Госстройиздат, 1961. Т. 1. 464 с.
- Конюхова Т.П., Дистанов У.Г., Михайлова О.А., Сенаторова С.З., Чуприна Т Н. Способ получения диатомитовых фильтрующих порошков: А. с. 2237510 C1 RU.
- Убаськина Ю.А., Алехина М.Б. Адсорбция хорошо растворимых органических соединений на диатомите // Физикохимия поверхности и защита материалов. 2023. Т. 59. № 2. С. 122–127. https://doi.org/10.31857/S0044 85623700134
Supplementary files







