Plestocene small mammal faunas from the fluvial deposits of SW regions of Eastern Europe
- Authors: Markova A.K.1
-
Affiliations:
- Institute of Geography RAS
- Issue: Vol 55, No 2 (2024)
- Pages: 154—172
- Section: SHORT COMMUNICATIONS
- URL: https://bakhtiniada.ru/2949-1789/article/view/276407
- DOI: https://doi.org/10.31857/S2949178924020082
- EDN: https://elibrary.ru/PNKLCB
- ID: 276407
Cite item
Full Text
Abstract
The investigation of the Pleistocene small mammal faunas from the south-western regions of the Russian Plain permits to reconstruct their principal evolutional stages during last ~1 400 000 yr. These materials took the possibilities to date the Pleistocene alluvial, liman and marine deposits and also the horizons of the fossil soils.
The unique small mammal and brackish-water mollusk localities in marine and liman-deltaic deposits of the Black Sea permits to demonstrate a direct correlation between the events in the Black Sea basin and on the continent. The direct correlations of the events (transgressions) in the Black Sea and on the continent were made based on the joint finds of the brackish-water mollusks and the small mammal remains. Thus, the Tiraspolian faunas synchronous to the Chaudian transgression of the Black Sea; the faunas of the Gunkovian small mammal assemblage (MIS 11, Likhvin interglacial) are correlated to the Early Euxinian transgression. The faunas existing in the last warming (Interglacial?) of the Middle Pleistocene (MIS 7) are synchronous to the Uzunlar transgression, and the faunas of the Mikulino (=Eemian) Interglacial are correlated with Karangat transgression (MIS 5e). The species of the open (steppe and forest-steppe) landscapes prevailed in the all of the faunas.
Full Text
ВВЕДЕНИЕ
Юго-Запад Русской равнины — уникальный район по богатству местонахождений ископаемых мелких млекопитающих, приуроченных к разным генетическим типам отложений. Большинство из этих местонахождений обнаружены во флювиальных осадках: аллювиальных, лиманных, озерных и даже морских. Хотя имеются и местонахождения, связанные с горизонтами ископаемых почв, с культурными горизонтами палеолитических стоянок.
Изучение ископаемых мелких млекопитающих этого региона началось еще в XIX в. (Nordman, 1858). Однако планомерное исследование плейстоценовых фаун мелких млекопитающих ЮЗ Русской равнины началось лишь с 60-х гг. XX в. По этим данным, а также по материалам из других регионов Вост. Европы, опубликованы как сводки по отдельным таксономическим группам мелких млекопитающим (Гуреев, 1964, 1971; Топачевский, 1965; Громов и др., 1965; Громов, Ербаева, 1995), так и работы, в которых проведено выделение основных териокомплексов мелких млекопитающих в неогене-плейстоцене. Наиболее полно последнее направление исследований по материалам юго-запада Восточной Европы получило отражение в работах А. И. Шевченко (1965), Л. П. Александровой (1976), А. И. Шушпанова (1983), В. А. Топачевского и др., (1987), Л. И. Рековца (1994), А. И. Крохмаля и Л. И. Рековца, (2010), Э. А. Вангенгейм и др. (2001) и др., установивших видовой состав и основные эволюционные стадии мелких млекопитающих данного региона в разные интервала плейстоцена.
Цель данной статьи заключалась в рассмотрении новых данных по эволюции ископаемых мелких млекопитающих юго-запада Восточной Европы, уточнении стратиграфической приуроченности плейстоценовых местонахождений микротериофауны на основании комплексных геологических и палеонтологических данных, выявлении особенностей природной среды во второй половине раннего, в среднем и позднем плейстоцене.
Автор настоящей статьи участвовала в полевых работах на серии плейстоценовых разрезов разного возраста, расположенных в бассейнах основных рек ЮЗ Русской равнины — Дуная, Прута, Днестра, Днепра, а также на связанных с бассейном Дуная лиманов (ныне озер) — Ялпуга, Катлабуха, Кахула, Китая. На большинстве разрезов проводились комплексные исследования разных биотических групп: млекопитающих, моллюсков, пыльцы и спор, фораминифер и т. д. Большинство захоронений остатков мелких млекопитающих содержали остатки пресноводных и солоноватоводных моллюсков, которые были изучены К. Д. Михайлеску и А. Л. Чепалыгой. Результаты этих исследований опубликованы в серии работ (Михайлеску, Маркова, 1992; Markova, 1990 a, b; Михайлеску и др., 1991; Markova, Mikhailesku, 1994; Markova, 1994; Markova et al., 2021; Маркова, Puzachenko, 2017 и др.).
РАННИЙ ПЛЕЙСТОЦЕН
Наиболее древние из находок обнаружены в аллювиальных отложениях IX террасы Днестра в местонахождении Хаджимус (рис. 1, 10), расположенном на правом высоком берегу Днестра у с. Хаджимус. Аллювиальные отложения залегают на коренных верхнесарматских глинах и перекрыты лёссово-почвенной толщей с 10 горизонтами ископаемых почв (рис. 2) (Михайлеску, Маркова, 1992; Dodonov et al., 2006).
Аллювий представлен пойменными суглинками и супесями, подстилаемыми разнозернистыми косослоистыми песками, книзу переходящими в галечники и гравелиты. Остатки мелких млекопитающих были получены в результате промывок в ситах из двух уровней руслового аллювия, интервал между которыми — 1.5 м.
Таблица 1. Видовой состав мелких млекопитающих из раннеплейстоценовых отложений
Table 1. Small mammal’ species composition from the Early Pleistocene deposits
Вид | Местонахождение | ||||||||
Хаджимус (ниж. сл.)* | Хаджимус* (верх. сл.) | Чишмикиой** | Ногайск (верх. сл.)*** | Роксоланы* | Нагорное 1 (расч. 9 и 10)* | Нагорное 1 (расч. 1)* | Западные Каиры* | Ушкалка* | |
Eulipotyphla: | |||||||||
Sorex sp. | 1 | 1 | |||||||
Crocidura sp. | 1 | ||||||||
Erinaceus sp. | 1 | 2 | |||||||
Desmana sp. | 13 | 20 | |||||||
Lagomorpha: | |||||||||
Hypolagus sp. | 10 | ||||||||
Pliolagus cf. beremendensis Kormos | 13 | ||||||||
Lepus sp. | 4 | 2 | 3 | ||||||
Ochotona sp. | 4 | 2 | 1 | ||||||
Rodentia: | |||||||||
Spermophilus nogaici Topachevsky | 98 | 535 | |||||||
Spermophilus sp. | 17 | 1 | 4 | 3 | 2 | ||||
Trogontherium cuvieri Fischer | 1 | ||||||||
Castoridae gen. et sp. indet | 2 | ||||||||
Sicista vinogradovi Topachevsky | 2 | 5 | |||||||
Paralactaga sp. | 3 | ||||||||
Allactaga cf. ucrainica Gromov et Schevtchenko | 1 | ||||||||
Spalax minor Topachevsky | 25 | ||||||||
Cricetus cricetus aff. palaeoasovicus | 2 | 40 | |||||||
Cricetus sp. | 132 | ||||||||
Allocricetus sp. | 1 | 2 | |||||||
Cricetulus sp. | 1 | 2 | |||||||
Ellobius ex gr. Palaeotalpinus Schevtscenko | 1 | ||||||||
Ellobius ex gr. tankrei Blasius | 6 | ||||||||
Ellobius sp. | 1 | ||||||||
Clethrionomys Sokolov i Topachevski | 4 | 3 | |||||||
Clethrionomys ex gr. glareolus Schreb. | 4 | 1 | |||||||
Clethrionomys sp. | 1 | ||||||||
Mimomys reidi Hinton | 1 | ||||||||
Mimomys ex gr. M. reidi Hinton — M. pusillus Mehely | 19 | 25 | 5 | ||||||
Mimomys pusillus Mehely | 1 | 7 | 2 | ||||||
Mimomys pliocaenicus Major | 5 | ||||||||
Mimomys (Pusillomimus) pitymyoides Janossy et Van der Meulen | 6 | 2 | |||||||
Mimomys savini Hinton | 17 | 12 | 102 | 1 | 1 | 17 | 8 | ||
Mimomys sp. | 45 | ||||||||
Pliomys ex gr. episcopalis Mehely | 2 | ||||||||
Pliomys episcopalis Mehely | 2 | 1 | |||||||
Borsodia petenyi Mehely | 9 | 1 | |||||||
Borsodia fejervaryi Kormos | 5 | 2 | 3 | 3 | |||||
Prolagurus ternopolitanus Topachevsky | 2 | 58 | 30 | 1 | |||||
Prolagurus pannonicus Kormos | 2 | 4 | 18 | 9 | |||||
Вид | Местонахождение | ||||||||
Хаджимус (ниж. сл.)* | Хаджимус* (верх. сл.) | Чишмикиой** | Ногайск (верх. сл.)*** | Роксоланы* | Нагорное 1 (расч. 9 и 10)* | Нагорное 1 (расч. 1)* | Западные Каиры* | Ушкалка* | |
Prolagurus sp. | 8 | 43 | |||||||
Lagurodon arankae Kretzoi | 16 | 2918 | 40 | 6 | 3 | ||||
Allophaiomys deucalion Kretzoi | 16 | 10 | 32 | ||||||
Allopaiomys pliocaenicus Kormos | 5 | 627 | 114 | 21 | |||||
Microtinae gen. | 270 | ||||||||
Примечание. *– по (Маркова, 1982, 1990а, 1998); ** — по (Шушпанов, 1983), *** — по (Топачевский, 1965).
Проведенные палеомагнитные исследования показали, что граница Брюнес–Матуяма проходит ниже колкотовской почвы, а палеомагнитный эпизод Хорамилло отмечен несколько выше аллювиальных отложений IX террасы Днестра (Dodonov et al., 2006).
Фауна из местонахождения Хаджимус (нижний слой) может быть сопоставлена с фаунами одесского фаунистического комплекса мелких млекопитающих (Markova, 1990a, b; 1998; 2007) (табл. 1). Среди представителей рода Mimomys присутствуют Mimomys ex gr. reidi-pusillus и Mimomys pitymyoides. Последний вид очень редок в местонахождениях Восточной Европы и отмечен пока в двух пунктах: разрезе Псекупс (Вангенгейм и др., 2001) и в местонахождении Хаджимус. Для фаун этого уровня характерны древние лагуриды двух родов: Prolagurus (P. ternopolitanus) и Lagurodon (L. arankae). Для аллювия IX террасы Днестра получена термолюминсцентная датировка ~1.300 ±350 Ма (Куликов, Чепалыга, 1985). Фауна Хаджимуса была отнесена к развитым фаунам одесского комплекса мелких млекопитающих и к псекупскому комплексу крупных млекопитающих с Archidiscodon meridionalis meridionalis (Громов, 1948; Вангенгейм et al., 2001). Для более ранних фаун этого комплекса не характерны находки остатков лагурид, а некорнезубые формы полевок представлены единственным родом — Allophaiomys. Фауна Хаджимуса близка фауне из местонахождения Бетфия XIII в Румынии с ранними Allophaiomys и Lagurodon arankae (Terzea, 1984, 1995), Мокра в Словакии (Fejfar, Horacek, 1983), Жабья Пещера в Польше (Garapich, Nadachowski, 1996), Зурланд 42—46 м в Нидерландах (Kolfschoten, 1990), Надьхарсаньхедь 2 в Венгрии (Janossy, 1986; Kretzoi, 1956), Вента Мицена в Испании (Agusti, 1991) и может коррелироваться с Ваалием (Waalian) нидерландской стратиграфической шкалы.
Экологическая приуроченность фауны Хаджимуса позволяет реконструировать открытые степные и лесостепные ландшафты. В фауне присутствуют такие типичные степные виды как пищухи, суслики, хомяки, пеструшки двух родов. Обнаружение остатков лесной полевки Clethrionomys указывает на существование небольших залесенных участков, возможно приуроченных к берегам водоемов. Экология ряда вымерших видов, таких как Mimomys pitymyoides и M. ex gr. reidi-pusillus, не ясна. Полевки рода Borsodia морфологически близкие к лагуридам, вероятно, также являлись обитателями открытых пространств. В целом фауна Хаджимуса, как отмечено выше, позволяет реконструировать степные и лесостепные ландшафты в низовьях Днестра во вторую половину раннего плейстоцена.
Новый этап развития раннеплейстоценовых фаун ЮЗ Русской равнины фиксируется по фауне местонахождения Чишмикиой (рис. 1, 5), приуроченному к аллювиальным отложениям пра-Прута (Шушпанов, 1983). Этот этап характеризуется присутствием более эволюционно продвинутых полевок рода Allophaiomys. Пеструшки представлены древними видами Lagurodon arankae и Prolagurus ternopolitanus, в роде Mimomys доминируют M. savini. Фауна Чишмикиоя очень близка к фауне местонахождения Ногайск (Приморск) в Приазовье (рис. 1, 13) (Топачевский, 1965) и местонахождения Тарханкут в Крыму (Топачевский и др., 1987). В Чишмикиое в небольшом количестве присутствуют Pliomys episcopalis и Borsodia fejervaryi. Коэффициент A/L у Allophaiomys превышает 42, что характерно для вида A. pliocaenicus (Agusti, 1991). Остатки лагурид и Allophaiomys доминируют в местонахождении. Нужно отметить, что в работе Л. И. Рековца (1994) было проведено переописание лагурид “пролагурусной” линии из местонахождений Ногайск и Тарханкут, которые были отнесены этим автором к виду P. pannonicus. По нашему мнению, характерная морфология зубов Prolagurus из местонахождения Ногайск и особенно из местонахождения Тарханкут, зарисовки которых приведены в монографии В. А. Топачевского (1965), не позволяют отнести их к виду P. pannonicus и сравнить их с типовой серией зубов из местонахождения Пюшпекфюрдо, у большинства из которых наблюдается практическое отчленение головки параконидного комплекса М1. Приведенные в монографии Л. И. Рековца индексы М1 также указывают на значительные морфологические отличия зубов Prolagurus из Ногайска и Тарханкута от зубов лагурид этой филогенетической линии из более поздних разрезов (местонахождения Западные Каиры и др.). Несомненно, однако, что лагуриды из Ногайска и Тарханкута могут быть отнесены к наиболее прогрессивным представителям вида P. ternopolitanus. Фауны этого эволюционного уровня коррелируются с таманскими фаунами крупных млекопитающих с древним слоном Archidiscodon meridionalis tamanensis и были отнесены к ногайскому комплексу мелких млекопитающих (Топачевский, 1965; Markova, 1998).
В Западной Европе ногайским фаунам близки фауны из местонахождения Вчеларе 3В/1с с Allophaiomys pliocaenicus, Prolagurus “praepannonicus”, Lagurodon arankae, Mimomys reidi-pusillus (Fejfar, Horacek, 1983). Вероятно, к этой фазе относятся местонахождения Пирро Норд и Пиетраффита в Италии (Masini, Torre, 1990). Фауны этого эволюционного уровня коррелируются с менапием (Menapian) стратиграфической схемы Нидерландов.
Рис. 1. Местонахождения плейстоценовых мелких млекопитающих, упоминаемые в тексте. 1 — Нагорное, 2 — Суворово, 3 — Озерное (Бабель), 4 — Узмари, 5 — Чешмикиой, 6 — Плавни, 7 — Новонекрасовка, 8 — Колкотова Балка, 9 — Левада, 10 — Хаджимус, 11 — Роксоланы, 12 — Черевичное 1 (Морозовка), 13 — Ногайск (Приморское), 14 — Карай-Дубина (Бережанка), 15 — Западные Каиры, 16 — Ушкалка, 17 — Порт-Катон, 18 — Литвин, 19 — Узунлар, 20 — Пекла.
Fig. 1. Pleistocene small mammal localities mentioned in the text. 1 — Nagornoe, 2 — Suvorovo, 3 — Ozernoe (Babel), 4 — Uzmari, 5 — Cheshmikioi, 6 — Plavni, 7 — Novonekrasovka, 8 — Kolkotova Balka, 9 — Levada, 10 — Khadzhimus, 11 — Roksokany, 12 — Cherevichnoe 1 (Morozovka), 13 — Nogaisk (Primorskoe), 14 — Karai-Dubina (Berezhanka), 15 — Zapadnye Kairy, 16 — Ushkalka, 17 — Port-Katon, 18 — Litvin, 19 — Uzunlar, 20 — Pekla.
Более продвинутые в эволюционном отношении фауны обнаружены в местонахождении Нагорное 1, расчистки 1, 9, 10 (бассейн Дуная) (рис. 1, 1) и Роксоланы (бассейн Днестра) (рис. 1, 11). Эти фауны отличаются от ногайских фаун прежде всего по появлению в филогенетической линии Prolagurus — Lagurus более прогрессивного вида пеструшек — Prolagurus pannonicus (Михайлеску, Маркова, 1992). Фауны этого эволюционного уровня широко известны на Русской равнине и обнаружены также в бассейне Нижнего Приднепровья в местонахождениях Ушкалка (рис. 1, 16) и Западные Каиры (рис. 1, 15) (Маркова, 1982), в бассейне Дона в местонахождении Коротояк (острогожская свита) (Агаджанян, 2009, Казанцева, 1990). Эти фауны отвечают палеомагнитному эпизоду Харамилло, датируются интервалом 0.89—0.95 Ма (МИС 26—30) (Semenov, 1994) и коррелируются с фаунами таманского комплекса крупных млекопитающих. В фаунах этого типа еще не отмечены остатки Lasiopodomys (Stenocranius) hintoni и Microtus (Terricola). Эти фауны по своей экологической приуроченности позволяют реконструировать открытые ландшафты на юге Восточной Европы в период палеомагнитного эпизода Харамилло. Эти фауны были выделены в каирский комплекс мелких млекопитающих (Markova, 1998, 2007).
Более поздние фауны, были описаны Л. П. Александровой как морозовские (1976), по материалам местонахождения Морозовка, расположенного на левом берегу Хаджибейского лимана, в который впадает р. Малый Куяльник (с. Черевичное, недалеко от Одессы). Фауна из этого местонахождения была вторично отобрана Л. И. Рековцем, а местонахождение переименовано им и получило название — Черевичное 1 (рис. 1, 12) (Рековец, 1994) (табл. 2).
Богатая фауна Черевичного 1 включает значительное число степных видов: сусликов, слепышей, степных пеструшек двух древних родов Prolagurus и Lagurodon, архаичных желтых пеструшек Eolagurus argyropuloi, древних узкочерепных полевок Lasiopodomys (Stenocranius) hintoni. В фауне присутствуют также субаквальный вид: выхухоль Desmana, что говорит о близости водоема (табл. 2). В целом, как и все вышеупомянутые фауны региона, фауна Черевичного 1 (Морозовки) позволяет говорить о существовании степных ландшафтов во время образования местонахождения.
К сожалению, мы не располагаем фаунами подобного уровня в бассейнах Дуная, Днестра и Прута, поэтому остановимся на составе фауны Черевичного 1 (Морозовки) и близких ей фаун юга Русской равнины, в частности, местонахождения Порт-Катон (Ростовская область) (рис. 1, 17) (Markova, 1990a, 1990b; Tesakov et al., 2007). В последнем местонахождении отмечены остатки не только корнезубых полевок Mimomys savini, а также немногочисленных Allophaiomys pliocaenicus, но и более эволюционно продвинутых Microtus (Terricola) sp. (табл. 2). Этот факт позволяет сопоставлять фауну Порт-Катона с фауной Черевичного 1 (Морозовки) и отнести их к морозовским фаунам мелких млекопитающих (Markova, 1990a, 1990b, 2007).
Рис. 2. Строение разреза Хаджимус (IX терраса Днестра) (по др. А. И. Цацкину, личное сообщение). BR — брянская ископаемая почва (МИС 3), MEZ — мезинский почвенный комплекс (МИС 5е), RM — роменская ископаемая почва (МИС 7), KM — каменская ископаемая почва (МИС 9), INZH — инжавинская ископаемая почва (МИС 11), VOR — воронская ископаемая почва (МИС 15), KOL — колкотовская ископаемая почва (МИС 17), Embr. soil -эмбриональная почва, MIKH (II phase) — михайловская почва (вторая фаза) (МИС 19), MIKH (I phase) — михайловская почва (I фаза) (МИС 21), KITSK — кицканская почва (МИС?), SM LOC (up. layer) — местонахождение мелких млекопитающих (верх. сл.), ALL of IX Dniester terrace — аллювий IX террасы Днестра, SM LOC (low. layer) — местонахождение мелких млекопитающих (нижний слой), JR — палеомагнитный эпизод Харамилло. 1 — почва; 2 — лёсс; 3 — кости мелких млекопитающих; 4 — кротовина.
Fig. 2. The structure of Khadzhimus section (IX Dniester terrace) (after Dr. A. I. Tsatskin, per. comm.). BR — Briansk paleosol (MIS3), MEZ — Mezin soil complex (MIS5e), RM — Romny paleosol (MIS7), KM — Kamenka paleosol (MIS9), INZH — Inzhava paleosol (MIS11), VOR — Vorona paleosol (MIS15), KOL — Kolkotova paleosol (MIS17), Embr. soil — embryonic soil, MIKH (II phase) — Mikhailovka paleosol (II phase) (MIS19), MIKH (I phase) — Mikhailovka paleosol (MIS21), KITSK — Kitskansk paleosol (MIS?), SM LOC (up. layer) — small mammal locality (upper layer), ALL of IX Dniester terrace — alluvium of IX Dniester terrace, SM LOC (low. layer) — small mammal locality (lower layer), JR — Jaramillo palaeomagnetic episode. 1 — soil; 2 — loess; 3 — bones of small mammals; 4 — molehill.
Таблица 2. Видовой состав мелких млекопитающих конца раннего плейстоцена
Table 2. Small mammal’s species composition of the end of the Early Pleistocene
Вид | Местонахождение | |||
Морозовка* | Морозовка (Черевичное 1)** | ПортКатон*** | КарайДубина**** | |
Eulipotyphla: | ||||
Erinaceus sp. | 14 | |||
Talpa cf. praeglacialis Kormos | 4 | |||
Desmana nogaica Topachevsky et Puschkov | 33 | |||
Desmana sp. | 6 | 20 | ||
Sorex aff. runtonensis Hinton | 5 | 3 | ||
Lagomorpha: | ||||
Ochotona sp. | 8 | |||
Lepus sp. | 22 | 1 | ||
Rodentia: | ||||
Spermophilus nogaici Topachevsky | 1366 | 60 | ||
Monospalax cf. savini Lytschov | 1 | |||
Sicista vinogradovi Topachevsky | 2 | |||
Allactaga ex gr. major Pallas | 8 | |||
Spalax minor Topachevsky | 14 | 6 | ||
Apodemus sp. | 2 | |||
Cricetus sp. | 38 | |||
Ellobius sp. | 1 | |||
Pliomys episcopalis Mehely | + | |||
Clethionomys glareolus Schreber | 36 | |||
Clethrionomys sp. | 1 | 5 | ||
Villanyia sp. | + | |||
Lagurodon arankae Kretzoi | + | 96 | ||
Prolagurus pannonicus Kormos | + | 32 | 1 | 96 |
Prolagurus posterius Zazhigin | 18 | |||
Eolagurus argyropuloi Gromov et Parfenova | 2 | 84 | ||
Dolomys kretzoi Kowalski | + | |||
Mimomys reidi Hinton | 3 | |||
Mimomys pusillus Mehely | 63 | 10 | ||
Mimomys savini Hinton | + | 72 | 144 | |
Mimomys sp. | 380 | |||
Allophaiomys pliocaenicus Kormos | 29 | 7 | 6 | |
Lasiopodomys (Stenocranius) hintoni Kretzoi | + | 74 | 110 | |
Microtus (Alexandromys) ex gr. oeconomus Pallas | 14 | |||
Microtus (Terricola) sp. | 1 | |||
Microtinae gen. et sp. indet | 300 | |||
Примечание. * — по (Александрова, 1976); ** — по (Рековец, 1994); *** — по (Markova, 1990a); **** — по (Маркова, 1982).
Завершают последовательность раннеплейстоценовых фаун — петропавловские (карай-дубинские) фауны, характеризующиеся появлением полевок подрода Alexandromys — Microtus (Alexandromys) ex gr. oeconomus (табл. 2). Впервые фауны такого эволюционного уровня были описаны Л. П. Александровой по материалам местонахождения Петропавловка на Дону (Александрова, 1976). Позднее, богатое местонахождение с близкой по составу фауной было обнаружено в бассейне Нижнего Днепра у с. Карай-Дубина (Бережанка) (рис. 1, 14) (Маркова, 1982). Данные фауны были выделены в петропавловский комплекс мелких млекопитающих (Маркова, 1998).
Ядро этих фаун составляют архаичные узкочерепные полевки Lasiopodomys (Stenocranius) hintoni, степные пеструшки древнего вида Prolagurus pannonicus, архаичные желтые пеструшки Eolagurus argyropuloi, также присутствуют в небольшом количестве остатки корнезубых полевок Mimomys savini и M. pusillus и древних некорнезубых полевок Allophaiomys, представленные наиболее продвинутыми формами. Местонахождения мелких млекопитающих Карай-Дубины и Петропавловки залегают в аллювиальных отложениях, в верхней части которых зафиксирована граница палеомагнитных эпох Матуяма‒Брюнес, которая приходится на вторую половину МИС 19, на 772/9 тыс. л. н. (Величко и др., 1983). В бассейнах рек ЮЗ Русской равнины этим фаунам предположительно должны отвечать находки в низах аллювиальных отложений “михайловской” террасы Днестра, в которых проходит граница палеомагнитных эпох Матуяма‒Брюнес. Находки в фауне местонахождения Карай-Дубина таких степных млекопитающих как пищухи, суслики, слепыши, степные и желтые пеструшки, узкочерепные полевки позволяет реконструировать степные ландшафты в нижнем течении Днепра. В Западной Европе петропавловским фаунам близка фауна местонахождения Хольштейн в Чехии (Fejfar, Horacek, 1983), фауны Шютто 21 и Виллани 8 в Венгрии (Pazonyi et al., 2023).
ПЕРВАЯ ПОЛОВИНА СРЕДНЕГО ПЛЕЙСТОЦЕНА
Наиболее ранние среднеплейстоценовые фауны характеризуются появлением полевок Microtus arvalinus (= nivaloides), доминированием более эволюционно продвинутых степных пеструшек вида Prolagurus posterius. Впервые такие фауны были обнаружены в бассейне нижнего течения Дона в местонахождении Шамин (табл. 3) (Markova, 1990b, 2007). Захоронение этой фауны находится в зоне обратной намагниченности, непосредственно под границей Матуяма—Брюнес и датируются первой половиной МИС 19. Видовой состав мелких млекопитающих местонахождения Шамин позволяет относить это местонахождение к несколько более позднему времени, чем местонахождения Карай-Дубина и Петропавловка, также залегающими под границей Матуяма—Брюнес, которые видимо относятся к самому началу МИС 19. В бассейне Дуная фаунам такого типа отвечает фауна из местонахождения Нагорное 1 (расчистка 7) (Михайлеску, Маркова, 1992; Krokhmal, 2021). Эта фауна получена из толщи лиманно-аллювиальных отложений VII террасы Дуная. В этой фауне еще отмечены немногочисленные остатки Allophaiomys pliocaenicus, Mimomys savini и M. pusillus. Присутствуют, как и в петропавловских фаунах, остатки Microtus ex gr. oeconomus (табл. 3).
Таблица 3. Видовой состав мелких млекопитающих начала среднего плейстоцена
Table 3. Species composition of small mammals of the beginning of the Middle Pleistocene
Вид | Местонахождение | ||||||||||
Нагорное 1* | Шамин** | Литвин*** | Колкотова Балка (аллювий)**** | Нагорное II* | Суворово* | Колкотова Балка (Ворон. почва) | |||||
Нижний слой | Средний слой | Верхний слой | Нижний слой | Средний слой | Верхний слой | ||||||
Lagomorpha: | |||||||||||
Ochotona sp. | + | 1 | 9 | ||||||||
Rodentia: | |||||||||||
Spermophilus sp. | 14 | 430 | |||||||||
Castoridae gen. et sp. Indet. | 1 | ||||||||||
Allactaga ex gr. major Kerr | + | 2 | 1 | 2 | |||||||
Pygerethmys (Alactagulus) ex gr. acontion Pallas | 2 | ||||||||||
Pliopygerethmys sp. | 1 | ||||||||||
Spalax microphtalmus Guld | 4 | 2 | |||||||||
Cricetus cricetus L. | 11 | 1 | 6 | ||||||||
Allocricetus ehiki Shaub | 7 | ||||||||||
Ellobius ex gr. tancrei Blasius | 2 | ||||||||||
Ellobius sp. | 1 | ||||||||||
Mimomys savini Hinton | 11 | 12 | + | 1 | 4 | 1 | 53 | 3 | 6 | 10 | |
Mimomys pusillus Mehely | 5 | 2 | 2 | ||||||||
Pliomys episcopalis Mehely | 2 | ||||||||||
Prolagurus ternopolitanus Topachevsky | 3 | 2 | 3 | ||||||||
Prolagurus pannonicus Kormos | + | 11 | |||||||||
Prolagurus posterius Zazhigin | 3 | 9 | 1 | 3 | 4 | 25 | |||||
Lagurus transiens Janossy | 3 | 3 | 5 | 38 | 28 | 55 | |||||
Borsodia fejervaryi Kormos | + | 4 | 3 | 1 | |||||||
Eolagurus argyropuloi Gromov et Parfenova | 8 | ||||||||||
Eolagurus simplicidens Gromov i Topachevsky | + | ||||||||||
Eolagurus luteus volgensis Alexandrova | 11 | 3 | 8 | ||||||||
Allophaiomys pliocaenicus Kormos | 1 | 2 | + | 1 | 2 | ||||||
Lasiopodomys (Stenocranius) gregaloides Hinton | 3 | 2 | |||||||||
M. (S.) gregalis Pallas | 2 | 11 | 7 | ||||||||
Microtus (Terricola) arvalidens Kretzoi | 14 | 4 | 14 | 9 | 1 | 5 | 4 | ||||
M. (Microtus) arvalinus (= M. nivaloides) Hinton | 2 | + | 2 | 10 | 7 | 12 | 12 | ||||
M. (Alexandromys) ex gr. oeconomus Pallas | 2 | + | 3 | 1 | 2 | 2 | 10 | ||||
Microtinae gen. | 6 | 5 | 21 | 67 | 101 | ||||||
Примечание. * — по (Михайлеску, Маркова, 1992); ** — по (Markova, 1990а); *** — по (Markova, 1990b); **** — по (Alexandrova, 1976).
Близкая по видовому составу фауна обнаружена в местонахождении на мысе Литвин (п-ов Чауда) (рис. 1, 18). Эта фауна по эволюционному уровню была сопоставлена с раннетираспольскими (Markova, 2007) (табл. 3). Захоронение мелких млекопитающих в местонахождении Литвин связано с морскими отложениями чаудинской трансгрессии, которая произошла в эпоху Брюнес (Dodonov et al., 2006). Таким образом, захоронение фауны мелких млекопитающих в разрезе Литвин находится в зоне прямой полярности Брюнес и сопоставляется с МИС 18. В бассейне Дона сходные фауны обнаружены в разрезах Ильинка, Веретье, Урыв III (Agadjanian, Glushankova, 2017). В Западной Европе близкие фауны описаны из местонахождений Вилланий 6 (Kretzoi, 1956), Бетфия 7 (Terzea, 1995), Странска Скала (Fejfar, 1972).
Рис. 3. Местонахождение Левада (VI терраса Днестра). Н — голоценовая почва; R? — роменская ископаемая почва (?); К — каменская ископаемая почва; In — инжавинская ископаемая почва; V — воронская ископаемая почва. 1 — почва; 2 — лёсс; 3 — суглинок; 4 — супесь; 5 — пески косослоистые; 6 — пески; 7 — гравелит; 8 — кротовина; 9 — кости мелких млекопитающих; 10 — раковины моллюсков.
Fig. 3. Levada section (VI Dniester R. terrace). H — Holocene soil; R? — Romny paleosol (?); K — Kamenka paleosol; In — Inzhava paleosol; V — Vorona paleosol. 1 — soil; 2 — loess; 3 — loam; 4 — sandy loam; 5 — obliquely layered sands; 6 — sands; 7 — gravelite; 8 — molehill; 9 — bones of small mammals; 10 — mollusk shells.
Местонахождения с более поздними тираспольскими фаунами мелких млекопитающих обнаружены в разных регионах Русской равнины. Прежде всего, они описаны из аллювиальных отложений VI террасы Днестра в стратотипе тираспольского фаунистического комплекса крупных млекопитающих в разрезе Колкотова Балка, бассейн Днестра (рис. 1, 8) (Александрова, 1976; Markova, Puzachenko, 2018). Также они известны из двух местонахождений, приуроченных к аллювиально-лиманным отложениям VI террасы Дуная: местонахождения Суворово (нижний и средний слои) (рис. 1, 2) и Нагорное II (табл. 3, рис. 1, 1) (Михайлеску, Маркова, 1992; Маркова, 2016).
Сходная фауна была недавно обнаружена в аллювиальных отложениях VI террасы Днестра у с. Левада (рис. 1, 9; рис. 3). В разрезе сверху вниз представлен полный лёссово-почвенный комплекс с серией ископаемых почв: роменской (?), каменской, инжавинской и воронской. Этот комплекс перекрывает толщу флювиальных отложений VI террасы Днестра. В толще аллювиальных песков с прослоями гравелитов обнаружены остатки мелких млекопитающих (рис. 3). Подробное послойное описание этого разреза дано в работе Марковой и др. (Markova et al., 2021).
Близкая по составу фауна обнаружена на Таманском п-ове в разрезе Пекла в отложениях чаудинской трансгрессии (рис. 1, 20) (Markova et al., 2023). Для этих фаун среди степных пеструшек характерно доминирование вида Lagurus transiens, хотя отмечаются и остатки более древнего рода пеструшек Prolagurus. Желтые пеструшки относятся к виду Eolagurus simplicidens gromovi. Род Microtus представлен Microtus (Terricola) arvalidens, M. (Alexandromys) oeconomus, реже M. (Microtus) arvalinus (= nivaloides). Все местонахождения микротериофауны этого эволюционного уровня находятся в зоне прямой намагниченности Брюнес. Они коррелируются со временем формирования ржаксинской ископаемой почвы Русской равнины и с МИС 17 (Величко et al., 1992). Эти фауны по малакологическим данным сопоставимы со временем отложения чаудинских осадков Черного моря (Markova et al., 2021).
Указанные фауны мелких млекопитающих также содержат виды открытых пространств и позволяют реконструировать степные и лесостепные ландшафты на юге Восточной Европы. Эволюционно близки к этим фаунам находки в местонахождениях Новохоперск I и II, Урыв IV, Коростылево I в бассейне Дона (Агаджанян, 2009). В Западной Европе им отвечают фауны Вест Рантона и Сагуорфа в Англии (Maul, Parfitt, 2010; Stuart, 1982).
На юго-западе Русской равнины пока не известны тираспольские фауны, содержащие субарктические виды. Подобные фауны были описаны из бассейна Дона (Агаджанян, 1992, 2009). Они были сопоставлены с эпохой донского оледенения (МИС 16).
В Северном Причерноморье были открыты местонахождения мелких млекопитающих с более поздними тираспольскими фаунами, отвечающими мучкапскому межледниковью, последовавшему за эпохой донского оледенения. Наиболее характерным элементом этих фаун является появление более эволюционно продвинутой узкочерепной полевки Lasiopodomys (Stenocranius) gregalis. Эта полевка является потомком L. (S.) gregaloides. В бассейнах Дуная и Днестра фауны подобного эволюционного уровня обнаружены в “кротовинах” воронской ископаемой почвы в разрезе Колкотова Балка, в верхнем слое местонахождения Суворово (Маркова, 2017) (табл. 3). В этих фаунах по-прежнему в небольших количествах присутствуют остатки Mimomys и Prolagurus, однако среди пеструшек доминируют Lagurus transiens, в большом количестве присутствуют L. (S.) gregalis (Markova, Mikhailesku, 1994).
Эти фауны сопоставимы с фаунами, описанными из разрезов бассейнов Дона и Северского Донца, где захоронения приурочены к “кротовинам” воронской ископаемой почвы: Посевкино и Перевоз (Маркова, 1982; Markova, 2007), а также с местонахождениями, обнаруженными в аллювиальных отложениях Дона: Вольная Вершина, Коротояк IV, Жердевка и др. (Агаджанян, 1992, 2009). Эти фауны и вмещающие их отложения коррелируются с мучкапским межледниковьем (МИС 15).
Этап недавно выделенного, икорецкого, межледниковья (Иосифова и др., 2009; Shik, 2014) на ЮЗ Русской равнины пока не отражен. Это межледниковье предшествует окскому оледенению и сопоставляется с МИС 13. В центре Русской равнины ему отвечают фауны с первыми архаичными водяными полевками — Arvicola cantianus.
Также на юге Русской равнины не обнаружены фауны, относящиеся к последующему — окскому оледенению (МИС 12). В центре Русской равнины это оледенение охарактеризовано фаунами из местонахождений Михайловка II (близ Курска) (Агаджанян, 2009) и из нижнего слоя лихвинского (чекалинского) разреза, бассейн Оки (Александрова, 1982).
ВТОРАЯ ПОЛОВИНА СРЕДНЕГО ПЛЕЙСТОЦЕНА
В местонахождениях, относящихся к началу второй половины среднего плейстоцена, к лихвинскому межледниковью, ядро фаун составляют водяные полевки Arvicola cantianus, также в них присутствуют остатки нескольких видов рода Microtus: M. arvalis, M. (A.) oeconomus и L. (S.). gregalis. Пеструшки представлены эволюционно продвинутой формой Lagurus transiens. Корнезубые полевки рода Mimomys отсутствуют. Также отсутствуют “питимисные” формы полевок L. (S.) gregaloides и M. (Terricola) arvalidens. По материалам, полученным из кротовин инжавинской почвы в разрезе Колкотова Балка, отмечено появление темной полевки Microtus (Agricola) agrestis (Михайлеску, Маркова, 1992). Этот вид фиксируется и в ряде других местонахождений Украины и предполагается происхождение его от M. nivaloides (= M. arvalinus) (Popova et al., 2021). Также этот вид определен из лихвинской фауны Рыбная Слобода (бассейн Волги) (Глушанкова, Маркова, 2021). Фауны этого эволюционного уровня было предложено выделить в гуньковский фаунистический комплекс мелких млекопитающих по материалам богатого местонахождения Гуньки (Среднее Приднепровье) (Маркова, 1982; Markova, 1990 a, 2006). В комплексно изученном разрезе Гуньки фауна обнаружена в пойменных отложениях “моренной” IV террасы Днепра. Из этих отложений определена древнеэвксинская фауна моллюсков (Чепалыга, 1980). По спорово-пыльцевым данным эти слои были отнесены к лихвинскому межледниковью (Губонина, 1975). Сходные фауны были описаны из почти 10 других лихвинских местонахождений Русской равнины (Markova, 2006).
Таблица 4. Видовой состав мелких млекопитающих второй половины среднего плейстоцена и позднего плейстоцена.
Table 4. Species composition of the small mammals of the second part of the Middle Pleistocene and of the Late Pleistocene.
Вид | Местонахождение | ||||||||
Гуньки 2* | Озерное*** | Узмари** | Колкотова Балка (инжав. почва)** | Плавни, слой 12** | Новонекрасовка** | ||||
Нижний лиманный слой | Средний лиманный слой | Верхний лиманный слой | Нижний слой | Верхний слой | |||||
Eulipotyphla: | |||||||||
Sorex sp. | 3 | ||||||||
Lagomorpha: | |||||||||
Ochotona sp. | 1 | ||||||||
Rodentia: | |||||||||
Spermophilus sp. | 50 | 6 | 2 | 115 | |||||
Allactaga ex gr. major Kerr | 50 | 1 | |||||||
Pygerethmus (Alactagulus) acontion Pallas | 2 | ||||||||
Spalax microphtalmus Guld | 6 | 2 | 1 | 32 | |||||
Cricetus cricetus Linnaeus | 11 | 1 | 1 | ||||||
Allocricetus ehiki Shaub | 4 | ||||||||
Ellobius talpinus Pallas | 2 | ||||||||
Arvicola cantianus Hinton | 43 | 26 | 6 | 12 | 52 | ||||
Arvicola chosaricus Alexandrova | 13 | ||||||||
Arvicola ex gr. terrestris Linnaeus | 75 | 91 | |||||||
Clethrionomys glareolus Schreber | 2 | 2 | 3 | ||||||
Eolagurus luteus volgensis Alexandrova | 45 | 25 | 6 | 4 | 18 | ||||
Prolagurus posterius Zazhigin | 4 | ||||||||
Lagurus transiens Janossy | 31 | 31 | 8 | ||||||
Lagurus ex gr. transiens Janossy — L. lagurus Pallas | 23 | 8 | 58 | ||||||
Lagurus cf. lagurus Pallas | 4 | ||||||||
Laguridae gen. | 130 | 48 | 20 | 38 | |||||
Lasiopodomys (Stenocranius) gregalis Pallas | 73 | 8 | 2 | 1 | |||||
Microtus (Microtus) arvalis Pallas | 8 | 11 | 11 | 6 | 4 | 6 | 3 | ||
Microtus (Alexandromus) oeconomus Pallas | 63 | 5 | |||||||
Microtus (Agricola) agrestis Linnaeus | 3 | 5 | 2 | 2 | |||||
Microtus (Terricola) arvalidens Kretzoi | 1 | ||||||||
Microtinae gen. | 21 | 8 | |||||||
Примечание. * — по (Маркова, 1882); ** — по (Михайлеску, Маркова, 1992); *** — по (Михайлеску и др., 1991).
На юго-западе Русской равнины фауны подобного эволюционного уровня были обнаружены в двух флювиальных местонахождениях: Озерное (Бабель) (восточный берег оз. Ялпуг, бассейн Дуная) (рис. 1, 3) и Узмари (бассейн Прута) (рис. 1, 4), а также в “кротовинах” инжавинской почвы в разрезе Колкотова Балка (бассейн Днестра), которая сформировалась в лихвинское межледниковье (Михайлеску, Маркова, 1992) (табл. 4). Все эти фауны датируются лихвинским межледниковьем (МИС 11). Видовой состав этих фаун позволяет говорить о распространении на юге Восточной Европы и в это межледниковье открытых степных и лесостепных ландшафтов.
Непосредственное нахождение остатков мелких млекопитающих в “кротовинах” инжавинской ископаемой почвы Русской равнины, а также в лихвинских гиттиях (в стратотипе лихвинского межледниковья у г. Чекалин) позволяет коррелировать эти фауны с лихвинским (гольштейнским) межледниковьем, с МИС 11 (Маркова, 2017; Agadjanian, Glushankova, 2017). Таким образом, лихвинское межледниковье достаточно полно охарактеризовано фаунами мелких млекопитающих Восточной Европы, в том числе, обнаруженных на ЮЗ Русской равнины. Отличительными чертами этих фаун является присутствие в их составе Arvicola cantianus, Lagurus transiens, Microtus arvalis, M. agrestis, L. (S.) gregalis и M. oeconomus. Остатки Mimomys, Prolagurus, L. (Stenocranius) gregaloides, M. arvalinus (= M. nivaloides) в этих фаунах не обнаружены, а находки Microtus (Terricola) arvalidens крайне редки. По микротериологическим материалам были реконструированы ландшафты Русской равнины в лихвинское межледниковье и выделены с севера на юг лесная, лесостепная и степная зоны. Юг Восточной Европы в лихвинское межледниковье занимала степная зона (Markova, 2006).
Гуньковские фауны обоснованно коррелируются с древнеэвксинской трансгрессией Черного моря по совместным находкам остатков мелких млекопитающих и древнеэвксинских солоноватоводных моллюсков (Markova, Mikhailesku, 1994). В Западной Европе им отвечают местонахождения Нииде, Кёрлих Н, Петерсбух, Бильцинглебен (Koenigswald, Tobien, 1990; Kolfschoten, 1990; Markova, Puzachenko, 2017).
Новый этап развития фаун второй половины среднего плейстоцена фиксируется по материалам местонахождения Плавни, приуроченного к лиманным отложениям III террасы Дуная к северу от с. Плавни (западный берег оз. Ялпуг) (рис. 1, 6). Фауна Плавней содержит остатки водяных полевок, которые были определены как Arvicola chosaricus, характерных для второй половины конца среднего плейстоцена — начала позднего плейстоцена (Михайлеску, Маркова, 1992). Степные пеструшки представлены более продвинутой формой, близкой к современному виду Lagurus lagurus, в отличие от L. transiens, характерной для лихвинского межледниковья (табл. 4). Отмечены находки M. arvalis и L. (S.). gregalis. Фауна Плавней сопоставима с фауной, полученной из морских отложений узунларской трансгрессии Черного моря в разрезе Узунлар (Чепалыга и др., 1986). В Плавнях, в лиманных отложениях, содержащих остатки мелких млекопитающих и солоноватоводных моллюсков, А. Л. Чепалыгой и К. Д. Михайлеску определена узунларская фауна солоноватоводных моллюсков. Эти данные позволяют сопоставить время формирования местонахождения Плавни с узунларской трансгрессией Черного моря (МИС 7).
В Западной Европе этому этапу развития фаун мелких млекопитающих отвечают фауны Ариенсдорфа I, Вагенингена_Фр. К. I и II, Маастрихт-Бельведера 2.2., 3А_3,4 (Kolfschoten, 1990, 1991; Markova, 1996).
Экология видов мелких млекопитающих, обнаруженных в местонахождении Плавни, позволяет реконструировать распространение открытых ландшафтов в конце среднего плейстоцена в бассейне Дуная.
ПОЗДНИЙ ПЛЕЙСТОЦЕН
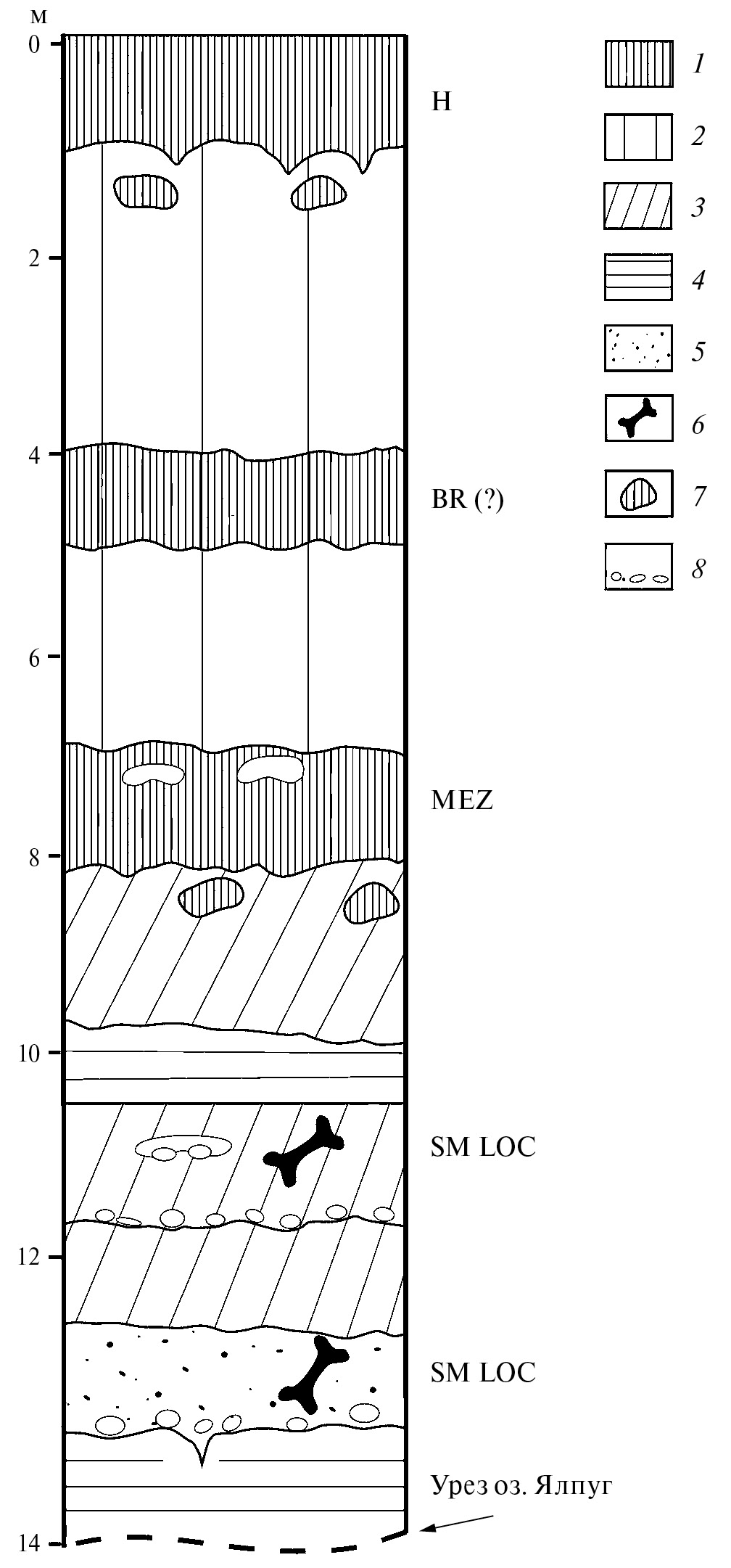
К началу позднего плейстоцена была отнесена фауна из двух близко расположенных горизонтов лиманных отложений II террасы Дуная в разрезе Новонекрасовка (восточный берег оз. Ялпуг) (рис. 1, 7). Местонахождения фауны мелких млекопитающих залегают непосредственно под горизонтом мезинской ископаемой почвы (рис. 4).
Рис. 4. Разрез Новонекрасовка (II терраса Дуная). BR (?) — брянская ископаемая почва(?), MEZ — мезинская ископаемая почва, SM LOC — местонахождение мелких млекопитающих в карангатских лиманных отложениях Черного моря (МИС 5е). 1 — почва; 2 — лёсс; 3 — суглинок; 4 — глина; 5 — песок; 6 — кости мелких млекопитающих; 7 — кротовина; 8 — гравелит.
Fig. 4. Novonekrasovka section (II Danube R. terrace). BR(?) — Briansk paleosol (?), MEZ — Mezin paleosol; SM LOC — small mammal’ localities in the Karangatian liman deposits of the Black Sea (MIS5e). 1 — soil; 2 — loess; 3 — loam; 4 — clay; 5 — sand; 6 — bones of small mammals; 7 — molehill; 8 — gravelite.
Таблица 5. Видовой состав ископаемых грызунов из местонахождения Новонекрасовка
Table 5. Species composition of rodents from the Novonekrasovka locality
Виды | Лиманная толща | |
нижняя | верхняя | |
Arvicola ex gr. terrestris Linnaeus | 24 | 91 |
Microtus arvalis Pall. | 6 | 3 |
Microtus sp. | 8 | ‒ |
Фауна бедна по видовому составу, что связано с тафономией местонахождения — захоронения в лиманных отложениях (Михайлеску, Маркова, 1992) (табл. 5). Для этой фауны главным датирующим элементом являются остатки водяных полевок Arvicola ex gr. terrestris.
Водяные полевки этого эволюционного уровня ранее были обнаружены в нескольких микулинских местонахождениях Русской равнины: Чернянка, Гадяч, Шкурлат, Малютино, Михайловка 5 и др. (Агаджанян, 2009; Agadjanian, Glushankova, 2017; Markova, 2000). Они продолжают существовать и поныне, несколько изменившись по морфологии. Исходя из особенностей строения зубной системы водяных полевок находки в Новонекрасовке (оба слоя), а также залеганием этих местонахождений непосредственно под горизонтом мезинского почвенного комплекса, их можно отнести к микулинскому межледниковью (МИС 5е). Находки в лиманных отложениях этого разреза карангатских солоноватоводных моллюсков подтверждают это заключение (Михайлеску, Маркова, 1992; Markova, Mikhailesku, 1994). Результаты датирования OSL методом карангатских отложений в разрезе Тузла (западный берег Таманского п-ова) укладываются в диапазон 99.5—121 тыс. л. н., и таким образом относятся к МИС 5е (Курбанов и др., 2020).
ЗАКЛЮЧЕНИЕ
Исходя из проведенного анализа плейстоценовых микротериологических материалов юго-запада Русской равнины разного возраста можно сделать несколько выводов:
- По материалам местонахождений мелких млекопитающих этого региона удается проследить основные эволюционные этапы становления фаун мелких млекопитающих на протяжении второй половины нижнего плейстоцена, среднего и верхнего плейстоцена (на протяжении ~1 400 000 л.).
- Микротериологические материалы, особенно остатки Arvicolinae, интенсивно изменявшиеся на протяжении плейстоцена, позволяют продатировать отложения различных генетических типов региона: аллювиальные, лиманные, морские, горизонты ископаемых почв. Особенно показательны изменения в филогенетической линии степных пеструшек Prolagurus-Lagurus, в которой прослеживается последовательная смена Prolagurus ternopolitanus (вторая половина раннего плейстоцена); P. pannonicus (конец раннего плейстоцена — начало среднего плейстоцена), P. posterius (первая половина среднего плейстоцена), Lagurus transiens (начало второй половины среднего плейстоцена, лихвинское межледниковье), L. lagurus (каменское межледниковье — настоящее время).
- В линии узкочерепных полевок Lasiopodomys (Stenocranius) также прослеживаются очень показательные изменения: для второй половины раннего плейстоцена характерны L. (S.) hintoni, в начале среднего плейстоцена были распространены L. (S.) gregaloides, в мучкапское межледниковье (МИС 15) отмечается первое появление L. (S.) gregalis, которые с небольшими морфологическими изменениями существуют и в настоящее время. Важное стратиграфическое значение имеют данные о времени трансформации корнезубой полевки Mimomys savini в архаичную водяную полевку Arvicola cantianus, которое по материалам Восточной Европы произошло в икорецкое межледниковье (МИС 13). Современную морфологию водяные полевки приобрели в микулинское межледниковье (МИС 5е).
- Особенности экологии обнаруженных ископаемых мелких млекопитающих дают возможность реконструировать основные характеристики окружающей среды в разные интервалы плейстоцена. Экология мелких млекопитающих из практически всех плейстоценовых местонахождений юго-запада Восточной Европы позволяет фиксировать распространение открытых степных и лесостепных ландшафтов, что объясняется географическим положением всех исследованных местонахождений.
- Совместное залегание остатков мелких млекопитающих и солоноватоводных моллюсков в лиманных местонахождениях Дуная, Прута и Северного Причерноморья являются основанием для проведения прямой корреляции основных событий в плейстоцене на юго-западе Восточной Европы и в бассейне Черного моря. Так, фауны мелких млекопитающих, относящиеся к тираспольскому фаунистическому комплексу, коррелируются со сложной чаудинской трансгрессией; фауны гуньковского фаунистического комплекса мелких млекопитающих коррелируются с древнеэвксинской трансгрессией (МИС 11); более прогрессивные фауны последнего потепления среднего плейстоцена (МИС 7) существовали во время узунларской трансгрессии; фауны мелких млекопитающих начала позднего плейстоцена коррелируются с карангатской трансгрессией Черного моря (МИС 5е).
- Полученные результаты, основанные на комплексном анализе ископаемых мелких млекопитающих, а также малакологических, палинологических и геологических данных, являются базой для проведения дальних корреляций, в том числе с фаунами (и вмещающими их отложениями) Западной Европы.
БЛАГОДАРНОСТИ
Данная статья поддержана научной программой Института географии “Биотические, географо-гидробиологические и ландшафтные оценки окружающей среды для создания основ рационального природопользования” FMWS-2024-0007 (10210210517034658-8 (АААА-А19-119021990093-8). Автор благодарен д-ру А. Ю. Пузаченко за составление карты плейстоценовых местонахождений мелких млекопитающих ЮЗ Восточной Европы, д-ру А. И. Цацкину (Институт археологии, Университет Хайфы, Израиль) за предоставление не опубликованных ранее материалов по структуре отложений разреза Хаджимус и рецензентам статьи за их конструктивные советы.
ACKNOWLEDGMENTS
This paper supported by scientific program of the Institute of Geography RAS “Biotical, geographical-hydrobiological and landscape evaluation of environments to create the foundations of rational nature management” FMWS-2024-0007 (10210210517034658-8 (АААА-А19-119021990093-8. I grateful to Dr. A. Yu. Puzachenko for creation of the mammal localities map, to Dr. A. I. Tsatskin (Zinman Institute of Archaeology, University of Haifa, Israil) for the permission to present his unpublished data on the Khadzhimus section structure and to the reviewers of the paper for their constructive advices.
About the authors
A. K. Markova
Institute of Geography RAS
Author for correspondence.
Email: amarkova@list.ru
Russian Federation, Moscow
References
- Agadjanian A.K (1992). The stages of development of the Pleistocene small mammals of central regions of the Russian Plain. In: Stratigrafia i paleogeografia chetvertichnogo perioda Vostochnoi Evropy. Moscow: Nauka (Publ.). P. 37—49. (in Russ.).
- Agadjanian A. K. (2009). Melkie mlekopitaushchie pliotsen-pleistotsena Russkoi ravniny (Pliocene-Pleistocene small mammals of the Russian Plain). Trudy Paleontologicheskogo Instituta. Iss. 289. Мoscow: Nauka (Publ). 676 p. (in Russ.).
- Agadjanian A. K., Glushankova N. I. (2017). Quaternary stratigraphy and developmental history of the Central Russian Periglacial–Loessal Province. Stratigraphy and Geological Correlation. V. 25. Iss. 4. P. 445—462.https: doi.org//10.1134/S0869593817040025
- Agusti J. (1991). The Allophaiomys complex in Southern Europe. Geobios. V. 25. Iss. 1. P. 133—144.https: doi.org//10.1016/S0016-6995(09)90043-2
- Alexandrova L. P. (1976). Anthropogene rodents of European part of USSR. Tr. Geol. Inst. Akad. Nauk SSSR. V. 291. 98 p. (in Russ.).
- Alexandrova L. P. (1982). New species of the collar lemming Dicrostonyx okaensis and its significance to the age determination of the deposits of the Oka glaciation in the Likhvin stratotype section. In: Stratigrafiya i paleogeografiya Antropogena. Moscow: Nauka (Publ.). P. 17—21. (in. Russ.).
- Chepalyga A. L. (1980). Early Pleistocene mollusks of periglacial zone from Don R. and Dnieper R. basins. In: Vozrast i rasprostranenie maksimalnogo oledenenia Vostochnoi Evropy. Moscow: Nauka (Publ.). P. 140—152. (in Russ.).
- Chepalyga A. L., Markova A. K., Mikhailesku C. D. (1986). Stratigraphy and fauna from the stratotype of the Uzunlar horizon of the Black Sea Pleistocene. Dokl. Akad. nauk SSSR. Iss. 290. № 2. P. 433—437. (in Russ).
- Dodonov A. E., Zhou L. P., Markova A. K. et al. (2006). Middle-Upper Pleistocene bio-climatic and magnetic records of The Northern Black Sea Coastal Area. Quat. Int. V. 149. Iss. 1. P. 44—54.https: doi.org/ 10.1016/j/quaint.2005.11.017
- Fejfar O. (1972). Wühlmäuse (Microtidae, Mammalia) der Ulteren Sammlungen aus Stranska Skala bei Brno. Anthropos. Ns. Brno. V. 20. № 12. P. 165—174.
- Fejfar O., Horaček I. (1983). Zur Entwicklung der Kleinsäugerfaunen im Villányium und Alt-Biharium auf dem Gebiet der ČSSR. Wirbeltier-Evolution und Faunenwald im Känozoikum. Schriftern. Geol. Wiss. Berlin. № 19/20. P. 111—207.
- Garapich A., Nadachowski A. A. (1996). A contribution of the origin of Allophaiomys (Arvicolidae, Rodentia) in Central Europe: the relationship between Mimomys and Allophaiomys from Kamyk (Poland). Acta Zoologica Cracoviensia. V. 39. № 1. P. 179—184. https://doi.org/10.1016/j-quaint.2005.11.019
- Glushankova N. I., Markova A. K. (2021). The Rybnaya Sloboda section: new Likhvin locality of small mammals and the structure of post-Likhvin slope plume on the surface of III Kama R. terrace. Byulleten’ Komissii po izucheniyu chetvertichnogo perioda. № 79. P. 13—36. (in Russ.). https://doi.org/10.34756/GEOS/2022.17.38239
- Gromov V. I. (1948). Palaeontological and archaeological justification of Quaternary continental stratigraphy on the territory of USSR (mammals, Paleolith). Tr. Geol. Inst. Akad. Nauk SSSR. V. 64. № 17. 520 p. (in Russ.).
- Gromov I. M., Bibikova D. D., Kalabukhov N. I. et al. (1965). Nasemnye belichii (Marmotinae). (Terrestrial squirrels (Marmotinae)). Leningrad: Nauka (Publ.). 457 p. (in Russ.).
- Gromov I. M., Erbaeva M. A. (1995). Mlekopitaushchie fauny Rossii i sopredelnykh territorii. Zaitseobraznye i gryzuny (Mammals of Russia and adjacent territories. Lagomorphs and rodents). S.-Petersburg: ZIN RAN (Publ.). 239 p. (in Russ.).
- Gubonina Z. P. (1975). Palynological investigations of main horizons of loesses and fossil soils of the south of the Russian plain. In: Problemy regionalʹnoi i obshchei paleogeografii lessovykh i periglatsialnykh raionov. Moscow: Nauka (Publ.). P. 43—58. (in Russ).
- Gureev A. A. (1964). Mlekopitaushchie. Zaitseobraznye (Lagomoropha) (Mammals. Lagomorphs (Lagomoropha)). V. 3. № 10. Moscow‒Leningrad: Nauka (Publ.) 276 p. (in Russ.).
- Gureev A. A. (1971). Zemleroiki (Soricidae) (Shrews (Soricidae)). Leningrad: Nauka (Publ.). 253 p. (in Russ.).
- Iosifova Yu.I., Agadjanian A. K., Ratnikov V. Yu. et al. (2009). About the Ikoretsk suite and the horizon in the upper part of Early Neopleistocene in Mastyuzhinka section (Voronezh province). Byulleten’ RMSK po tsentru i yugu Russkoi platformy. V. 4. P. 89—104. (in Russ.)
- Janossy D. (1986). Pleistocene vertebrate faunas of Hungary. Budapest. Akademiai Kiado. 208 p.
- Kazantseva N. E. (1990). The position of the Eopleistocene–Pleistocene boundary by the results of small mammal studies. In: Chetvertichnyi period: metody issledovanii, stratigrafiya i ecologiya. Materialy of VII vsesoyuznogo soveshchania. Iss. II. Tallin. P. 44—45. (in Russ.)
- Koenigswald W. von., Tobien H. (1990). Important arvicolid faunas from the Late Pleistocene to the Early in Western Germany. In: Int. Symp. Phyl. Biostr. Arvicolids. Praha. P. 231—254.
- Kolfschoten T. van. (1990). The evolution of mammal fauna in the Netherlands and Middle Rhine area (Western Germany) during the Late Middle Pleistocene. In: Mededlingen Rijks Geologische Dienst. P. 1—69.
- Kolfschoten T. van. (1991). The Saalian mammal fossils from Wageningen-Fransche Kamp. In: Mededlingen Rijks Geologische Dienst. V. 46. P. 37—53.
- Kretzoi M. (1956). Die altpleistozänen Wirbeltierfauna des Villanyer Gebridges. Geol. Hung. Ser. Palaeont. V. 27. № 1. 264 p.
- Krokhmal A. I. (2021). Geological structure and lower-middle Pleistocene fossil fauna of Nagornoe 1 section (Odessa region, Ukraine). In: INQUA SEQS2021. Conference Proceedings. Wrocław: Poland. P. 52—53.
- Krokhmal A. I., Rekovets L. I. (2010). Mestonakhozhdeniya melkikh mlekopitaushchikh pleistotsena Ukrainy i sopredelʹnykh territorii (Pleistocene small mammal localities of Ukraine and adjacent territories). Kiev: LAT@K (Publ.). 331 p. (in Russ.)
- Kulikov S. A., Chepalyga A. L. (1985). Chronology of Dniester terraces by the data of biostratigraphy and thermoluminescent method. In: Materialy nauchnoi conferentsii “Geochronologia chetvertichnogo perioda”. Tallin: FN ESSR (Publ.). P. 104. (in Russ.)
- Kurbanov R. N., Semikolennykh D. V., Yanina T. A. et. al. (2020). New data about the age of the Karangat transgression of the Black Sea. Vestnik Moskovskogo Universiteta. Seriya 5. Geografiya. № 6. P. 130—144. (in Russ.).
- Markova A. K. (2007). Pleistocene mammal faunas of Eastern Europe. Quat. Int. V. 160. Iss. 1. P. 100—111. https://doi.org/10.06/j.quaint. 2006.09.011
- Markova A. K. (1982). Pleistotsenovye gryzuny Russkoi ravniny (Pleistocene rodents of the Russian plain). Moscow: Nauka (Publ.). 184 p. (in Russ.)
- Markova A. K. (1990a). Pleistocene microtheriofauna of the European part of the USSR. In: International symposium evolution, phylogeny and biostratigraphy of arvicolids (Rodentia, mammalia). P. 314—338.
- Markova A. K. (1990b). The sequence of Early Pleistocene Small-mammal faunas from the South Russian Plain. Quartar Palaontologie. № 8. P. 131—151.
- Markova A. K. (1996). The Late Middle Pleistocene small mammal faunas of Eastern Europe and its analogs in Western Europe. Acta Zoologica cracowencia. V. 39. № 1. P. 311—319.
- Markova A. K. (1998). Early Pleistocene small mammal faunas of the Eastern Europe. The Dawn of the Quaternary. In: Mededlingen Rijks Geologische Dienst. № 60. P. 313—326.
- Markova А. К. (2000). The Mikulino (= Eemian) mammal faunas of the Russian Plain and Crimea. Geologie en Mijnbouw. Netherlands J. of Geosci. V. 79. № ⅔. P. 293—301.
- Markova A. K. (2006). Likhvin Interglacial small mammal faunas of Eastern Europe. Quat. Int. V. 149. Iss. 1. P. 67—79. https://doi.org/10.1016/j-quaint.2005.11.019
- Markova A. K. (2016). European small mammal faunas of the first part of the Middle Pleistocene. Izvestiya RAN. Seriya geograficheskaya. № 1. P. 87—102. (in Russ.). https: doi.org//10.15356/0373-2444-2016-1-Х-Х
- Markova A. K. (2017). European small mammal faunas of the second part of the Middle Pleistocene: species composition, distribution, correlations. Byulleten’ Komissii po izucheniyu chetvertichnogo perioda. V. 75. P. 11—33. (in Russ).
- Markova A. K., Chepalyga A. L., Puzachenko A. Yu. (2021). Middle Pleistocene small mammal and mollusk locality Levada (lower Dniester River basin) and it position in the Tiraspolian faunas of the Russian plain. Quat. Int. V. 605—606. P. 81—92. https://doi.org/10.1016/j.quaint.2020.08.006
- Markova A. K., Mikhailesku C. D. (1994). Correlation of Pleistocene and Marine deposits from the Northwestern Black Sea Region. Stratigraphy and Geological Correlation. V. 2. № 4. P. 383—394.
- Markova A. K., Puzachenko A. Yu. (2017). Small mammal fauna in Europe during the second half of the Middle Pleistocene. Fossil Imprint. V. 73. № 1—2. P. 48—66.
- Markova A. K., Puzachenko A. Yu. (2018). Middle Pleistocene small mammal faunas of Europe: evolution, biostratigraphy, correlations. Geography, Environment, Sustainability. V. 3. № 11. P. 21—37. https://doi.org/10.24057/2071-9388-2018-11-3-21-38
- Masini F., Torre D. (1990). Review of Villafranchian arvicolids of Italy. In: Int. symposium evolution, phylogeny and biostratigraphy of arvicolids (Rodentia, mammalia). P. 339—346.
- Mikhailesku C. D., Markova A. K. (1992). Paleogeograficheskie etapy rasvitiya fauny yuga Moldovy v antropogene (Palaeogeographical stages of Moldovian fauna development during the Anthropogene). Kishinev: Shtiintsa (Publ.). 309 p. (in Russ.)
- Mikhailesku C. D., Markova A. K., Chepalyga A. L. et al. (1991). Biostratigraphy of key section (lectostratotype) of Early Euxinian deposits near Ozernoe village. Byulleten’ Komissii po izucheniyu chetvertichnogo perioda. V. 60. P. 29—39. (in Russ.)
- Nordman A. (1858). Palaeontologia Sudussland. II. Heisingfore.
- Pazonyi P., Szentesi Z., Mészáros L. et al. (2023). Stratigraphic and Paleoecological Significance of the Early/Middle Pleistocene Vertebrate Fauna of the Süttő 21 Site. Preprints (www.preprints.org). P. 2—21. https://doi.org/10.20944/preprints202305.0499v1
- Popova L. V., Nezdolii Y. S., Krokhmal O. I., Rekovets L. I. (2021). Appearance of Місrotus agrestis in the territory of Ukraine in the Middle Pleistocene. Geo & Bio. № 20. P. 102—116. https://doi.org/10.15407/gb2011
- Rekovets L. I. (1994). Melkie mlekopitayushchie antropogena yuga Vostochnoi Evropy (Anthropogene small mammals of the south of Eastern Europe). Kiev: Naukova Dumka (Publ.). 369 p. (in Russ.)
- Semenov V. V. (1994). Paleomagnetism. In: The Lower-Middle Pleistocene of the Upper Don Basin. Guidebook for excursion. Moscow. P. 146—149. (in Russ.)
- Shevchenko A. I. (1965). The principal small mammal complexes of the Pliocene and Early Pleistocene of S-W part of the Russian plain. In: Stratigraficheskoe znachenie antropogenovoi fauny melkikh mlekopitayushchikh. Moscow: Nauka (Publ.). P. 7—58. (in Russ.).
- Shik S. M. (2014). A modern approach to the Neopleistocene stratigraphy and paleogeography of Central European Russia. Stratigraphy and Geological Correlation. V. 22. Iss. 2. P. 219—230. https://doi.org/10.1134/S0869593814020075
- Shushpanov K. I. (1983). Pozdnepliotsenovaya fauna mlekopitayushchikh Cheshmikioiskogo mestonakhozhdenia (Late Pliocene mammal fauna from Cheshmikioi locality). Kishinev: Shtiintsa (Publ.). 111 p. (in Russ.)
- Stuart A. J. (1982). Pleistocene Vertebrates in the British Isles. Kongman. 221 p.
- Tesakov A. S., Dodonov A. E., Titov V. V., Trubikhin V. M. (2007). Plio-Pleistocene geological record and small mammal faunas, eastern shore of the Azov Sea, Southern European Russia. Quat. Int. V. 160. Iss. 1. P. 57—69. https://doi.org/10.1016/j.quaint.2006.09.009
- Terzea E. (1984). Mammiferes rares du Pleistocene inferieur de Betfia (Bihor, Roumanie). Trav. Inst. Speol. “E. Racovitza”. № 23. P. 49—56.
- Terzea E. (1995). Mammalian events in the Quaternary of Romania and correlations with the climatic chronology of Western Europe. Acta zool. сracov. V. 38. № 1. P. 109—120.
- Topachevsky V. A. (1965). Nasekomoyadnye i gryzuny nogaiskoi pozdnepliotsenovoi fauny (Insectivores and rodents of the Nogaiskian Late Pliocene fauna). Kiev: Naukova Dumka (Publ.). 163 p. (in Russ.)
- Topachevsky V. A., Skorik A. F., Rekovets L. I. (1987). Gryzuny verkhneantropogenovykh i ranneantropogenovykh otlozhenii Khadzhibeiskogo limana (The rodents from the Late Anthropogene and Early Anthropogene deposits of the Khadzhibei liman). Kiev: Naukova Dumka (Publ.). 207 p. (in Russ.)
- Vangengeim E. A., Pevzner M. A., Tesakov A. S. (2001). Zonal Quarter subdivision on the base of small mammals. Stratigraphia. Geologicheskaia correlatsia. V. 9. № 3. P. 76—88. (in Russ.)
- Velichko A. A., Markova A. K., Pevzner M. A., Udartsev V. P. (1983). The position of Matuyama–Brunhes magnetic polarization boundary in the chronostratigraphical scale of Eastern European deposits. Dokl. Akad. nauk SSSR. V. 269. № 5. P. 1147—1150. (in Russ).
- Velichko A. A., Morozova N. D., Nechaev V. P. et al. (1992). The problems of stratigraphy and correlation of loess-paleosol formation of the Russian Plain. In: Stratigrafia i paleogeografia chetvertichnogo perioda Vostochnoi Evropy. Moscow: Institute of Geography RAS (Publ.). P. 115—140. (in Russ.)
Supplementary files






