Efficient editing of the CXCR4 locus using Cas9 ribonucleoprotein complexes stabilized with polyglutamic acid
- Authors: Golubev D.S.1, Komkov D.S.1,2, Shepelev M.V.1, Mazurov D.V.1,3, Kruglova N.A.1
-
Affiliations:
- Center for Precision Genome Editing and Genetic Technologies for Biomedicine
- Ben-Gurion University of the Negev
- University of Minnesota
- Issue: Vol 514, No 1 (2024)
- Pages: 85-90
- Section: Articles
- URL: https://bakhtiniada.ru/2686-7389/article/view/258948
- DOI: https://doi.org/10.31857/S2686738924010164
- EDN: https://elibrary.ru/KMSWSW
- ID: 258948
Cite item
Full Text
Abstract
Gene editing using the CRISPR/Cas9 system provides new opportunities for the treatment of human diseases. Therefore, it is relevant to develop approaches aimed at increasing the efficiency of genome editing. Here, to increase the level of editing of the CXCR4 locus, a target for gene therapy of HIV infection, the Cas9 protein was modified by introducing additional NLS signals, and the ribonucleoprotein complexes of Cas9 and guide RNA were stabilized with poly-L-glutamic acid. This allowed a 1.8-fold increase in the level of CXCR4 knockout in the CEM/R5 T cell line and a 2-fold increase in the level of knock-in of the HIV-1 fusion peptide inhibitor MT-C34 in primary CD4+ T lymphocytes.
Keywords
Full Text
Редактирование генома клеток человека с помощью системы CRISPR/Cas9 является перспективной технологией для создания препаратов, предназначенных для лечения вирусных инфекций (HIV, HPV), онкологических, аутоиммунных и метаболических заболеваний человека [1]. Успешное применение системы CRISPR/Cas9 в клинической практике требует высокой эффективности редактирования. Предложено большое количество различных подходов, направленных на повышение уровня редактирования, таких как модификации белка Cas9, гидовой РНК, донорной ДНК, оптимизация средств доставки геномных редакторов в клетки, а также воздействие на пути репарации ДНК [2, 3].
Одна из областей применения геномного редактирования – разработка генотерапевтических подходов для лечения ВИЧ-инфекции [4]. В мире насчитывается более 38 млн человек, зараженных вирусом иммунодефицита человека (ВИЧ), которые вынуждены пожизненно принимать антиретровирусные препараты. Несмотря на высокую эффективность таких препаратов, их прием сопряжен с побочными эффектами и существует риск развития устойчивости вируса к ним [4]. Поэтому актуальной представляется разработка альтернативных методов лечения с помощью технологии геномного редактирования. Один из таких методов направлен на получение CD4+ Т-клеток человека, устойчивых к ВИЧ-инфекции. В частности, этого можно добиться с помощью нокаута генов корецепторов ВИЧ или нокина генетических конструкций, экспрессирующих противовирусные факторы [5]. Поэтому важной задачей является повышение эффективности геномного редактирования для получения как можно более обогащенной популяции редактированных клеток, что важно для их приживления в организме реципиента.
Целью данной работы было повышение уровня редактирования локуса CXCR4, кодирующего хемокиновый рецептор CXCR4, который является одним из корецепторов ВИЧ. Нокаут CXCR4 в зрелых CD4+ Т-клетках представляется возможной стратегией придания Т-клеткам устойчивости к ВИЧ, которая была успешно применена в нескольких работах [6, 7]. Кроме того, ранее нами была разработана платформа нокина в локус CXCR4 пептидных ингибиторов слияния ВИЧ с клеткой [8]. Таким образом, повышение уровней нокаута и нокина для локуса CXCR4 представляются актуальными задачами для разработки методов терапии ВИЧ-инфекции с помощью геномного редактирования.
Важно отметить, что для применения в клинической практике наиболее предпочтительной является доставка Cas9 в клетки в виде рибонуклеопротеиновых комплексов (ribonucleoprotein, RNP), так как RNP обладают меньшей токсичностью по сравнению с молекулами ДНК или РНК, позволяют снизить вероятность нецелевого редактирования, а отсутствие плазмидной ДНК устраняет риск ее интеграции в геном клеток-мишеней [9]. Для повышения уровня редактирования локуса CXCR4 с помощью RNP белок Cas9 модифицировали путем увеличения числа NLS, а комплексы RNP стабилизировали с помощью поли-L-глутаминовой кислоты (poly-L-glutamic acid, PGA) [10, 11]. В нескольких работах показано, что тип и количество сигналов NLS в белке Cas9 влияют на эффективность редактирования [10, 12]. Однако подобных данных, полученных для Т-клеточных линий или первичных Т-клеток, мало [13]. Поэтому решено было оценить эффект от увеличения числа NLS в белке Cas9 при редактировании Т-клеточной линии CEM/R5, полученной на основе линии CCRF-CEM (ATCC) и описанной ранее [8]. Для этого на основе плазмиды SP-Cas9 (Addgene #62731), в которой белок Cas9 имеет один сигнал NLS на С-конце, конструировали плазмиды, кодирующие Cas9 c 2x, 3x или 4хNLS (рис. 1, а). Для создания конструкции с 2хNLS амплифицировали фрагмент плазмиды SP-Cas9, кодирующий N-конец Cas9, с помощью праймеров 5’-Nco-NLS-Cas9 и 3’-Nde-Cas9 (нуклеотидные последовательности всех праймеров приведены в табл. 1).
Таблица 1. Олигонуклеотиды, использованные в работе
Название | Нуклеотидная последовательность, 5’ -> 3’ |
5’-Nco-NLS-Cas9 | GCCCATGGCGAAACGTCCGGCGGCCACGAAGAAAGCCGGTCAGGCGAAGAAAAAGAAAGCAGCGGATAAAAAATACAGCATTGGTC |
3’-Nde-Cas9 | GATCATATGAGCCAGTGCC |
5’-Cas9_Nhe | GGCTAGCCATTATGAAAAACTG |
3’-Cas9_Afl | CCTTAAGCGAGCCACCGCCCACTTTG |
5’-Afl-2xNLS | TTAAGCCGGCAGCTAAGAAAAAGAAAGGCAGCCCTAAGAAAAAGCGTAAAGTGGGCGGTGGCTCGCATCATCATCATCATCACTAAG |
3’-Afl-2xNLS | GATCCTTAGTGATGATGATGATGATGCGAGCCACCGCCCACTTTACGCTTTTTCTTAGGGCTGCCTTTCTTTTTCTTAGCTGCCGGC |
Продукт ПЦР клонировали в вектор pJET1.2 (Thermo Fisher Scientific, США). Далее, фрагмент NcoI-NdeI клонировали из pJET1.2 по этим же сайтам в плазмиду SP-Cas9, получая SP-Cas9–2xNLS. Для получения плазмид с 3х и 4xNLS сначала амплифицировали фрагмент плазмиды SP-Cas9 с праймерами 5’-Cas9_Nhe и 3’-Cas9_Afl, продукт ПЦР клонировали в вектор pCR-Blunt (Invitrogen, США), получая pCR-Cas9-NLS NA. Далее одноцепочечные олигонуклеотиды 5’-Afl-2xNLS и 3’-Afl-2xNLS гибридизовали и клонировали в плазмиду pCR-Cas9-NLS NA по сайтам AflII-BamHI, получая pCR-Cas9–3xNLS-6His, из которой далее клонировали фрагмент NheI-BamHI в плазмиды SP-Cas9 и SP-Cas9–2xNLS, получая соответственно SP-Cas9–3xNLS и SP-Cas9–4xNLS.
Было обнаружено, что белки с 2х и 4хNLS, несущие один из сигналов NLS на N-конце, неэффективно экспрессировались в клетках E. coli BL21(DE3) (рис. 1, б). Возможно, необходимо модифицировать N-конец Cas9, например, добавив к нему фрагмент мальтоза-связывающего белка (maltose-binding protein, MBP) для облегчения экспрессии в бактериях, как было сделано в работе Staahl et al. [14]. Поэтому далее были очищены белки Cas9 c 1х и 3хNLS на С-конце как описано в работе Maslennikova et al. [8]. Мишень для Cas9 в локусе CXCR4 (CACTTCAGATAACTACACCGAGG) была описана ранее [8]. Гидовую РНК получали с помощью транскрипции in vitro, как подробно описано в работе Maslennikova et al. [8].
Рис. 1. (а) Схемы плазмидных конструкций для экспрессии Cas9 с различным числом NLS в клетках E.coli. Показаны аминокислотные последовательности NLS вируса SV40, NLS из белка нуклеоплазмина и последовательность второго оснóвного мотива из NLS нуклеоплазмина (PAAKKKK) [20]. (б) Электрофореграмма лизатов клеток E.coli BL21 (DE3), трансформированных одной из четырех конструкций для продукции Cas9, до и после индукции экспрессии с помощью IPTG. Белки разделяли в 7.5 % акриламидном геле и окрашивали красителем Кумасси R‑250. М – маркеры молекулярного веса белков.
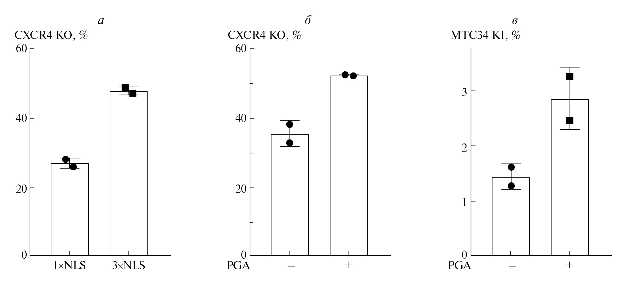
Для формирования RNP комплексов смешивали 200 пмоль белка Cas9 и 200 пмоль гидовой РНК в буфере R (Invitrogen, США) и инкубировали смесь 20 мин при комнатной температуре. Готовые RNP электропорировали в 1.5x106 клеток CEM/R5 с помощью прибора Neon (Invitrogen, США) при параметрах 1230 В, 40 мс, 1 импульс. На 3 день оценивали уровень белка CXCR4 на поверхности клеток методом проточной цитофлуориметрии с помощью мышиных моноклональных антител против CXCR4 (клон 12G5, Santa Cruz Biotechnology, США) и козьих антител против иммуноглобулинов мыши, коньюгированных с Alexa488 (Thermo Scientific, США). Добавление двух дополнительных сигналов NLS к белку Cas9 увеличивало процент негативных по CXCR4 клеток в 1.8 раза (рис. 2, а).
Рис. 2. (а) Уровень нокаута CXCR4 в клетках CEM/R5, электропорированных RNP с Cas9–1xNLS или Cas9– 3xNLS. (б) Уровень нокаута CXCR4 в клетках CEM/R5, электропорированных комплексами RNP с добавлением PGA (+) или без добавления PGA (–). Экспрессию белка CXCR4 анализировали с помощью проточной цитометрии проводили на 3 день после электропорации. (в) Уровень нокина пептида МТ-С34 в локус CXCR4 в CD4+ Т-лимфоцитах, электропорированных RNP с Cas9-3xNLS вместе с донорной плазмидой pJet-X4ex2 в присутствии PGA (+) или без PGA (–).
В отсутствие gRNA белок Cas9 нестабилен и даже в комплексе с gRNA в составе RNP может формировать нефункциональные агрегаты [11]. Согласно работе Nguyen et al., предотвратить агрегацию и повысить стабильность RNP можно с помощью анионного полимера PGA [11]. Поэтому была оценена эффективность нокаута CXCR4 с помощью Cas9-3xNLS в присутствии PGA. Для этого использовали PGA с молекулярной массой 15–50 кДа, разведенную до концентрации 100 мг/мл в деионизованной воде. Для формирования RNP комплексов PGA использовали как описано в статье Nguyen et al [11]: на один образец смешивали 4 мкл PGA (100 мг/мл в воде) и 200 пмоль gRNA, затем данную смесь добавляли к 200 пмоль Cas9 в буфере R. Было обнаружено, что добавление PGA к RNP комплексам увеличивало уровень нокаута CXCR4 в 1.4 раза (рис. 2, б).
Данные, полученные на Т-клеточной линии CEM/R5, показали, что введение дополнительных сигналов NLS в белок Cas9 и добавление PGA к RNP комплексам приводят к повышению уровня нокаута CXCR4. После этого решено было перейти к клинически релевантной модели и провести эксперимент на первичных CD4+ Т-клетках. В этом случае проводили нокаут CXCR4 с одновременным нокином пептидного ингибитора слияния ВИЧ-1 МТ-С34 во второй экзон гена CXCR4. В результате корректного нокина клетки экспрессировали короткий GPI-заякоренный пептид МТ-С34 на мембране, который можно было детектировать с помощью полученных ранее антител [8]. Периферические мононуклеарные клетки выделяли из крови здоровых доноров, CD4+ Т-клетки выделяли с помощью магнитной сепарации (#130–096–533, Miltenyi Biotec, Германия) и активировали с помощью частиц с иммобилизованными антителами против CD2, CD3 и CD28 (#130–091–441, Miltenyi Biotec, Германия) в течение 2 суток. Для электропорации готовили RNP комплексы в присутствии PGA или без нее, которые смешивали с 5.4 мг донорной плазмиды pJet-X4ex2, описанной ранее [8], добавляли к 1.5×106 клеток и проводили электропорацию при параметрах 1600 В, 10 мс, 3 импульса. На 3 сутки после электропорации анализировали уровень пептида MT-C34 на поверхности клеток методом проточной цитофлуориметрии с помощью мышиных моноклональных антител С24 [8] и козьих антител против иммуноглобулинов мыши, коньюгированных с Alexa488 (Thermo Scientific, США). Поскольку экспрессия CXCR4 на первичных CD4+ Т-лимфоцитах зависит от состояния активации клеток и постепенно снижается после стимуляции [15], значительная часть клеток в контрольном образце без добавления RNP оказывалась негативной по CXCR4 (данные не показаны). По этой причине было решено оценивать только уровень нокина, который в нашем случае является наиболее важным показателем. Именно клетки с нокином представляют собой целевую популяцию, которая потенциально может быть использована для переноса реципиенту. Было обнаружено, что уровень нокина при использовании RNP с тремя сигналами NLS составлял около 1.5 %, а при добавлении PGA к RNP комплексам достигал 3 % (рис. 2, в).
Известно, что большее число NLS в белке Cas9 увеличивает эффективность доставки Cas9 в ядро и тем самым повышает уровень редактирования [10, 12]. Мы показали влияние такой модификации Cas9 на уровень редактирования в Т-клеточной линии CEM/R5. Наши данные согласуются с результатами недавно опубликованной работы, в которой было показано, что при введении второго NLS SV40 в белок Cas9 происходило увеличение уровня редактирования локуса CCR5 в Т-клеточной линии Jurkat в 1.5–2 раза [13].
Дополнительная стабилизация RNP комплексов с помощью PGA, как впервые было показано в работе Nguyen et al. [11], приводила к повышению уровня нокаута CXCR4 в 1.4 раза. PGA была использована в нескольких работах, посвященных редактированию Т клеток [11, 16–19]. В одних работах при добавлении PGA к RNP комплексам авторы наблюдали повышение уровня нокина и повышение выживаемости клеток [11, 18], в других отмечалось или только небольшое повышение нокина [17], или положительное влияние на выживаемость [16]. Наконец, в одной работе не было обнаружено никакого эффекта от PGA [19]. В нашей модели в присутствии PGA удалось повысить уровень нокаута CXCR4 и уровень нокина пептидного ингибитора слияния ВИЧ-1 МТ-С34. Кроме того, мы заметили, что при использовании более жестких режимов электропорации (1700 В, 20 мс, 1 импульс), при которых удается добиться еще более высоких показателей нокаута, в присутствии PGA клетки выживают лучше и делятся быстрее, чем без добавления PGA (данные не показаны).
Таким образом, нами было показано, что введение дополнительных сигналов NLS и добавление PGA к RNP комплексам приводило к повышению уровня нокаута CXCR4 в Т-клеточной линии СЕМ/R5, а также к повышению уровня нокина пептида МТ-С34 в этот локус в первичных CD4+ Т-клетках. Полученные данные могут быть использованы при разработке методов редактирования Т-клеточных линий и первичных Т-клеток человека с целью создания генотерапевтических средств для лечения ВИЧ-инфекции.
БЛАГОДАРНОСТИ
Авторы благодарят А. Н. Бончука и О. В. Аркову за очистку рекомбинантного белка Cas9. Работа была выполнена с использованием инфраструктуры Центра высокоточного редактирования и генетических технологий для биомедицины Института биологии гена РАН.
ИСТОЧНИК ФИНАНСИРОВАНИЯ
Работа выполнена при финансовой поддержке Российского научного фонда (грант № 22-25-00310).
СОБЛЮДЕНИЕ ЭТИЧЕСКИХ СТАНДАРТОВ
Эксперименты с образцами крови доноров одобрены Комиссией по биоэтике Института биологии гена РАН (Москва, Россия), заключение № 5 от 15.04.2022. У доноров получено письменное информированное согласие.
КОНФЛИКТ ИНТЕРЕСОВ
Авторы заявляют об отсутствии конфликта интересов.
About the authors
D. S. Golubev
Center for Precision Genome Editing and Genetic Technologies for Biomedicine
Author for correspondence.
Email: natalya.a.kruglova@yandex.ru
Institute of Gene Biology Russioan Academy of Sciences
Russian Federation, MoscowD. S. Komkov
Center for Precision Genome Editing and Genetic Technologies for Biomedicine; Ben-Gurion University of the Negev
Email: natalya.a.kruglova@yandex.ru
Institute of Gene Biology Russioan Academy of Sciences, Department of Physiology and Cell Biology, Faculty of Health Sciences
Russian Federation, Moscow; Be’erSheva, IsraelM. V. Shepelev
Center for Precision Genome Editing and Genetic Technologies for Biomedicine
Email: natalya.a.kruglova@yandex.ru
Institute of Gene Biology Russioan Academy of Sciences
Russian Federation, MoscowD. V. Mazurov
Center for Precision Genome Editing and Genetic Technologies for Biomedicine; University of Minnesota
Email: natalya.a.kruglova@yandex.ru
Institute of Gene Biology Russioan Academy of Sciences, Division of Infectious Diseases and International Medicine, Department of Medicine
Russian Federation, Moscow; Minneapolis, USAN. A. Kruglova
Center for Precision Genome Editing and Genetic Technologies for Biomedicine
Email: natalya.a.kruglova@yandex.ru
Institute of Gene Biology Russioan Academy of Sciences
Russian Federation, MoscowReferences
- Pavlovic K., Tristán-Manzano M., Maldonado-Pérez N., et al. Using Gene Editing Approaches to Fine-Tune the Immune System // Front. Immunol. Frontiers Media SA, 2020. V. 11.
- Shams F., Bayat H., Mohammadian O., et al. Advance trends in targeting homology-directed repair for accurate gene editing: An inclusive review of small molecules and modified CRISPR-Cas9 systems // BioImpacts. 2022. V. 12. № 4. P. 371–391.
- Smirnikhina S. A., Zaynitdinova M. I., Sergeeva V. A., et al. Improving Homology-Directed Repair in Genome Editing Experiments by Influencing the Cell Cycle // Int. J. Mol. Sci. 2022. V. 23. № 11. P. 5992.
- Cornu T. I., Mussolino C., Müller M. C., et al. HIV Gene Therapy: An Update // Hum. Gene Ther. Hum Gene Ther. 2021. V. 32. № 1–2. P. 52–65.
- Maslennikova A., Mazurov D. Application of CRISPR/Cas Genomic Editing Tools for HIV Therapy: Toward Precise Modifications and Multilevel Protection // Front. Cell. Infect. Microbiol. Frontiers Media S. A. 2022. V. 12. P. 880030.
- Hou P., Chen S., Wang S., et al. Genome editing of CXCR4 by CRISPR/cas9 confers cells resistant to HIV-1 infection // Sci. Rep. 2015. V. 5. P. 15577.
- Wang Q., Chen S., Xiao Q., et al. Genome modification of CXCR4 by Staphylococcus aureus Cas9 renders cells resistance to HIV-1 infection. // Retrovirology. 2017. V. 14. № 1. P. 51.
- Maslennikova A., Kruglova N., Kalinichenko S., et al. Engineering T-Cell Resistance to HIV-1 Infection via Knock-In of Peptides from the Heptad Repeat 2 Domain of gp41 // MBio. American Society for Microbiology. 2022. V. 13. № 1.
- Kim S., Kim D., Cho S. W., et al. Highly efficient RNA-guided genome editing in human cells via delivery of purified Cas9 ribonucleoproteins // Genome Res. 2014. V. 24. № 6. P. 1012–1019.
- Maggio I., Zittersteijn H. A., Wang Q., et al. Integrating gene delivery and gene-editing technologies by adenoviral vector transfer of optimized CRISPR-Cas9 components // Gene Ther. 2020. V. 27. № 5. P. 209–225.
- Nguyen D. N., Roth T. L., Li P. J., et al. Polymer-stabilized Cas9 nanoparticles and modified repair templates increase genome editing efficiency // Nat. Biotechnol. 2020. V. 38. № 1. P. 44–49.
- Cong L., Ran F. A., Cox D., et al. Multiplex genome engineering using CRISPR/Cas systems // Science. 2013. V. 339. № 6121. P. 819–823.
- Shui S., Wang S., Liu J. Systematic Investigation of the Effects of Multiple SV40 Nuclear Localization Signal Fusion on the Genome Editing Activity of Purified SpCas9 // Bioengineering. 2022. V. 9. № 2. P. 83.
- Staahl B. T., Benekareddy M., Coulon-Bainier C., et al. Efficient genome editing in the mouse brain by local delivery of engineered Cas9 ribonucleoprotein complexes // Nat. Biotechnol. 2017. V. 35. № 5. P. 431–434.
- Buckley C. D., Amft N., Bradfield P. F., et al. Persistent Induction of the Chemokine Receptor CXCR4 by TGF-β1 on Synovial T Cells Contributes to Their Accumulation Within the Rheumatoid Synovium // J. Immunol. 2000. V. 165. № 6. P. 3423–3429.
- Shy B. R., Vykunta V. S., Ha A., et al. High-yield genome engineering in primary cells using a hybrid ssDNA repair template and small-molecule cocktails // Nat. Biotechnol. 2023. V. 41. № 4. P. 521–531.
- Kath J., Du W., Pruene A., et al. Pharmacological interventions enhance virus-free generation of TRAC-replaced CAR T cells // Mol. Ther. Methods Clin. Dev. 2022. V. 25. P. 311–330.
- Mohr M., Damas N., Gudmand-Høyer J., et al. The CRISPR-Cas12a Platform for Accurate Genome Editing, Gene Disruption, and Efficient Transgene Integration in Human Immune Cells // ACS Synth. Biol. 2023. V. 12. № 2. P. 375–389.
- Oh S. A., Senger K., Madireddi S., et al. High-efficiency nonviral CRISPR/Cas9-mediated gene editing of human T cells using plasmid donor DNA // J. Exp. Med. 2022. V. 219. № 5.
- Makkerh J. P.S., Dingwall C., Laskey R. A. Comparative mutagenesis of nuclear localization signals reveals the importance of neutral and acidic amino acids // Curr. Biol. 1996. V. 6. № 8. P. 1025–1027.
Supplementary files




