Особенности расчета кинематических параметров и величины шероховатости при абразивной доводке запорных поверхностей корпусов задвижек, соединяющих трубы
- Авторы: Скрябин В.А.1
-
Учреждения:
- Пензенский государственный университет
- Выпуск: Том 29, № 4 (2019)
- Страницы: 546-559
- Раздел: Машиностроение
- Статья получена: 01.10.2025
- Статья одобрена: 01.10.2025
- Статья опубликована: 10.10.2025
- URL: https://bakhtiniada.ru/2658-4123/article/view/316564
- DOI: https://doi.org/10.15507/2658-4123.029.201904.546-559
- ID: 316564
Цитировать
Полный текст
Аннотация
Введение. В статье сформулированы и обоснованы основные положения особенностей кинематики перемещения притира в процессе доводки запорных элементов задвижек, а также разработаны методики определения режимных параметров и величины шероховатости в процессе абразивной доводки уплотнительных поверхностей деталей трубопроводной арматуры.
Материалы и методы. Разработана кинематическая схема шлифовально-притирочного переносного станка для определения угловых скоростей вращения инструментального диска и притиров. На основании разработанной кинематической cхемы получены аналитические зависимости для определения мощностей двигателя привода станка и резания, а также угловых и линейных скоростей вращения инструментального диска и притиров. В статье описаны траектории следов сетки точки притира при его перемещении по обрабатываемой поверхности детали трубопроводной арматуры.
Результаты исследования. Приведены примеры расчета кинематических параметров и шероховатости обработанной уплотнительной поверхности задвижки с диаметром условного прохода DN 100 по созданным аналитическим зависимостям для черновой и чистовой притирки. Рассчитаны координаты точек перемещения инструментов с визуализацией траектории движения точек с помощью специального программного продукта Lazarus. Рассчитаны координаты и построен графический след точки инструмента при его перемещении в процессе обработки. Определено расчетным путем удельное межуплотнительное пространство, характеризующее пропускную способность уплотнительных поверхностей.
Обсуждение и заключение. Выполненные расчеты позволили установить, каким образом размещать притир относительно обрабатываемой уплотнительной поверхности в плане оптимизации процесса обработки. Предварительные расчеты показали, что площадь контакта притира с обрабатываемой деталью и оптимальный угол контакта изменятся незначительно в пределах относительной погрешности 5…10 %.
Полный текст
Введение
Для обеспечения качественных параметров запорных элементов притиркой необходимо обращать внимание на:
– исходное состояние поверхности детали;
– скорости вращения инструментального блока и инструментов для абразивной доводки (их величины зависят от характера доводочной операции);
– давление (усилие прижима) притира на обрабатываемые поверхности;
– состав абразивной рабочей среды.
При производстве или ремонте запорных (уплотнительных) деталей трубопроводной арматуры (в частности при мелком ремонте, то есть восстановлении уплотнительных поверхностей корпусов клиновых задвижек) необходимым параметром является герметичность затвора. Для этого необходимо получить заданные качественные характеристики уплотнительных поверхностей на специальном станке
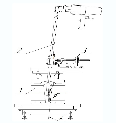
ГАКС-Ф-41 [1–3] с определенным сочетанием движений притира и рабочего диска (рис. 1):
– главного движения (вращения диска, на котором закреплен инструмент, непосредственно от двигателя);
– движения, обеспечивающего равномерную обработку (вращения инструмента вокруг своей оси).
1 – обрабатываемый корпус; 2 – станок; 3 – регулировочные винты для приложения усилия;
А – обрабатываемая уплотнительная поверхность корпуса задвижки
Fig. 1. Scheme of portable machine for abrasive finishing
1 – treated housing; 2 – machine; 3 – adjustment screws for force application;
A – machined sealing surface of the gate valve body
Плотность (непроницаемость уплотнительных поверхностей деталей арматуры-задвижки и корпуса) в процессе ремонта достигается абразивной доводкой. К уплотнительным поверхностям деталей трубопроводной арматуры, обработанным доводкой, предъявляются следующие требования: шероховатость поверхности не ниже Rа = 0,08 мкм, отклонения от плоскостности до 1 мкм.
Обзор литературы
При абразивной доводке запорных поверхностей деталей трубопроводной арматуры основным недостатком является отсутствие основных положений особенностей кинематики движения инструмента относительно обрабатываемых уплотнительных поверхностей деталей трубопроводной арматуры. Отсутствуют также методики определения режимных параметров и величины шероховатости в процессе абразивной доводки уплотнительных поверхностей2 [2–5]. Неполностью раскрыты вопросы настройки технологического оборудования перед притиркой поверхностей. Все это негативным образом влияет на производительность и качество процесса обработки и требует применения соответствующих технических и технологических решений. Большой вклад в создание установок для абразивной доводки уплотнительных поверхностей деталей трубопроводной арматуры внесли ученые и инженеры немецких фирм, в том числе Л. В. Молчанова, генеральный директор концерна Unigrind-SLIM, и Якоб Вост, генеральный директор концерна EFCO-HSL, а также российские ученые и специалисты: С. В. Сейнов, А. К. Адаменков, В. А. Поляков, В. К. Погодин и др. Однако конструкции установок немецких фирм при всей их оригинальности обладают определенными недостатками: малая мощность электро- или пневмодвигателя, по сравнению с российской фирмой «ГАКС-РЕМ-АРМ», и малая глубина погружения шинделя с инструментальным диском, оборудованным притирами, не позволяют обеспечить высокую производительность и заданные качественные параметры при абразивной доводке крупногабаритных корпусов клиновых задвижек с диаметром условного прохода DN = 1000…1400 мм и глубиной погружения L = 1200…1400 мм. Одними из первых предприятий в России по производству вышеуказанных установок и по технологии шлифования и доводки запорных поверхностей деталей трубопроводной арматуры являются «ГАКС-АРМ-Сервис» и «ГАКС-РЕМ-АРМ» в составе «ГАКС-АРМ-Сервис», генеральным директором которых является Ю. С. Сейнов, а президентом ‒ профессор С. В. Сейнов. Значительный вклад в вопросы настройки переносных станков для абразивной доводки и создания методики определения режимных параметров и величины шероховатости процесса абразивной доводки уплотнительных поверхностей, а также в вопросы выбора рациональных абразивных материалов и смазочно-охлаждающих технологических средств (СОТС), внес ведущий эксперт вышеуказанных предприятий профессор В. А. Скрябин.
Материалы и методы
При решении данной задачи необходимо определить траекторию движения инструмента. Для этого выполним расчет по определению кинематических параметров и шероховатости обработанной уплотнительной поверхности задвижки с диаметром условного прохода DN 100 по схеме, приведенной на рисунке 2. Определяем размеры ОА и АС [4–7].
Fig. 2. Scheme for determining the angular velocities of the tool block and the tool (lapper)
На рисунке 3 показан инструментальный блок 1 с расположенными на нем пластинами 2, на которых закрепляются инструменты 3.
Fig. 3. General view of the tool unit DN 100...200
Наружные диаметры инструментальных блоков D = Ø116,5…241 мм; Dинструмента = 40 мм; Dдиска = 40 мм.
Из рисунков 2 и 3: ОА ‒ расстояние от центра инструментального блока до центра инструмента; ОА = 116,5/2 – 40/2 = 58,25 – 20 = 38,25 мм; AC ‒ расстояние от центра инструментального блока до середины обрабатываемой уплотнительной поверхности; H ‒ ширина уплотнительной поверхности. Для DN 100 – H = , H = (125 – 110)/2 = 7,5 мм. Из рисунка 2: AC = где Δ ‒ вылет инструмента за край уплотнительной поверхности для исключения его торможения за счет разности линейных скоростей вращения инструментального блока VА и инструмента VСАΔ ≈ 5 мм.
AC =
Мощность резания определяется по формуле:
Nрез = n∙Rp∙VC,
где n – число одновременно работающих инструментов; Rр – сила резания; VC – линейная скорость точки приложения силы сопротивления. Сила резания подсчитывается по формуле:
Rp = f∙Fпр,
где f – коэффициент (трения) сопротивления между инструментом и обрабатываемой поверхностью; Fпр – усилия прижима инструмента к обрабатываемой поверхности. По производственным данным при чистовой притирке VC ограничивают значениями 0,25…0,5 м/с, а при черновой притирке VC ограничивают значениями 0,4…2 м/с.
Коэффициент трения f между абразивным инструментом и обрабатываемой поверхностью из легированной стали изменяется в диапазоне 0,1…0,4. В этом случае Nрез = n∙f∙Fпр∙VC.
Для определения усилия прижима инструмента к обрабатываемой поверхности Fпр приведем таблицу 1. Все рекомендуемые усилия прижима в таблице 1 являются данными, полученными в результате производственных испытаний на базе ООО «ГАКС-РЕМ-АРМ (г. Пенза).
Таблица 1 Рекомендуемые значения усилия прижима
Table 1 Recommended values of the clamping force
DN – диаметр условного прохода, мм // DN – diameter of the conditional pass, mm | 50 | 80 | 100 | 150 | 200 | 400 | 600 | 800 | 1000 | 1200 |
S – суммарная площадь контакта инструментов с обрабатываемой поверхностью, см2 // S – total contact area of the tools with the work, cm2 | 11 | 20 | 28 | 47 | 85,4 | 193,2 | 290 | 617 | 805 | 1160 |
Fпр (F) (P = 0,1 МПа) – усилие прижима инструмента к обрабатываемой поверхности детали Fпр, кг, и соответствующее ему давление P, МПа // FPR(F) (P = 0,1 MPa) – tool clamping force on the work piece surface FPR, kg, and pressure P, MPa | 11 | 20 | 7 | 8 | 10 | 20 | 24 | 30 | 30 | 36 |
Fпр (F) (P = 0,04 МПа) – усилие прижима инструмента к обрабатываемой поверхности детали Fпр, кг, и соответствующее ему давление P, МПа // FPR (F) (P = 0,04 MPa) – tool clamping force on the work piece surface FPR, kg, and P, MPa | 4,4 | 8 | 2,6 | 3 | 4 | 7,7 | 9,6 | 12 | 12 | 15 |
Fпр (F) (P = 0,15 МПа) – усилие прижима инструмента к обрабатываемой поверхности детали Fпр, кг, и соответствующее ему давление P, МПа // FPR (F) (P = 0,15 MPa) – tool clamping force on the work piece surface FPR, kg) P, MPa | 16,5 | 30 | 8,5 | 12 | 15 | 30 | 36 | 45 | 45 | 54 |
Nрез = 3∙0,2∙70∙0,3 = 12,6 Н∙м/с = 12,6 Вт = 0,0126 кВт – чистовая притирка.
Nрез = 3∙0,2∙85∙0,4 = 20 Н∙м/с = 26 Вт = 0,02 кВт – черновая притирка.
Угловая скорость вращения инструмента определяется по следующей зависимости (рис. 2) [4; 8; 9]:
где n – число одновременно работающих инструментальных головок; Rр = f∙Fпр – сила резания; ω1, ω2 – угловые скорости двигателя привода и инструмента; ОА, АС – плечи приложения движущей силы Рдв от привода, приложенной в точке А и результирующей силой резания Rр; f – коэффициент (трения) сопротивления между инструментом и обрабатываемой поверхностью; Fпр – усилия прижима инструмента к обрабатываемой поверхности. Мощность резания и мощность двигателя привода связаны соотношением:
Nрез ≤ η∙NДВ,
где η – КПД привода (η ≈ 0,9).
Результаты исследования
Мощность двигателя связана с моментом вращения двигателя привода зависимостью:
η∙NДВ= Mдв∙ω1.
Угловая скорость двигателя определяется следующим образом:
.
По производственным данным технологических процессов ООО «ГАКС-РЕМ-АРМ» n1=120 мин–1 при черновой притирке. Тогда:
.
При получистовой и чистовой притирке:
ω1= .
При чистовой притирке:
MДВ =
При черновой притирке:
MДВ =
Угловая скорость инструмента ω2 для чистовой притирки определяется как:
Определим линейную скорость инструмента по зависимости:
V2 = ω2∙R, где R ‒ радиус инструмента.
V2 = 8,72∙20∙10–3 = 0,174
В соответствии с производственными данными по предприятиям России и литературным источникам окружная скорость при чистовой притирке ограничивается значениями не более 0,5..0,8 м/с и рекомендуется задавать ее в диапазоне 0,2…0,5 м/с.
Давление притира на обрабатываемую поверхность определяется как:
МПа.
Среднее давление по таблице 1: P = 0,04…0,1 МПа (0,4…1 ).
По производственным и литературным данным давление при чистовой притирке находится в диапазоне 0,05…0,12 МПа.
Определим скорость вращения диска с инструментами:
Шероховатость обработанной поверхности при плоской притирке, согласно исследованиям П. Н. Орлова (МГТУ им. Н. Э. Баумана), определяется по следующей зависимости:
,
где CRa ‒ коэффициент, зависящий от свойств обрабатываемого материала, абразива и других условий обработки; P ‒ давление притира на обрабатываемый материал; HB ‒ твердость обрабатываемого материала; d ‒ диаметр абразивных зерен. Для наплавленной поверхности из высоколегированной стали марки Св-15Х18Н12С4ТЮ HB = 120 . P = 0,4 (0,04 МПа), y = 1, m = ‒1, абразивный материал – микрошлифпорошки М10(F800) электрокорунда хромотитанистого марок 91А…95А; CRa = 235…280.
Угловая скорость инструмента ω2 для черновой притирки определяется как:
V2 = 15,2∙20∙10–3 = 0,31
При механической доводке плоских наружных поверхностей рациональные значения давлений в соответствии с производственными и литературными данными скорости вращения притира составляют для предварительной притирки и изменяются в диапазоне 0,5…2 м/с.
МПа
(0,15 МПа).
Определим скорость вращения диска с инструментами:
По производственным и литературным данным, давление при черновой притирке находится в диапазоне 0,12…0,2 МПа. В качестве абразивного материала используются микрошлифпорошки М14(F600) электрокорунда хромотитанистого марок 91А…95А; CRa = 235…280 [10–14].
Вследствие того, что построение траекторий движения инструмента связано с достаточно трудоемкими и длительными по времени вычислениями, следует использовать программный продукт, который позволит быстро и точно рассчитать положение заданных точек в определенный момент времени.
Визуализация траектории движения точек инструмента выполнена с помощью программного продукта Lazarus (симбиоз программ DELFI и C++) .
Одним из важных вопросов стабильного обеспечения качества обработки поверхностей деталей является управление траекторией движения притира.
На рисунке 4 показан след точки притира по обрабатываемой поверхности.
Fig. 4. Trace of the point of lapping on the processed surface
На рисунке 5 приведено графическое изображение следов сетки точки притира на обрабатываемой поверхности.
с помощью программы Lazarus
Fig. 5. Graphic construction of traces of the point of lapping on the processed surface with the help
of the program Lazarus
Анализ теоретических результатов исследований сложного движения пластин показывает влияние следа точки инструмента по обрабатываемой уплотнительной поверхности на качество обработки поверхностей деталей. Из рисунков 4 и 5 следует, что равномерная сетка при пересечении рисок от наложения двух движений получилась за счет плавной и равномерной скорости движения инструмента по траектории, стабильной величины давления притира на обрабатываемую поверхность по всей ее площади. Это уменьшает завал торцевой уплотнительной плоскости и способствует достижению заданных параметров качества поверхности.
Удельное межуплотнительное пространство определяется в соответствии с литературным источником3 [10] по следующей зависимости:
Sмп = Rmax∙L∙K,
где L ‒ базовая длина, мм; K ‒ коэффициент, учитывающий незаполненное пространство профиля.
При чистовой доводке уплотнительных поверхностей согласно предшествующим расчетам Ra = 0,07 мкм, Rmax = 0,4 мкм, L = 0,25 мм,
K = 0,5.
Sмп = 0,4∙250∙0,5 = 50 мкм2.
Эта величина хорошо соответствует величине удельного межуплотнительного пространства, определенного экспериментальным путем на предприятии ООО «ГАКС-АРМ-СЕРВИС.
Обсуждение и заключение
Анализ представленных результатов позволил решить вопрос о месте расположения притиров на инструментальном блоке относительно обрабатываемых уплотнительных поверхностей (рис. 6).
Rиmin и Rиmax – минимальный и максимальный радиусы рабочей поверхности притира;
Rmin и Rmax – минимальный и максимальный радиусы обрабатываемой уплотнительной
поверхности; φ – угол поворота водила с инструментом; M, M1, A и A1 – точки начала и конца
рабочей поверхности притира; rd и Rd – радиусы окружностей, описываемых при вращении вала
крепления притира при вращении его вокруг своей оси 2 и вокруг оси инструментального блока 1;
V – вектор линейной скорости вращения инструмента
Fig. 6. Position of lapper 3 to the left of the machined sealing surfaces:
Rиmin and Rиmax minimum and maximum radii of the working surface of the lapper;
Rmin and Rmax – minimum and maximum radii of the processed sealing the surface;
φ – angle of rotation of the carrier with the tool; M, M1, A and A1 – start and end points of the working
surface of the lapper; rd and Rd are the radii of the circles described by the rotation of the shaft mounting
lapper by rotating it around its axis 2 and axis tools instrumental block 1;
V - is the vector of linear speed of rotation of the tool
Диаметр посадочной поверхности притира Dd = 13 мм для DN 100. Таким образом, ширина рабочей поверхности притира:
B =
Rmax = 20 мм, Rmin = 6,5 мм. С учетом выхода верхней точки притира относительно верхней точки обрабатываемой уплотнительной поверхности на величину Δ ≈ 5 мм контакт притира с обрабатываемой поверхностью детали происходит по размеру 8,5 мм и на 1 мм перекрывает ширину уплотнительной поверхности H = 7,5 мм.
Оптимальный сектор контакта притира и уплотнительной поверхности, рекомендуемый для благоприятных условий вращения абразивного инструмента определяется следующим образом из рисунка 7:
с уплотнительной поверхностью
Из рассмотрения треугольника АОК ‒ ОК определяется как:
ОК = d/2 – Δ – 7,5 – 1 = 20 – 5 – 7,5 – 1 = 6,5 мм.
Sin угла АКО = ОА/АК.; Sin угла АКО = 6,5/20 = 0,325; Угол АКО = 190. Угол ОАК = 900 – 190 = 710. Оптимальный угол контакта КАМ равен 1420.
На рисунке 8 положение притира изображено справа от уплотнительной поверхности.
Fig. 8. Position of the lapper 3 to the right of the machined sealing surface
Предварительные расчеты показали, что площадь контакта и оптимальный угол контакта изменятся незначительно в пределах относительной погрешности 5…10 %.
Экспериментально установлено, что при настройке переносного станка более предпочтительным будет расположение притира 3 слева от обрабатываемой поверхности, так как схема, предложенная на рисунке 8, обладает рядом существенных недостатков:
- Увеличение плеча ОС инструментального диска примерно на 15…20 мм с учетом того, что он изготовлен из алюминиевого сплава, уменьшает жесткость инструментальной системы и повышает ее вибрации, что негативно влияет на качественные параметры обрабатываемой поверхности.
- Кроме того, это может привести к проблеме размещения инструментов на обрабатываемой уплотнительной поверхности деталей трубопроводной арматуры.
1 Сейнов С. В., Сейнов Ю. С., Мартынов А. Н. Технологии и оборудование для притирки уплотнений арматуры: технич. справочник. М.: Прондо, 2013. 250 с. URL: http://tpkom.com/book/book.php?ID=1414.5 (дата обращения: 30.08.2019).
2 Там же.
3 Там же.
Об авторах
Владимир Александрович Скрябин
Пензенский государственный университет
Автор, ответственный за переписку.
Email: vs_51@list.ru
ORCID iD: 0000-0001-7156-9198
ResearcherId: R-2385-2018
профессор кафедры технологий и оборудования машиностроения, доктор технических наук
Россия, 440000, г. Пенза, ул. Красная, д. 40Список литературы
- Адаменков А. К., Поваров В. П., Шаранов С. В. Диагностика электроприводной арматуры с использованием комплекса ПКСД-01 // Известия вузов. Северо-Кавказский регион. Технические науки. 2006. № 16. С. 23–27.
- Oren J. W. Design Considerations of Deflection in a Rigid Flange Gasket Joint // SAE Transactions.1983. Vol. 92. Pp. 817–828. URL: https://www.jstor.org/stable/44644415?seq=1#page_scan_tab_contents (дата обращения: 30.08.2019).
- Скрябин В. А., Павлова Ж. В. Модернизация переносного станка для шлифования и притирки уплотнительных поверхностей затворов задвижек трубопроводной арматуры // Ремонт, восстановление, модернизация. 2015. № 2. С. 8–13. URL: http://www.nait.ru/journals/number.php?p_number_id=2227 (дата обращения: 30.08.2019).
- Скрябин В. А., Желтова Ж. В. Определение траектории движения инструмента при абразивной доводке уплотнительных поверхностей деталей трубопроводной арматуры // Машиностроитель. 2015. № 5. С. 20–24.
- Скрябин В. А. Этапы обработки при восстановлении запорных деталей трубопроводной арматуры // Вестник Мордовского университета. 2016. Т. 26, № 2. С. 228–245. DOI: https://doi.org/10.15507/0236-2910.026.201602.228-245
- Sarda S. P., Le Tirant P., Baron G. Influence Des Contraintes Et De La Pression De Fluide Sur Le Cou Lement Dans Les Rocked Fissurees // Advances of Rock Mechanics. 1974. Vol. 2. Pp. 667–673.
- Gläser H. Eine Methode der näherungsweisen Berechnung der Dichtungskennwerte für Metalldichtungen der ND-Technik anhand mechanischer Ersatzmodelle – 4 Int. Dichtungstag. Dresden, 1970.Pp. 420–444.
- Gane N., Skinner J. The Friction and Scratch Deformation of Metals on a Micro Scale // Wear.2005. Vol. 24, Issue 2. Pp. 207–217. DOI: https://doi.org/10.1016/0043-1648(73)90233-0
- Macdonald I. F., El-Sayed M. S., Mow K., Dullien F. A. L. Flow through Porous Media-the Ergun Equation Revisited // Industrial & Engineering Chemistry Fundamentals. 1979. Vol. 18, no. 3.Pp. 199–208. DOI: https://doi.org/10.1021/i160071a001
- Поляков В. А., Шестаков Р. А., Комаров Д. Н. Комплексная параметрическая методика обнаружения утечек и несанкционированных врезок на трубопроводах // Трубопроводный транспорт: теория и практика. 2018. № 1 (65). С. 40–44.
- Исследование влияния эксплуатационных параметров на ресурс и герметичность затворного узла трубопроводной арматуры / В. К. Погодин [и др.] // Арматуростроение. 2004. № 5. С. 64–67.
- Krause H. Tribochemical Reactions in the Friction and Wearing Process of Iron // Wear. 1971.Vol. 18, Issue 5. Pp. 403–412. DOI: https://doi.org/10.1016/0043-1648(71)90004-4
- Огар П. М., Тарасов В. А., Ключев Е. А., Максимова О. В. Влияние толщины покрытия на упругую характеристику слоистого упругого полупространства // Механики XXI веку. 2007.С. 321–327.
- Адаменков А. К, Веселова И. Н., Рясный С. И. Метод выбора трубопроводной арматуры АЭС, подлежащей ремонту по техническому состоянию // Тяжелое машиностроение. 2008. № 10.С. 8–11.
Дополнительные файлы





























