The Results of the Experimental Study of Onions Separation Using a Rod Elevator with Asymmetric Installed Burners
- Authors: Sibirev A.V.1, Aksenov A.G.1, Mosyakov M.A.1
-
Affiliations:
- Federal Scientific Agroengineering Center VIM
- Issue: Vol 29, No 1 (2019)
- Pages: 91-107
- Section: Technologies and Means of Agricultural Mechanization
- Submitted: 05.09.2025
- Accepted: 05.09.2025
- Published: 12.09.2025
- URL: https://bakhtiniada.ru/2658-4123/article/view/308368
- DOI: https://doi.org/10.15507/2658-4123.029.201901.091-107
- ID: 308368
Cite item
Full Text
Abstract
Introduction. Existing machines for harvesting root crops and onions do not have efficient indicators describing separation of root crops that leads to incompliance with agrotechnical requirements to harvesting root crops. New methods should be found to increase quality of root crop separation, including the qualitative indicators, and to cut losses.
Materials and Methods. The article describes the design of a laboratory unit for determining qualitative indicators of the seed onion heap separation using a rod elevator with the asymmetric passive elliptical shaker and supporting roller. The authors describe the method and results of laboratory studies to determine qualitative indicators of seed onion heap separation at an experimental rod elevator.
Results. The results of the laboratory study of the rod elevator are cited and qualitative indices of seed onion heap separation are defined. The maximum completeness of separation of the seed onion heap is 98 %, when the forward speed of the web of the rod elevator is vel = 1.55–1.68 m/s, the supply of heap of onion-seeding QB = 19.7–27.1 kg/s and the interaxial distance between the passive elliptical shaker and the supporting roller is within the range of S = 0.29–0.42 m.
Discussion and Conclusion. The use of a rod elevator with the asymmetric elliptical shakers and supporting roller allows increasing the completeness of separation of seed onions by 20 % and to cut the bulb damage by 11 %, compared to symmetrical arrangement of the shakers.
Full Text
Введение
Качество работы машины для уборки корнеплодов и лука определяется в первую очередь работой выкапывающего рабочего органа, т. к. от его типа и технологических параметров зависят конструктивно-технологические параметры сепарирующих устройств [1].
Теоретическим и экспериментальным обоснованием технологического процесса сепарации корнеклубнеплодов и луковиц в разное время занимались С. Н. Борычев, Н. В. Бышов, Н. И. Верещагин, Н. Ф. Диденко, Н. Н. Колчин, Р. Р. Камалетдинов, К. З. Кухмазов, Н. П. Ларюшин, А. М. Ларюшин, Л. М. Максимов, А. А. Протасов, Э. С. Рейнгарт, Г. К. Рембалович, А. А. Сорокин, М. Б. Угланов, И. А. Успенский, Н. В. Фирсов, В. А. Хвостов, В. М. Цециновский, В. И. Шляхетский и другие ученые.
Известно, что качество сепарации корнеплодов, лука и картофеля зависит прежде всего от условий возделывания. Как правило, данные культуры возделываются на легких по механическому составу почвах с целью повышения качества сепарации и снижения тягового сопротивления уборочной машины при извлечении корнеплодов из почвы.
При уборке корнеплодов для повышения качества сепарации очень важно поддерживать почву в рыхлом (вспушенном) состоянии.
При подкапывании корнеплодов происходит совместное поступление на сепарирующие рабочие органы прочных почвенных комков, которые являются трудноотделимыми с щелевых рабочих органов уборочных машин и способствуют повреждению корнеплодов при взаимодействии с комками почвы [2], что приводит к ухудшению товарных качеств производимой продукции.
Наиболее распространенными корнеизвлекающими рабочими органами машин для уборки корнеплодов и лука являются подкапывающие лемехи.
Основным недостатком данных рабочих органов является повышенный забор почвенного пласта совместно с корнеплодами, что приводит к снижению качественных показателей сепарации товарной продукции на очистительных рабочих органах [3].
Альтернативой подкапывающим рабочим органам являются теребильные рабочие органы. Технологический процесс их работы характеризуется сниженным извлечением почвенных комков совместно с корнеплодами; однако данные рабочие органы обладают повышенными потерями извлекаемой продукции, т. к. при уборке некоторых видов овощных корнеплодов и луковиц происходит отмирание ботвы и, как следствие, объект захвата теребильным рабочим органом отсутствует.
Предпосылкой для разрешения возникшей противоречивой ситуации является оснащение сепарирующих поверхностей уборочных машин различными видами интенсификаторов сепарации, которые при увеличении полноты отделения корнеплодов от почвенно-растительных примесей также повышают степень повреждения сепарируемой продукции.
Целью работы является повышение качества сепарации корнеплодов, луковиц и картофеля на прутковом элеваторе с асимметрично установленными встряхивателями.
Обзор литературы
Анализ конструкций существующих машин для уборки корнеплодов и лука и изучение патентно-технической литературы позволили выявить недостатки в конструкции сепарирующих рабочих органов машин для уборки корнеплодов и луковиц [4], которые не позволяют обеспечить качественное выполнение технологического процесса сепарации товарной продукции.
Существует машина для уборки картофеля [5], состоящая из основных элементов, а именно подкапывающего лемеха 1, сепарирующего пруткового элеватора 2 и поддерживающих стержней 3 (рис. 1).
2 – сепарирующий прутковый элеватор; 3 – поддерживающие стержни
Fig. 1. General view of a machine for harvesting root crops:
1 – scrounging; 2 – separating rod elevator; 3 – supporting rods
Основной отличительной особенностью представленной выше уборочной машины является исполнение подкапывающего рабочего органа 1 (рис. 2) и сепарирующего пруткового элеватора 3 (рис. 3).
2 – подкапывающий элемент; 3 – щелевые отверстия предварительной сепарации
Fig. 2. General view of the digging body: 1 – ripping element;
2 – digging element; 3 – slotted preseparation apertures
Подкапывающий рабочий орган представляет собой комбинацию рыхлительного (1) и подкапывающего (2) элементов с щелевыми отверстиями предварительной сепарации 3, образованными рабочей поверхностью подкапывающего элемента 2.
Рыхлительный элемент (1) подкапывающего рабочего органа осуществляет предварительное рыхление подкапываемого почвенного пласта с целью сокращения поступления почвенных комков на сепарирующие рабочие органы, интенсифицируя процесс очистки корнеплодов от соизмеримых почвенных комков, а также снижая величину повреждений товарной продукции от соударений с почвенными комками на прутковом элеваторе уборочной машины.
Подкапывающий элемент 2 осуществляет извлечение корнеплодов из почвы с предварительной сепарацией через щелевые отверстия предварительной сепарации 3.
К недостаткам данного подкапывающего органа следует отнести повышенные потери корнеплодов через щелевые отверстия 3 подкапывающего элемента 2; кроме того, данное конструктивное исполнение подкапывающего рабочего органа не снижает величину повреждений сепарируемой продукции на прутковом элеваторе ввиду недостаточного рыхления почвенного слоя расположения корнеплодов.
Для интенсификации процесса сепарации вороха корнеплодов сепарирующая поверхность пруткового элеватора выполнена с расположенными на прутках 1 стержнями 2 (рис. 3).
Основным назначением стержней является разрушение почвенных комков, поступающих с подкапывающего рабочего органа уборочной машины. Однако, кроме процесса разрушения непосредственно почвенных комков, происходит интенсивное силовое воздействие стержней 2 на корнеплоды, что повышает степень повреждения сепарируемой продукции.
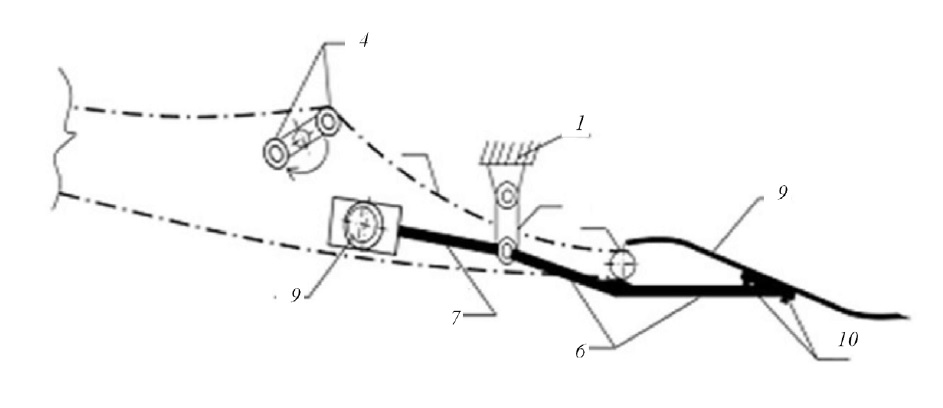
Известна конструкция сепарирующего пруткового элеватора (рис. 4), интенсификатором сепарации в котором является пассивный двухплечиковый встряхиватель 4, расположенный под верхней ветвью полотна пруткового элеватора 3 [6].
1 – рама; 2 – тяга; 3 – прутковый элеватор; 4 – двухплечиковый встряхиватель;
5 – поддерживающий ролик; 6 – кронштейн крепления; 7 – промежуточный кронштейн;
Fig. 4. The scheme of separating bar elevators: 1 – frame; 2 – thrust; 3 – bar elevator;
4 – double-shoulder shaker; 5 – support roller; 6 – mounting bracket;
7 – intermediate bracket; 8 – eccentric shaft; 9 – scrounging; 10 – bracing
Кроме того, передняя часть полотна пруткового элеватора со стороны подкапывающего лемеха 9 совершает колебания в вертикальной плоскости при воздействии кронштейна крепления 6 подкапывающего лемеха 9 на поддерживающий ролик 5, что обеспечивает дополнительное силовое воздействие на почвенный пласт и тем самым интенсифицирует процесс сепарации почвенно-растительных примесей.
К недостаткам данной конструкции пруткового элеватора следует отнести повышенное повреждение корнеплодов при переходе с одного каскада на другой, а также невозможность рассредоточения вороха корнеплодов по всей ширине транспортера.
Анализ технических средств механизированной уборки корнеплодов позволяет сделать вывод о том, что функционирующие элементы уборочной машины с различными типами интенсификаторов сепарации не обеспечивают качественные показатели уборки корнеплодов по таким показателям, как полнота сепарации и повреждение корнеплодов.
Материалы и методы
Исследования проведены в соответствии с методикой СТО АИСТ 8.7-2013 «Испытания сельскохозяйственной техники. Машины для уборки овощных и бахчевых культур. Методы оценки функциональных показателей»1.
Для обеспечения качественных показателей сепарации корнеплодов и луковиц разработан сепарирующий транспортер корнеклубнеуборочной машины (патент РФ на изобретение № 2638190 [7‒9]), изображенный на рис. 5.
встряхивателей: 1 – рама; 2 – прутковый элеватор; 3 – ведущий ролик; 4 – ведомый ролик;
5 – поддерживающий ролик; 6 – встряхиватель
Fig. 5. The scheme of a separating rod elevator with asymmetrical arrangement of shakers: 1 – frame;
2 – bar elevator; 3 – driving roller; 4 – driven roller; 5 – support roller; 6 – shaker
Сепарирующий транспортер машины для уборки корнеплодов и лука содержит раму 1 с прутковым элеватором 2, под верхней ветвью которого установлены ведущие 3, ведомые 4 и поддерживающие 5 ролики и встряхиватели 6. Встряхиватели 6 и поддерживающие ролики 5 расположены по обеим сторонам пруткового элеватора с чередованием по длине и ширине и несовпадением фаз их подъема и опускания противоположных сторон пруткового элеватора 2.
При данном расположении встряхивателей 6 и поддерживающих роликов 5 на сепарирующем транспортере обеспечивается щадящий режим сепарации корнеплодов при повышении качества сепарации в результате увеличения пути и времени взаимодействия корнеплодов с поверхностью пруткового элеватора 2 за счет бокового перемещения сепарируемого продукта при минимальном повреждении. Данное обстоятельство обеспечивается режимом работы встряхивателей 6, расположенных под противоположными сторонами пруткового элеватора 2 в противофазе. При этом ворох корнеплодов и луковиц совершает перемещение с противоположных сторон расположения встряхивателей 6 под прутковым элеватором 2 к стороне расположения поддерживающих роликов 5 (рис. 6).
с асимметричным расположением встряхивателей
Fig. 6. Technological process of work scheme of a separating rod elevator
with asymmetrical arrangement of shakers
Сепарирующий транспортер корнеклубнеуборочной машины работает следующим образом. Ворох корнеплодов с подающего транспортера или с подкапывающего рабочего органа поступает на прутковый элеватор 2. По мере продвижения вороха по прутковому элеватору 2 происходит подъем стороны 7 пруткового элеватора 2 встряхивателем 6. Подъем и дальнейшее перемещение вороха достигается в результате приобретения ускорения, сообщаемого встряхивателем 6 прутковому элеватору 2, которое больше ускорения свободного падения. В результате подъема встряхивателем 6 стороны пруткового элеватора 2 и опускания противоположной стороны ворох корнеплодов совершает перемещение от стороны расположения встряхивателей 6 к стороне расположения поддерживающих роликов 5, что обеспечивает смещение вороха к центру пруткового элеватора 2 под углом α к горизонту и приводит к деформации почвенного пласта путем его излома и разрыхления, а также равномерному распределению вороха по всей ширине рабочей поверхности пруткового элеватора 2 и улучшению процесса сепарации. Для определения качественных показателей сепарации вороха корнеплодов, а именно луковиц лука-севка сорта «Штутгартер Ризен», на прутковом элеваторе с установленными пассивным эллиптическим встряхивателем и поддерживающим роликом была изготовлена лабораторная установка, общий вид которой представлен на рис. 7.
14 – плита опорная; 15 – фильтр сетевой
Fig. 7. General view of the laboratory installation for determining the influence
of the technological parameters of a separating rod elevator with the asymmetric arrangement
of the shakers on the qualitative indicators of heap separation: 1 – frame; 2 – container
for preliminary placement of heaps; 3 – separating rod elevator; 4 – elliptical shaker; 5 – cylindrical roller;
6 – canvas of separated products; 7 – electric motor; 8 – single-stage reducer; 9 – frequency converter;
10 – transmission chain; 11 – support pillars; 12 – shaker stands; 13 – bracket connecting;
14 – support plate; 15 – network filter
Определены следующие качественные показатели сепарации:
– повреждения луковиц лука-севка (формула 1);
– полнота сепарации вороха лука-севка [10].
Повреждения луковиц определялись по формуле:
(1)
где GПОВ ‒ масса поврежденных стандартных луковиц в ворохе, кг; GСТ ‒ масса сепарируемых луковиц в ворохе, кг.
Полноту сепарации вороха лука-севка определяли по формуле:
(2)
где ‒ масса почвенных примесей в исходном ворохе, кг; ‒ масса почвенных примесей в контейнере (невыделенные примеси), кг.
Состав вороха и основные физико-механические свойства его компонентов были выбраны с учетом результатов полевых исследований, проведенных в 2015–2016 гг. в АО «Озеры» (Московская область) при влажности почвы 18 %: луковицы лука-севка – 65 %; примеси – 35 %, в т. ч.:
– растительные примеси – 5 %;
– мелкие почвенные примеси – 15 %;
– комки почвы, сравнимые по размерам со стандартной фракцией луковиц лука-севка (поперечный размер) – 10 %;
– комки почвы, имеющие больший поперечный размер – 5 %.
С целью определения уровня значимости каждого фактора, оказывающего влияние на выбранный критерий оптимизации – полноту сепарации вороха лука-севка – проводился отсеивающий эксперимент.
Выявление небольшого количества наиболее значимых факторов позволило облегчить дальнейшее изучение и описание процесса сепарации экспериментальным прутковым элеватором, которые могут быть проведены с применением методов математической теории планирования эксперимента.
После проведения отсеивающего эксперимента были поставлены поисковые опыты по определению наиболее перспективного вида встряхивающего устройства, обеспечивающего высокие качественные показатели сепарации. С этой целью под полотном пруткового элеватора установлены исследуемые встряхиватели, а именно трехкулачковые и эллиптические, и проведены исследования в соответствии с планом эксперимента.
Результаты исследования
Анализ результатов отсеивающих экспериментов проведен путем построения диаграмм рассеяния. Результаты проведения отсеивающего эксперимента после внесения корректировок представлены на рис. 8.
Fig. 8. The diagrams of scattering of observation results after adjustments
Все факторы с уровнями их варьирования нанесены по оси абсцисс, опытные значения критерия оптимизации – по оси ординат. Визуальным наблюдением по количеству выделяющихся точек на диаграмме рассеяния оценивался уровень влияния фактора на критерий оптимизации, по результатам проведения которого были выбраны три основных значимых фактора: x1 ‒ поступательная скорость движения пруткового элеватора, м/с; x2 ‒ подача вороха лука-севка, кг/с; x3 ‒ межосевое расстояние между пассивным встряхивателем и поддерживающим роликом, м.
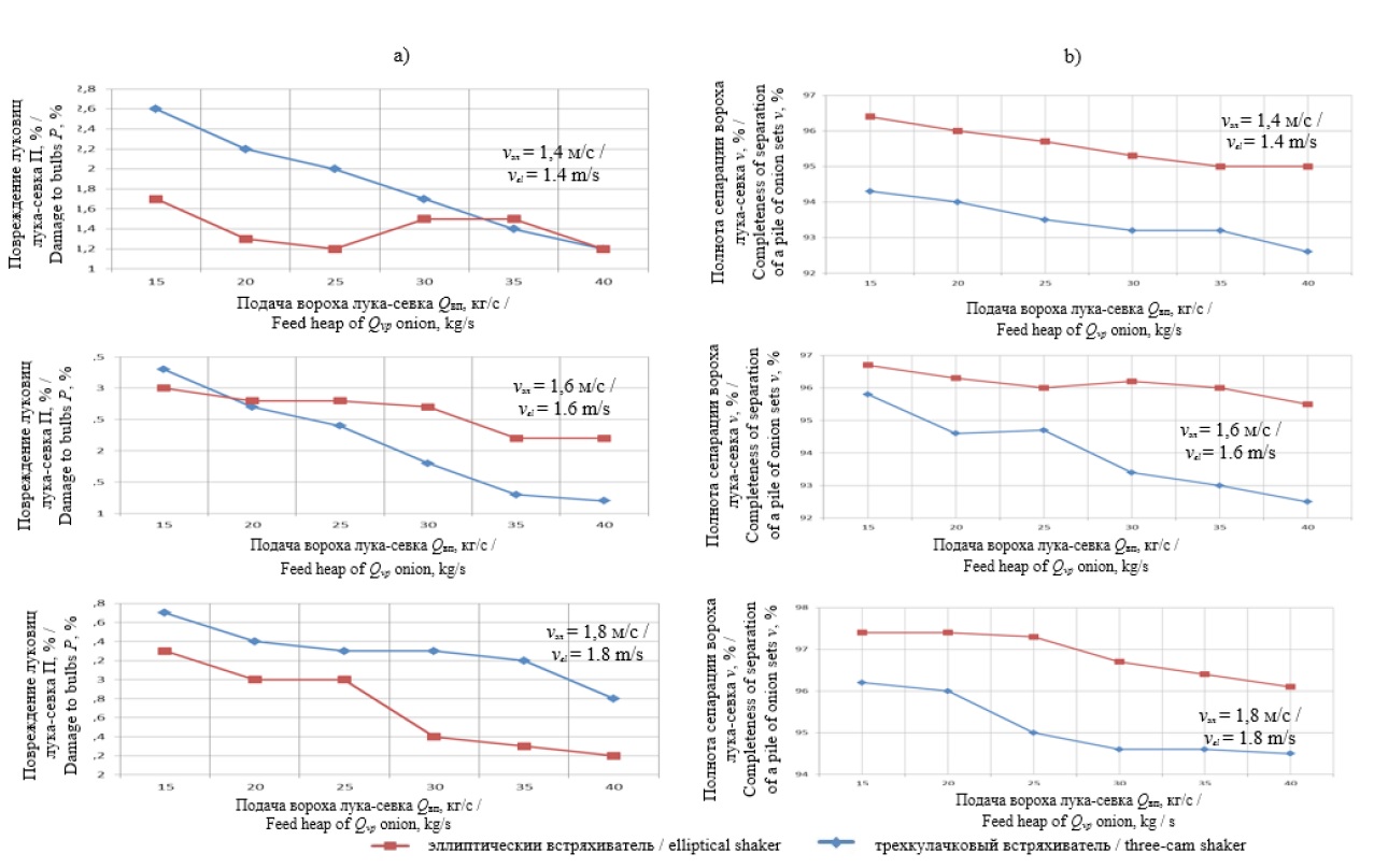
Результаты проведенных поисковых исследований представлены в табл. 1 и 2 и на рис. 9.
Таблица 1 Результаты поисковых исследований по определению повреждений луковиц лука-севка
в зависимости от типа встряхивателя, расположенного под прутковым элеватором
Table 1 The results of exploratory studies to determine the damage of onions,
depending on the type of shaker, located under the bar elevator
Подача вороха лука-севка, кг/с /Giving of lots of onions, kg/s | Сепарирующий прутковый элеватор / Separating bar elevator | |||||
Эллиптический встряхиватель /Elliptical shaker | Трехкулачковый встряхиватель /Three-cam shaker | |||||
Поступательная скорость движения пруткового элеватора, м/с /The progressive speed of the movement of the rod elevator, m/s | ||||||
1,4 | 1,6 | 1,8 | 1,4 | 1,6 | 1,8 | |
15 | 1,7 | 3,0 | 3,3 | 2,6 | 3,3 | 3,3 |
20 | 1,3 | 2,8 | 3,0 | 2,2 | 2,7 | 3,0 |
25 | 1,2 | 2,8 | 3,0 | 2,0 | 2,4 | 3,0 |
30 | 1,5 | 2,7 | 2,4 | 1,7 | 1,8 | 2,4 |
35 | 1,5 | 2,2 | 2,3 | 1,4 | 1,3 | 2,3 |
40 | 1,2 | 2,2 | 2,2 | 1,2 | 1,2 | 2,2 |
Таблица 2 Результаты поисковых исследований по определению полноты
сепарации вороха лука-севка в зависимости от типа встряхивателя,
расположенного под прутковым элеватором
Table 2 The results of exploratory studies to determine the completeness of separation
of seed onion heap, depending on the type of a shaker, located under the bar elevator
Подача вороха | Сепарирующий прутковый элеватор / Separating bar elevator | |||||
Эллиптический встряхиватель /Elliptical shaker | Трехкулачковый встряхиватель /Three-cam shaker | |||||
Поступательная скорость движения пруткового элеватора, м/с /The progressive speed of the movement of the rod elevator, m/s | ||||||
1,4 | 1,6 | 1,8 | 1,4 | 1,6 | 1,8 | |
15 | 96,4 | 96,7 | 97,4 | 94,3 | 95,8 | 96,2 |
20 | 96,0 | 96,3 | 97,4 | 94,0 | 94,6 | 96,0 |
25 | 95,7 | 96,0 | 97,3 | 93,5 | 94,7 | 95,0 |
30 | 95,3 | 96,2 | 96,7 | 93,2 | 93,4 | 94,6 |
35 | 95,0 | 96,0 | 96,4 | 93,2 | 93,0 | 94,6 |
40 | 95,0 | 95,5 | 96,1 | 92,6 | 92,5 | 94,5 |
а) повреждение луковиц лука-севка; b) полнота сепарации вороха луковиц лука-севка
Fig. 9. Dependence of quality indicators of separation of a pile of onions by soil on the type of shaker:
a) damage to onions; b) completeness of separation of seed onion heap
Анализ проведенных поисковых исследований позволяет заключить, что с увеличением поступательной скорости движения пруткового элеватора происходит повышение полноты сепарации и повреждений луковиц вне зависимости от подачи вороха лука-севка и используемого вида встряхивателя.
Однако качественные показатели сепарации вороха лука-севка на прутковом элеваторе с эллиптическими встряхивателями выше, чем у элеватора, оснащенного трехкулачковыми встряхивателями.
Данная тенденция наблюдается как при увеличении скорости движения пруткового элеватора в интервале от 1,4 до 1,8 м/с, так и при увеличении подачи вороха от 15 до 40 кг/с по полноте сепарации вороха до 3,5 % и повреждениям луковиц до 3,8 %.
Результаты проведенных поисковых исследований отражают перспективность дальнейшего изучения эллиптических встряхивателей по повышенному показателю качества сепарации вороха лука-севка и минимальным повреждениям луковиц.
Результаты многофакторного эксперимента обрабатывались в компьютерной программе «STATISTICA 6.0»; были получены значения функций отклика – полнота сепарации вороха лука-севка при варьировании факторов – и адекватная математическая модель (формула 3), описывающая зависимость качества сепарации вороха лука-севка ν = f(vэл, QВп, S) в закодированном виде от выбранных факторов:
(3)
Подставляя попеременно значения x1, x2, x3 = 0 в уравнение (3), получаем двухмерные сечения поверхности отклика, характеризующего показатель качества сепарации вороха лука-севка в зависимости от выбранных факторов, представленный системой уравнений:
(4)
При дифференцировании системы уравнений (4) определяем координаты центра поверхности отклика в зависимости от выбранных факторов в закодированном и раскодированном видах (табл. 3), после подстановки которых получаем значения функции отклика в центре поверхности. Двухмерные сечения поверхности отклика строились на основании данных из табл. 1 и представлены на рис. 10–12.
Таблица 3 Координаты центра поверхности отклика
Table 3 The center coordinates of the response surface
Координаты центра поверхности отклика / Coordinates of the response surface center | Функции отклика в центре поверхности / | |
Закодированный вид / Encoded view | Раскодированный вид / Decoded view | |
x2 = 0,349 | QВп = 21,69 кг/с / Qvp = 21.69 kg/s | Ys = 98,55 |
x3 = 0,472 | S = 0,37 м / S = 0.37 m | |
x1 = 0,05 | vЭЛ = 1,63 м/с / vEL = 1.63 m/s | Ys = 98,68 |
x3 = 0,445 | S = 0,33 м / S = 0.33 m | |
x1 = 0,13 | vЭЛ = 1,62 м/с / vEL = 1,62 m/s | Ys = 98,51 |
x2 = 0,18 | QВп = 23,8 кг/с / Qvp = 23,8 kg/s | |
сепарации вороха лука-севка от подачи вороха лука-севка (кг/с) и межосевого расстояния
между пассивным встряхивателем и поддерживающим роликом (м)
of the completeness of the onion-shear separation from the infeed of the onion-seed heap (kg/s)
and the interaxial distance between the passive shaker and the supporting roller (m)
полноты сепарации вороха лука-севка от поступательной скорости движения полотна
пруткового элеватора (м/с) и межосевого расстояния между пассивным встряхивателем
и поддерживающим роликом (м)
of the completeness of the seed onion heap separation from the translational velocity of the web
of the rod elevator (m/s) and the interaxial distance between the passive shaker and supporting roller (m)
сепарации вороха лука-севка от поступательной скорости движения полотна
пруткового элеватора (м/с) и подачи вороха лука-севка (кг/с)
Fig. 12. Two-dimensional cross-section of the response surface, characterizing the dependence
of the completeness of the onion-shear separation from the translational velocity of the web
of the rod elevator (m/s) and the feeding of the onion-seed heap (kg/s)
Уравнение (4) с учетом значимости коэффициентов регрессии можно представить в следующем виде:
(5)
Обсуждение и заключение
Результаты экспериментальных лабораторных исследований сепарирующего пруткового элеватора с асимметрично установленными пассивным эллиптическим встряхивателем и поддерживающим роликом позволяют сделать выводы о том, что максимальная полнота сепарации вороха лука-севка составляет 98 % при поступательной скорости движения полотна пруткового элеватора vЭЛ =1,55–1,68 м/с, подаче вороха лука-севка QВп = 19,7–27,1 кг/с и межосевом расстоянии между пассивным эллиптическим встряхивателем и поддерживающим роликом в пределах S = 0,29–0,42 м.
1 СТО АИСТ 8.7-2013. Испытания сельскохозяйственной техники. Машины для уборки овощных и бахчевых культур. Методы оценки функциональных показателей. М., 2014. III, 81 с. URL: http://docs.cntd.ru/document/555625983
About the authors
Alexey V. Sibirev
Federal Scientific Agroengineering Center VIM
Author for correspondence.
Email: sibirev2011@yandex.ru
ORCID iD: 0000-0002-9442-2276
ResearcherId: M-6230-2016
Senior Researcher, Chair of Technology and Machines in Vegetable Production, Ph.D. (Engineering)
Russian Federation, 5 1st Institutskiy Proyezd, Moscow 109428Aleksandr G. Aksenov
Federal Scientific Agroengineering Center VIM
Email: 1053vim@mail.ru
ORCID iD: 0000-0002-9546-7695
ResearcherId: V-5572-2017
Head, Chair of Technology and Machines in Vegetable Production, Ph.D. (Engineering)
Russian Federation, 5 1st Institutskiy Proyezd, Moscow 109428Maxim A. Mosyakov
Federal Scientific Agroengineering Center VIM
Email: mosyak88maks67@mail.ru
ORCID iD: 0000-0002-5151-7312
ResearcherId: A-8482-2019
Junior Researcher, Laboratory of Technology Development and Machines for
Tillage
References
- Haverkort A.J., Struik P.C. Potato in progress: science meets practice. Wageningen: Wageningen Academic Publishers, 2005.
- Mayer V., Vejchar D., Pastorková L. Measurement of potato tubers resistance against mechanical loading. Research in Agricultural Engineering. 2008; 54(1):22-31. Available at: http://www.agriculturejournals.cz/publicFiles/00885.pdf
- Dongre A.U., Battase R., Dudhale S., Patil V.R., Chavan D. Development of potato harvesting model. International Research Journal of Engineering and Technology (IRJET). 2017; 4(10):1567-1570.Available at: https://www.irjet.net/archives/V4/i10/IRJET-V4I10288.pdf
- Farhadi R., Sakenian N., Azizi P. Design and construction of rotary potato grader. Bulgarian Journal of Agricultural Science. 2012; 18(2):304-314. Available at: http://www.agrojournal.org/18/02-21-12.pdf
- Asghar M.T., Ghafoor A., Munir A., Iqbal M., Ahmad M. Design modification and field testing of groundnut digger. Asian Journal of Science and Technology. 2014; 5(7):389-394. Available at: https://www.researchgate.net/publication/274373280_DESIGN_MODIFICATION_AND_FIELD_TESTING_OF_GROUNDNUT_DIGGER
- Natenadze N. The design and theoretical justification of a vibratory digger shovel. Mechanization in Agriculture. 2016; 62(1):9-11. Available at: http://stumejournals.com/journals/am/2016/1/9/pdf
- Sibiryov A.V., Aksenov A.G., Kolchin N.N., Ponomarev A.G., inventors. Federal State Budgetary Scientific Institution “Federal Scientific Agroengineering Center VIM”, assignee. Separating conveyor of the harvesting machine. RU Patent 2638190. 2017 Dec 12. Available at: http://www1.fips.ru/fips_servl/fips_servlet?DB=RUPAT&DocNumber=2638190&TypeFile=html (In Russ.)
- Sibiryov A.V., Aksenov A.G., Mosyakov M.A. Determining design and technological parameters of the separating rod conveyor with assymetrical shakers. Vestnik Federalnogo gosudarstvennogo obrazovatelnogo uchrezhdeniya vysshego professionalnogo obrazovaniya «Moskovskiy gosudarstvennyy agroinzhenernyy universitet imeni V. P. Goryachkina» = Vestnik of the Federal State Educational Institution of Higher Professional Education “Moscow State Agroengineering University named after V.P. Goryachkin”.2018; 4:15-20. DOI: https://doi.org/10.26897/1728-7936-2018-4-15-20 (In Russ.)
- Sibirev A.V., Аksenov A.G., Dorokhov A.S. Proximate design of onion harvester separating surface.Selskokhozyaystvennyye mashiny i tekhnologii = Agricultural Machinery and Technologies. 2018;12(3):28-31. DOI: https://doi.org/10.22314/2073-7599-2018-12-3-28-31 (In Russ.)
- Laryushin A.M. Qualitative indicators of the digging device of an onion harvesting machine. Traktory i selskokhozyaystvennyye mashiny = Tractors and Agricultural Machines. 2008; 3:46-47. (In Russ.)
Supplementary files






























