Study of a Stripper Header for Grain Harvesting as a Vibrating System
- Authors: Savin V.Y.1
-
Affiliations:
- Kaluga Branch of Bauman Moscow State Technical University
- Issue: Vol 31, No 3 (2021)
- Pages: 403-413
- Section: Technologies and Means of Agricultural Mechanization
- Submitted: 01.08.2025
- Accepted: 01.08.2025
- Published: 30.09.2021
- URL: https://bakhtiniada.ru/2658-4123/article/view/303577
- DOI: https://doi.org/10.15507/2658-4123.031.202103.403-413
- ID: 303577
Cite item
Full Text
Abstract
Introduction. Grain losses caused by stripping defects are the main problem to be solved in designing a stripper header. To reduce these losses, a design of a stripper header with a vibration drive is proposed. This device combines the processes of stripping grain crops and the vibration effect of the stripping fingers upon the ears of plants. The most important stage of the mathematical description of these processes is composing the differential equation of the stripping fingers motion.
Materials and Methods. A computational-graphic diagram of an oscillatory system with one degree of freedom is proposed. To compose the differential equation of the stripping fingers motion, a method based on the application of the Lagrange equation was used. The oscillations of the system under studying arise from the motion of a point in the system according to a given law. The problem of kinematic excitation is reduced to the problem of force perturbation. This stage of the study was carried out without taking into account the resistance forces.
Results. An equation for motion of stripping fingers making vibrational reciprocating movements is obtained. It is proposed to select the elastic element in the design scheme and consider a more general case of the stripping fingers movement. In this case, the movement of the stripping fingers is considered to be difficult.
Discussion and Conclusion. Forced oscillations of a system without resistance, excited by a harmonic disturbing force, are harmonic oscillations with constant amplitude. On close values of the angular frequency of vibration of the drive output link and the root of the ratio of the stiffness coefficient of the elastic element to the stripping fingers mass, the case of resonance takes place. The system parameters must be selected so as to avoid this negative phenomenon.
Full Text
Введение
Одним из перспективных нетрадиционных способов уборки зерновых культур является уборка с использованием устройства, очесывающего растения на корню. Способ известен достаточно давно, но именно сейчас получает развитие. Жатки очесывающего типа к зерноуборочным комбайнам пока не получили широкого распространения, но уже выпускаются серийно в России и за рубежом [1–3].
Пропускную способность комбайна ограничивают соломотряс и очистка. Уменьшение подачи соломы оптимизирует процессы сепарации и очистки и создает предпосылки для увеличения производительности зерноуборочного комбайна [4]. Высокое содержание свободного зерна в очесанном ворохе дает предпосылки для создания перспективных малогабаритных прицепных очесывающих устройств для уборки зерновых [5; 6].
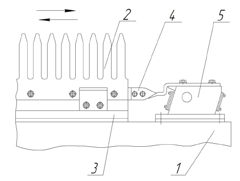
Основной проблемой, которую необходимо решать при разработке, являются потери зерна неочесом. Для снижения потерь мы предлагаем конструкцию очесывающего аппарата с виброприводами (рис. 1) [7].
Рис. 1. Очесывающий аппарат с вибрационным возвратно-поступательным движением гребенок
Fig. 1. Stripping device with vibrating reciprocating motion of stripping fingers
Данное устройство совмещает очес зерновых культур и вибрационное воздействие гребенок на колос растений. Основными составляющими очесывающего аппарата являются барабан 1 с кронштейнами 3, гребенки 2, виброприводы 5. Кронштейны 4 соединяют гребенки, собранные на брусьях, с виброприводами 5.
В процессе захвата растений и очеса колосьев гребенки в направляющих совершают вибрационные возвратно-поступательные движения с определенной частотой и амплитудой. Колебательные движения облегчают внедрение гребенок в стеблестой. Кроме того, колосья растений воспринимают вибрационное воздействие гребенок, что способствует более полному выделению зерна из колоса.
Определение и оптимизация параметров рабочего процесса очеса зерновых культур предполагают создание математической модели процесса. Важнейшим этапом математического описания данного колебательного процесса является составление дифференциального уравнения движения гребенки.
Цель исследования – составление расчетной схемы и дифференциального уравнения движения очесывающей гребенки, совершающей вибрационные возвратно-поступательные движения.
Обзор литературы
Прочность связи зерна с колосом неравномерна по длине колоса. Менее прочно связаны с колосом зерна, расположенные в средней части. Данные факторы обуславливают потери зерна неочесом при работе очесывающих устройств. В одной из работ приведены данные по общим потерям зерна и потерям неочесом при использовании адаптеров различной конструкции [8]. Так, после внедрения адаптера фирмы Shelbourne Reynolds потери зерна неочесом изменялись в диапазоне 0,32–0,97 %. При этом они возрастали пропорционально скорости комбайна. Потери неочесом на хлебах с полеглостью 80 % достигали 3,15 %. Необходимо также отметить данные по потерям зерна в оборванных колосьях при работе адаптера конструкции ЦНИИМЭСХ, разработанного совместно с ФГБНУ «Федеральный научный агроинженерный центр ВИМ». Указанные потери зерна изменялись в пределах 0,40–4,52 %.
В другой работе приведены результаты экспериментальных исследований при уборке овса и пшеницы методом очеса. При этом отмечено, что рабочая скорость комбайна при уборке овса выше, чем при уборке пшеницы. Это зависит от более прочной связи зерна пшеницы с колосом. В то же время отмечена более прочная связь метелки овса со стеблем, чем колоса пшеницы с растением [9].
В результате анализа указанных исследований можно отметить важность снижения усилия очеса растений и улучшение процесса отделения зерен от колосьев. Это дает предпосылки не только для снижения потерь неочесом, но и для снижения потерь зерна в оборванных колосьях, так как основной причиной данного процесса остается превышение усилия отделения зерна над обрывом колоса. Использование очесывающего аппарата с виброприводами позволит снизить указанные потери.
Был произведен обзор литературных источников, посвященных использованию вибропроводов в промышленности, на путевых машинах. Кроме того, рассмотрены методики описания движения механических систем в рамках теории колебаний.
Рассмотрены конструктивные особенности и режимы работы вибрационных машин. Отмечено, что виброприводы современных транспортирующих механизмов и машин выдают прямолинейные гармонические колебания [10].
Основными рабочими органами путевых выправочно-подбивочно-рихтовочных машин являются подбивочные блоки. Подбойки подбивочных блоков внедряются в балласт и производят его обжатие. Подбойки колеблются с частотой 35 Гц. Это упрощает их внедрение в балласт и придает ему подвижность, необходимую для уплотнения [11]. Гидропривод машины обеспечивает вращение эксцентрикового вибровала, движение кривошипного механизма и, соответственно, вибрацию подбоек.
Анализируется проблема избыточного вибровоздействия, приводящего, в том числе, и к разрушению балласта [12].
Автор следующей статьи вводит понятие «время вибровоздействия» применительно к путевым машинам и балласту. Отмечено, что увеличение времени вибровоздействия является резервом повышения качества подбивки балласта. Отмечена зависимость величины передаваемой энергии от частоты вибрации. Значительно возрастает передаваемая на балласт энергия при переходе от частоты вибровоздействий в 45 Гц к частоте в 35 Гц [13].
Другая статья посвящена проблематике резания полимерных композиционных материалов. Такие материалы обладают специфической структурой, а также анизотропией свойств, значительно усложняющих их механическую обработку. Можно добиться значительного повышения качества обработки и снижения сил резания (до 80 %), используя комбинацию традиционного сверления и вибрационного воздействия на заготовку в ультразвуковом диапазоне. Одним из факторов, обеспечивающих указанные эффекты, является значительное улучшение процесса стружкообразования [14].
Аналогичный прием предложен для обработки глинозема. Указывается, что ротационная ультразвуковая обработка – один из наиболее эффективных методов для хрупких материалов. Также отмечены снижение силы резания и негативное влияние на процесс резания боковой вибрации. Предложена методика ее минимизации [15].
Положения рассмотренных выше работ [14; 15] позволяют предложить гипотезу о снижении сил очеса растений при использовании очесывающего аппарата с виброприводами.
Исследованы усилия очеса при использовании аппарата традиционной конструкции [16]. Вопросы прочности связи зерна с колосом рассмотрены в другой работе [17]. Подтверждение или опровержение предложенной гипотезы в теоретической плоскости возможно только при подробном математическом описании колебательного процесса очеса.
Авторы анализируют преимущества и конструктивные особенности бесшатунных механизмов преобразования движения. Составлена кинематическая схема, получены основные уравнения кинематики и динамики механизма, а также предложена методика определения степени влияния параметров системы на кинематические и динамические характеристики механизма. При этом отмечена необходимость уравновешивания сил инерции и их моментов [18].
Рассмотрены особенности математического описания колебательных процессов под действием внешних сил. Внимание уделено методологии определения и представления механической мощности и ее составляющих. Инерционная мощность отмечена как характерная для вибромашин. Проведена аналогия между механическими и электрическими составляющими мощности [19].
Материалы и методы
Важнейшим этапом построения расчетной схемы является определение числа степеней свободы системы. Так как гребенка движется в направляющих, ограничивающих ее продольное перемещение, она работает только в поперечном направлении. Данная система может рассматриваться как имеющая одну степень свободы.
Предложенная расчетно-графическая схема колебательной системы представлена на рисунке 2. После выбора расчетной схемы составим уравнения движения системы.
Рис. 2. Расчетно-графическая схема колебательной системы
Fig. 2. Calculation and graphic diagram of an vibrating system
Наиболее общим является метод, предполагающий использование уравнения Лагранжа II рода. Оно является дифференциальным уравнением второго порядка:
, (1)
где Т – кинетическая энергия колебательной системы; x – обобщенная координата колебательной системы; QП – обобщенная сила потенциальных сил; QФ – обобщенная сила от действия сил сопротивления; QВ – обобщенная сила от возмущающих сил.
Рассматриваемая система совершает вынужденные колебания. В данном случае они вызываются не заданными силами, а возникают благодаря приведению в движение по заданному закону точки системы, то есть точки на гребенке. Такое возбуждение будет являться кинематическим. При этом задачу о кинематическом возбуждении нетрудно свести к задаче о силовом возмущении. На данном этапе составления расчетной схемы пренебрегаем силами трения и силами сопротивления, связанными с воздействием на колос.
При составлении уравнения Лагранжа на первом этапе вычисляем кинетическую энергию системы.
Результаты исследования
Запишем выражение для кинетической энергии гребенки:
(2)
где m – масса гребенки, V – скорость гребенки.
Имеем:
; ; .
Так как выходное звено вибратора совершает гармонические колебания, то
, (3)
где ω – угловая частота колебаний выходного звена вибропривода; δ – начальная фаза колебаний.
В этом случае
. (4)
В данном уравнении роль обобщенной силы выполняет величина .
Перепишем уравнение (4) в следующем виде:
, (5)
где
. (6)
В уравнении (6) H – постоянная, характеризующая обобщенную силу и являющаяся ее амплитудой.
Как видно из уравнения (6), в нашем случае при кинематическом возбуждении заданием движения гребенки H пропорционально ω2.
Уравнение (5) будет являться дифференциальным уравнением движения гребенки, совершающей вибрационные возвратно-поступательные движения.
Если рассматривать кронштейн 4 (рис. 1) как упругий элемент, уравнение движения гребенки будет иным. Расчетно-графическая схема для данного случая представлена на рисунке 3. При составлении расчетной модели учтем силы сопротивления при движении гребенки и очесе зерновых культур.
Рис. 3. Расчетно-графическая схема колебательной системы с упругим элементом
Fig. 3. Calculation and graphic diagram of an vibrating system with an elastic element
Составим уравнение Лагранжа для гребенки относительно подвижной системы отсчета Оxy, начало которой движется вместе с точкой А так, что ОА при движении остается постоянным.
В данном случае в уравнении (1) появляется обобщенная сила потенциальных сил QП:
, (7)
где П – потенциальная энергия системы; с – коэффициент жесткости упругого элемента.
Силу сопротивления запишем следующим образом:
, (8)
где Ф – обобщенная сила сил сопротивления при движении гребенки и очесе; μ – коэффициент сопротивления.
Движение гребенки в данном случае будем рассматривать как сложное, состоящее из переносного вместе с точкой A и относительного по отношению к подвижной системе координат Оxy.
Кинетическая энергия гребенки в данном случае будет равна:
. (9)
Для производных от кинетической энергии имеем:
; ;
Подставляя полученные выражения в уравнение (1), получим:
или
(10)
В данном уравнении роль обобщенной силы выполняет величина −mz.
С учетом (3) уравнение (10) примет вид:
mẍ + μẋ + cx = mz0ω2sin(ωt + δ). (11)
Уравнение (11) и будет являться дифференциальным уравнением движения гребенки при наличии упругого элемента.
Выделим постоянную H, характеризующую обобщенную силу, по аналогии с уравнением (5):
. (12)
Здесь величина H, так же как и в уравнении (6), пропорциональна ω2.
Тогда mẍ + μẋ + cx = H sin(ωt + δ). (13)
Для приведения уравнения (13) к стандартному виду разделим обе части на m и введем обозначения ; ; .
Дифференциальное уравнение вынужденных колебаний в окончательной форме будет иметь следующий вид:
. (14)
Для решения дифференциального уравнения (14) воспользуемся пакетом прикладных программ MATLAB.
Аналитическая запись решения будет иметь следующий вид:
(15)
где
Вид кривой колебаний будет зависеть от соотношения k и ω. При близких значениях √k и ω имеет место случай резонанса, то есть совпадение частот собственных колебаний и возмущающей сил. Наличие сопротивления определяет следующую особенность протекания резонансных явлений: амплитуда колебаний остается постоянной, а не изменяется с течением времени.
Вынужденные колебания очесывающей гребенки при √k ≠ ω будут являться гармоническими колебаниями с постоянной амплитудой. Частота колебаний гребенки будет совпадать с частотой возмущающей силы или, применительно к нашему случаю, с частотой колебания выходного звена вибропривода.
Обсуждение и заключение
Предложена расчетная модель для описания движения гребенок очесывающего аппарата с виброприводом. Получено уравнение движения гребенки, совершающей вибрационные возвратно-поступательные движения.
Предложено в расчетной схеме выделить упругий элемент и получить более общий случай движения очесывающей гребенки и, соответственно, более общее математическое описание данного движения. Движение гребенки в данном случае рассмотрено как сложное. Характерной особенностью математического описания является наличие обобщенной силы потенциальных сил и обобщенной силы от действия сил сопротивления. Получено дифференциальное уравнение движения гребенки при наличии упругого элемента, а также решение данного уравнения.
При отсутствии резонансных явлений вынужденные колебания очесывающей гребенки будут являться гармоническими с постоянной амплитудой и частотой, равной частоте колебания выходного звена вибропривода.
Отмечено, что при близких значениях √k и ω имеет место случай резонанса, то есть возрастание амплитуды до величин, несоразмерных с амплитудой синусоидальной силы, вызывающей само колебание системы. Параметры системы необходимо выбирать таким образом, чтобы избежать этого негативного, в данном случае, явления.
About the authors
Vladimir Yu. Savin
Kaluga Branch of Bauman Moscow State Technical University
Author for correspondence.
Email: savin.study@yandex.ru
ORCID iD: 0000-0002-2476-9768
ResearcherId: D-4378-2019
Associate Professor of the Chair of Heat Engines and Hydromachines, Cand.Sc. (Engr.)
Russian Federation, 2 Bazhenov St., Kaluga 248000References
- Aldoshin N.V., Mosyakov M.A. Improving the Design of a Combing Device for Harvesting Leguminous Crops. Vestnik FGOU VPO “Moskovskiy gosudarstvennyiy agroinzhenernyiy universitet imeni V.P. Goryachkina” = Goryachkin Moscow State Agroengineering University Bulletin. 2018; (2):23-27.(In Russ., abstract in Eng.) DOI: https://doi.org/10.26897/1728-7936-2018-2-23-27
- Kovliagin F.V., Maslov G.G. Harvesting of Grain Crops by Combing. Mekhanizatsiya i elektrifikatsiya selskogo khozyaystva = Mechanization and Electrification of Agriculture. 1991; (8):5-6. Available at: https://elibrary.ru/item.asp?id=26520095 (accessed 04.02.2021). (In Russ.)
- Savin V.Yu., Gorbachov I.V. Grain Cleaning Devices. Selskiy Mekhanizator = Rural Mechanic.2019; (3):8-10. Available at: http://selmech.msk.ru/319.html#_Очесывающие_устройства_для (accessed 04.02.2021). (In Russ., abstract in Eng.)
- Fu J., Chen Z., Han L., Ren L. Review of Grain Threshing Theory and Technology. International Journal of Agricultural and Biological Engineering. 2018; 11(3):12-20. (In Eng.) DOI: https://doi.org/10.25165/j.ijabe.20181103.3432
- Zhalnin E.V. Cleaning with a Comb on the Roots: Pros and Cons. Selskiy Mechanizator = Country Mechanic. 2013; (8):10-12. Available at: http://selmech.msk.ru/813.html#_Уборка_с_очесом (accessed 04.02.2021). (In Russ., abstract in Eng.)
- Savin V.Yu. Determination of Composition of Thrashed Heap at Harvesting Wheat Using the Trail-Type Rippler. Vestnik Voronezhskogo gosudarstvennogo agrarnogo universiteta = Voronezh State Agrarian University Bulletin. 2016; (4):96-99. (In Russ., abstract in Eng.) DOI: https://doi.org/10.17238/issn2071-2243.2016.4.96
- Savin V.Yu. Combing Device. Patent 2,726,110 Russian Federation. 2020 July 09. Available at:https://yandex.ru/patents/doc/RU2726110C1_20200709 (accessed 04.02.2021). (In Russ., abstract in Eng.)
- Zhalnin E.V., Tabashnikov A.T., Anisimov V.A., et al. [Comparative Evaluation of Stripping Adapters of Various Designs]. Nauchno-tekhnicheskiy byulleten Vserossiyskogo nauchno-issledovatelskogo instituta mekhanizatsii selskogo khozyaystva = Scientific and Technical Bulletin of the All-Russian Research Institute of Agricultural Mechanization. 1992; (83):21-24. Available at: https://elibrary.ru/item.asp?id=25438516 (accessed 04.02.2021). (In Russ.)
- Shabanov P.A., Shokarev A.N., Golubev I.K., et al. [Harvesting Crops by Combing Method]. Tekhnika v selskom khozyaystve = Machinery in Agriculture. 1985; (8):12. (In Russ.)
- Deryabin A.A., Proskura D.Y., Fedorova A.I., Ugryumova S.D. Design Features of Vibration Transportation and Technological Machines. Nauchnye trudy Dalrybvtuza = Scientific Proceedings of the Far Eastern Fisheries Higher Technical Educational Institution. 2014; 32:117-121. Available at: https://nauch-tr.dalrybvtuz.ru/images/Issues/32/32_16.pdf (accessed 04.02.2021). (In Russ., abstract in Eng.)
- Shurlakov M.A., Batashov S.I. Conducting Research in the Field of Creating New Friction Materials.Vnedrenie sovremennykh konstruktsiy i peredovykh tekhnologiy v putevoe khozyaystvo = Introduction of Modern Designs and Advanced Technologies in Track Facilities. 2019; (14):115-122. Available at: https://elib.pstu.ru/vufind/EdsRecord/edselr,edselr.38558378 (accessed 04.02.2021). (In Russ.,abstract in Eng.)
- Przybylowicz M., Sysyn М., Kovalchuk V., et al. Experimental and Theoretical Evaluation of Side Tamping Method for Ballasted Railway Track Maintenance. Transport Problems. 2020; 15(3):93-106.(In Eng.) DOI: https://doi.org/10.21307/tp-2020-036
- Maslov N.A. Modernization of the Satellite’s Drive of Duomatic 09-32 CSM and PMA-1 Liner-Tamper-Surfacers. Vestnik Sibirskogo gosudarstvennogo universiteta putey soobshcheniya = Bulletin of the Siberian State University of Railways. 2017; (1):57-65. Available at: https://elib.pstu.ru/EdsRecord/edselr,edselr.28351862 (accessed 04.02.2021). (In Russ., abstract in Eng.)
- Dudarev А.S., Dobrinsky А.G. Efficiency of Vibration Drilling Polymer Composite Materials.Vestnik Permskogo natsionalnogo issledovatelskogo politekhnicheskogo universiteta. Mashinostroenie,materialovedenie = Bulletin PNRPU. Mechanical Engineering, Materials Science. 2019; (4):42-48.(In Russ., abstract in Eng.) DOI: https://doi.org/10.15593/2224-9877/2019.4.05
- Alkhalefah H. Precise Drilling of Holes in Alumina Ceramic (Al2O3) by Rotary Ultrasonic Drilling and Its Parameter Optimization Using MOGA-II. Materials. 2020; 13(5). (In Eng.) DOI: https://doi.org/10.3390/ma13051059
- Savin V.Yu. Determination of the Force Required for Stripping the Wheat Ear. Inzhenernyye tekhnologii i sistemy = Engineering Technologies and Systems. 2019; 29(3):456-466. (In Russ., abstract in Eng.) DOI: https://doi.org/10.15507/2658-4123.029.201903.456-466
- Lipovsky M.I. Justification of Rational Two-Phase Threshing of Grain Crops. Tekhnologii i tekhnicheskie sredstva mekhanizirovannogo proizvodstva produktsii rastenievodstva i zhivotnovodstva = Technologies,Machines and Equipment for Mechanized Crop and Livestock Production. 2004; (76):25-38.Available at: httpp://clck.ru/Wdv3W (accessed 04.02.2021). (In Russ., abstract in Eng.)
- Khoang K.L., Dorokhov A.F. Kinematics and Dynamics of Conrod-Free Mechanisms of Transformation of Motion. Vestnik Astrakhanskogo gosudarstvennogo tekhnicheskogo universiteta. Seriya:Morskaya tekhnika i tekhnologiya = Vestnik of Astrakhan State Technical University. Series: Marine Engineering and Technologies. 2015; (3):79-87. Available at: https://clck.ru/WdvCq (accessed 04.02.2021).(In Russ., abstract in Eng.)
- Popov I.P. Dissipative, Reactive and Full Capacity of Machine Vibric Drives. Vestnik Vologodskogo gosudarstvennogo universiteta. Seriya: Tekhnicheskie nauki = Bulletin of the Vologda State University.Series: Technical Sciences. 2019; (3):72-74. Available at: https://vestnik.vogu35.ru/docs/2019/tekhnich/3/72.pdf (accessed 04.02.2021). (In Russ., abstract in Eng.)
Supplementary files





















