Basis of Developing Automated Machines with Digital Control Systems for Cultivating, Harvesting and Postharvest Processing of Vegetable Crops and Potatoes
- Authors: Sibirev A.V.1, Dorokhov A.S.1, Aksenov A.G.1, Mosyakov M.A.1, Sazonov N.V.1
-
Affiliations:
- Federal Scientific Agroengineering Center VIM
- Issue: Vol 32, No 1 (2022)
- Pages: 145-173
- Section: Technologies and Means of Agricultural Mechanization
- Submitted: 04.06.2025
- Accepted: 04.06.2025
- Published: 06.06.2025
- URL: https://bakhtiniada.ru/2658-4123/article/view/295124
- DOI: https://doi.org/10.15507/2658-4123.032.202201.145-173
- ID: 295124
Cite item
Full Text
Abstract
Introduction. The accelerated deployment of modern electronics contributes to the efficiency of agricultural activities. The aim of the study is to develop automated machines with digital control systems for cultivating, harvesting and post-harvest processing of vegetable crops and potatoes.
Materials and Methods. The article describes the technique of analytical studying the development of automated machines for cultivating, planting, harvesting and postarvesting with automation in separate technological operations according to the technique of comprehensive assessment of performance quality and stability of technological operations on the basis of quantitative optimization criteria.
Results. It is found that for the development of control and monitoring system of the technological process, it is necessary to provide automatic adjustment of the main technological parameters of the machines. These parameters should include the uniformity of soil density when seeding down, recording the force impact of the working body on the soil layer below or above the specified limits of the soil density toleration, changing and maintaining the vibration frequency of separation intensifiers, identifying commercial products through the vision system in the form of a camera, respectively.
Discussion and Conclusion. The results of the study on the development of algorithms and hardware-software means of the functioning of automated machine individual elements have resulted in ensuring the implementation of automation segments on the main operations of crop production: tillage, seeding/planting, harvesting and post-harvest processing.
Full Text
Введение
Функционирующие элементы сельскохозяйственных машин должны обладать современными оптическими, электронными и механическими устройствами [1–3]. Антропогенное воздействие должно быть сведено к минимуму [4–6]. Для разработки и изготовления современных машинно-технологических комплексов с цифровыми системами автоматического контроля и управления необходимы рекомендации по эксплуатации технических средств для предпосадочной обработки почвы, посева/посадки, уборки и послеуборочной обработки овощных культур и картофеля [7–9].
Цель исследования – разработать автоматизированные машины для возделывания, уборки и послеуборочной обработки овощных культур и картофеля с цифровыми системами управления.
Обзор литературы
В научной литературе описан ряд конструктивных решений по управлению техническими системами функционирующих элементов машин для производства овощных культур. Они позволяют с помощью одного терминала управлять прицепными и навесными машинами. Для тяжелых условий уборки почвы разработано разделительное устройство с двухступенчатой подъемной цепью, в котором длина двухуровневой подъемной цепи составляла 3,1 м, скорость движения машины 1,2 м/с, скорость подъемной цепной линии 1,5 м/с, полнота сепарации картофеля 98,1 %, а степень повреждения 1,1 % [9–11].
Для повышения эффективности разделения в комбинированном комбайне для сбора картофеля разработано вертикальное круговое транспортное устройство для разделения со средней степенью повреждения 1,46 % и уровнем примесей 2,57 % [3]. А. Б. Калинин исследовал влияние коэффициента отражения, вызванного высотой падения, на повреждение картофеля, а также выявил основные факторы, влияющие на повреждение картофеля [12].
Цель всех вышеупомянутых исследований заключается в снижении потерь качества корнеплодов и картофеля за счет уменьшения количества и интенсивности воздействий в процессе уборки [5]. Взаимодействия картофеля между собой обычно происходят на разделительных устройствах в процессе уборки урожая, где могут быть большие разрывы, повреждения и синяки. Это приводит к большим экономическим потерям для производителей [6]. В связи с этим возникает необходимость в фундаментальных исследованиях механизмов повреждения картофеля [7].
Разработано новое устройство для сепарации картофеля в картофелеуборочном комбайне с двухвибрационным устройством регулировки интенсивности [8; 9]. Для повышения качества уборки были проведены эксперименты по разделению картофеля и почвы в условиях различной интенсивности вибрации. Анализ поверхности отклика помог достичь желаемых характеристик разделения. В таблице 1 систематизированы основные положительные и отрицательные воздействия функциональных параметров технологического и цифрового обеспечения технологий и комплексов машин для производства корнеклубнеплолодов и лука.
Таблица 1 Систематизация функциональных параметров технологического и цифрового обеспечения технологий и комплексов машин для производства овощных корнеплодов, картофеля и лука
Table 1 Systematization of functional parameters of technological and digital support for technologies and complexes of machines
to produce vegetable roots, potatoes and onions
№ | Система технологического и цифрового обеспечения технологий и комплексов машин / System of technological and digital support of technologies and machine complexes | Положительные тенденции использования / Positive usage trends | Отрицательные тенденции использования / Negative usage trends | |
1 | Система автоматизации привода навесного оборудования iQblue Connect / IQblue сonnect implement drive automation | Дистанционное управление прицепными и навесными машинами / Remote control of trailed and mounted machines | Невозможность использования на участках с недостаточным сигналом для приема и передачи данных от станций мобильных операторов / Unable to use in areas with insufficient signal to receive and transmit data from the stations of mobile operator | |
2 | Система автоматизации рядовых сеялок USC / USC seed drills automation system | Контроль посева, варьирование нормы высева и схемы распределения семян в синхронизации со скоростью движения посевного агрегата / Control of the sowing process, varying the seeding rate and the seed distribution pattern in synchronization with the speed of the seeding unit | Отсутствие возможности принимать решения по результатам контроля выполнения технологического процесса посева семян овощных культур / Lack of decision-making based on the results of monitoring the implementation of the technological process of sowing vegetable seeds | |
3 | Система автоматического контроля глубины посева Smart Depth / Automatic seeding depth control system Smart Depth | Автоматический контроль глубины заделки семян относительно текущих условий почвы в зависимости от их влажности / Providing automatic control of the seeding depth of seeds relative to the current soil conditions, depending on their moisture content | Ограниченность использования на участках с повышенной влажностью почвы, что обусловлено увеличением интенсивности перемещения сошниковых групп для выявления оптимального места внесения семян / Limited use in areas with high soil moisture, which is due to an increase in the intensity of movement of the coulter groups to identify the optimal place | |
4 | Система цифровых камер Smart View / Smart View digital camera system | Мониторинг процессов очистки и сортирования на уборочных машинах / Monitoring of cleaning and sorting processes on harvesting machines | Низкая эксплуатационная надежность из-за слабой системы контроля и видеофиксации процесса уборки корнеклубнеплодов / Low operational reliability due to contamination of the monitoring system and video recording of the process of harvesting root and tuber crops | |
5 | Автоматические электронные стационарные отделители товарной продукции от минеральных примесей и сортирования / Automatic electronic stationary separators of commercial products from mineral impurities and sorting | Сканирование множества объектов с разных ракурсов; распознавание формы, геометрических параметров и других отличительных признаков объекта с расширенным шаблоном программного обеспечения; распознавание признаков болезней корнеклубнеплодов; обнаружение примесей и инородных тел в потоке / Scanning of multiple objects from different angles; recognition of shape, geometric parameters and other distinctive features of the object with an advanced software template; recognition of signs of root crop diseases; detection of impurities and foreign bodies in the flow | Необходимость предварительного сортирования продукта на отдельные размерные фракции; при увеличении влажности смеси из корнеклубнеплодов и примесей разница между диэлектрическими постоянными товарной продукции и комками почвы начинает уменьшаться, что приводит к ложному срабатыванию устройств отделения; высокая материалоемкость и энергоемкость технологического процесса / The need to pre-sort the product into separate size fractions; with increasing humidity of the mixture of root crops and impurities, the difference between the dielectric constants of commercial products and clumps of soil begins to decrease, which leads to false operation of separation devices; high material and energy intensity of the technological process | |
Обзор литературы свидетельствует о том, что задачи автоматизации решались поэтапно. Это объясняется ограниченностью материальных и трудовых ресурсов. В техническом отношении развитие автоматизации сельскохозяйственного производства характеризовалось переходом от релейно-контактной к электронной, а в последние годы к микропроцессорной технике. Это сопровождалось внедрением автоматизированных информационных технологий, обеспечивающих более высокий уровень отдачи на вложенные ресурсы.
Автоматизация растениеводства сегодня принципиально отличается от уровня начала 1950 – конца 1980-х гг. Информационные методы и системы и телекоммуникационные технологии в агропромышленном комплексе вышли на новый уровень.
Материалы и методы
Эффективность работы машинно-технологического комплекса производства овощных культур зависит от конструктивных, режимных, технологических параметров функционирующих элементов, а также от физико-механических свойств взаимодействующего материала и определяется показателями качества отдельной операции [13–15].
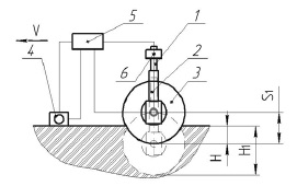
Объектом управления выступает механизм изменения глубины обработки, который представляет собой механизм регулировки опорного колеса (рис. 1).
1 – колесо энергетического средства; 2 – колесо опорное почвообрабатывающей машины;
3 – датчик лазерный; 4 – электроцилиндр; 5 – устройство навесное
Fig. 1. Automatic control system for adjusting the depth of motion of the working tools:
1 – wheel of the power plant; 2 – support wheel of the tillage machine;
Возмущением G, действующим на объект управления, является изменение расстояния L между осью O вращения колеса 1 энергетического средства привода почвообрабатывающей машины и осью вращения O3 опорных колес 2 машины для обработки почвы. Изменение расстояния L в большую L2 или меньшую L1 сторону компенсируется перемещением штока актуатора из точки А в точку A2 или A1 на расстояние S2 или S1 соответственно. При обработке для поддержания профилированной (выровненной) предпосевной/предпосадочной подготовки почвы должно соблюдаться условие
L = OB. (1)
Алгоритм формирования программы управления линейными актуаторами регулирования глубины хода рабочих органов построен из условия идеального отслеживания траектории О0О1О2 (рис. 2).
линейными актуаторами регулирования глубины хода рабочих органов
Fig. 2. Algorithm for making the control program
for linear actuators for adjusting the depth of motion of the working tools
Система управления рабочими процессами машины для посева/посадки семян лука, чеснока, моркови, столовой свеклы и картофеля автоматически регулирует равномерность плотности почвы при заделке семенного/посадочного материала. Необходимо определение и регистрация силового воздействия рабочего органа на почвенный слой соответственно ниже или выше заданных границ поля допуска плотности почвы (рис. 3).
Fig. 3. Change in the average value of soil density at the depth of processing
Задание и контроль плотности регулируемого дискового заделывающего органа осуществляется автоматически посредством бортового компьютера:
Δy / y = δρп2 + Km × 1 / fm, (2)
где ρп2 – плотность почвы после прохода сошника, г/см³; Km – коэффициент преобразования тензодатчика плотности почвы в частоту электрического сигнала; fm – частота электрического сигнала на выходе из тензодатчика, Гц [2]. В связи с тем, что заделка посевного/посадочного материала овощных культур осуществляется на глубину от 3 до 5 см, необходимо более тщательно определить интервалы изменения плотности и влажности почвы в указанном интервале посева овощных культур для наиболее распространенных в Центральной России и Среднем Поволжье типов почвы – выщелоченного чернозема [16; 17].
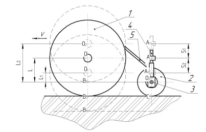
Следовательно, конструкция сошниковой группы посадочной машины и режимы работы для обеспечения оптимального уплотненного ложа должны обеспечить плотность семенного ложа ρп = 1,3–1,4 г/см³ на глубине посева семян (3–5 см). Это происходит благодаря вертикальному перемещению штока электроцилиндра в соответствии с разработанным алгоритмом перемещения (рис. 4).
Рис. 4. Схема изменения вертикального перемещения прикатывающих рабочих органов посадочной машины: 1 – шток электроцилиндра; 2 – электроцилиндр; 3 – прикатывающий рабочий орган; 4 – датчик плотности почвы;
5 – микроконтроллер; 6 – реле ограничения подъема штока электроцилиндра
Fig. 4. Scheme of changing the vertical movement of the rolling-down working tools of the planting machine: 1 – electric cylinder rod;
2 – electric cylinder; 3 – rolling working body; 4 – soil density sensor; 5 – microcontroller;
6 – relay for limiting the rise of the rod of the electric cylinder
Для разработки алгоритма функционирования изменения силового воздействия прикатывающих катков посевных и посадочных машин необходимо установить функциональную зависимость между плотностью ρп и влажностью W почвы:
ρп = f(W). (3)
Для выполнения функциональной зависимости (3) необходимо, чтобы ход S1 штока 1 (рис. 4) электроцилиндра 2 обеспечивал силовое воздействие прикатывающих рабочих органов 3 на слой почвы ρп = 1,3–1,4 г/см³ при изменении ее влажности W = 14–26 % в соответствии с алгоритмом вертикального перемещения прикатывающих рабочих органов посевной/посадочной машины (рис. 5).
Fig. 5. Block diagram of the vertical movement algorithm of the press-on working bodies of the seeding/planting machine
Схема управления конструкцией прикатывающего катка представлена на рисунке 6.
Fig. 6. Functional diagram of a press wheel with an automatic control system
Однако известно, что плотность ρп почвы изменяется в зависимости от ее влажности W. Следовательно, необходимо определить функциональную зависимость плотности почвы от влажности, представленной выражением (3), что необходимо для программирования микроконтроллера 5 (рис. 4) автоматической системы контроля.
Исследования по определению плотности почвы до посева и после, с учетом влажности, проведены в 2020 году в Пензенской области на базе ИП «Бодягин В. И.» (табл. 2).
Таблица 2 Плотность почвы по горизонтам (после посева)
Table 2 Soil density along the horizons (after sowing)
Количество опытов / Number of experiments | Плотность, г/см³ / Density, g/sm³ | ||||
Горизонты почвы, м / Soil horizons, m | |||||
0–0,01 | 0,01–0,02 | 0,02–0,03 | 0,03–0,04 | 0,04–0,05 | |
1 | 1,05 | 1,06 | 1,08 | 1,13 | 1,14 |
2 | 1,04 | 1,07 | 1,06 | 1,12 | 1,15 |
3 | 1,05 | 1,03 | 1,03 | 1,12 | 1,12 |
Среднее значение / Average value | 1,04 | 1,05 | 1,05 | 1,12 | 1,13 |
Графическая интерпретация функциональной зависимости плотности до ρп1 и после ρп2 воздействия прикатывающих катков от влажности почвы представлена на рисунке 7.
Fig. 7. Dependence of density on moisture
Корреляционная связь между плотностью почвы до ρп1 и после ρп2 посева в зависимости от влажности посевного слоя W выражается уравнением параболических функций:
ρп1 = 0,27 + 0,11W – 0,22W², (4)
ρп2 = 0,95 + 0,06W – 0,002W².
Силовое воздействие прикатывающих катков на посевной/посадочный слой почвы обеспечивается в результате вертикального перемещения штока электроцилиндра в соответствии с разработанным алгоритмом перемещения (рис. 5).
Автоматическая система контроля (АСК) рабочего процесса машины для уборки лука должна обеспечивать автоматическую регулировку и контроль
– изменения и поддержания частоты вращения интенсификаторов сепарации в зависимости от фактической урожайности и физико-механических свойств вороха;
– изменения поступательной скорости движения и угла наклона сепарирующих устройств в зависимости от фактической урожайности и физико-механических свойств вороха.
Функциональная схема автоматической системы контроля режимных и технологических параметров сепарирующей системы машины для уборки лука представлена на рисунке 8.
и технологических параметров сепарирующей системы машины для уборки лука:
1 ‒ измерительный орган; 2 ‒ рабочий орган; 3 ‒ объект управления
Fig. 8. Functional diagram of the system for automatic control of operating
and technological parameters of the separating system of the onion harvesting machine:
1 – measuring body; 2 – working body; 3 – control object
В каждый момент времени происходит изменение возмущающего воздействия F2(t) (массы вороха лука), которое воспринимается измерительным органом (ИО) (датчик веса) 1 и передается на сравнивающий орган – блок управления (БУ). Если измеряемая величина больше определенного значения, то сигнал поступает на рабочий орган (РО) (механизм вертикального перемещения) 2 и передается на объект управления (ОУ) (вал ведомого ролика и вал интенсификатора) 3, изменяющий управляемую величину y2(t) и y3(t) (рис. 8).
В случае если возмущающее воздействие F2(t), воспринимаемое ИО, на сходе с первого пруткового элеватора отличается от требуемого значения массы вороха корнеплодов и лука, то сигнал передается на сравнивающий орган БУ. Далее он поступает на РО и передается на ОУ[5].
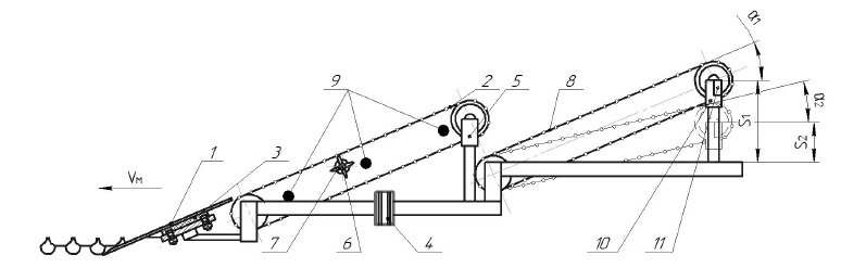
Конструктивно-технологическая схема автоматизированной сепарирующей системы машины для уборки лука представлена на рисунке 9.
1 – лемех подкапывающий; 2, 8 – прутковый элеватор; 3 – датчик веса подкапывающего лемеха;
4 – микроконтроллер; 5 – опорная стойка пруткового элеватора; 6 – интенсификаторы сепарации;
7 – электродвигатели привода интенсификаторов; 9 – датчик инерционный;
10 – реле ограничения подъема; 11 – электроцилиндр
Fig. 9. Diagram of the automated separating system of the onion harvester: 1 – burrowing share;
2, 8 – bar elevator; 3 – weight sensor of the digging share; 4 – microcontroller;
5 – support post of the bar elevator; 6 – separation intensifiers; 7 – electric motors for driving intensifiers;
9 – inertial sensor; 10 – lifting limit relay; 11 – electric cylinder
При определении подачи вороха лука на подкапывающий лемех воспользуемся функциональной зависимостью, выведенной в одном из предыдущих исследований коллектива авторов:
QВп = m × Vл / L, (5)
где m – масса луко-почвенного вороха, кг; Vл – поступательная скорость движения уборочной машины, м/с; L – длина подкапывающего лемеха, м [14].
Изменение положения пруткового элеватора в горизонтальной плоскости обеспечивается смещением опорного вала по опорной стойке на расстояние S1 согласно аналитической зависимости
S1 = (Lэл – Dвед / 2 + Dпр / 2) × sinα2, (6)
где Lэл – длина пруткового элеватора, м; Dвед – диаметр ведомого вала барабана пруткового элеватора, м; Dпр – диаметр приводного вала барабана пруткового элеватора, м.
Частота вращения интенсификаторов сепарации в зависимости от массы вороха, поступающего на очистку от механических примесей,
nин = (30 × (QВ.эл. × Lэл) / m) × π, (7)
где QВ.эл. – сход вороха лука, кг; m – масса вороха луковиц на прутковом элеваторе, кг; Lэл – длина пруткового элеватора, м.
Для повышения качества сортирования корнеклубнеплодов и лука по размерному признаку необходимо разработать систему автоматического контроля режимных и технологических параметров. Она позволит исключить ручное сортирование на переборочных столах линии для послеуборочной обработки.
Качественное сортирование корнеклубнеплодов необходимо обеспечить при совершенствовании процесса распознавания сортируемого материала на рабочей поверхности с помощью системы технического зрения.
Комплекс машин для послеуборочной обработки корнеклубнеплодов и лука с системой контроля параметров отдельных функционирующих элементов представлен на рисунке 10 [18–21].
и лука с системой автоматического контроля режимных и технологических параметров:
1 – приемный бункер; 2 – передаточный транспортер; 3 – спиральный очиститель вороха;
4 – транспортерное сортировочное устройство; 5 – транспортерные ленты; 6 – камера;
7 – блок управления; 8 – исполнительные механизмы; 9, 10 – лотки; 11 – электродвигатели
Fig. 10. Structural and technological scheme of a line for sorting root and tuber crops and onions with
an automatic control system for operating and technological parameters: 1 – receiving hopper;
2 – transfer conveyor; 3 – spiral heap cleaner; 4 – conveyor sorting device; 5 – conveyor belts;
6 – camera; 7 – control unit; 8 – executive mechanisms; 9, 10 – trays; 11 – electric motors
Для распознавания некондиционной товарной продукции разработана блок-схема функционирования электронной системы линии (рис. 11).
Fig. 11. Block diagram of an automated line for sorting root and tuber crops and onions
Сортирование корнеклубнеплодов обеспечивается за счет разделения поврежденной и товарной продукции при скатывании по специальным лоткам. Поступательное движение передаточных транспортеров, а также спиральных очистителей вороха осуществляется при силовой нагрузке электродвигателей. Поток корнеклубнеплодов разделяется транспортерным устройством, представленным двухполосной резиновой лентой, рабочая поверхность которой имеет технологические выступы под углом 45° относительно осевой линии.
Данное конструктивное исполнение позволяет распознавать некондиционную товарную продукцию и перемещать качественную к исполнительным механизмам представленными упруго-пластичными элементами [21; 22].
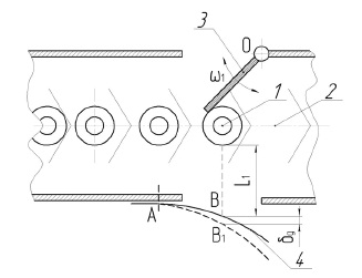
Рабочая поверхность исполнительного механизма уменьшает повреждения корнеклубнеплодов при повышении силы взаимодействия для перемещения их в лотки (рис. 12).
Рис. 12. Взаимодействие луковицы с исполнительным механизмом:
1 – луковица; 2 – лента транспортерная;
3 – механизм исполнительный; 4 – лоток упругий
Fig. 12. Interaction of the onion bulb with the actuator: 1 – onion; 2 – conveyor belt;
3 – executive mechanism; 4 – elastic tray
Для проверки разработанных алгоритмов функционирования систем автоматического контроля режимных и технологических параметров машин для производства овощных корнеплодов, картофеля и лука необходимо выполнить экспериментальные исследования в лабораторных и производственных условиях. Важно изготовить разрабатываемые системы и установить на машинно-технологические комплексы.
Результаты исследования
Общий вид программно-аппаратных средств системы автоматического контроля регулирования глубины хода рабочих органов машины для предпосевной/предпосадочной обработки почвы представлен на рисунке 13.
глубины хода рабочих органов машины для предпосевной/предпосадочной обработки почвы:
1 – двигатель шаговый; 2 – микроконтроллер; 3 – реле ограничения подъема;
4 – преобразователь веса; 5 – фотодатчик отражения от световозвращателя;
Fig. 13. Software and hardware of the automatic control system for adjusting the depth of travel of the
working tools of the machine for pre-sowing/pre-planting soil cultivation: 1 – stepper motor;
2 – microcontroller; 3 – lifting limit relay; 4 – weight converter;
Для проверки разработанных алгоритмов функционирования системы автоматического контроля регулирования глубины хода рабочих органов машины для предпосадочной обработки почвы необходимо выполнить экспериментальные исследования в лабораторных и производственных условиях. Результаты позволили установить разработанную систему (рис. 14).
автоматического контроля регулирования глубины обработки почвы: 1 – блок управления;
2 – фотодатчик отражения от световозвращателя; 3 – световозвращатель; 4 – двигатель шаговый;
5 – муфта разъемная; 6 – провода соединительные; 7 – колесо опорное
Fig. 14. General view of the GPK-2-01 cultivator for tillage, equipped with an automatic control system
for adjusting the depth of tillage: 1 – control unit; 2 – photosensor of reflection from the reflector;
3 – reflector; 4 – stepper motor; 5 – detachable clutch; 6 – connecting wires; 7 – support wheel
В связи с тем, что объектом исследований является технологический процесс предпосадочной обработки почвы с цифровой системой автоматического контроля и управления при сохранении конструктивных параметров почвообрабатывающей машины, установленных заводом-изготовителем, основными факторами, влияющими на равномерность глубины обработки почвы при проведении экспериментальных исследований, являлась поступательная скорость движения VДо агрегата для обработки почвы и частота вращения nДо фрезерного барабана.
Критерием оптимизации при проведении экспериментальных исследований стала равномерность глубины обработки, то есть расстояние от поверхности необработанного поля до дна борозды, образованной рабочим органом.
Зависимость критерия оптимизации от исследуемых параметров представлена на рисунках 15 и 16.
от поступательной скорости движения машины (vД, м/с) при nДо = const
Fig. 15. Graph of the dependence of the coefficient of variation of the tillage depth (vh, %)
on the forward speed of the machine (vД, m/s) at nДо = const
от частоты вращения фрезерного барабана (nДо, мин–¹) при vД = const
Fig. 16. The graph of the dependence of the coefficient of variation of the depth of processing (vh, %)
of the rotational speed of the milling drum (nДо, min–¹) at vД = const
Результаты статистической обработки экспериментальных исследований представлены на рисунках 16 и 17. Они позволяют получить основные статистические характеристики эксперимента: значение табличного t-критерия, t0,05 = 3,66; табличное значение критерия Фишера при 5-процентном уровне значимости для полученного уравнения FТ = 5,32; расчетное значение критерия Фишера при 5-процентном уровне значимости для полученного уравнения F = 2,2.
посадочной машины: 1 – электроцилиндр; 2 – микроконтроллер;
Fig. 17. Software and hardware of the automatic soil density control system of the planting machine:
1 – electric cylinder; 2 – microcontroller; 3 – control unit; 4 – strain gauge; 5 – connecting wires
С учетом полученных результатов можно указать следующие оптимальные значения основных параметров комбинированного почвообрабатывающего агрегата: поступательная скорость движения машины vд = 1,1 м/с,частота вращения фрезерного барабана nДо = 148 мин–¹ при значениях коэффициента вариации глубины обработки vh в пределах от 13 до 17 %.
Результаты экспериментальных исследований системы предпосевной/предпосадочной обработки почвы с автоматической системой контроля регулирования глубины хода рабочих органов почвообрабатывающих машин позволили определить, что равномерность обработки почвы по глубине составляет не менее 90 %, отклонение глубины обработанного слоя – не более ±1 см; глыбистость – не более 10–15 %; максимальная высота оставшихся гребней – до 3 см.
Результаты исследований, представленные на рисунках 4–7, позволили разработать систему автоматического контроля плотности почвы при посадке чеснока. Она состоит из основных аппаратно-программных средств: актуаторов поддержания и заглубления прикатывающих рабочих органов, микроконтроллера, блока управления, тензодатчика определения силового воздействия, датчика влажности почвы, блока питания (рис. 17).
С использованием программно-аппаратных средств проведены эксперименты по проверке алгоритмов работы линейных актуаторов в лабораторных условиях Федерального научного агроинженерного центра ВИМ. Результаты позволили установить разработанную систему автоматического контроля плотности почвы машины для посадки чеснока (рис. 18).
3 – высаживающий аппарат; 4 – опорно-приводные колеса; 5 – сошник; 6 – бороздозакрывающий
рабочий орган; 7 – прикатывающий каток; 8 – электроцилиндр; 9 – микроконтроллер;
10 – блок управления; 11 – тензодатчик; 12 – датчик влажности почвы; 13 – муфта разъемная
Fig. 18. General view of the machine for planting garlic: 1 – transverse support bar; 2 – bunker;
3 – planting device; 4 – supporting and driving wheels; 5 – opener; 6 – furrow-closing working body;
7 – a rolling rink; 8 – electric cylinder; 9 – microcontroller; 10 – control unit; 11 – strain gauge;
12 – soil moisture sensor; 13 – split clutch
Для регулирования силового воздействия на слой почвы при посадке внесены изменения в бороздозакрывающие рабочие органы, а именно: выполнен демонтаж одной секции заделывающих рабочих органов 6, представленных пассивными загортачами (рис. 18), и установлены прикатывающие катки (рис. 19). Они совершают вертикальное перемещение в соответствии с разработанным алгоритмом (рис. 5).
b) прикатывающий механизм с электроцилиндром; 1 – каток прикатывающий;
2 – пружинный упругий механизм; 3 – электроцилиндр; 4 – провода соединительные
Fig. 19. General view: a) a rolling mechanism with a spring mechanism;
b) a rolling mechanism with an electric cylinder; 1 – rolling roller;
Кроме того, результаты экспериментальных исследований по определению плотности почвы прикатывающим катком с АСК свидетельствуют о том, что размах вариации изменяется в пределах 17 %, а средне линейное отклонение 4,7 % при воздействии электроцилиндра на почвенный слой 7 000 Н/м (рис. 20).
на степень уплотнения посевного слоя
Fig. 20. Results of experimental studies of the dependence of soil moisture on the degree
of compaction of the seed layer
После посадки чеснока произведены замеры плотности почвы с пятикратной повторностью за исследуемыми участками посадочных секций бороздозакрывающих рабочих органов. Результаты сравнительных исследований (табл. 3) изменения равномерности уплотнения почвы свидетельствуют о повышении показателя в результате изменения конструктивной схемы заделывающего устройства посадочной машины.
Таблица 3 Результаты измерения плотности почвы
Table 3 Results of measuring soil density
Вид бороздозакрывающего рабочего органа / View of the furrow-closing working body | Средняя плотность по посевному слою, кг/м³ / Average density over the sowing layer, kg/m³ | ||
0–20 мм / | 20–40 мм / 20–40 mm | 40–60 мм / 40–60 mm | |
Полозовидный загортач / Sliver harvester | 990 | 1 120 | 1 430 |
Прикатывающий каток с автоматической системой контроля плотности / Packer roller with automatic density control | 1 120 | 1 340 | 1 760 |
Для реализации алгоритма управления линейными актуаторами системы автоматического контроля регулирования и контроля угла наклона пруткового элеватора α и частоты вращения интенсификаторов сепарации nИН необходимы основные аппаратно-программные средства для расположения в конструкции уборочной машины (рис. 21), а именно: тензометрический датчик веса подкапывающего лемеха (рис. 22), линейные актуаторы поддержания и изменения вертикального положения барабана пруткового элеватора, микроконтроллер, драйвер моторов, бесконтактный лазерный датчик, блок питания, а также шаговые электродвигатели привода интенсификаторов сепарации и частоты вращения, которые предназначены для контроля частоты вращения (скорости) привода электродвигателей и их аварийного отключения при снижении частоты вращения относительно установленного предельного значения, а также для контроля скорости линейного перемещения пруткового элеватора.
регулирования угла наклона полотна пруткового элеватора и частоты вращения встряхивателей:
1 – рама; 2 – приемный лемех для подкапывания/подбора корнеплодов и луковиц; 3 – колеса
опорные; 4 – основной сепарирующий прутковый элеватор; 5 – дополнительный прутковый
элеватор; 6 – каток-ложеобразователь; 7 – плита регулировочная встряхивателя; 8 – лоток
сужающий; 9 – электроцилиндры; 10 – датчик веса лемеха подкапывающего; 11 – микроконтроллер
Fig. 21. General view of a machine for harvesting root crops and onions with an automatic control system for
adjusting the angle of inclination of the bar elevator web and the frequency of rotation of the shakers:
1 – frame; 2 – receiving ploughshare for digging/picking up root crops and onion bulbs; 3 – supporting wheels;
4 – main separating bar elevator; 5 – additional bar elevator; 6 – bed former; 7 – shaker adjusting plate;
8 – narrowing tray; 9 – electric cylinders; 10 – weight sensor of the digging share; 11 – microcontroller
Для реализации алгоритма управления линейными актуаторами системы автоматического контроля регулирования угла наклона пруткового элеватора и частоты вращения интенсификаторов сепарации необходимо провести исследования по определению подачи вороха лука на сепарирующие рабочие органы и массы просеянных почвенно-растительных примесей в зависимости от глубины подкапывания [23].
Проверка показателей качества работы уборочной машины в полевых условиях выполнялась при изменении параметров в следующих пределах:
– глубина погружения в почву подкапывающего лемеха hЛ = 0,02–0,06 м;
– поступательная скорость движения машины для уборки лука vК = 1,0–1,8 м/с;
– поступательная скорость движения полотна пруткового элеватора vЭЛ = 1,55–1,67 м/с.
Результаты статистической обработки экспериментальных исследований качества уборки лука позволили получить графические зависимости полноты сепарации вороха лука ν и повреждений луковиц П от исследуемых параметров при получении аналитической зависимости
(8)
Графическая зависимость на рисунке 23 свидетельствует о снижении полноты сепарации и повреждении товарной продукции (1,1 %) при увеличении глубины подкапывания более 0,02 м при значении качества очистки 98 %.
сепарирующего пруткового элеватора с регулируемым углом наклона полотна от глубины hЛ
погружения подкапывающего лемеха в почву
Fig. 23. Dependence of the completeness of separation ν, %, and damage to the onion bulbs П, %,
of the separating bar elevator with an adjustable angle of inclination of the web on the depth hЛ
of immersion of the burrowing share in the soil
Увеличение поступательной скорости движения машины для уборки корнеплодов и лука vК способствует повышению повреждений до 1,6 % и полноты сепарации более 97 % в интервале значений исследуемого параметра от 0,9 до 1,8 м/с, что отображает аналитическая зависимость
(9)
Величина смещения распределения полноты сепарации и повреждений луковиц на прутковом элеваторе с регулируемым углом наклонам полотна
Среднее значение полноты сепарации и повреждений
%
Среднеквадратическое отклонение полноты сепарации и повреждений
Коэффициент вариации полноты сепарации и повреждений
Математическое ожидание М(Х) нормального закона распределения сепарации вороха лука и его повреждений на прутковом элеваторе с регулируемым углом наклона полотна
Квантиль распределения Стьюдента
Общий вид линии для послеуборочной обработки картофеля, лука, моркови и столовой свеклы с автоматической системой контроля, а также сортировочного стола представлен на рисунке 24.
Fig. 24. General view of the line for post-harvest processing of onion bulbs, carrots and beets with an automatic control system:
При проведении производственных исследований линии для сортирования корнеклубнеплодов и лука с системой автоматического контроля режимных и технологических параметров по определению оптимального значения поступательной скорости движения транспортера сортировального стола vТР устанавливались подача луковиц QЛ = 6,5 кг/с и время срабатывания исполнительного механизма сортирования tЛ = 1,4 с (рис. 25).
послеуборочной обработки корнеплодов, картофеля и лука: 1 – микроконтроллер Arduino Mega
2560; 2 – блок питания; 3 – сервопривод SG90; 4 – исполнительный механизм;
5 – газоразрядная лампа высокого давления «ДНаТ-400»;
Fig. 25. Software and hardware of the automatic line control system for post-harvest processing of root
crops, potatoes and onion bulbs: 1 – microcontroller Arduino Mega 2560; 2 – power supply unit;
3 – SG90 servo drive; 4 – actuator; 5 – high pressure gas discharge lamp DNaT-400;
Результаты статистической обработки экспериментальных исследований позволили получить графическую (рис. 26) и аналитическую (10) зависимости показателей качества сортирования от режимных параметров разработанной системы автоматического контроля и управления.
скорости движения транспортера сортировального стола
Fig. 26. Dependence of sorting accuracy and damage to bulbs on the forward speed of the conveyor
of the sorting table
(10)
Максимальная точность сортирования товарной продукции более 91 % определяется числовыми значениями технологических параметров при адекватности математической модели выражения (10). Они определяются сравнением расчетного и табличного критериев Фишера (FТ = 2,1 > F = 1,97) в интервале значения поступательной скорости движения транспортера сортировального стола, равной 1,2 м/с, при повреждении луковиц 2,3 %, что соответствует агротехническим требованиям к послеуборочной обработке.
Обсуждение и заключение
Результаты проведенных аналитических и экспериментальных исследований по разработке алгоритмов и программно-аппаратных средств функционирования отдельных элементов машин для возделывания, уборки и послеуборочной обработки овощных культур и картофеля с цифровыми системами управления позволили автоматизировать ряд систем:
- Система автоматического контроля глубины обработки почвы. Для этого внесены изменения в механизм регулировки опорного колеса, совершающего вертикальное перемещение в соответствии с разработанным алгоритмом.
- Система контроля машины для посадки чеснока. Она автоматически регулирует равномерность плотности почвы при заделке посадочного материала при определении и регистрации силового воздействия рабочего органа на почвенный слой соответственно ниже или выше заданных границ поля допуска плотности почвы.
- Система контроля режимных и технологических параметров машины для уборки лука. Она позволяет повысить качество уборки в результате регулирования частоты вибрации интенсификаторов сепарации, поступательной скорости движения и угла наклона сепарирующих устройств в зависимости от фактической урожайности и физико-механических свойств вороха.
- Система контроля линии для послеуборочной обработки картофеля, лука, моркови и столовой свеклы. Она повышает качество сортирования луковиц в результате использования системы технического зрения в виде камеры с зоной покрытия всей рабочей поверхности двух транспортерных лент, блока управления и исполнительных механизмов с упруго-эластичными рабочими органами, которые двигаются благодаря электроприводам.
Результаты исследований по аналитическому обоснованию системы предпосевной/предпосадочной обработки почвы позволили разработать автоматическую систему контроля регулирования глубины хода рабочих органов почвообрабатывающих машин, выполнить полевые исследования и определить, что равномерность обработки почвы по глубине составляет не менее 90 %, отклонение глубины обработанного слоя не более ±1 см; глыбистость не более 10–15 %, максимальная высота оставшихся гребней до 3 см.
Аналитические исследования технологического процесса посева овощных культур позволили разработать систему автоматического контроля посева/посадки, позволяющую регулировать равномерность плотности почвы при заделке семенного материала, а также определять и регистрировать силовое воздействие рабочего органа на почвенный слой соответственно ниже или выше заданных границ поля допуска плотности почвы. Высокие показатели равномерности распределения луковиц вдоль рядка (19 %) достигаются при поступательной скорости движения посадочной машины, равной 1,05 м/с.
Результаты проведенных производственных исследований машины для уборки корнеплодов и лука, оснащенной прутковым элеватором с регулируемыми углом наклона полотна и частотой вращения интенсификаторов сепарации, показали качественное выполнение сепарации вороха лука при поступательной скорости движения пруткового элеватора vЭЛ = 1,7 м/с, машины для уборки корнеплодов и лука vК = 1,0 м/с. Полнота сепарации 98,4 %, повреждения луковиц 1,7 %.
Представлены результаты проведенных лабораторных исследований линии для послеуборочной обработки лука, оснащенной системой автоматического контроля. Она позволяет обеспечить точность сортирования луковиц более чем на 90 %. Данный показатель обеспечивается в результате использования системы технического зрения в виде камеры с зоной покрытия всей рабочей поверхности двух транспортерных лент при следующих оптимальных значениях: QЛ = 8,0–8,5 кг/с, vТР = 0,62–0,75 м/с, tЛ = 1,9–2,3 с.
About the authors
Alexey V. Sibirev
Federal Scientific Agroengineering Center VIM
Author for correspondence.
Email: sibirev2011@yandex.ru
ORCID iD: 0000-0002-9442-2276
ResearcherId: M-6230-2016
Senior Researcher of the Department of Technology and Machines in Vegetable Production, Dr.Sci. (Engr.)
Russian Federation, 5, 1st Institutskiy Proyezd, Moscow 109428Aleksey S. Dorokhov
Federal Scientific Agroengineering Center VIM
Email: dorokhov@rgau-msha.ru
ORCID iD: 0000-0002-4758-3843
ResearcherId: H-4089-2018
Deputy Director on Scientific and Organizational Work, Corresponding Member of RAS, Dr.Sci. (Engr.), Professor
Russian Federation, 5, 1st Institutskiy Proyezd, Moscow 109428Aleksandr G. Aksenov
Federal Scientific Agroengineering Center VIM
Email: 1053vim@mail.ru
ORCID iD: 0000-0002-9546-7695
ResearcherId: V-5572-2017
Leading Researcher of the Department of Technology and Machines in Vegetable Production, Dr.Sci. (Engr.)
Russian Federation, 5, 1st Institutskiy Proyezd, Moscow 109428Maxim A. Mosyakov
Federal Scientific Agroengineering Center VIM
Email: maks.mosyakov@yandex.ru
ORCID iD: 0000-0002-5151-7312
ResearcherId: A-8482-2019
Senior Researcher of the Department of Technology and Machines in Vegetable Production, Cand.Sci. (Engr.)
Russian Federation, 5, 1st Institutskiy Proyezd, Moscow 109428Nikolay V. Sazonov
Federal Scientific Agroengineering Center VIM
Email: sazonov_nikolay@mail.ru
ORCID iD: 0000-0002-4899-9197
ResearcherId: ABE-4241-2021
Junior Researcher of the Department of Technology and Machines in Vegetable Production
Russian Federation, 5, 1st Institutskiy Proyezd, Moscow 109428References
- Azizi P., Dehkordi N.S., Farhadi R. Design, Construction and Evaluation of Potato Digger with Rotary Blade. Cercetari Agronomice in Moldova. 2014; (47):5-13. Available at: https://clck.ru/bnNAf (accessed 08.08.2021). (In Eng.)
- Abd El-Rahman M.M.A. Development and Performance Evaluation of a Simple Grading Machine Suitable for Onion Sets. Journal of Soil Sciences and Agricultural Engineering. 2014; 2(2):213-226.(In Eng.) doi: https://doi.org/10.21608/jssae.2011.55418
- Akdemir B., Ulger P., Arin S. Mechanized Panting and Harvesting of Onion. Agricultural Mechanization in Asia, Africa & Latin America. 1993; 24(4):23-26. Available at: https://www.researchgate.net/publication/289056030_Mechanized_panting_and_harvestiong_of_onion (accessed 08.08.2021). (In Eng.)
- Jothi Shanmugam C., Senthilkumar G. Indigenous Development of Low Cost Harvesting Machine.ARPN Journal of Engineering and Applied Sciences. 2017; 12(5):4489-4490. Available at: http://www.arpnjournals.org/jeas/research_papers/rp_2017/jeas_0817_6236.pdf (accessed 08.08.2021). (In Eng.)
- Pasaman B., Zakharchuk V. The Determination of the Parameters of a Ploughshare-Rotor Potato Digger. ECONTECHMOD. 2012; (2):43-47. Available at: http://www.journals.pan.pl/dlibra/publication/98931/edition/85237/content (accessed 08.08.2021). (In Eng.)
- Cubero S., Aleixos N., Moltó E., et al. Advances in Machine Vision Applications for Automatic Inspection and Quality Evaluation of Fruits and Vegetables. Food and Bioprocess Technology. 2011;4:287-502. (In Eng.) doi: https://doi.org/10.1007/s11947-010-0411-8
- Dai F., Zhao W., Sun W. Design and Experiment of Combined Operation Machine for Potato Harvesting and Plastic Film Pneumatic Auxiliary Collecting. Transactions of the CSAM. 2018; 49(3):104-113.(In Eng.) doi: https://doi.org/10.6041/j.issn.1000-1298.2017.01.009
- Devsh K., Ashok T. Performance Evaluation of Tractor Drawn Potato Digger Cum-Elevator. International Journal of Agricultural Science and Research. 2017; 7(2):433-448. Available at: https://www.academia.edu/34605957/PERFORMANCE_EVALUATION_OF_TRACTOR_DRAWN_POTATO_DIGGER_CUM_-ELEVATOR (accessed 08.08.2021). (In Eng.)
- Li Z., Li P., Yang H., Wang Y. Stability Tests of Two-Finger Tomato Grasping for Harvesting Robots. Biosystems Engineering. 2013; 116(2):163-170. (In Eng.) doi: https://doi.org/10.1016/j.biosystemseng.2013.07.017
- Koga N., Kajiyama T., Senda K., et al. Energy Efficiency of Potato Production Practices for Bioethanol Feedstock in Northern Japan. European Journal of Agronomy. 2013; 44. (In Eng.) doi: https://doi.org/10.1016/j.eja.2012.07.001
- Kang W.Q., Fan M., Ma Z., et al. Luxury Absorption of Potassium by Potato Plants. American Journal of Potato Research. 2014; 91:573-578. (In Eng.) doi: https://doi.org/10.1007/s12230-014-9386-8
- Kalinin A.B., Smelik V.A., Teplinsky I.Z., Pervukhina O.N. Choice and Justification Parameters of Ecological State in the Agroecosystem for Monitoring Technology Process Growing Agricultural Crops.Izvestiya Sankt-Peterburgskogo gosudarstvennogo agrarnogo universiteta = Bulletin of the St. Petersburg State Agrarian University. 2015; (37):315-319. Available at: https://spbgau.ru/files/nid/3847/39.pdf (accessed 08.08.2021). (In Russ., abstract in Eng.)
- Dorokhov A.S., Mosyakov M.A., Sazonov N.V. Automated Line for Post-Harvest Processing of Root Crops and Potatoes. Selskokhozyaystvennye mashiny i tekhnologii = Agricultural Machinery and Technologies.2020; 14(1):22-26. (In Russ., abstract in Eng.) doi: https://doi.org/10.22314/2073-7599-2020-14-1-22-26
- Dorokhov A.S., Sibiriev A.V., Aksenov A.G. Theoretical Studies of the Technological Process of a Rod Elevator with an Adjustable Inclination Angle of the Apron. Agrarnaya nauka Yevro-Severo-Vostoka= Agricultural Science Euro-North-East. 2020; 21(1):52-61. (In Russ., abstract in Eng.) doi: https://doi.org/10.30766/2072-9081.2020.21.1.52-61
- Indraja D., Ajkhilesh J., Vishal P., et al. A Review Paper Based on Design and Development of an Onion Harvesting Machine. Journal of Information and Computational Science. 2019; 9(12):333-337.Available at: https://www.researchgate.net/publication/339201506 (accessed 08.08.2021). (In Eng.)
- Massah J., Lotfi A., Arabhosseini A. Effect of Blade Angle and Speed of Onion Harvester on MechanicalDamage of Onion Bulbs. Agricultural Mechanization in Asia, Africa & Latin America. 2012; 43(3):60-63.Available at: https://www.researchgate.net/publication/287778155_Effect_of_Blade_Angle_and_Speed_of_Onion_Harvester_on_Mechanical_Damage_of_Onion_Bulbs (accessed 08.08.2021). (In Eng.)
- Edrris M.K., Al-Gaadi K.A., Hassaballa A.A., et al. Impact of Soil Compaction on the Engineering Properties of Potato Tubers. International Journal of Agricultural and Biological Engineering. 2020; 13(2):163-167.Available at: https://www.ijabe.org/index.php/ijabe/article/view/4818/pdf (accessed 08.08.2021). (In Eng.)
- Asghar T., Ghafoor A., Munir A., et al. Design Modification and Field Testing of Groundnut Digger.Asian Journal of Science and Technology. 2014; 5(7):389-394. Available at: https://www.researchgate.net/publication/274373280_DESIGN_MODIFICATION_AND_FIELD_TESTING_OF_GROUNDNUT_DIGGER (accessed 08.08.2021). (In Eng.)
- Dorokhov A.S., Aksenov A.G., Kolchin N.N., et al. [Line for Postharvest Sorting of Potato Tubers,Roots and Fruits of Vegetables]. Patent 2,711,780 Russian Federation. 2020 January 22. (In Russ.)
- Zhou L., Chalana V., Kim Y. PC-Based Machine Vision System for Real-Time Computer-Aided Potato Inspection. International Journal of Imaging Systems and Technology. 1998; 9(6):423-433.(In Eng.) doi: https://doi.org/10.1002/(SICI)1098-1098(1998)9:6<423::AID-IMA4>3.0.CO;2-C
- Heinemann P.H., Pathare N.P., Morrow C.T. An Automated Inspection Station for Machine-Vision Grading of Potatoes. Machine Vision and Applications. 1996; 9:14-19. (In Eng.) doi: https://doi.org/10.1007/BF01246635
- Rios-Cabrera R., Lopez-Juarez I., Sheng-Jen H. ANN Analysis in a Vision Approach for Potato Inspection. Journal of Applied Research and Technology. 2008; 6(2):106-119. (In Eng.) doi: https://doi.org/10.22201/icat.16656423.2008.6.02.521
- Golmohammadi A., Bejaei F., Behfar H. Design, Development and Evaluation of an Online Potato Sorting System Using Machine Vision. International Journal of Agriculture and Crop Sciences. 2013;6:396-402. Available at: https://www.semanticscholar.org/paper/Design-%2C-Development-and-Evaluation-of-an-Online-Golmohammadi-Bejaei/fa144c6e0da9b61ba2a6e9af943de7a59c6cc9b0 (accessed 08.08.2021). (In Eng.)
Supplementary files














































