Analyzing the Process of Formation and Retaining of Straightness of Flax Stem Strips during Flax Harvesting
- Authors: Zintsov A.N.1, Kovalev M.M.2, Perov G.A.2
-
Affiliations:
- Kostroma State Agricultural Academy
- Federal Research Center for Bast Crops
- Issue: Vol 35, No 2 (2025)
- Pages: 284-297
- Section: Technologies, Machinery and Equipment
- Submitted: 28.12.2024
- Accepted: 23.01.2025
- Published: 20.06.2025
- URL: https://bakhtiniada.ru/2658-4123/article/view/274731
- DOI: https://doi.org/10.15507/2658-4123.035.202502.284-297
- EDN: https://elibrary.ru/txvoaq
- ID: 274731
Cite item
Full Text
Abstract
Introduction. The effectiveness of flax cultivation largely depends on the degree of mechanization of harvesting processes. At the same time, a high productivity of flax stem pick-ups with minimal product losses can be ensured only when working on straight flax stem strips.
Aim of the Study. The study is aimed at improving the quality of spreading flax stem strips when performing machine harvesting.
Materials and Methods. To achieve this goal, a new device has been developed for controlled spreading of flax stem strips. The working space of the device is formed by the active side edge of a flat belt with protrusions and a clamping mechanism consisting of rods pivotally fixed to each other with the possibility of lifting their clamping surfaces under the influence of a moving layer of flax stems. To evaluate the effectiveness of an innovative technical solution, the proposed device is mounted on an OKP-1.5K turner and tested under production conditions.
Results. It has been found that the absence of controlled tracking of the mass of flax stems during spreading generates irregular curvature of the flax stem strip in the frequency range from ɷср = 0,512 to ɷср = 0,712 m–1. The expansion of the frequency spectrum occurred as a result of the effects of wind and machine vibrations on the dried mass of flax stems, with retaining a slight straightness of the flax stem strip at a level of only 45%. At the same time, the use of a new spreading device completely protects the spreading process from these influences and retains the straightness of the treated flax stem strips more effectively (at the level of 73%). In this case, the appearance of new low-frequency oscillations is caused only by the trajectory of the pick-up turner.
Discussion Conclusions. The impact of the new spreading device on retaining the straightness of flax stem strips is positive that will ensure an increase in the productivity of flax pick-ups, a proportional reduction in operating costs per unit of operation and reduce the production costs.
Full Text
Введение
Современные условия развития агробизнеса в Нечерноземной зоне России характеризуются сокращением трудоспособного населения на сельских территориях [1]. В начале XXI в. обозначенные условия в совокупности с непопулярностью ручного труда разрушительным образом отразились на отрасли льноводства, так как возделывание и главным образом уборка льна-долгунца являются самыми трудоемкими в ряду основных сельскохозяйственных производств1. Поэтому понятие «комплексная механизация технологических процессов» приобретает в настоящее время особенную актуальность и первостепенное значение для получения конкурентоспособной льнопродукции [2–4]. Ручной труд должен сводиться лишь к управлению льноуборочными машинами. Для успешной реализации обозначенного требования каждая такая машина при своей работе должна создавать наиболее удобные условия для выполнения последующей механизированной операции [5; 6]. Такие удобства состоят в высоком качестве сформированных и разостланных лент стеблей льна. Прямолинейные ленты без перекосов и сгруживания в них стеблей являются залогом высокопроизводительного использования льноподборщиков с минимальными потерями льнопродукции. Например, многолетние хронометражные наблюдения за работой подборщика-очесывателя ПОЛ-1,5К показывают, что при подборе прямолинейных лент средняя производительность этой машины в час оперативного времени повышается c 0,64 до 0,88 га2. Необходимость оправки обусловлена нарушениями прямолинейности с усилением кривизны расстилаемых лент, самопроизвольными переворачиваниями слоя стеблей, различными перекосами и сгруживанием стеблей, приводящими в своей совокупности к невозможности полной механизации уборочных процессов. При уборке льна по двухфазной технологии с применением подборщиков-очесывателей, а также при выполнении последующих механизированных операций по приготовлению льнотресты в поле указанная ситуация усугубляется в большей мере, так как в этих случаях льноподборщики имеют дело с подсушенными, то есть облегченными растениями, а значит и более подверженными влиянию ветровой нагрузки и колебаний машины. Вместе с этим указанные нарушения приводят к частичной или полной потере количества и качества продукции [7–9]. Ученые льноводы установили [10], что большинство таких дефектов возникает на пассивном расстилочном щите льноуборочных машин при бесконтрольном движении массы стеблей, поэтому при организации уборки следует отдавать предпочтение техническим средствам, производящим принудительный расстил стеблей максимально близко к поверхности поля3 [10].
Таким образом, целью работы является повышение качества расстила лент льна при выполнении механизированных уборочных операций.
Обзор литературы
В разные годы было предложено множество технических решений4 [11; 12], в ряду которых наиболее проверенным оказалось одноременное устройство для принудительного расстила (УПР) ленты растений [13–15]. Рабочее пространство данного УПР выполнено в виде транспортирующего канала, образованного боковой кромкой плоского расстилочного ремня, имеющей волнообразные выступы, и шарнирно закрепленными жесткими прутками, объединенными в полоз, способный подниматься под воздействием стеблевой массы [15–17]. Такая конструкция реализована в опытных вариантах теребилки-плющилки ТПЛ-4К, подборщика-очесывателя ПОЛ-1,5К и подборщика-оборачивателя ОКП-1,5К, разработанных в Костромской ГСХА с участием ученых и конструкторов Федерального научного центра лубяных культур. Несколько позже, в период с 2004 по 2006 гг., ОАО «Нагорьевская сельхозтехника» оборудовало одноременными УПР 19 льноуборочных комбайнов. Однако в ходе производственных проверок установлено, что жесткие прутки не обеспечивают надежного зажима стеблей по всей длине транспортирующего канала расстилочного устройства при неизбежных изменениях толщины ленты. Вход в такой канал более толстой ленты стеблей вызывает подъем пруткового полоза и увеличение зазора по всей длине устройства. При этом ослабевает зажим перемещающейся по каналу более тонкой ленты, подобранной ранее. Центробежные силы, возникающие в слое стеблей при его расстиле и направленные перпендикулярно к траектории движения [14–16], вызывают смещение или выбрасывание не зажатой части тонкого слоя из канала в направлении перпендикулярном направлению движения агрегата, увеличивая тем самым искривления разостланной ленты. В случае подбора более тонкой ленты, она попадает в увеличенный зазор транспортирующего канала, образованный более толстым слоем стеблей, подобранных ранее, что также не обеспечивает надежного зажима стеблей и вызывает аналогичный предыдущему эффект. Для устранения отмеченных недостатков при транспортировании и оборачивании неравномерных по толщине лент льна прижимные прутки составляются из отдельных малых прутков, консольно закрепленных на балке со смещением каждого прутка относительно соседнего, который является его продолжением [18]. К недостаткам данного устройства можно отнести ограниченную возможность изменения установленного зазора между столом и прутками из-за жесткости прутков.
Материалы и методы
Для достижения поставленной цели следует решить следующие задачи: 1) разработка прижимного устройства, обеспечивающего высокую технологическую надежность одноременного УПР путем равномерного зажима ленты стеблей льна по всей длине транспортирующего канала; 2) оценка влияния модернизированного УПР на сохранение прямолинейности ленты стеблей.
Объектом исследования стал процесс расстила ленты стеблей льна-долгунца; предметом – параметры кривизны ленты стеблей льна-долгунца.
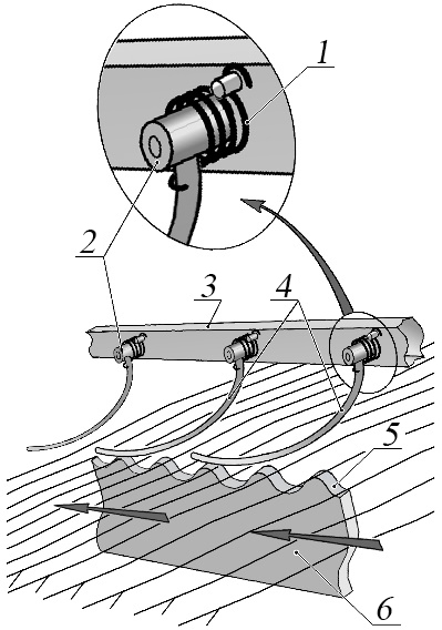
Повысить качество расстила ленты стеблей льна и технологическую надежность одноременного УПР можно путем применения прижимного устройства (рис. 1), выполненного в виде прутков 4, расположенных на дополнительной балке 3 последовательно, друг за другом над всей боковой кромкой 5 расстилочного ремня 6, имеющей волнообразные выступы. При этом каждый прижимной пруток 4 независимо друг от друга присоединен передним концом к дополнительной балке 3 посредством шарнира 2 с возможностью подъема своей прижимной поверхности относительно рабочей поверхности 5 ремня 6 под воздействием перемещаемого слоя растений льна. Прижимная поверхность каждого прутка 4 имеет форму выпуклой кривой, а сила прижатия прутка 4 к рабочей поверхности 5 ремня 6 обеспечивается упругим элементом 1, например, пружиной кручения или резиновой пластиной.
Рис. 1. Схема прижимного устройства для принудительного расстила:
1 – упругий элемент; 2 – шарнир; 3 – дополнительная балка; 4 – прижимной пруток; 5 – рабочая поверхность; 6 – ремень
Fig. 1. Diagram of the clamping device for controlled spreading:
1 – elastic element; 2 – hinge; 3 – additional beam; 4 – clamping rod; 5 – working surface; 6 – belt
Источник: рисунки 1, 3, 4 составлены авторами статьи.
Source: figures 1, 3, 4 are compiled by the authors of the article.
При работе льноуборочной машины лента растений льна после выхода из последнего рабочего органа поступает на вход УПР в транспортирующий канал, образованный боковой кромкой 5 плоского расстилочного ремня 6, имеющей выступы, и прижимными прутками 4. Прижимные поверхности прутков 4 благодаря шарнирному соединению 2 с дополнительной балкой 3 и силам упругой деформации элементов 1 последовательно и надежно прижимают ленту растений льна к рабочей поверхности 5 ремня 6. В таком зажатом состоянии лента растений активно перемещается к поверхности поля. Движение ремня 6 по заданной траектории осуществляется за счет системы шкивов и роликов (на схеме не показаны). Увеличение толщины расстилаемой ленты под прижимной поверхностью первого прутка 4 вызовет его поворот на шарнире 2 с подъемом над поверхностью ремня 5 и увеличением деформации упругого элемента 1, что обеспечит соответствующее возрастание силы прижатия стеблей прутком 4 к поверхности ремня 5. При последующем движении утолщенный участок массы стеблей попадает в зажим следующего прижимного прутка 4. Аналогичным образом описанный процесс повторяется под каждым последующим прутком 4 до выхода стеблей из транспортирующего канала на поверхность поля.
Таким образом, повышение надежности и качества работы расстилочных устройств льноуборочных машин будет обеспечено благодаря надежному зажиму стеблей на всем пути перемещения слоя растений льна транспортирующим каналом к поверхности поля, что позволит формировать и сохранять прямолинейность разостланных лент растений, тем самым повышая производительность льноподборщиков, увеличивая сбор и качество продукции.
Для оценки эффективности технического решения было изготовлено предлагаемое УПР с новым прижимным устройством и смонтировано на подборщик-оборачиватель ОКП-1,5К (рис. 2).
Рис. 2. Подборщик-оборачиватель ОКП-1,5К: а) вид спереди; b) вид на устройство для принудительного расстила
Fig. 2. OKP-1.5K pick-up turner: а) front view; b) view of the device for controlled spreading
Источник: фотографии сделаны А. Н. Зинцовым при полевых экспериментах в 2024 г.
Source: the photos were taken by A. N. Zintsov in 2024 during field experiments.
Влияние модернизированного УПР на предмет исследования изучали в сравнении следующих вариантов формирования и расстила ленты стеблей:
1) теребление растений с одновременным очесом семенных коробочек и расстилом стеблей в ленту серийным льноуборочным комбайном ЛК-4А (базовый вариант 1);
2) оборачивание лент стеблей подборщиком-оборачивателем ОКП-1,5К с модернизированным УПР (вариант 2);
3) оборачивание лент стеблей подборщиком-оборачивателем ОКП-1,5К с отключенным прижимным устройством УПР (вариант 3).
Программа экспериментальных исследований предусматривала получение первичной информации в виде последовательностей числовых значений ординат yк расположения комлевых частей лент стеблей на поверхности поля относительно базовой линии. Замеры производили через каждые 0,5 м на отрезках ленты длиной 25 м в пятикратной повторности. Таким образом, суммарная длина реализации в каждом варианте составила 125 м, то есть 250 значений yк. Для регистрации ординат yк использовали нестандартное приспособление (рис. 3), позволяющее производить замеры с заданным шагом. Длина реализаций и шаг дискретизации выбраны на основании предварительных сведений об изучаемом предмете исследования[5] [7; 17].
Рис. 3. Снятие показаний в поле с помощью нестандартного приспособления
Fig. 3. Taking readings in the field using a non-standard device
Характеристика слоя стеблей в сформированных лентах представлена в таблице 1.
Таблица 1. Характеристика исходного материала
Table 1. Characteristics of the source material
Показатель / Indicator | Значение / Meaning |
Сорт льна / Flax variety | Лидер / Leader |
Урожайность тресты, т/га / Yield trusts, t/ha | 2,78 |
Густота стеблестоя, ст./м2 / Stem density, art./m2 | 1 340 |
Балл полеглости стеблестоя / Stem lodging score | 5,00 |
Растянутость стеблей в ленте (относительная), % / Lengthiness of flax stems in the strip (relative), % | 132 |
Средняя общая длина растений, см / Average total length of plants, cm | 69,25 |
Влажность стеблей, %: / Humidity of the stems, %: |
61,12
21,60 |
Обработку полученных числовых рядов производили методами математической статистики и корреляционно-спектрального анализа с помощью компьютерной программы STATGRAPHICS Plus 5.0 и табличного редактора Microsoft Excel. Вычисляли математические ожидания – my, средние квадратические отклонения – σy и коэффициенты вариации – Vy6. Для описания внутренней структуры изучаемых процессов в пространственной (по длине ленты) и частотной областях применяли корреляционно-спектральный анализ с построением графиков нормированных корреляционных функций – ρy(τ) и спектральных плотностей – Sy(ɷ). Далее анализировали в каждом варианте время спада корреляционной функции (интервал корреляции) t0 и ширину полосы основных частот ɷср. Для оценки степени сохранения прямолинейности обернутых лент по отношению к базовому варианту использовали условный коэффициент, представляющий собой частное от деления интервалов корреляции:
где – интервал корреляции, м; n – номер варианта расстила ленты стеблей подборщиком-оборачивателем ОКП-1,5К; – интервал корреляции в базовом варианте 1, м.
Результаты исследования
Результаты проведенных исследований (табл. 2) показывают, что ленты стеблей в базовом варианте 1, сформированные льноуборочным комбайном, являются наиболее прямолинейными. Указанный факт обусловлен стойкостью лент свежевытеребленных растений к влияниям ветровой нагрузки и колебаний машины из-за повышенной влажности и массивности стеблевого слоя.
Таблица 2. Основные числовые характеристики процессов изменения кривизны лент
Table 2. The main numerical characteristics of the processes of changing the curvature of the tapes
Вариант / Option | ymin, см / cm | ymax, см /cm | my, см /cm | σy, см / cm | Vy, % |
1 | 8,0 | 36,0 | 22,42 | 5,17 | 23,02 |
2 | 6,0 | 35,0 | 21,04 | 6,48 | 30,83 |
3 | –3,5 | 40,5 | 21,64 | 7,88 | 36,39 |
Наибольшее расширение диапазона значений ординат yк наблюдается у лент стеблей, обработанных подборщиком-оборачивателем ОКП-1,5К с отключенным прижимным устройством УПР (вариант 3). Об этом также свидетельствуют максимальные значения среднего квадратичного отклонения σy и коэффициента вариации Vy. Менее заметные изменения указанных параметров имеют ленты, обернутые и разостланные с применением усовершенствованного устройства (вариант 2).
Результаты корреляционно-спектрального анализа представлены на рисунке 4 в виде графиков нормированных корреляционных функций ry(τ) и спектральных плотностей Sy(ω) исследуемых процессов.
Анализ полученных графиков показал, что внутренняя структура процесса расположения ординат yк комлевых частей лент стеблей также претерпела существенные изменения в результате работы УПР с отключенным прижимным устройством (рис. 4, вариант 3). Самый короткий интервал корреляции τ0 = 5,0 м свидетельствует о появлении в характере протекания указанного процесса резких и беспорядочных пульсаций ординат yк, формирование которых обусловлено отсутствием надежного сопровождения ленты льна при движении по расстилочному щиту. При этом подсушенная стеблевая масса легко подвергалась воздействию ветра и колебаний машины, расширяя тем самым границы спектра частот указанных колебаний с ωср = 0,512 в базовом варианте 1 до ωср = 0,712 м–1.
Однако прижим ленты льна к активной рабочей поверхности ремня УПР полностью устраняет отмеченные внешние воздействия на процесс расстила (рис. 4, вариант 2). В этом случае сокращение интервала корреляционной связи с τ0 = 11,0 (базовый вариант 1) до τ0 = 8,0 м произошло только за счет появления новых низкочастотных колебаний ординат yк (ωср = 0,512...0,608 м–1), обусловленных траекторией движения льноподборщика.
В результате корреляционно-спектрального анализа установлено, что наибольшее сохранение прямолинейности выявлено у лент стеблей, разостланных с применением усовершенствованного УПР – φ1,2 = 0,73 (73 %), а отключение прижимного устройства УПР вызвало сохранение указанного параметра всего лишь на уровне φ1,3 = 0,45 (45 %).
Рис. 4. Графики нормированных корреляционных функций ry(τ) и спектральных плотностей Sy(ω) исследуемых процессов
Fig. 4. Graphs of normalized correlation functions ry(τ) and spectral densities Sy(ω) of the studied processes
Таким образом, влияние нового прижимного устройства на сохранение прямолинейности ленты стеблей оценивается положительно, что обеспечивает повышение производительности льноподборщиков на 37,5 %, снижение эксплуатационных затрат на 15,2 %, и себестоимости продукции на 10,7 %7 [9]. Поэтому для обеспечения более высокого уровня механизации уборочных процессов льноуборочные машины целесообразно оснастить усовершенствованными устройствами для принудительного расстила лент [19].
Обсуждение и заключение
Основной причиной нарушения прямолинейности лент льна является наличие в льноуборочных машинах пассивных расстилочных устройств, поэтому при организации уборки следует применять технические средства, производящие расстил с активным сопровождением ленты максимально близко к поверхности поля. Для реализации указанного требования разработано устройство для принудительного расстила ленты растений, рабочее пространство которого образовано активной боковой кромкой плоского ремня и прижимным устройством в виде прутков, шарнирно закрепленных друг за другом с возможностью подъема своей прижимной поверхности под воздействием перемещаемого слоя растений льна.
Для оценки эффективности нового технического решения предлагаемое прижимное устройство смонтировано на подборщик-оборачиватель ОКП-1,5К. Результаты экспериментальных исследований показывают, что отключение прижимного УПР вызвало неудовлетворительное сохранение прямолинейности обернутых лент всего лишь на уровне ω1,3 = 0,45 с существенным расширением полосы основных частот с ωср = 0,512 до ωср = 0,712 м–1 за счет появления в указанном спектре новых случайных колебаний. Наибольшее сохранение прямолинейности выявлено у лент льна, разостланных с применением усовершенствованного УПР, – φ1,2 = 0,73, поэтому влияние нового прижимного устройства на сохранение прямолинейности ленты льна оценивается положительно. Данное устройство может обеспечить повышение производительности льноподборщиков, пропорциональное снижение эксплуатационных затрат на единицу наработки и уменьшить себестоимость продукции.
1 Смирнов Н. А., Смирнов С. В., Лобачев А. А. Возможные направления развития технологии уборки льна-долгунца // Инновационные разработки производства и переработки лубяных культур : материалы Междунар. науч.-практ. конф. (19 – 20 мая 2016 г., г. Тверь). Тверь : Тверской государственный университет, 2016. С. 163–166. https://elibrary.ru/xevand; Машинно-технологическое обеспечение возделывания и переработки прядильных культур / Р. А. Ростовцев [и др.] : моногр. М. : Российский научно-исследовательский институт информации и технико-экономических исследований по инженерно-техническому обеспечению АПК, 2020. 156 с. https://elibrary.ru/ehkqkf
2 Любимов В. П. Исследование процессов формирования слоя и расстила льносоломы для обоснования рациональной схемы льнорасстилочной машины : автореф. дис. ... канд. техн. наук. Кострома, 1971. 20 с.
3 Любимов В. П. Исследование процессов формирования слоя и расстила льносоломы для обоснования рациональной схемы льнорасстилочной машины.
4 Толстушко М. М., Хайліс Г. А., Толстушко Н. О. Розстилальні пристрої льонозбиральних машин : моногр. Луцьк : РВВ Луцького НТУ, 2014. 160 с.
5 Стяжкин В. И. Исследование динамики навесного подборщика тресты ПТН-1 с целью улучшения показателей его рабочего процесса : автореф. дис. … канд. техн. наук. Л., 1982.
6 Горлач Б. А. Теория вероятностей и математическая статистика : учебн. пособие для вузов. СПб. : Лань, 2021. 320. с. URL: https://e.lanbook.com/book/168478 (дата обращения: 12.05.2024); Кулаичев А. П. Методы и средства комплексного статистического анализа данных : учебн. пособие / 5-е изд., перераб. и доп. М. : НИЦ ИНФРА-М, 2022. 484 с. URL: https://znanium.com/catalog/product/1815604 (дата обращения: 29.05.2024).
7 Зинцов А. Н., Смирнов Н. А., Соколов В. Н. Результаты полевых испытаний принудительного расстила ленты в машинах костромского комплекса для раздельной уборки льна // Высокоэффективные технологии производства и переработки льна : материалы Междунар. науч.-практ. конф. Вологда, 2002. С. 226–231.
About the authors
Alexandr N. Zintsov
Kostroma State Agricultural Academy
Email: zintsov_a@mail.ru
ORCID iD: 0000-0003-3443-2015
SPIN-code: 2073-8846
ResearcherId: ADY-1834-2022
Dr.Sci. (Eng.), Professor of the Chair of Tractors and Automobiles
Russian Federation, 34 Uchebny Gorodok St., Karavaevo 156530Mixail M. Kovalev
Federal Research Center for Bast Crops
Author for correspondence.
Email: m.kovalev@fnclk.ru
ORCID iD: 0000-0003-2424-4205
SPIN-code: 6189-8619
ResearcherId: AAT-4775-2021
Dr.Sci. (Eng.), Chief Researcher of the Agroengineering Technologies Laboratory
Russian Federation, 17/56 Komsomolsky Ave., Tver 170041Gennady A. Perov
Federal Research Center for Bast Crops
Email: g.perov@fnclk.ru
ORCID iD: 0000-0002-5830-6817
SPIN-code: 4478-4991
ResearcherId: AAB-5326-2022
Cand.Sci. (Eng.), Leading Researcher of the Agroengineering Technologies Laboratory
Russian Federation, 17/56 Komsomolsky Ave., Tver 170041References
- Kadetova N.A., Sereda N.A. Improving Program-Target Planning for Rural Territories Development. Economics of Agriculture of Russia. 2024;(5):104–113. (In Russ., abstract in Eng.) https://doi.org/10.32651/245-104
- Rostovtsev R.A., Chernikov V.G., Ushchapovsky I.V., Popov R.A. The Main Problems of Scientific Support of Flax Growing. Agricultural Machinery and Technologies. 2020;14(3):45–52. (In Russ., abstract in Eng.) https://doi.org/10.22314/2073-7599-2020-14-3-45-52
- Chernikov V.G., Rostovtsev R.A., Romanenko V.Yu. Flax Harvesting Technologies for Flax Harvesting Machines. Agricultural Machinery and Technologies. 2023;17(1):19–24. (In Russ., abstract in Eng.) https://doi.org/10.22314/2073-7599-2023-17-1-19-24
- Sizov I.V., Pak L.N., Belyakova E.S. Evaluation of Straw Flax Preparation Quality in the Framework of Separate Flax Harvesting Technology. Agricultural Machinery and Technologies. 2023;17(2):49–54. (In Russ., abstract in Eng.) https://doi.org/10.22314/2073-7599-2023-17-2-49-54
- Perov M.G. Analysis of the State and Ways to Improve the Quality of Flax. Science in the Central Russia. 2022;58(4):53–61. (In Russ., abstract in Eng.) https://doi.org/10.35887/2305-2538-2022-4-53-61
- Solovyov S.V., Romanenko V.Yu., Chernikov V.G. Development of Remote-Controlled Self-Propelled Flax Windrow Turner. Agricultural Machinery and Technologies. 2024;18(4):10–16. (In Russ., abstract in Eng.) https://doi.org/10.22314/2073-7599-2024-18-4-10-16
- Zintsov A.N., Kovalev M.M., Perov G.A., Perov M.G., Dobretsov V.A. Influence of the Processes of Fluffing the Flax Stem Strips on the Structural Parameters of the Layer. Engineering Technologies and Systems. 2023;33(4):542–557. (In Russ., abstract in Eng.) https://doi.org/10.15507/2658-4123.033.202304.542-557
- Zintsov A.N., Kovalev M.M., Perov G.A. Probabilistic Model of the Kinematics of the Device for Reducing Elongation of Flax Fiber Stems in the Tape. Engineering Technologies and Systems. 2022;32(1):126–144. (In Russ., abstract in Eng.) https://doi.org/10.15507/2658-4123.032.202201.126-144
- Rostovtsev R.A., Kovalev M.M., Perov G.A., Prоsolov S.V. Studying the Innovative Flax Pulling Process in Apparatuses with Transverse Pulling Channels. Engineering Technologies and Systems. 2022;32(3):355–372. (In Russ., abstract in Eng.) https://doi.org/10.15507/2658-4123.032.202203.355-372
- Zintsov A.N., Bilan M.M., Dobretsov V.A. Investigation and Prevention of Defects in Flax Tapes Annotation. Agrarian Bulletin of the Non-Chernozem Region. 2022;(3):56–63. (In Russ., abstract in Eng.) https://doi.org/10.52025/2712-8679_2022_03_56
- Bykov N.N., Kalugin V.M., Kovalev M.M., Perov G.A., Sosnov V.I. [A Device for Wrapping and Spreading Flax Ribbons]. Patent 1271428 USSR. 1986 November 23. (In Russ.) Available at: https://clck.ru/3MEKoa (accessed 29.10.2024).
- Zubanov V.V., Zintsov A.N., Kovalev M.M., Smirnov N.A., Sokolov V.N. [Device for Forced Spreading of the Ribbon to Flax-Harvesting Machines]. Patent 2193301 Russian Federation. 2002 November 27. (In Russ.) https://patenton.ru/patent/RU2193301C2
- Smirnov N.A., Zintsov A.N., Sokolov V.N. Apparatus for Transportation of Plant Tape. Patent 2221361 Russian Federation. 2004 January 20. (In Russ., abstract in Eng.) https://elibrary.ru/zoconn
- Rostovtsev R.A., Zintsov A.N. [Investigation of the Process of Forced Spreading of a Ribbon by a Flax Combine]. Achievements of Scienceand Technology of AICis. 2006;(4):22–25. (In Russ.) https://elibrary.ru/kezthj
- Perov G. A., Rostovtsev A. A. [Determination of the Parameters of the Stream Conveyor of the Flax Harvester Device]. Vestnik of the Russian Agricultural Sciences. 2011;(5):74–76. (In Russ.) https://elibrary.ru/ogawbl
- Chernikov V.G., Perov G.A., Popov R.A., Rostovtsev A.A. [Investigation of the Process of Moving Flax Stalks Along a Spreading Shield in Extreme Weather Conditions]. Agricultural Machinery and Technologies. 2012;(3):27–28. (In Russ.) https://elibrary.ru/oxupur
- Lobachev A.A., Trofimov M.A., Smirnov S.V., Sokolov V.N. [Determination of Errors in Copying a Double Roll by a Pick-Up Baler. Agrarian Bulletin of the Upper Volga Region. 2023;(3):129–136. (In Russ.) https://doi.org/10.35523/2307-5872-2023-44-3-129-136
- Zubanov V.V., Kovalev M.M., Perov G.A., Sizov I.V. [Wrapping Device with Cantilever Type Clamping Rods]. Patent 107891 Russian Federation. 2011 September 10. (In Russ.) https://elibrary.ru/ogvvns
- Zintsov A.N. Spreading Device for Flax Harvesting Machines. Patent 2834953 Russian Federation. 2025 February 19. (InRuss., abstract in Eng.) https://elibrary.ru/gsxima
Supplementary files























