Теплопередача однотрубной системы отопления при реверсивной подаче теплоносителя
- Авторы: Левцев А.П.1, Лапин Е.С.1, Лысяков И.И.1, Чжень Д.2
-
Учреждения:
- Национальный исследовательский Мордовский государственный университет
- Цзянсуский университет науки и технологии
- Выпуск: Том 35, № 1 (2025)
- Страницы: 49-59
- Раздел: Электротехнологии и электрооборудование
- Статья получена: 20.12.2024
- Статья одобрена: 15.01.2025
- Статья опубликована: 25.03.2025
- URL: https://bakhtiniada.ru/2658-4123/article/view/273814
- DOI: https://doi.org/10.15507/2658-4123.035.202501.049-059
- EDN: https://elibrary.ru/ghqmlg
- ID: 273814
Цитировать
Полный текст
Аннотация
Введение. В традиционном режиме теплопередача однотрубных систем отопления значительно уступает двухтрубным. С развитием импульсных технологий в системах теплоснабжения стало возможным создание реверсивного режима подачи теплоносителя, в котором теплопередача отопительных приборов улучшается за счет пульсации теплоносителя, однако коэффициент теплопередачи во многом зависит от технологических решений создания такого режима. В связи с этим создание оригинальной технологической схемы для реверсивного режима на базе мембранного насоса и обоснование оптимального частотного диапазона его работы является актуальным и практически значимым для развития однотрубных систем отопления.
Цель исследования. Повышение эффективности работы однотрубных систем отопления с помощью создания реверсивного режима подачи теплоносителя с использованием мембранного насоса.
Материалы и методы. При установке экспериментальных зависимостей перепада температур для греющего и нагреваемого контуров отопления реверсивной теплопередачи по одной трубе от частоты пульсаций расхода теплоносителя при разных входных температурах в динамике использовались методы цепей, физического эксперимента, математической статистики. Физический эксперимент проводился последовательно при повышении и понижении температуры теплоносителя (50 и 60 °С).
Результаты исследования. На лабораторной установке реверсивной теплопередачи по одной трубе получена оптимальная частота для двух температур теплоносителя, обеспечивающая повышение перепада температур в контурах и коэффициент теплопередачи. Получены зависимости перепада температур для греющего (внешнего) и нагреваемого (внутреннего) контура теплоснабжения, а также коэффициента теплопередачи для теплообменника от частоты хода диафрагмы мембранного насоса.
Обсуждение и заключение. В результате проведения физического эксперимента установлено, что передача тепловой энергии по одной трубе возможна в широком диапазоне частот, при этом наибольшая теплопередача зафиксирована на частоте 0,3–0,4 Гц. Таким образом, технология теплопередачи по одной трубе может успешно применяться для отопления мест общего пользования в многоквартирных домах, общежитиях, промышленных, сельскохозяйственных объектах и зданиях индивидуальной жилой постройки.
Полный текст
Введение
Передача тепловой энергии в отопительных установках сопровождается технологическими потерями как тепловой, так и электрической энергии. Величину технологических потерь при передаче тепловой энергии по сетям для городских поселений в перспективе стараются ограничить на уровне 7 %. Однако фактическая ее величина пока остается высокой (16 % и более) [1]. Нормативная величина технологических потерь при передаче тепловой энергии зависит главным образом от исполнения тепловой сети (двухтрубная она или однотрубная). На практике получила распространение двухтрубная передача тепловой энергии, при которой горячий теплоноситель поступает к потребителю по подающему трубопроводу, а отработанный теплоноситель отводится по обратному трубопроводу [2]. Технологические потери здесь несут оба трубопровода, а расход труб по сравнению с однотрубными системами выше в два раза [3]. Вместе с тем в старой застройке и домах индивидуальной постройки еще не редко встречается однотрубная разводка, при которой отопительный прибор ставится в рассечку трубопровода, а отработанный теплоноситель возвращается по укороченному трубопроводу [4; 5], причем последний не всегда удачно вписывается в интерьер здания. В связи с этим однотрубная разводка редко применяется при реконструкции систем отопления зданий и новом строительстве [6].
С развитием импульсных технологий в системах тепло- и водоснабжения [7–9] стало возможной реверсивная передача тепловой энергии по одной трубе [10]. Теоретические основы такой теплопередачи изложены в работах [11–13]. Пульсирующее движение теплоносителя при этом осуществляется с помощью мембранного насоса [13], который для работы использует избыточный напор тепловой сети. Достаточно высокую надежность в работе и неплохие характеристики показали мембранные насосы с тарельчатыми диафрагмами [13–15]. Положительный опыт использования пульсирующего режима открывает новые возможности реализации реверсивной теплопередачи по одной трубе. При этом влияние пульсирующего режима мембранного насоса на теплопередачу при реверсивном движении теплоносителя не изучено. Таким образом, создание оригинальной технологической схемы для реверсивного режима на базе мембранного насоса и обоснование оптимального частотного диапазона его работы являются актуальными и практически значимыми задачами для развития однотрубных систем отопления.
В связи с этим целью данной работы стало исследование условий создания реверсивного движения теплоносителя в системе отопления с независимым подключением, а также получение экспериментальных зависимостей перепада температур для греющего (внешнего) и нагреваемого (внутреннего) контура теплоснабжения и коэффициента теплопередачи для промежуточного теплообменника от частоты хода диафрагмы мембранного насоса. Последние позволяют выбрать рациональный режим реверсивной передачи тепловой энергии в однотрубных системах отопления с независимым подключением.
Обзор литературы
Однотрубные системы отопления широко используются в зданиях индивидуальной постройки, а также для отопления отдельных промышленных и сельскохозяйственных объектов (склады, гаражи, станции технического обслуживания и др.) благодаря своей простоте и надежности в работе [4; 5]. Практика эксплуатации таких систем показывает, что их потенциал в значительной степени не использован. Особенностью однотрубной системы отопления является то, что теплоноситель движется в одном направлении [16]. При встрече с отопительным прибором (ОП) только часть теплоносителя ответвляется к нему, а большая идет по основной трубе. Отработанный теплоноситель из ОП смешивается с основным потоком теплоносителя, при этом температура теплоносителя по ходу его движения уменьшается.
К преимуществам однотрубной системы отопления можно отнести простоту монтажа и обслуживания, не требующих высокой квалификации персонала; экономию расходных материалов для монтажа (труба, арматура и др.); эстетический внешний вид; возможность организации нескольких контуров [4; 17]. В качестве недостатков однотрубной системы можно отметить следующие: снижение температуры по ходу движения теплоносителя (у последнего ОП она будет ниже на 1 °С и более); сложность регулирования температуры по отдельным помещениям; значительные затраты электроэнергии на привод насоса из-за необходимости поддержания повышенного расхода теплоносителя [6; 17].
Одним из действенных способов повышения эффективности однотрубных систем отопления и расширения их сферы использования является организация пульсирующего режима движения теплоносителя при независимом подключении ОП [10]. Суть данного изобретения заключается в использовании части напора тепловой сети для привода мембранного насоса, который создает в нагреваемом контуре пульсирующий реверсивный режим. При этом теплоноситель проходит ОП в двух направлениях: прямом и обратном. В обоих направлениях движения теплоносителя через ОП окружающему воздуху передается тепловая энергия. Мембранный насос управляется с помощью электромагнитного клапана в зависимости от положения мембраны. Расход теплоносителя в нагреваемом контуре однотрубной системы отопления зависит от объема диафрагмы и частоты привода мембранного насоса. В качестве мембранных насосов для систем отопления хорошо зарекомендовали себя мембранные насосы с тарельчатыми диафрагмами от тормозных систем автомобилей [13–15].
Материалы и методы
С целью нахождения рационального режима реверсивной передачи тепловой энергии по одной трубе была собрана экспериментальная установка, проведен физический эксперимент.
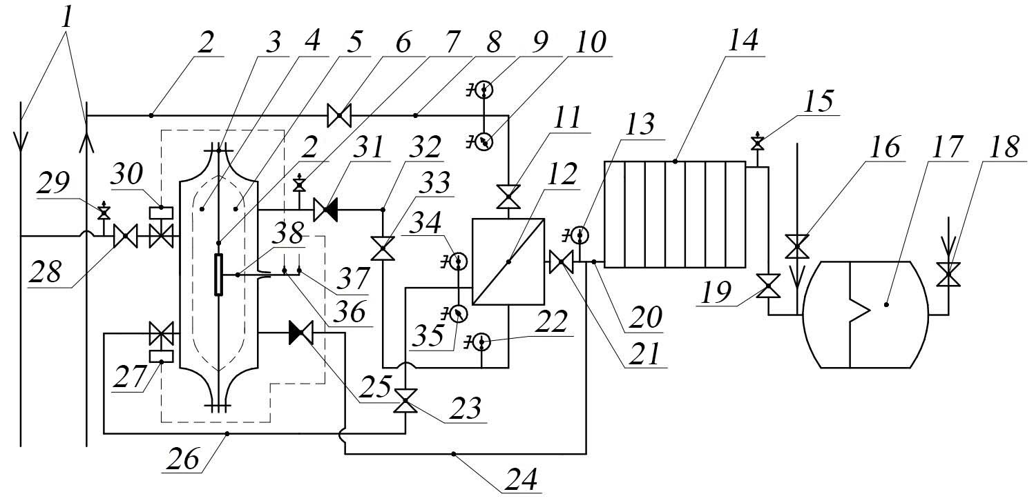
Экспериментальная установка для исследования реверсивной передачи тепловой энергии по одной трубе в пульсирующем режиме приведена на рисунке 1.
Рис. 1. Принципиальная схема лабораторной установки:
1 – тепловая сеть; 2 – диафрагма мембранного насоса; 3 – мембранный насос; 4 – рабочая зона мембранного насоса внешнего контура; 5 – рабочая зона мембранного насоса внутреннего контура; 6, 11, 21, 23, 28, 33 – задвижки; 7, 15, 19, 29 – спускные вентили; 8, 24, 26, 32 – соединительные трубопроводы; 9, 13, 22, 34 – электро-датчики температуры; 10, 35 – электродатчики давления; 12 – теплообменник независимого подключения; 14 – радиатор воздушного отопления; 16, 18 – краны; 17 – гидроаккумулятор; 20 – реверсивный трубопровод; 27, 30 – электромагнитные клапан; 25, 31 – обратные клапана; 36, 37 – микропереключатели; 38 – шток мембранного насоса
Fig. 1. Schematic diagram of the laboratory setup:
1 – heating system; 2 –pump diaphragm; 3 – diaphragm pump; 4 – working area of the external circuit diaphragm pump; 5 – the working area of the diaphragm pump of the internal circuit; 6, 11, 21, 23, 28, 33 – gate valves; 7, 15, 19, 29 – drain valves; 8, 24, 26, 32 – connecting pipelines; 9, 13, 22, 34 – electro-temperature sensors; 10, 35 – electro-pressure sensors; 12 – independent connection heat exchanger; 14 – radiator for air heating; 16, 18 – cranes; 17 – hydraulic accumulator; 20 – reversible pipeline; 27, 30 – solenoid valves; 25, 31 – check valves; 36, 37– microswitches; 38 – the stem of the diaphragm pump;
Источник: составлено авторами статьи по материалам [10].
Source: the diagram is compiled by the authors of the article based on the materials [10].
Теплоноситель забирается из тепловой сети через открытый электромагнитный клапан 30 и поступает в рабочую камеру 4 мембранного насоса 3, где за счет трансформации напора тепловой сети через диафрагму 2 мембранного насоса 3 создается давление в рабочей камере мембранного насоса 3 со стороны потребителя тепловой энергии 5, которое способствует вытеснению порции теплоносителя из рабочей камеры. Передав напор и изменив положение штока 38, после получения сигнала с микропереключателя 37 открывается электромагнитный клапан 27. Теплоноситель через соединительный трубопровод 26 поступает в теплообменник независимого подключения 12, где происходит процесс теплопередачи от теплоносителя внешнего контура к внутреннему контуру установки. Далее через соединительный трубопровод 8 отработанный теплоноситель возвращается в тепловую сеть 1. Во внутреннем контуре движение теплоносителя после смещения диафрагмы идет через соединительный трубопровод 24, минуя обратный клапан 31. При этом теплоноситель поступает в теплообменник независимого подключения 12, где происходит передача тепловой энергии от теплоносителя внешнего контура. Затем через реверсивный трубопровод 20 теплоноситель поступает в секционный радиатор 14, где передает тепловую энергию в окружающую среду. В последующем он поступает в гидроаккумулятор 17, повышая давление в нем. При повышении давления в гидроаккумуляторе 17 свыше предельного во внутренней системе начинается обратный ход штока 38, теплоноситель возвращается назад в рабочую камеру мембранного насоса со стороны потребителя 6, проходя через реверсивный трубопровод 20 и через соединительный трубопровод 24, взаимодействуя с обратным клапаном 25. При этом шток возвращается в исходное положение и, взаимодействуя с микропереключателем 36, отдает сигнал на перекрытие электромагнитного клапана 27 и открытие электромагнитного клапана 30. Заполнение системы водой происходит через кран 16. Заполнение гидроаккумулятора воздухом обеспечивается за счет крана 18. Для сбора расчетных данных экспериментальной установки используются датчики температуры 9, 13, 22, 34 и датчики давления 10, 35. Для обеспечения эксплуатации и ремонта установки также установлены задвижки 6, 11, 21, 23, 28, 33. Воздух из системы удаляется путем открытия спускных вентилей в верхних точках установки 15, 19, 29.
Проведение эксперимента осуществлялось по методике, которая включала последовательность следующих шагов:
- Подключались датчики температуры 9, 13, 22, 34 и давления 10, 35 к компьютеру для сбора данных с экспериментальной установки.
- Производилось заполнение внутреннего контура теплоснабжения теплоносителем открытием задвижек 19, 21, 33, а также крана заполнения системы водой 16. После создания давления во внутренней системе открывались спускные вентили 7, 15, удалялся воздух из системы. При этом диафрагма насоса смещалась в крайнее положение, замыкая микропереключатель 36. Спускные вентили 7, 15 прикрывались. Кран заполнения системы водой 16 закрывался. Включался компрессор и открывался кран заполнения воздухом диафрагмы гидроаккумулятора 18. Создавалось давление внутри диафрагмы P1 = 3 атм. Кран заполнения диафрагмы воздухом 18 закрывался.
- Осуществлялось заполнение наружного контура теплоснабжения теплоносителем. Открывались задвижки 6, 11, 23, 28. Включалась в сеть электросхема регулирования работы электромагнитных клапанов. Электромагнитный клапан 30 переключал положение, и наружная система заполнялась водой. За счет открытия спускного вентиля 29 из наружной системы удалялся воздух. Спускной вентиль 29 поджимался. Шток мембранного насоса начинал перемещаться, в системе происходила циркуляция теплоносителя. Источник тепловой энергии в виде электрического котла включался в сеть. После стабилизации режима (около 5 мин) записывались показания с водяных счетчиков. По периодам времени перемещения штока определялась частота работы мембранного насоса.
- Записывались результаты измерения с датчиков давления и температуры.
Результаты исследования
В результате тепловых испытаний построена зависимость перепада температур во внешнем контуре от частоты работы мембранного насоса (рис. 2).
Перепад температур во внешнем контуре происходит от частоты работы мембранного насоса при 50 °С и имеет тенденцию к снижению при повышении частоты. При температуре 60 °С наблюдается снижение разности температур при частоте работы мембранного насоса от 0,16 до 0,33 Гц, а после при частоте от 0,33 до 0,42 Гц график находится в состоянии покоя.
Рис. 2. График зависимости перепада температур внешнего контура теплоснабжения от частоты хода диафрагмы мембранного насоса
Fig. 2. Diagram for the dependence of the temperature difference of the external heat supply circuit on the pump diaphragm stroking rate
Источник: здесь и далее графики построены на основании полученных результатов в ходе проведения исследований.
Source: hereinafter in this article the diagrams are compiled by the authors of the article based on the results obtained during the study.
Далее рассмотрен перепад температур во внутреннем контуре от частоты хода диафрагмы мембранного насоса (рис. 3).
Рис. 3. График зависимости перепада температур внутреннего контура теплоснабжения от частоты хода диафрагмы мембранного насоса
Fig. 3. Diagram of the dependence of the temperature difference of the internal heat supply circuit on the pump diaphragm stroking rate
На данном графике можно наблюдать, что при температуре 50 °С повышение параметра разности температур зависит от повышения частоты работы мембранного насоса от 0,150 до 0,215 Гц, а после 0,215 Гц значение стремится к убыли. При температуре 60 °С заметна убыль значения перепада температур от частоты работы мембранного насоса от 0,150 до 0,330 Гц, затем параметр находится в устойчивом положение до частоты 0,410 Гц.
Рассмотрим график зависимости коэффициента теплопередачи от значения частоты работы мембранного насоса (рис. 4).
Рис. 4. График зависимости коэффициента теплопередачи теплообменника независимого подключения от частоты хода диафрагмы мембранного насоса
Fig. 4. Diagram for the dependence of the heat transfer coefficient of the heat exchanger using independent connection on the pump diaphragm stroking rate
Из данного графика следует, что стабильный рост коэффициента теплопередачи осуществляется при повышении частоты работы мембранного насоса. При этом температура подаваемого теплоносителя практически не оказывает влияния на изменение коэффициента теплопередачи.
Обсуждение и заключение
На экспериментальной установке однотрубной системы отопления с независимым подключением отопительных приборов с помощью мембранного насоса исследованы условия создания реверсивного движения теплоносителя. Установлено, что реверсивная передача тепловой энергии по одной трубе в системе отопления при независимой схеме с помощью мембранного насоса, использующего напор тепловой сети, возможна в широком диапазоне частот (от 0,15 до 0,40 Гц). Получены экспериментальные зависимости перепада температур в контурах от частоты пульсаций теплоносителя, показывающие, что с ростом частоты перепад температур как для внешнего, так и для наружного контура снижается более интенсивнее для меньших температур теплоносителя на входе, а коэффициент теплопередачи растет по линейной зависимости из-за увеличения расхода теплоносителя мембранного насоса. Таким образом, оптимальный диапазон частот передачи тепловой энергии по одной трубе по независимой схеме с помощью мембранного насоса, используемого напор тепловой сети, составляет от 0,3 до 0,4 Гц. Технологические решения передачи тепловой энергии по одной трубе по независимой схеме с помощью мембранного насоса, используемого напор тепловой сети, могут успешно применяться для отопления мест общего пользования в многоквартирных домах, общежитиях (подъезды, лестничные пролеты и др.), а также низкоэтажных промышленных (сельскохозяйственных) объектах и зданиях индивидуальной жилой постройки.
Об авторах
Алексей Павлович Левцев
Национальный исследовательский Мордовский государственный университет
Email: levtzevap@mail.ru
ORCID iD: 0000-0003-2429-6777
ResearcherId: B-8620-2019
доктор технических наук, профессор, заведующий кафедрой теплоэнергетических систем
Россия, 430005, г. Саранск, ул. Большевистская, д. 68Евгений Сергеевич Лапин
Национальный исследовательский Мордовский государственный университет
Email: evgeniy-lapin@yandex.ru
ORCID iD: 0000-0001-9647-8663
кандидат технических наук, доцент кафедры теплоэнергетических систем
Россия, 430005, г. Саранск, ул. Большевистская, д. 68Иван Иванович Лысяков
Национальный исследовательский Мордовский государственный университет
Email: lysyakov02@bk.ru
ORCID iD: 0009-0005-4606-1428
магистрант Института механики и энергетики
Россия, 430005, г. Саранск, ул. Большевистская, д. 68Дайфен Чжень
Цзянсуский университет науки и технологии
Автор, ответственный за переписку.
Email: dfchen@justc.edu.cn
ORCID iD: 0000-0002-4110-2199
Scopus Author ID: 26536999100
Ph.D, профессор, декан Школы энергетики
Китай, 212003, г. Чжэньцзян, 2 проезд МенгсиСписок литературы
- Попова Н.М., Таран В.Е., Петрикеева Н.А., Чудинов Д.М. Оценка технического состояния тепловых сетей в РФ. Градостроительство. Инфраструктура. Коммуникации. 2021;(1):16–21. EDN: AHRZOF
- Новосельцев Б.П., Мерщиев А.А., Соловьев С.А. Выбор системы отопления для встроенных в жилые дома помещений общественного назначения. Жилищное хозяйство и коммунальная инфраструктура. 2019;9(2):50–55. EDN: KFUVPK
- Жерлыкина М.Н., Кононова М.С. Технико-экономическое сравнение различных материалов труб, применяемых при поквартирной разводке системы отопления. Жилищное хозяйство и коммунальная инфраструктура. 2018;4(1):96–103. EDN: YMNEOQ
- Рохлецова Т.Л., Никулин С.В., Кияница Л.А. К вопросу проектирования однотрубных систем отопления в жилых зданиях. Известия высших учебных заведений. Строительство. 2016;691(7):36–45. EDN: WYCZHT
- Копец К.К. Технико-экономическое сравнение однотрубных и двухтрубных систем отопления. Вестник Луганского государственного университета имени Владимира Даля. 2021;54(12):75–78. EDN: EKXDOM
- Новосельцев Б.П., Лобанов Д.В. Нюансы проведения капремонта системы водяного отопления в жилых зданиях старой застройки. Сантехника. Отопление. Кондиционирование. 2021;(3):48–50. URL: https://clck.ru/3GfRma (дата обращения: 26.08.2024).
- Makeev A. Implementation of Pulse Heat Supply for Dependent Connection of Customers. Magazine of Civil Engineering. 2018;83(7):114–125. https://doi.org/10.18720/MCE.83.11
- Макеев А.Н. К вопросу локальной организации импульсно-колеблющейся циркуляции теплоносителя в системе теплоснабжения. Бюллетень науки и практики. 2018;4(5):254–262. https://doi.org/10.5281/zenodo.1246193
- Макеев А.Н. Теория организации импульсной циркуляции теплоносителя в системе теплоснабжения с независимым присоединением абонентов. Научный журнал строительства и архитектуры. 2018;50(2):11–20. EDN: XQGYFN
- Левцев А.П., Лысяков И.И. Система теплоснабжения с трансформацией напора тепловой сети. Патент 2825931 Российская Федерация. 2 сентября 2024. EDN: DTNWSU
- Embaye M., Al-Dadah R.K., Mahmoud S. Effect of Flow Pulsation on Energy Consumption of a Radiator in a Centrally Heated Building. International Journal of Low-Carbon Technologies. 2016;11(1):119–129. https://doi.org/10.1093/ijlct/ctu024
- Embaye M., Al-Dadah R.K., Mahmoud S. Thermal Performance of Hydronic Radiator with Flow Pulsation – Numerical Investigation. Applied Thermal Engineering. 2015;80:109–117. https://doi.org/10.1016/j.applthermaleng.2014.12.056
- Levsev A.P., Lapin E.S., Zhang Q. Increasing the Heat Transfer Efficiency of Sectional Radiators in Building Heating Systems. Magazine of Civil Engineering. 2019;92(8):63–75. https://doi.org/10.18720/MCE.92.5
- Левцев А.П., Лапин Е.С., Чжень Д. Использование тарельчатых диафрагм транспортных средств в двухконтурных мембранных насосах. Инженерные технологии и системы. 2023;33(1):68–78. https://doi.org/10.15507/2658-4123.033.202301.068-078
- Levtsev A.P., Lapin E.S., Grishin B.M., Ezhov E.G., Rodionov Yu.V. Research of Equipment for Pulsed Heating Supply. IOP Conference Series: Materials Science and Engineering. 2020;828:012015. https://doi.org/10.1088/1757-899X/828/1/012015
- Кочев А.Г., Саргсян С.В., Агафонова В.В. Влияние теплоотдачи отопительного прибора в однотрубной системе водяного отопления на коэффициент затекания. Промышленная энергетика. 2024;(6):39–43. EDN: MTBDXJ
- Олейников Ю.Д. Отопление: две трубы или одна? Сантехника. Отопление. Кондиционирование. 2011;113(5):36–37. EDN: RHVZEF
Дополнительные файлы
























