Determining the main characteristicsof an air conditioner mixing chamber nozzle using CFD-modeling
- 作者: Zelentsov D.V.1, Krasheninnikov S.V.1
-
隶属关系:
- Samara State Technical University
- 期: 卷 15, 编号 3 (2025)
- 页面: 30-35
- 栏目: HEAT SUPPLY, VENTILATION, AIR CONDITIONING, GAS SUPPLY AND LIGHTING
- URL: https://bakhtiniada.ru/2542-0151/article/view/310770
- DOI: https://doi.org/10.17673/Vestnik.2025.03.04
- ID: 310770
如何引用文章
全文:
详细
The paper presents the results of determining the main characteristics of the air conditioner mixing chamber nozzle using the computational fluid dynamics (CFD) modeling method. To determine the main characteristics of the nozzle, numerical studies were carried out in the ANSYS Fluent software product. To simulate the fluid flow in the volume of the mixing chamber, the Euler approach was used - the Volume of Fluid (VOF) method. The centrifugal air conditioner nozzle was considered as the object of study. Its parameters were determined - the flow characteristic and the opening angle of the liquid torch. Good agreement was obtained between the calculated parameters and the experimental data presented in the literature.
全文:
Применение систем адиабатического охлаждения воздуха ‒ одно из направлений обеспечения энергоэффективности промышленного производства [1‒5]. Процесс адиабатического охлаждения заключается во взаимодействии капельной жидкости (воды) с воздушной средой. Повышение эффективности адиабатического охлаждения определяется, в числе прочего, качеством механического распыла жидкости (смешения воздуха и водяного пара) в камере орошения кондиционера, обеспечивающего потребную площадь поверхности жидкости для ее испарения.
Одним из способов механического распыливания жидкости является применение центробежных форсунок. К центробежным форсункам в камерах смешения кондиционеров предъявляются требования по расходной характеристике, связанные с ограничениями уровней входного давления, и углу раскрытия жидкостного факела, необходимого для эффективного заполнения камеры смешения водовоздушным аэрозолем. Экспериментальное определение характеристик форсунки требует использования дорогостоящих испытательных стендов, изготовления и доработки натурных образцов. Поэтому на этапе проектирования желательно применение расчетных методов. В настоящее время CFD-моделирование позволяет определить основные характеристики форсунки, но требует валидации результатов. Целью данной работы является сравнение результатов численного и натурного экспериментов.
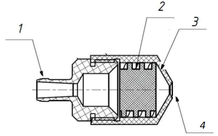
В работе [6] представлено экспериментальное исследование ряда центробежных форсунок оросительных камер промышленных кондиционеров (рис. 1).
Рис. 1. Центробежная форсунка: 1 ‒ входной патрубок; 2 ‒ шнековый завихритель; 3 ‒ камера закручивания; 4 ‒ выходное сопло
Fig. 1. Centrifugal nozzle: 1 ‒ inlet nozzle; 2 ‒ screw swirler; 3 ‒ twist chamber; 4 ‒ outlet nozzle
Геометрические параметры центробежной форсунки, использованной для сравнения численного и натурного экспериментов, следующие:
- радиус сопла – 2,25 мм;
- средний радиус захода шнека – 12,00 мм;
- количество заходов шнека – 3;
- ширина винтового канала – 3,80 мм;
- глубина винтового канала – 4,00 мм;
- угол наклона шнека – 75°.
На рис. 2 показана геометрия расчетной модели. Особенностью расчетной модели является присоединенный объем на выходе сопла форсунки. Применение присоединенного объема позволяет получить параметры жидкостного факела. В области высоких градиентов параметров жидкостной струи для уменьшения размеров элементов сетки в модель включено вспомогательное тело.
Рис. 2. Геометрия расчетной модели
Fig. 2. Simulation Model Geometry
На рис. 3 показана сеточная модель расчетной области, объем сетки составляет 1,5 млн. ячеек. Параметры сетки модели следующие:
- размерность модели – трехмерная;
- тип сетки ‒ гексаэдральная с многогранными призматическими слоями, соединенными через полиэдральный буферный слой;
- количество ячеек ‒ 1,5 млн. шт.;
- высота первого пристеночного призматического слоя – 0,05 мм;
- минимальное количество пристеночных призматических слоев – 5 шт.;
- максимальный коэффициент роста высоты пристеночных слоев – 1,2;
- минимальный размер ячейки – 0,25 мм;
- максимальный размер ячейки – 2 мм;
- ортогональное качество ячеек:
- минимальное – 0,15;
- максимальное – 1,00.
Рис. 3. Сеточная модель расчетной области
Fig. 3. Grid model of the calculation area
Для определения основных характеристик центробежной форсунки были проведены численные исследования в программном продукте ANSYS Fluent [7].
Для моделирования движения жидкости в камере смешения форсунки применялся метод объема жидкости (метод Эйлера) Volume of Fluid (VOF) [8]. В качестве параметра, отражающего картину двухфазного течения, здесь применяется параметр объемной доли жидкости в ячейке С (если С = 1, то ячейка заполнена жидкостью, если С = 0, то ячейка заполнена газом). Граница раздела ‒ ячейка с параметром С = 0,5.
При расчете использована модель турбулентности «k-omega SST». Расчет проводился с использованием пространственной дискретизации Compressive, которая обеспечивает наибольшую устойчивость расчета и сходимость по балансам масс и локальным значениям параметров потока. Сходимость расчета определялась по уровням невязок, балансам масс на входе и выходе модели, локальным значениям параметров потока.
Результаты представлены на рис. 4‒8. На рис. 4 показано распределение полного давления в миделевом сечении расчетной модели; на рис. 5‒7 ‒ распределения абсолютной, осевой и тангенциальной скоростей в миделевом сечении расчетной модели.
Рис. 4. Распределение полного давления
Fig. 4. Total pressure distribution
Рис. 5. Распределение абсолютной скорости потока
Fig. 5. Absolute flow rate distribution
Рис. 6. Распределение осевой составляющей скорости потока
Fig. 6. Distribution of axial component of flow velocity
Рис. 7. Распределение тангенциальной составляющей скорости потока
Fig. 7. Distribution of tangential component of flow velocity
Рис. 8. Распределение относительной концентрации жидкости
Fig. 8. Distribution of relative fluid concentration
На рис. 8 показано распределение относительной концентрации жидкости в миделевом сечении расчетной модели. Угол раскрытия жидкостного факела расчетной модели составляет 76,6° для всех режимов. В случае натурного эксперимента изменение угла раскрытия жидкостного факела составляет 75‒78° в рассмотренном диапазоне режимов работы центробежной форсунки. Из сравнения результатов расчетного и натурного экспериментов можно заключить, что CFD-моделирование с высокой степенью достоверности отражает течение в исследуемой форсунке.
Расходная характеристика также является одной из основных для форсунки. В частности, она позволяет определить зависимость коэффициента расхода форсунки μФ от режимных параметров. Расход воды GВ в натурном эксперименте определен весовым методом [6], в численном эксперименте этот параметр определен в постпроцессоре ANSYS Fluent.
Коэффициент расхода форсунки определяется соотношением
где ‒ идеальный расход воды через форсунку,
здесь FC – площадь сопла форсунки; ρВ – плотность воды; ΔP – перепад давления на форсунке.
На рис. 9 показана расходная характеристика исследуемого варианта форсунки, вычисленная весовым методом в натурном эксперименте [6], и расходная характеристика форсунки из CFD-моделирования.
Рис. 9. Расходная характеристика форсунки
Fig. 9. Nozzle flow characteristic
Результаты определения значений идеального расхода воды и коэффициента расхода форсунки представлены ниже. В табл. 1 приведены результаты определения коэффициента расхода форсунки в натурном эксперименте [6], в табл. 2 ‒ результаты определения коэффициента расхода форсунки в CFD-моделировании.
Таблица 1. Значения режимных параметров форсунки в натурном эксперименте
Table 1. Values of operating parameters of the nozzle in the field experiment
ΔP, МПа | GВ , кг/с | GВ.ИД. , кг/с | μФ |
0,098 | 0,092 | 0,223 | 0,413 |
0,196 | 0,102 | 0,315 | 0,324 |
0,294 | 0,131 | 0,386 | 0,340 |
0,304 | 0,128 | 0,392 | 0,326 |
Таблица 2. Значения режимных параметров форсунки в численном эксперименте
Table 2. Values of operating parameters of nozzle in numerical experiment
ΔP, МПа | GВ , кг/с | GВ.ИД. , кг/с | μФ |
0,051 | 0,074 | 0,160 | 0,465 |
0,101 | 0,086 | 0,226 | 0,378 |
0,203 | 0,104 | 0,320 | 0,325 |
0,304 | 0,120 | 0,392 | 0,306 |
Сравнение результатов натурного и численного экспериментов приведено на рис. 10. Заметна хорошая сходимость результатов натурного и численного экспериментов.
Рис. 10. Коэффициент расхода форсунки в натурном и численном экспериментах
Fig. 10. Nozzle flow coefficient in full-scale and numerical experiments
Выводы. Проведено исследование характеристик течения жидкости (воды) через центробежную форсунку оросительной камеры промышленных кондиционеров с использованием численного моделирования. По результатам работы можно заключить, что для угла раскрытия жидкостного факела расхождение результатов натурного и численного экспериментов не превышает 2,1 %. Результаты определения коэффициента расхода форсунки натурного и численного экспериментов, как видно из проведенного исследования, соответствуют как качественно, так и количественно. Следовательно, CFD-моделирование обладает хорошей прогностической способностью при проектировании центробежных форсунок оросительной камеры (камеры смешения) промышленных кондиционеров.
作者简介
Danila Zelentsov
Samara State Technical University
编辑信件的主要联系方式.
Email: tgv@samgtu.ru
PhD in Engineering Sciences, Associate Professor, Head of the Heat and Gas Supply and Ventilation Chair
俄罗斯联邦, 443100, Samara, Molodogvardeyskaya st., 244Sergey Krasheninnikov
Samara State Technical University
Email: tgv@samgtu.ru
PhD in Engineering Science, Associate Professor, Associate Professor of the Heat and Gas Supply and Ventilation Chair
俄罗斯联邦, 443100, Samara, Molodogvardeyskaya st., 244参考
- Stefanov E.V. Ventiljacija i kondicionirovanie vozduha [Ventilation and air conditioning]. St. Petersburg, AVOK North-West, 2005. 400 p.
- Bogoslovsky V.N., Kokorin O.Ya., Petrov L.V. Kondicionirovanie vozduha i holodosnabzhenie [Air conditioning and cold supply]. Moscow, Stroyizdat, 1985. 367 p.
- Belova E.M. Central’nye sistemy kondicionirovanija vozduha v zdanijah [Central air conditioning systems in buildings]. Moscow, Evroclimat, 2006. 639 p.
- Edukov D.A., Saimanova O.G., Edukov V.A. Energy Efficiency Study of the System Air Conditioning with Secondary Cooling Circuit. Gradostroitel’stvo i arhitektura [Urban Construction and Architecture], 2023, vol. 13, no. 1, pp. 67–73. (in Russian) doi: 10.17673/Vestnik.2023.01.9
- Yartsev D.S., Tsynaeva A.A. Study of the Ventilation and Air Conditioning System of the Shopping Mall. Gradostroitel’stvo i arhitektura [Urban Construction and Architecture], 2019, vol. 9, no. 3, pp. 63–73. (in Russian) doi: 10.17673/Vestnik.2019.03.9
- Shalnov S.A. Povyshenie jeffektivnosti teploobmennyh apparatov [Improving the efficiency of heat exchangers]. TGU, Togliatti, 2018. 92 p.
- Ansys Fluent. Release 2021 R2. Help System. Fluent help, user manual, 22.3.13. Using the VOF-to-DPM model transition for dispersion of liquid in gas. Available at: https://www.afs.enea.it/project/neptunius/docs/fluent/html/ug/main_pre.htm (accessed 20 February 2025).
- Hirt C.W., Nichols B.D. Volume of fluid (VOF) method for the dynamics of free boundaries. Journal of Computational Physics. 1981. V. 39. I. 1. P. 201‒225.
补充文件












