An improved precast reinforced concrete multi-cavity floor slab of aggregate-flow production technology. The results of full-scale loading tests
- Authors: Shepelev A.P.1, Ibatullin R.R.1, Pischulev A.A.1
 - 
							Affiliations: 
							
- Samara State Technical University
 
 - Issue: Vol 15, No 2 (2025)
 - Pages: 12-20
 - Section: BUILDING CONSTRUCTIONS, BUILDINGS AND FACILITIES
 - URL: https://bakhtiniada.ru/2542-0151/article/view/294200
 - DOI: https://doi.org/10.17673/Vestnik.2025.02.02
 - ID: 294200
 
Cite item
Full Text
Abstract
The article presents a new design solution for multi-cavity prestressed floor slabs with modified voids of complex shape with undercuts in the support zones, as well as the results of a full-scale loading test of a prototype. These plates are designed as part of a modified bonded frame based on the 1.020-1.87 series. The plates are supported by the crossbar shelves, forming a ceiling surface without protruding ribs. The proposed solution of the frame in prefabricated structures reduces the cost of construction compared to monolithic housing construction, and, at the same time, provides functionality and aesthetic qualities characteristic of popular monolithic girderless frames. The results of the loading test of the developed floor slab showed the reliability and viability of the proposed design solution.
Full Text
На кафедре железобетонных конструкций АСА СамГТУ совместно со специалистами ООО «Опытный завод СМиК» и ПКМ «Татищев» была разработана каркасно-стеновая конструктивная система многоэтажного жилого здания в сборных железобетонных конструкциях. Особенностью системы является то, что поверхность потолка устраивается плоской аналогично безбалочным каркасам, однако плиты и ригели в составе системы работают по балочной схеме.
По схеме статической работы каркас относится к связевым. В основу положена серия 1.020-1.87. Конструктивную систему формируют следующие элементы: колонны, ригели пониженной высоты, диафрагмы жесткости, видоизмененные плиты перекрытия (рассматриваются в данной статье).
Ригели и панели перекрытия в составе каркаса выполняются предварительно напряженными. Конструктивное решение разработанного в составе каркаса ригеля изложено ранее в [1]. Колонны также имеют особенность в конструктивном исполнении: размеры консолей уменьшены по сравнению с типовым решением.
Главным преимуществом разработанного каркаса является его индустриальность, что позволяет снизить себестоимость строительства и, вместе с тем, с точки зрения функциональности и эстетических качеств сохранить конкурентоспособность с популярными ныне монолитными безбалочными каркасами [2, 3].
В настоящей статье авторами приводится конструктивное решение разработанных многопустотных (частореберных) предварительно напряженных плит перекрытия с пустотами сложной формы с подрезами в опорных зонах, а также результаты натурного испытания нагружением опытного образца.
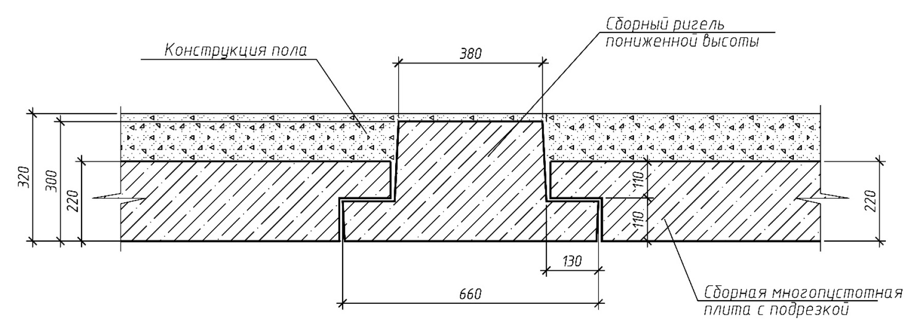
В основу проектируемых плит положены конструкции серии 1.141-1 (выпуск 63). Высота сечения плит перекрытия составляет 220 мм. Номинальные размеры плиты в плане 6,3 × 1,2 м. При этом высота короткой консоли, образованной подрезкой, принимается равной 110 мм. Величина вылета консоли – 130 мм. Плиты опираются подрезками на полки ригелей, образуя поверхность потолка без выступающих ребер (рис. 1).
Рис. 1. Узел сопряжения плит перекрытия с ригелем
Fig. 1. Joint between floor slabs and girder
Технология изготовления плит – агрегатно-поточная.
Плиты разработаны под расчетную равномерно-распределенную нагрузку 10 кН/м2 (без учета собственного веса плиты).
Разработанные плиты перекрытия предназначены для эксплуатации в неагрессивной среде в закрытом помещении (по условию сохранности арматуры класса А800 ширина продолжительного раскрытия трещин ‒ не более 0,2 мм, непродолжительного раскрытия – 0,3 мм).
В поперечном сечении плиты имеют шесть продольных пустот сложной формы, разработанных специалистами ПКМ «Татищев» и ВОАО «Опытный завод СМиК». Данная форма пустот позволяет, не уменьшая общую площадь пустот по сравнению с пустотами круглой формы диаметром 159 мм, увеличить толщину поперечных ребер плиты до 37 мм (против 26 мм при круглых пустотах), что увеличивает величину защитного слоя бетона поперечного армирования, обеспечивая тем самым лучшую совместную работу бетона с жесткими вставками каркасов поперечного армирования. Поперечное сечение плиты показано на рис. 2.
Рис. 2. Опалубочный чертеж пролетного сечения плиты
Fig. 2. Formwork drawing of slab span section
Номинальные размеры плит в плане составляют 6,3×1,2 м. Расчетный пролет конструкций принят 6,2 м. Проектный класс бетона – В20. Заданная величина начального предварительного напряжения составляет σsp = 550 МПа, способ натяжения – электротермический. Твердение бетона – в условиях тепловой обработки при атмосферном давлении (пропарочная камера).
Продольное рабочее армирование в нижней зоне плит представлено семью стержнями диаметром 12 мм класса А800 (установлены в каждом ребре плиты).
Поперечное рабочее армирование плит выполнено в виде плоских каркасов со стальными вставками. Длина каркасов составляет 1640 мм, от опоры каркасы заведены вглубь ребер плиты на 1500 мм. Каркасы установлены с каждого торца плиты в пяти ребрах из семи.
На опорных участках для увеличения прочности против продергивания предварительно напряженных стержней в нижней зоне устанавливаются П-образные сетки шириной 0,44 м из арматурной проволоки диаметром 4 мм класса В500 (ячейка 200 × 300 мм) – типовое решение согласно серии 1.141-1 (выпуск 63).
В верхней, сжатой от внешней нагрузки зоне плиты, по всей площади плиты установлена сетка с ячейкой 200 × 300 мм из арматурной проволоки диаметром 3 мм класса В500. Данная сетка обеспечивает прочность верхней полки в момент извлечения пустотообразующего пуансона.
Армирование плиты представлено на рис. 3.
Рис. 3. Схема армирования плиты
Fig. 3. Slab reinforcement diagram
С учетом наличия подрезки в опорной части плиты поперечное армирование, предусмотренное серией 1.141-1 (выпуск 63), изменено.
В рамках экспериментальных и теоретических поисков [4‒12] были разработаны каркасы различной конфигурации с целью выбора наиболее надежного решения. Были проведены эксперименты с использованием четырех видов каркасов (рис. 4, варианты 1‒4):
- вариант 1: каркас, сформированный рабочей поперечной арматурой из арматурной проволоки диаметром 5 мм класса В500 (шаг стержней составляет 50 и 90 мм) и одним отгибом, пересекающим подрезку, из арматуры диаметром 10 мм класса А400; продольные монтажные стержни – из арматуры классов А400 и В500;
 - вариант 2: каркас, в котором в опорной части, включая подрезку, на длину 450 мм от торца для восприятия совместно действующих поперечной силы и изгибающего момента установлена пластина толщиной 5 мм из листовой стали класса С235 – «жесткая вставка», далее, по длине каркаса в качестве рабочей поперечной арматуры служат стержни из арматурной проволоки диаметром 5 мм класса В500; шаг поперечных стержней составляет 90 мм; продольные монтажные стержни – из арматуры классы А400;
 - вариант 3: каркас, аналогичный варианту 2, с той разницей, что жесткая вставка выполнена из стали с чечевичным профилем по ГОСТ 8568;
 - вариант 4: каркас, аналогичный варианту 2, но для обеспечения совместной работы бетона с пластинами вставки решены с отверстиями; виды на каркас варианта 4 и на его конструктивное исполнение представлены на рис. 4 и 5.
 
Рис. 4. Каркас поперечного армирования плиты, варианты 1‒4
Fig. 4. Plate transversal reinforcement frame, options 1‒4
Рис. 5. Конструктивное исполнение каркаса для поперечного армирования плиты, вариант 4
Fig. 5. Structural design of the frame for transverse reinforcement of the slab, option 4
Для предотвращения поворота жесткой вставки в плоскости ребра плиты, пластина объединена с арматурным каркасом поперечного армирования посредством приварки к продольным стержням. По конструктивным соображениям каркасы рационально устанавливать не реже чем через ребро с обязательным расположением в крайних ребрах плиты, иначе при транспортировке и монтаже в зоне подрезки могут возникнуть начальные трещины, так как бетонное сечение подрезки незначительно.
Для выбора решения с наибольшей эффективностью на ООО «Опытный завод СМиК» г. Тольятти были изготовлены, а также испытаны нагружением образцы плит с четырьмя видами каркасов. По результатам испытаний установлено, что наибольшую несущую способность и эффективность имел вариант 4 каркаса. Данный каркас был выбран для дальнейшей разработки конструкции плиты.
Наименьшую несущую способность имел каркас варианта 1. Каркасы вариантов 2 и 3 показали свою неэффективность по причине того, что при изготовлении панелей после извлечения пустотообразующих пуансонов происходило отслоение бетона от поверхности жестких вставок. Перфорация вставки в виде круглых отверстий, примененная в варианте 4, позволила устранить данный фактор.
Продольное предварительно напряженное армирование плиты подобрано расчетом по двум группам предельных состояний в соответствии с положениями СП 63.13330.2018.
При расчете по образованию и ширине раскрытия трещин, а также по деформациям (вторая группа предельных состояний) геометрические характеристики бетонного сечения плиты и непосредственно пустоты (для определения размеров эквивалентного сечения из условия равенства площади и момента инерции прямоугольника и фактической пустоты) определены посредством «ПК SCAD. Консул». Поперечное сечение плиты и его геометрические характеристики, сформированные «ПК SCAD. Консул», представлены на рис. 6, 7 и в таблице.
Геометрические характеристики поперечного сечения плиты
Geometric characteristics of the cross section of the plate
Обозначение  | Параметр  | Значение  | Единица измерения  | 
A  | Площадь поперечного сечения  | 1318.612  | см2  | 
φ  | Угол наклона главных осей инерции  | 90  | град  | 
Iy  | Момент инерции относительно центральной оси Y1, параллельной оси Y  | 81430.454  | см4  | 
Iz  | Момент инерции относительно центральной оси Z1, параллельной оси Z  | 1611105.327  | см4  | 
It  | Момент инерции при свободном кручении  | 260094.75  | см4  | 
iy  | Радиус инерции относительно оси Y1  | 7.858  | см  | 
iz  | Радиус инерции относительно оси Z1  | 34.955  | см  | 
au+  | Ядровое расстояние вдоль положительного направления оси Y  | 5.483  | см  | 
au-  | Ядровое расстояние вдоль отрицательного направления оси Y  | 5.752  | см  | 
av+  | Ядровое расстояние вдоль положительного направления оси Z  | 21.066  | см  | 
av+  | Ядровое расстояние вдоль отрицательного направления оси Z  | 21.066  | см  | 
P  | Периметр  | 586.723  | см  | 
Pi  | Внутренний периметр  | 310.723  | см  | 
Pe  | Внешний периметр  | 276  | см  | 
Рис. 6. Сечение пустотообразующего пуансона (пустоты)
Fig. 6. Core void cross-section (voids)
Рис. 7. Поперечное сечение плиты в пролете
Fig. 7. Cross section of the slab in the span
На ООО «Опытный завод СМиК» г. Тольятти был изготовлен и испытан опытный образец плиты перекрытия с подрезкой в опорной части и с поперечным армированием в виде каркаса варианта 4 (см. выше). Плита изготовлена на агрегатно-поточной технологической линии производства для плит серии 1.141-1 (выпуск 63). Виды на плиту представлены на рис. 8–9.
Рис. 8. Вид на торец плиты: а ‒ со стороны входа пуансонов (торец I);
б ‒ со стороны, противоположной входу пуансонов (торец II)
Fig. 8. View of the plate end: а ‒ from the side of punches inlet (end I);
b ‒ from the side opposite to the entry of punches (end II)
Рис. 9. График зависимости фактического прогиба от дополнительной нагрузки
Fig. 9. Actual Deflection vs. Additional Load Plot
Испытание плиты проведено по методике, представленной в ГОСТ 8829.
Положение плиты при испытании – проектное, расчетная схема – свободно опертая однопролетная балочная конструкция: одна опора шарнирно-неподвижная, другая – подвижная, допускающая перемещение плиты вдоль пролета.
Загружение плиты осуществлялось сборными бетонными блоками. Вес каждого блока составлял 450 кг. Перед проведением испытаний блоки были взвешены и для испытаний были отобраны блоки, вес которых не выходил за обозначенные пределы.
Нагружение плиты в соответствии с ГОСТ 8829 выполнялось поэтапно. Нагрузка на каждом этапе (ступени) составляла 10 % от контрольной нагрузки по прочности и при этом не превышала 20 % от контрольной нагрузки по жесткости.
После каждого этапа нагружения конструкция плиты выдерживалась не менее 10 мин, при контрольных нагрузках ‒ не менее 30 мин. При этом велся осмотр образца, фиксировались показания приборов. На всех этапах испытания велась фотофиксация.
Прогиб плиты определялся в средней части пролета при помощи двух установленных у продольных торцов прогибомеров типа 6ПАО. На плитах прогибомеры были зафиксированы при помощи струбцин.
На каждом этапе нагружения испытываемая плита тщательно осматривалась, фиксировалась картина трещинобразования, замерялась ширина раскрытия трещин (измерительный микроскоп МПБ-3М).
Для оценки смещения концов стержней предварительно напряженной арматуры, на торцах плиты были установлены индикаторы часового типа. Для установки индикаторов были разработаны крепежные захваты, крепление которых к плите осуществлено на клеевом составе.
До начала нагружения во втором ребре на торце I плиты зафиксирована наклонная трещина шириной раскрытия около 1 мм. Начало трещины – от внутреннего угла подрезки под углом примерно 50 град к горизонтали. По-видимому, трещина образовалась в процессе установки плиты перекрытия на опоры.
На первом этапе загружения в некоторых промежуточных ребрах плиты образовались вертикальные либо наклонные, с заходом на свод, пустоты, под углом примерно 45 град к горизонтали ‒ волосные трещины. С увеличением нагрузки наблюдалось их незначительное раскрытие. Образование этих трещин можно объяснить наличием концентраций напряжений, вызванных усадкой бетона в процессе изготовления плиты.
При дальнейшем проведении испытаний при поэтапном приложении нагрузки видимый нагрузочный эффект характеризовался линейным увеличением прогиба и небольшим раскрытием наклонных трещин в подрезках. Нормальных трещин при контрольной нагрузке по трещинообразованию зафиксировано не было.
В дальнейшем, при контрольной нагрузке для оценки деформативности и ширины раскрытия трещин, зафиксированный прогиб составлял 82 % от контрольного значения. Трещины, нормальные к продольной оси, в пролетных и опорных сечениях не обнаружены. Наклонные трещины во внутренних углах подрезки характеризовались максимальной шириной раскрытия 0,15 мм. Смещения предварительно напряженных стержней в торцах не отмечалось. При выдержке конструкции под нагрузкой в течение 30 мин показания приборов не увеличивались, что свидетельствует о упругой работе бетона и арматуры. Разработанная конструкция плиты по показателям второй группы предельных состояний показала свою жизнеспособность.
Трещины, нормальные к продольной оси, появились в опасном сечении плиты при нагрузке 75 % от контрольной разрушающей.
При контрольной нагрузке по прочности по критерию пластического характера разрушения от действия изгибающего момента в пролете разрушения конструкции зафиксировано не было. Показания приборов не свидетельствовали о наличии пластических деформаций в арматуре. Прогиб характеризовался величиной 65 % от граничного значения, смещение концов предварительно напряженной арматуры составило 35 % от граничного значения. Максимальная ширина раскрытия нормальных трещин в пролете достигала 0,2 мм. Расстояние между трещинами составляло 100–250 мм. Первая нормальная трещина находилась на расстоянии 1,8 м от опоры. Таким образом, прочность плиты, соответствующая пластическому характеру разрушения в нормальных сечениях от действия изгибающего момента (первый случай разрушения), была обеспечена.
При контрольной нагрузке по прочности по критерию хрупкого характера разрушения от действия касательных сил максимальная ширина раскрытия наклонных трещин в подрезах составила 0,5 мм. При этом максимальное смещение концов предварительно напряженной арматуры составило 60 % от граничного значения. Наклонные трещины в подрезах в момент своего появления имели угол наклона примерно 45 град к горизонтали; с увеличением нагрузки на плиту увеличивался и угол наклона вновь образовывающихся трещин и в дальнейшем траектория трещин была близка к вертикали. Разветвления трещин и раздробления бетона в вершинах трещин не отмечалось. В торцевой части со стороны входа пуансонов (наиболее ослабленное сечение) наблюдались трещины, отслоение защитного слоя и незначительные сколы бетона, вызванные смятием. Ширина раскрытия нормальных трещин в пролете достигала 0,8 мм. Таким образом, прочность плиты, соответствующая второму случаю разрушения (хрупкий характер от действия поперечных сил) по ГОСТ 8829, была обеспечена.
Величина прогиба (график зависимости прогиба от нагрузки представлен на рис. 9) и величина ширины раскрытия нормальных трещин свидетельствовали, что достижение конструкцией предельного состояния по прочности произошло по достижению продольной арматуры условного предела текучести.
При дальнейшем увеличении нагрузки наряду со значительным увеличением прогиба (до 100 мм) зафиксировано резкое смещение концов предварительно напряженной арматуры с 0,06 мм на 15-м этапе до 0,12 мм на 16-м этапе. При этом наблюдалась динамика этого процесса: после выдержки конструкции при данной нагрузке 30 мин смещение составило 0,17 мм.
Результаты испытания нагружением разработанной плиты перекрытия показали надежность и жизнеспособность предложенного конструктивного решения.
Поперечное рабочее армирование плиты в виде плоских каркасов со стальными вставками (вариант 4) весьма эффективно воспринимает совместно действующие поперечную силу и изгибающий момент.
About the authors
Alexandr P. Shepelev
Samara State Technical University
							Author for correspondence.
							Email: Shepelevap@mail.ru
				                					                																			                								
Associate Professor of the Reinforced Concrete Structures Chair
Russian Federation, 443100, Samara, Molodogvardeyskaya st., 244Rustam R. Ibatullin
Samara State Technical University
														Email: Rustic2@yandex.ru
				                					                																			                								
Senior Lecturer of the Reinforced Concrete Structures Chair
Russian Federation, 443100, Samara, Molodogvardeyskaya st., 244Alexandr A. Pischulev
Samara State Technical University
														Email: pishulev@yandex.ru
				                					                																			                								
PhD of Engineering Science, Associate Professor of the Reinforced Concrete Structures Chair
Russian Federation, 443100, Samara, Molodogvardeyskaya, 244References
- Shepelev A.P, Ibatullin R.R., Pischulev A.A. Improved precast reinforced concrete crossbar of reduced height. Results of full-scale loading tests. Gradostroitel’stvo i arhitektura [Urban Planning and Architecture], 2023, vol. 13, no. 3(52), pp. 35‒41. (in Russian)
 - Koyankin A.A, Mitasov V.M. Cast-in-place building frame and its features at separate life cycles. Vestnik MGSU [Vestnik MGSU], 2015, no. 7, pp. 28‒35. (in Russian)
 - Nedviga E.S., Vinogradova N.A. Systems of prefabricated monolithic slabs. Stroitel’stvo unikal’nykh zdaniy I sooruzheniy [Construction of unique buildings and structures], 2016, no. 4(43), pp. 87‒102. (in Russian)
 - Buhman N. S., Zhiltsov Yu. V. Determination the coefficients of stress distribution in the steel sheet at transverse bend of ferroconcrete beam. Izvestiya samarskogo nauchnogo centra rossijskoj akademii nauk [Proceedings of the Samara Scientific Center of the Russian Academy of Sciences], 2013, vol. 15, no. 6‒2, pp. 314‒317. (in Russian)
 - Filatov V., Galyautdinov Z. Numerical study of crack formation and strains distribution during the punching of reinforced concrete slabs. Lecture notes in civil engineering. 2022. V. 197. P. 169‒177.
 - Filatov V., Galyautdinov Z. Study of concrete slab deformations in the area of punching. Stroitel’stvo i zastrojka: zhiznennyj cikl – 2020. Materialy V Mezhdunarodnoj (XI Vserossijskoj) konferencii [Construction and development: life cycle – 2020. Materials in the International (XI All-Russian) Conference], 2020, pp. 224‒230. (In Russian).
 - Filatov V.B. Calculation of strength of the inclined sections bent reinforced concrete elements taking account of aggregate interlock forces in inclined crack. Beton i zhelezobeton – vzgljad v budushhee. Nauchnye trudy III Vserossijskoj (II Mezhdunarodnoj) konferencii po betonu i zhelezobetonu: v 7 tomah [Concrete and reinforced concrete – a look into the future. Scientific papers of the III All-Russian (II International) Conference on Concrete and Reinforced Concrete: in 7 volumes], 2014, vol. 1, pp. 289‒296. (In Russian).
 - Filatov V., Galyautdinov Z. Experimental study and methodology for calculating the punching shear strength of reinforced concrete slabs. Gradostroitel’stvo i arhitektura [Urban Planning and Architecture], 2021, vol. 11, no. 4(45), pp. 53‒65. (in Russian)
 - Murashkin V., Murashkin G., Application of concrete deformation model for calculation of bearing capacity of reinforced concrete structures. Proc. of 27th Russian-Polish-Slovak seminar, theoretical foundation of civil engineering (27RSP), Rostov-on-Don, 17-21 September 2018. P. 04008.
 - Travush V.I., Krylov S.B., Konin D.V., Krylov A.S. Ultimate state of the support zone of reinforced concrete beams. Magazine of civil engineering. 2018. N. 7. P. 165‒174.
 - Mirsayapov I.T. Ensuring the safety of reinforced concrete beams along the oblique sectionunder repeated loads. Zhilishhnoe stroitel’stvo [Housing construction], 2016, no. 1‒2, pp. 23‒27. (in Russian)
 - Kumpyak O.G., Galyautdinov Z.R., Kokorin D.N. Experimental and theoretical studies of reinforced concrete beams on yielding supports over oblique sections under seismic and other dynamic loads. Sejsmostojkoe stroitel’stvo. Bezopasnost’ sooruzhenij [Earthquake engineering. Constructions safety], 2013, no. 1, pp. 40‒44. (in Russian)
 
Supplementary files
				
			
					
						
						
						
						
				










