An innovation in the method of assessing the fire resistance of a reinforced concrete girderless ceiling of a building
- Authors: Ilyin N.A.1, Panfilov D.A.1, Pischulev A.A.1, Vasyuchkin G.R.1
-
Affiliations:
- Samara State Technical University
- Issue: Vol 14, No 3 (2024)
- Pages: 11-18
- Section: BUILDING CONSTRUCTIONS, BUILDINGS AND FACILITIES
- URL: https://bakhtiniada.ru/2542-0151/article/view/271362
- DOI: https://doi.org/10.17673/Vestnik.2024.03.02
- ID: 271362
Cite item
Full Text
Abstract
The article presents a new method for assessing the fire resistance of monolithic girderless non-accumulating floors of buildings and structures. The essence of the method lies in the fact that thermal (fire) tests of the floor are carried out without destruction, according to a set of single indicators of the quality of working fittings and structural concrete of continuous slabs. The use of the method makes it possible to determine the fire resistance of an uncut reinforced concrete slab of a girderless ceiling of a building without full-scale fire exposure, increases the reliability of statistical quality control and non-destructive testing, reduces economic costs.
Full Text
Обеспечение огнестойкости железобетонной конструкции междуэтажных перекрытий (в том числе чердачных и над подвалами) обязательно для выполнения строительных работ при проектировании, строительстве, капитальном ремонте, реконструкции, изменении назначения и эксплуатации строительных объектов, а также при разработке технической документации на объекты защиты от пожаров [1, 2].
При разработке нововведения в способ оценки фактической огнестойкости железобетонных монолитных безбалочных баскапительных перекрытий, наряду с методами теоретического исследования и научного эксперимента, авторами данной статьи использован метод математического моделирования [3, 4].
Новизну предлагаемой работы определяют результаты тематического поиска по выявлению изобретательного уровня техники и аналогов технического решения теплотехнической и термопрочностной задачи для оценки фактического (проектного) предела огнестойкости железобетонных балочных бескапительных плит перекрытий [3‒6].
Соответствие степени огнестойкости и предела огнестойкости конструкции перекрытий зданий, сооружений и пожарных отсеков, как несущих элементов, приводят в соответствие с ФЗ № 123 [2, табл. 21] (см. таблицу).
Необходимость оценки фактического (проектного) предела огнестойкости плит перекрытия многоэтажных зданий возникает при реконструкции здания, усилении ее части и элементов; приведении огнестойкости строительного объекта в соответствие с требованиями современных строительных норм (регламентов); при проведении технической экспертизы и восстановлении железобетонных плит перекрытий после пожара [2, 7].
Из научного сообщения института строительной техники Академии Архитектуры известна работа, содержащая результаты исследований по разработке конструктивных решений для многоэтажных зданий безбалочных бескапительных перекрытий [8]. Безбалочные перекрытия являются рациональным типом для применения в строительстве вследствие наличия гладкой поверхности потолка, это позволяет лучше производить планировку помещений, упростить и удешевить отделочные работы [8].
Соответствие степени огнестойкости и предела огнестойкости строительных конструкций зданий, сооружений и пожарных отсеков
Compliance of fire resistance degree and fire resistance rating of building structures of buildings, structures and fire compartments
Степень огнестойкости объекта | Особая (прим.1) | I (первая) | II (вторая) | III (третья) |
Предел огнестойкости перекрытия REJ, мин (прим.2) | 180 | 60 | 45 | 45 |
Примечания: 1. По СТО 36 544 503-006-2006, НИИЖБ [11]. 2. REJ – признаки предельных состояний: потеря несущей способности (R); потеря целостности (Е); потеря изолирующей способности (J).
В [9] рассмотрены общие вопросы проектирования безбалочного перекрытия с железобетонными плитами, опертыми по контуру; показаны особенности монолитных железобетонных конструкций и их отличие от сборных, рассмотрена работа безбалочных монолитных перекрытий, конструирование и армирование безбалочных плит, примеры расчета на прочность.
Однако в рассмотренных работах нет указаний по способу расчета монолитных плит безбалочного бескапительного перекрытия на огнестойкость.
Из научно-технической литературы известен способ оценки огнестойкости железобетонных плит перекрытия зданий по результатам изучения последствий натурного пожара. Этот способ включает в себя выявление положения плиты перекрытия в сооружении, оценку состояния железобетонной плиты путем осмотра и измерения конструктивных параметров, изготовление конструктивных образцов конструктивного бетона и рабочей арматуры, выявление времени наступления представленных состояний по признакам потери целостности, несущей и огнепреграждающей способности [2, 10‒12].
Из патентных документов известен способ оценки огнестойкости железобетонной монолитной плиты перекрытия здания, который включает тепловое испытание без разрушения, по комплексу единичных показателей качества рабочей арматуры и конструктивного бетона монолитной плиты. Для этого определяют геометрические размеры железобетонной плиты, схему обогрева расчетного сечения в условиях пожара, размещение рабочей арматуры в сечении, глубину заложения и степень ее огнезащиты, коэффициент термодиффузии бетона, величину испытательной нагрузки на монолитное перекрытие и интенсивность силовых напряжений в рабочей арматуре [4].
К недостаткам известного способа оценки огнестойкости железобетонной плиты перекрытия относится то, что этот способ не учитывает:
а) отличительные особенности конструктивно-планировочных решений монолитных безбалочных бескапительных плит перекрытия;
б) особенности сопротивления безбалочных бескапительных перекрытий термосиловому воздействию в условиях пожара;
в) влияние неразрезности плит безбалочного перекрытия на расчетные теплофизические характеристики нагретого бетона и рабочей арматуры;
г) особенности принципиальной схемы расчета безбалочного бескапительного перекрытия на огнестойкость по методу предельного равновесия. Указанные недостатки известного способа снижают расчетные величины проектных пределов огнестойкости монолитных безбалочных бескапительных перекрытий в 4‒5 раз.
Суть нововведения состоит: в установлении показателей пожарной безопасности здания в части гарантированной длительности сопротивления железобетонных монолитных безбалочных бескапительных плит перекрытия здания в условиях пожара; в определении проектных пределов огнестойкости безбалочных бескапительных плит перекрытия здания по признакам потери несущей FU(R) и теплоизолирующей способности FU(J), мин.
Научно-технический результат при осуществлении нововведения достигается тем, что в известном способе оценки огнестойкости железобетонного монолитного перекрытия здания, включающем: проведение технического осмотра, установление вида бетона и рабочей арматуры монолитного перекрытия, условий ее опирания, определение фактического предела огнестойкости железобетонного монолитного перекрытия по признакам потери несущей и теплоизолирующей способности, проведение теплового (огневого) испытания монолитного перекрытия без разрушения по комплексу единичных показателей качества, дополняя осмотр измерениями геометрических размеров монолитного перекрытия, определение диаметров стержней рабочей арматуры, их взаимного расположения и толщину защитного слоя бетона, установление схемы обогрева основного сечения перекрытия, условий нагрева рабочей арматуры, теплофизических характеристик бетона, коэффициента термодиффузии бетона, степени огнезащиты арматуры бетоном и величины испытательной нагрузки на монолитное перекрытие, ‒ отличительными особенностями предлагаемого нововведения является то, что в качестве железобетонной конструкции принимают монолитное безбалочное бескапительное перекрытие, конструктивно-планировочное решение которого представляют в виде неразрезной в двух направлениях плоскостей плиты, опирающейся на колонны зданий надколонными и пролетными полосами, которые в опасных сечениях армируют рулонными или плоскими сетками по верху и по низу плиты в один или в два ряда по данным расчета на прочность при полосовой нагрузке из условия предельного равновесия. При этом фактический предел огнестойкости железобетонного безбалочного бескапительного перекрытия по признаку потери несущей способности (FU(R), мин) определяют, используя аналитическое уравнение
(1)
где Jσs ‒ интенсивность силовых напряжений в рабочей арматуре железобетонной плиты (0,1 ‒ 1,0); n – показатель термотекучести рабочей арматуры; Тs,u – предельная температура (°C) нагрева рабочей арматуры в условиях предельного равновесия плиты; С – степень огнезащиты рабочей арматуры бетоном, см; km – показатель неразрезности железобетонной плиты; е – натуральное число (е = 2,718); ℓn – натуральный логарифм.
Интенсивность силовых напряжений в рабочей арматуре железобетонной плиты перекрытия (Jσs ≤ 1) вычисляют по уравнению
(2)
где gн.дл и g ‒ соответственно нормативная длительная нагрузка и полная расчетная нагрузка на плиту, кН/м2; As.mp и As.cf ‒ соответственно требуемая по расчету и принятая в проекте площадь сечения рабочей арматуры, мм2; Rs и Rsn ‒ соответственно расчетное и нормативное сопротивление рабочей арматуры на растяжение, МПа.
Показатель неразрезности (km) железобетонной плиты монолитного безбалочного бескапительного перекрытия вычисляют по уравнению
(3)
где As.on и As.np ‒ соответственно площадь рабочей арматуры на опоре и в пролете железобетонной плиты, мм2.
Предельную температуру нагрева (Ts,u, °C) рабочей арматуры железобетонной безбалочной бескапительной плиты вычисляют по аналитическому уравнению
(4)
где ts,cr ‒ критическая температура нагрева растянутой арматуры простой железобетонной безбалочной плиты, °C; km ‒ показатель неразрезности железобетонной плиты монолитного безбалочного бескапительного перекрытия.
Коэффициент термодиффузии нагретого тяжелого бетона (Dвт, мм2/мин) вычисляют по аналитическому уравнению
(5)
где λ0 и вλ – эмпирический показатель теплопроводности бетона, Вт/(м·°С); С0 и dс – эмпирические показатели теплоемкости бетона, кДж/(кг·°С); tв,cr – критическая температура нагрева бетона в зоне залегания арматуры, °С; ρс – плотность сухого бетона, кг/м3; ω – влажность бетона массовая, %.
Степень огнезащиты бетоном рабочей арматуры (С, см) железобетонной плиты вычисляют по аналитическому уравнению
(6)
где amin ‒ глубина залегания рабочей арматуры, мм; Dвт ‒ коэффициент термодиффузии нагретого бетона, мм2/мин.
Предел огнестойкости монолитной безбалочный бескапительной плиты перекрытия по признаку потери теплоизолирующей способности (FU(J), мин) вычисляют по аналитическому уравнению
(7)
где tin ‒ температура нагрева (°C) необогреваемой поверхности плиты перекрытия, равная (vu,in + tl); здесь vu,in ‒ предельная температура нагрева (140‒220 °C); tl ‒ начальная температура тела плиты (20±5 °C); hmin – минимальная толщина плиты, мм; Dвт ‒ коэффициент термодиффузии нагретого бетона плиты (20±5 °C) вычисляют по уравнению (5).
Исключение натурных огневых испытаний железобетонной монолитной безбалочной бескапительной плиты перекрытия существующего здания и замена их на неразрушающие тепловые (огневые) испытания снижают трудоемкость оценки их огнестойкости, дают возможность проведения тепловых (огневых) испытаний безбалочного бескапительного перекрытия на огнестойкость без нарушения функционального процесса обследуемого здания; следовательно, условия испытания железобетонного монолитного безбалочного бескапительного перекрытия на огнестойкость значительно упрощены.
Снижение экономических затрат на проведение неразрушающего испытания достигается за счет исключения расходов на демонтаж, транспортирование и натурные огневые испытания образца железобетонной плиты перекрытия.
Применение математического описания процесса сопротивления железобетонного безбалочного бескапительного перекрытия воздействию высокой температуры (500‒1000 °C) и использование построенных аналитических выражений (1)‒(7) повышает точность и достоверность определения их огнестойкости по признакам несущей (FU(R), мин) и теплоизолирующей (FU(J), мин) способности.
В математическом описании учтено:
а) отличительные особенности конструктивно-планировочного решения монолитного безбалочного бескапительного перекрытия;
б) особенности сопротивления безбалочного бескапительного перекрытия термосиловому воздействию в условиях пожара;
в) влияние неразрезности плит безбалочного бескапительного перекрытия на теплофизические характеристики нагретого бетона и арматуры;
г) особенности принципиальной схемы расчета безбалочного бескапительного перекрытия на огнестойкость по методу предельного равновесия.
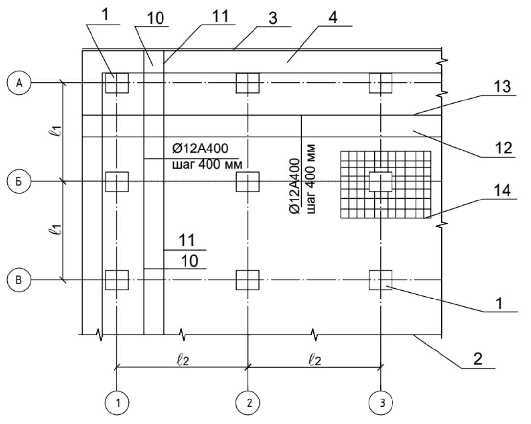
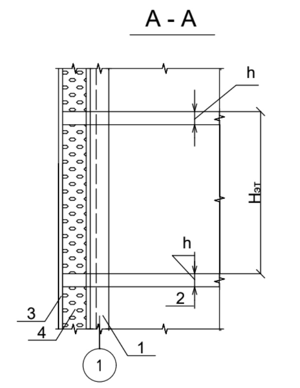
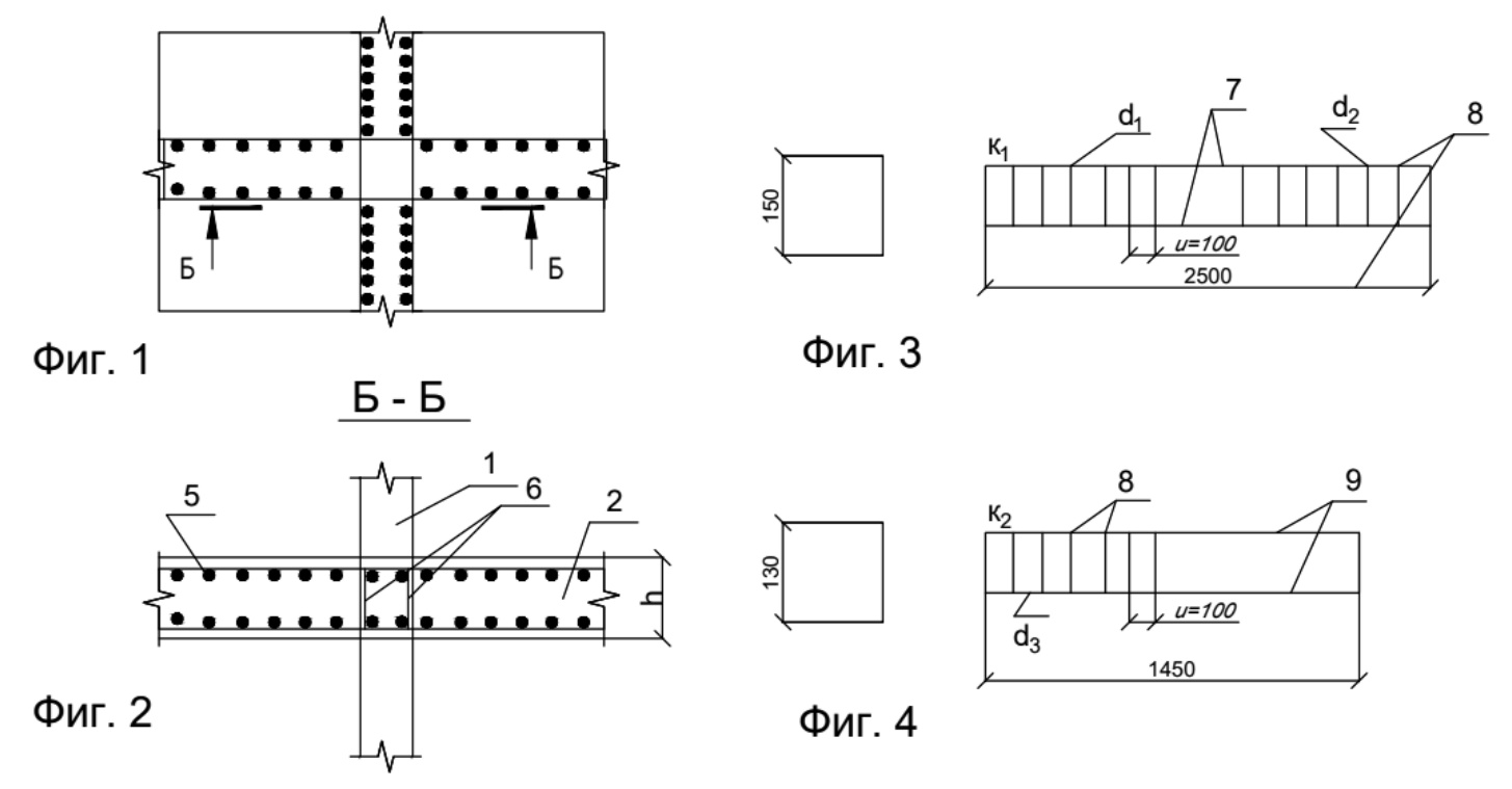
Учет этих особенностей в расчете повышает проектные пределы огнестойкости монолитного безбалочного бескапительного перекрытия по сравнению со сборными балочными перекрытиями в 4‒5 раз (рис. 1‒4).
Рис. 1. Фрагмент плана железобетонного монолитного безбалочного бескапительного перекрытия здания: 1 – колонна; 2 – плита перекрытия; 3 – наружная грань; 4 – стеновое ограждение; ℓ₁ и ℓ₂ – соответственно пролеты плиты в коротком и длинном направлении, мм
Fig. 1. Fragment of the plan of the reinforced concrete monolithic beam-free dripless flooring of the building: 1 – column; 2 – floor slab; 3 – outer face; 4 – wall fence; | 1 and | 2 – respectively plate spans in short and long direction, mm
Рис. 2. Разрез А – А по рис. 1 – опирание наружной стены на плиту безбалочного бескапительного перекрытия: 1 – колонна; 2 – плита перекрытия; 3 – наружная грань плиты; 4 – стеновое ограждение; h ‒ толщина монолитной плиты, мм; Нэт – высота этажа здания, мм
Fig. 2. Section A – A according to Fig. 1 – support of the outer wall on the slab of a beam-free dripless floor: 1 – column; 2 – floor slab; 3 – outer face of the plate; 4 – wall fence; h – thickness of cast-in-situ slab, mm; Net – building floor height, mm
Рис. 3. Расположение плоских арматурных каркасов в узле сопряжения монолитной плиты безбалочного бескапительного перекрытия с колонной: план (фиг. 1) и разрез Б – Б (фиг. 2); конструкции плоских арматурных каркасов К1 (фиг. 3) и К2 (фиг. 4): 1 – колонна; 2 – плита перекрытия; 5 – каркас К1; 6 – каркас К2; 7 – продольные стержни диаметром d₁ арматурной сетки каркаса К1; 8 – поперечные стержни диаметром d₃; 9 – продольные стержни диаметром d₃ арматурной сетки каркаса К2; и – шаг поперечных стержней; h = 200 мм – толщина монолитной плиты
Fig. 3. Location of flat reinforcement frames in the junction of the monolithic slab of a beam-free dripless floor with a column: plan (Fig. 1 and section B-B (Fig. 2); the structure of the planar reinforcement frames K1 (Fig. 3 and K2 (Fig. 4): 1 – column; 2 – floor slab; 5 – K1 frame; 6 – K2 frame; 7 – longitudinal rods with diameter d₁ of reinforcement mesh of K1 frame; 8 – transverse rods with diameter d₃; 9 – longitudinal rods with diameter d₃ of reinforcement mesh of K2 frame; and – pitch of transverse rods; h = 200 mm – thickness of cast-in-situ slab
Рис. 4. Армирование монолитного безбалочного бескапительного перекрытия: 1 – колонна; 2 – плита перекрытия; 3 – наружная грань плиты; 4 – стеновое ограждение; 10 – продольные стержни нижней арматурной сетки; 11 – продольные стержни верхней арматурной сетки; 12 – поперечные стержни нижней арматурной сетки; 13 – поперечные стержни верхней арматурной сетки; 14 – дополнительная арматура в опорной зоне; ℓ₁ и ℓ₂ – шаг колонн в продольном и соответственно в поперечном направлении, мм; ∅12 А 400 – диаметр рабочих стержней арматуры класса А 400
Fig. 4. Reinforcement of cast-in-situ beam-free dripless floor: 1 – column; 2 – floor slab; 3 – outer face of the plate; 4 – wall fence; 10 – longitudinal rods of the lower reinforcement mesh; 11 – longitudinal rods of the upper reinforcement mesh; 12 – transverse rods of the lower reinforcement mesh; 13 – transverse rods of the upper reinforcement mesh; 14 – additional reinforcement in the support zone; | 1 and | 2 – column pitch in longitudinal and, respectively, in transverse direction, mm; ∅12 А 400 – diameter of working reinforcement bars of class А 400 cast-in-situ slab
Способ оценки огнестойкости железобетонного монолитного безбалочного бескапительного перекрытия здания осуществляют в следующей последовательности.
Сначала производят визуальный осмотр здания; назначают комплекс единичных показателей качества бетона и арматуры монолитного безалочного бескапительного перекрытия, влияющих на фактические пределы ее огнестойкости FU(R) и FU(J), мин.
Далее выявляют размеры сетки колонн здания и толщину наиболее нагруженной плиты безбалочного бескапительного перекрытия; устанавливают схему армирования монолитной плиты по верху и по низу плиты; выявляют разбивку плиты перекрытия на пролетные и надколонные полосы; устанавливают схему образования изломов монолитной плиты перекрытия при полосовой нагрузке по месту расположения линейных шарниров в пролетной полосе; выявляют условия опирания отдельных плит перекрытия в зависимости от расположения в плане; устанавливают наиболее нагруженную плиту перекрытия.
Далее производят сбор нормативных нагрузок на 1 м2 перекрытия, устанавливают величины пролетных и опорных моментов, строят эпюры изгибаемых моментов для наиболее нагруженной монолитной плиты в направлении ее коротких сторон.
Затем по величине относительного изгибающего момента находят требуемую площадь рабочей арматуры в коротком направлении в пролете и на опоре плиты и конструируют арматурные сетки; устанавливают вид и класс по прочности бетона и верхних стержней арматурной сетки наиболее нагруженной плиты.
К основным единичным показателям качества железобетонного монолитного безбалочного бескапительного перекрытия, обеспечивающим фактические пределы огнестойкости, относят: геометрические размеры безбалочной плиты перекрытия и высоту основного сечения; глубину залегания, класс по прочности, номинальный диаметр, интенсивность силовых напряжений в рабочей арматуре; прочность бетона на сжатие, его среднюю плотность и массовую влажность; толщину защитного слоя, коэффициент термодиффузии (температуропроводности) бетона и характеристику неразрезной монолитной плиты.
Применение предложенного нововведения в способе оценки огнестойкости железобетонного безбалочного бескапительного перекрытия здания позволяет определить фактический предел огнестойкости железобетонных безбалочных бескапительных перекрытий зданий и сооружений без натурного теплового воздействия в условиях пожара, повышает достоверность неразрушающих испытаний и значительно снижает экономические затраты.
Данный способ был применен при оценке огнестойкости железобетонного монолитного безбалочного перекрытия здания городского склада на 10000 т мяса (распредхолодильник ПКЗ ВАЗ, г. Тольятти).
Выводы. Предложенный способ оценки огнестойкости железобетонного безбалочного бескапительного перекрытия здания включает в себя:
About the authors
Nikolay Al. Ilyin
Samara State Technical University
Author for correspondence.
Email: panda-w800i@yandex.ru
ORCID iD: 0009-0001-3509-2692
PhD of Engineering Sciences, Professor of the Reinforced Concrete Structures Chair
Russian Federation, 443100, Samara, Molodogvardeyskaya st., 244Denis Al. Panfilov
Samara State Technical University
Email: panda-w800i@yandex.ru
ORCID iD: 0000-0001-5894-2242
PhD of Engineering Sciences, Head of the Reinforced Concrete Structures Chair
Russian Federation, 443100, Samara, Molodogvardeyskaya st., 244Alexander An. Pischulev
Samara State Technical University
Email: sk@samgtu.ru
ORCID iD: 0000-0002-0778-4683
PhD of Engineering Sciences, Associate Professor of the Reinforced Concrete Structures Chair
Russian Federation, 443100, Samara, Molodogvardeyskaya st., 244German R. Vasyuchkin
Samara State Technical University
Email: Plato2008@yandex.ru
ORCID iD: 0009-0001-0433-7319
Assistant of the Reinforced Concrete Structures Chair
Russian Federation, 443100, Samara, Molodogvardeyskaya st., 244References
- Ilyin N.A., Panfilov D.A. Ocenka ognestojkosti proektiruemyh zhelezobetonnyh konstrukcij: monografija [Assessment of fire resistance of designed reinforced concrete structures: monograph]. Samara, SamSTU, 2017. 186 p.
- Technical Regulations on Fire Safety Requirements. Federal Law No. 123-FZ (Ch. 9. Fire and technical classification of buildings, structures and fire compartments). (In Russian)
- Ilyin N.A., Panfilov D.A., Ilyina V.N. Sposob ocenki ognestojkosti balochnoj konstrukcii [Method of evaluation of fire resistance of beam structure]. Patent RF, no. 2 650 704, 2017.
- Ilyin N.A., Panfilov D.A., Zhiltsov Yu.V. Sposob ocenki ognestojkosti monolitnoj zhelezobetonnoj balochnoj plity perekrytija zdanija [Method for fire resistance assessment of a monolithic reinforced concrete beam slab of a building]. Patent RF, no. № 2 674 418, 2017.
- Ilyin N.A., Panfilov D.A., Zhiltsov Yu.V. Sposob ocenki ognestojkosti zhelezobetonnogo monolitnogo bezbalochnogo beskapitel’nogo perekrytija zdanija [Method for assessment of fire resistance of reinforced concrete cast-in-situ beam-free dripless flooring of a building]. Patent RF, no.2021 000 000, 2020.
- Ilyin N.A., Mordovsky S.S., Vasilyeva E.E., Talanova V.N. Determination of reinforcement area of round reinforced concrete column. Gradostroitel’stvo i arhitektura [Urban Planning and Architecture], 2018, vol. 8, no. 3, pp. 8‒11. (in Russian) doi: 10.17673/Vestnik.2018.03.2
- Ilyin N.A., Panfilov D.A., Kolesnev N.A., Silantyev I.A. Assessment of design fire resistance of two-span reinforced concrete beam of the building. Gradostroitel’stvo i arhitektura [Urban Planning and Architecture], 2019, vol. 9, no. 4, pp. 16‒21. (in Russian) doi: 10.17673/Vestnik.2019.04.3
- Glukhovsky A.D. Zhelezobetonnye bezbalochnye beskapitel’nye perekrytija dlja mnogojetazhnyh zdanij: nauchnoe soobshhenie Akademii Arhitektury [Reinforced concrete beam-free drop-free floors for multi-storey buildings: scientific message of the Academy of Architecture]. Moscow, Gostroizdat, 1956. 60 p.
- Snegireva A.I., Murashkin G.V. Monolitnye zhelezobetonnye konstrukcii. Primer rascheta i konstruktivnye bezbalochnogo perekrytija [Monolithic reinforced concrete structures. Calculation example and structural beam-free floor]. Samara, SGASU, 2012. 104 p.
- Ilyin N.A., Panfilov D.A., Zhiltsov Yu.V. Innovative method for assessing the fire resistance of a monolithic reinforced concrete beam slab of a building. Gradostroitel’stvo i arhitektura [Urban Planning and Architecture], 2021, vol. 11, no. 4, pp. 43‒47. (in Russian) doi: 10.17673/Vestnik.2021.04.5
- STO 36 544 503-006-2006. Pravila po obespecheniju ognestojkosti i ognesohrannosti zhelezobetonnyh konstrukcij [Rules for ensuring fire resistance and fire safety of reinforced concrete structures]. Moscow, NIIZHB, 2008.
- Fedorov V.S. Protivopozharnaja zashhita zdanij. Konstruktivno-planirovochnye reshenija [Fire protection of buildings. Structural and planning solutions]. Moscow, ASV, 2013. 176 p.
Supplementary files





