Диверсификация направлений пространственного развития мегаполисов и формирование региональных систем поселений
- Авторы: Юшкова Н.Г.1, Донцов Д.Г.2, Никифорова Д.Н.2, Овчарова Т.П.2
-
Учреждения:
- Волгоградский государственный технический университет
- Волгоградское областное архитектурно- планировочное бюро
- Выпуск: Том 14, № 2 (2024)
- Страницы: 165-174
- Раздел: ГРАДОСТРОИТЕЛЬСТВО. ПЛАНИРОВКА СЕЛЬСКИХ НАСЕЛЕННЫХ ПУНКТОВ
- URL: https://bakhtiniada.ru/2542-0151/article/view/266522
- DOI: https://doi.org/10.17673/Vestnik.2024.02.21
- ID: 266522
Цитировать
Полный текст
Аннотация
Современная система территориального планирования в качестве своих методологических оснований использует сформированные научные положения, действующую законодательную базу, а также прогрессивные пионерные разработки из градостроительной практики. Эта система постоянно обновляется, реагируя на ведущие тенденции социально-экономического устройства общества, получающие пространственные проекции. Среди множества источников инноватизации пространства жизнедеятельности в последние годы выделяется тренд формирования инновационной инфраструктуры. Она способна выступать катализатором процессов трансформационных изменений территориальных систем. Для ее планирования важно определять принципы формирования, рациональные пространственные схемы размещения, типы составляющих элементов. Использование такого подхода повышает объективность содержания разрабатываемых стратегий реорганизации территориальных систем. Благодаря этому обеспечивается высокая точность регулирования территориальных систем, постоянство мониторинга изменения их состояния, а также оперативность корректировки планируемых градостроительных мероприятий.
Ключевые слова
Полный текст
Введение.
Определение перспектив развития территориальных систем различных иерархических уровней традиционно понимается как детерминанта градостроительной деятельности. Используемая при этом методология решения профессиональных задач соответствует общей направленности формирования отечественной научной школы территориального планирования [1‒4]. Новые тенденции связаны с накапливанием институциональных оснований синхронизации действий участников процесса планирования развития территории [5‒7]. Законодательное закрепление принципов стратегического планирования, в связи с принятием одноименного Федерального закона 2014 года, сделало непререкаемыми требования междисциплинарного синтеза различных сфер хозяйственной деятельности, касающихся реорганизации пространства жизнедеятельности.
Институциональные посылы являются для территориальных систем сигналом к будущим изменениям. Мегаполисы в их ряду занимают особое место, как явно и наиболее остро их воспринимающие. При этом наиболее активные дискуссии вызывают проблемы: обоснования приоритетов их социально-экономического развития, выявления скрытых резервов их планировочной организации, соответствия градостроительных решений изменяющимся потребностям населения и их ориентации на повышение социальной составляющей, влияния параметров изменений среды жизнедеятельности на технические характеристики разрабатываемых объектов [8‒13].
Инновационная направленность градостроительной деятельности в Российской Федерации уже утратила статус исключительности и перешла в разряд ее современных стандартов. Своей популяризации она обязана, прежде всего, проводимой в настоящее время государственной политике, стимулирующей локализацию инновационных процессов не только в мегаполисах, но и в других типах территориальных систем. При всем их сходстве нельзя не обнаружить особенностей протекания этих процессов в региональных системах: их ответные реакции неповсеместные, неравномерные и преимущественно спонтанные [14‒18]. Наиболее вероятной причиной этого является идентичность территориальных систем, объясняющая наличие либо отсутствие соответствующих предпосылок, препятствующих поступательности течения данного процесса [19]. Среди других возможных причин можно назвать несовершенство действующей системы обоснования и принятия градостроительных решений, прежде всего на региональном уровне [20‒22].
Планирование в общей системе регулирования пространственной организации территориальных систем является наиболее значимым функциональным звеном. Поэтому именно в рамках планирования целесообразно определять взаимосвязь и взаимозависимость инноватизации пространства жизнедеятельности и его перспективных моделей. Оценка свойств инноватизации, специфичных для региональных систем, способна обеспечить совершенствование современной методологии разработки градостроительных решений.
Результаты исследований.
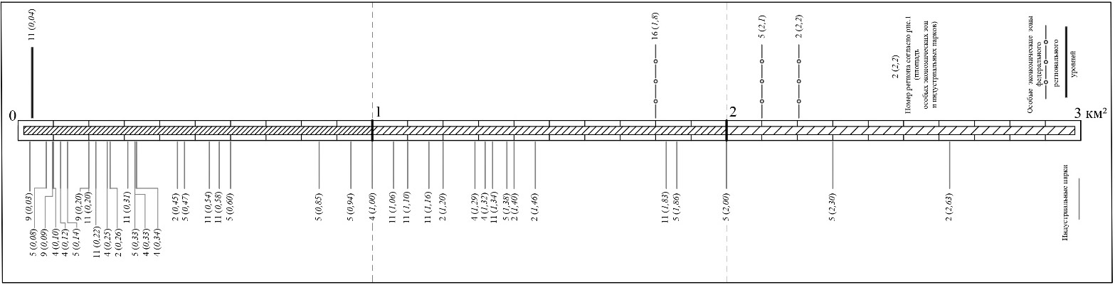
Обобщение и систематизация современной градостроительной практики освоения территорий поселений, в границах которых в настоящее время реализуются проекты формирования особых экономических зон федерального и регионального уровней, а также индустриальных парков [14, 18] (рис. 1‒3), позволяют установить, что по интенсивности этих процессов регионы Центрального федерального округа (ЦФО) занимают лидирующее положение среди аналогичных структур в Российской Федерации (рис. 1, а).
Оценка существующего состояния региональных систем расселения потребовала разработки соответствующей методики (рис. 1, б). Она основана на определении количественных соотношений подсистем городского и сельского расселения через расчет показателей удельного веса каждой составляющей в общей системе.
Использование методики позволяет определить также качественные характеристики подсистем, на основе которых могут быть выделены три основных вида:
- дезурбанизированные региональные системы;
- среднеурбанизированные региональные системы;
- урбанизированные региональные системы.
Урбанизированные и дезурбанизированные виды региональных систем являются полярными по отношению друг к другу. В первом виде региональных систем (В-УРС) отмечается существенное влияние подсистемы городского расселения, а во втором (В-ДУРС) ‒ подсистемы сельского расселения. Промежуточное положение между выделенными урбанизированными и дезурбанизированными системами занимают среднеурбанизированные региональные системы (В-СУРС). Они сочетают в себе признаки обоих видов и при оказании воздействия определенной силы видоизменяются, приобретая признаки подсистем городского и сельского расселения.
В составе дезурбанизированных региональных систем, в свою очередь, выделяется три их подвида:
- ультрадезурбанизированные системы расселения (I) с ярко выраженными признаками повышения удельного веса подсистемы сельского расселения;
- сверхдезурбанизированные системы расселения (II), в которых подсистемы сельского расселения способны играть решающую роль;
- высокодезурбанизированные системы расселения (III), процессы развития которых подвержены влиянию подсистемы сельского расселения.
Рис. 1. Результаты комплексной оценки процесса формирования особых экономических зон и индустриальных парков и территориальных системах регионального уровня: а ‒ специфика формирования особых экономических зон и индустриальных парков в существующей системе расселения Центрального федерального округа; б ‒ранжирование регионов Центрального федерального округа с учетом места и роли подсистемы сельского расселения в процессе их формирования; в ‒ группировка исследуемых особых экономических зон и индустриальных парков
Fig. 1. The results of a comprehensive assessment of the process of formation of special economic zones and industrial parks and territorial systems of the regional level: a ‒ specifics of formation of special economic zones and industrial parks in the existing settlement system of the Central Federal District; b ‒ ranking of the regions of the Central Federal District, taking into account the place and role of the rural settlement subsystem in the process of their formation; с ‒ grouping of special economic zones and industrial parks under study
Выделение указанных видов и подвидов региональных систем необходимо для их сопоставления не только на данном уровне, но и на более высоком иерархическом уровне ‒ макрорегионов (федеральных округов). Принадлежность региональных систем к определенному виду предопределяет особенности их текущего функционирования и специфику перспективного развития. Таким образом, результатом дифференциации региональных систем является не что иное, как получение комплексов объективных предпосылок, используемых для выявления направлений их реорганизации.
Содержание процедур оценки региональных систем не исчерпывается их видовой дифференциацией, определяемой в соответствии с выявленным уровнем урбанизированности. Для определения перспектив развития региональных систем требуется провести уточненную (детализированную) дифференциацию внутри каждого из выделенных видов. Ее осуществляют по результатам последовательно проводимого анализа различных базовых показателей региональных систем, таких, например, как численность и плотность населения, площадь территории с выделением соответствующих групп. Наибольшую репрезентативность в этом отношении, как показывает практика, имеют выборки значений показателей общей численности населения регионов [14, 18]. Они достаточно объективно отражают особенности пространственной организации поселений различных типов в границах исследуемых муниципальных образований и их объединений.
В соответствии с полученными показателями общей численности населения (N) среди региональных систем (РС) ЦФО, выделяются следующие их группы (рис.1, А): крупнейшие РС (N > 3 млн.чел.: Московская обл.); сверхкрупные РС (1,5 < N < 3,0 млн. чел.: Воронежская область и Белгородская обл.); крупные РС (1,0 < N < 1,5 млн. чел.: Тульская, Владимирская, Тверская, Ярославская, Брянская, Липецкая, Рязанская, Калужская и Курская обл.); РС средней крупности (N < 1,0 млн. чел.: Тамбовская, Ивановская, Смоленская, Орловская и Костромская обл.).
При одновременном применении к региональным системам дифференциации по видовым и классовым признакам действует преимущественно принцип обратной, а не прямой зависимости. В этом случае при осуществлении оценки региональных систем повышается значение количественных показателей, являющихся производными от базовых показателей. Базовые показатели, в свою очередь, используются для дифференциации внутри сформированных видов региональных систем, выполняя тем самым в оценках вспомогательную (подчиненную видовой дифференциации) функцию.
Рис. 2. Сравнительные характеристики интенсивности процесса формирования инновационной инфраструктуры на основе особых экономических зон и индустриальных парков на примере регионов Центрального федерального округа
Fig. 2. Comparative characteristics of the intensity of the process of forming innovation infrastructure based on special economic zones and industrial parks on the example of the regions of the Central Federal District
На основе проведенного в рамках исследования анализа проектов реализации в региональных системах (РС) особых экономических зон и индустриальных парков [14, 18] выявлены принципы формирования инновационной инфраструктуры (ИИ):
- принцип сочетания в структуре ИИ РС пространственных элементов, находящихся на различных стадиях жизненного цикла: зарождения, проявления первичных родовых признаков, формирования основных функциональных звеньев, разработки схем взаимодействия их между собой, построения функциональных конгломератов, выделения из них новых пространственных образований, достижения структурными построениями стадии зрелости (неединовременность процесса формирования ИИ РС);
- непрерывности формирования ИИ РС;
- генетической подчиненности пространственных схем формирования ИИ РС существующим закономерностям эволюционного развития региональных систем;
- ударного воздействия на ИИ РС структурно-функционального центра территориальной системы макроуровня;
- непротиворечивости процессов инноватизации ИИ РС потенциалу изменений региональных систем;
- территориальной обусловленности (зональности) функциональной насыщенности ИИ РС;
- неоднородности ИИ РС (формирование отдельными типами ее элементов, и/или их сочетаниями);
- параметрической зависимости концентрации функциональных элементов в структуре ИИ РС от их характеристик;
- последовательности формирования связей функциональных элементов ИИ РС.
Единовременный учет выявленных принципов формирования инновационной инфраструктуры с последующей адаптацией к ним существующего состояния региональных систем (ИИ) [5, 22] позволяет создать максимальные условия для управляемой реорганизации, строго в рамках разработанных стратегий, исключающий, по возможности, влияние факторов неопределенности внешней среды.
Теоретически возможными являются три основных типа стратегий формирования инновационной инфраструктуры региональных систем (рис. 3, в):
- стратегия 1 типа (СФИИ-1) предполагает формирование связей региональных систем с усилением ядерных и центральных элементов, с расширением зон их влияния, интенсификации межрегионального взаимодействия;
- стратегия 2 типа (СФИИ-2) ориентирована на усиление внутрирегиональных связей посредством влияния, являющихся конкурентами существующим значимым центрам и узлам;
- стратегия 3 типа (СФИИ-3) направлена на расширенное формирование поселенческих структур преимущественно низового уровня, тем самым вызывая межмуниципальное взаимодействие.
Для повышения результативности механизма реализации выделенных типов стратегий формирования ИИ региональных систем следует обеспечить их методологическое сопряжение со следующими блоками условий:
- условиями ранжирования региональных систем по результатам оценки их существующего состояния;
- условиями критериального определения количественного и качественного состава ИИ региональных систем;
- условиями достижения фиксированной (высокой, средней, низкой) степени диверсификации ИИ региональных систем.
Определение степени диверсификации инновационной инфраструктуры является ключевым моментом в процессе разработки градостроительных решений. Закладывая в них определённые признаки ИИ, возможно, тем самым, устанавливать и регулировать перспективные изменения в региональных системах посредством трансляции степени диверсификации (см. рис. 3, в). Тем самым содержание градостроительных решений получает объективную базу, выражая искомую (высокую, среднюю, низкую) степень диверсификации РС определенным образом.
Рис. 3. Методологические основы стратегирования изменений существующего состояния региональных систем посредством формирования инновационной инфраструктуры: а ‒ тенденции формирования инновационной инфраструктуры в региональных системах; б ‒ пространственные схемы формирования инновационной инфраструктуры в региональных системах; в ‒ варианты градостроительных решений на основе стратегий формирования инновационной инфраструктуры региональной системы
Fig. 3. Methodological basis for strategic changes in the current state of regional systems through the formation of innovation infrastructure: a ‒ trends in the formation of innovation infrastructure in regional systems; b ‒ spatial schemes for the formation of innovation infrastructure in regional systems; с ‒ options for urban planning solutions based on strategies for the formation of innovative infrastructure of the regional system
При ранжировании региональных систем, получаемом в результате проводимой оценки их существующего состояния (см. рис. 1, б) выделяются и классифицируются все потенциально возможные градостроительные ситуации так, чтобы различать их с позиций имеющегося у них потенциала изменений существующего состояния.
В связи с тем, что системы имеют неодинаковый потенциал, то и прогнозируемая степень их изменяемости определяется различными диапазонами значений:
- изменяемость региональных систем в максимальном диапазоне прогнозируется для В-ДУРС;
- изменяемость региональных систем в среднем диапазоне прогнозируется для В-СУРС;
- изменяемость региональных систем в минимальном диапазоне прогнозируется для В-УРС.
Дополнительным результатом определения диапазонов изменений региональных систем, связанных с принципиальными различиями их существующего состояния, является также установление скорости (инерции) изменяемости. Принадлежность региональных систем к той или иной исходной ситуации позволяет разрабатывать наиболее целесообразные способы их изменений, закрепляемые в стандартах градостроительных решений. Поэтому наряду с ними не исключена возможность определения проектных состояний региональных систем с иными (сокращенными) параметрами прогнозируемых изменений. В частности, при допустимости для региональных систем В-ДУРС градостроительных решений, обеспечивающих их максимальную изменяемость, вероятна реализация сценариев их изменений в среднем и минимальном диапазоне изменений.
Важно понимать, что типологичность описания существующего состояния региональных систем преобразует процесс принятия градостроительных решений за счет придания ему требуемых свойств структурности, упорядоченности, четкости и последовательности выполняемых операций. Таким образом, многовариантность градостроительных решений достигается при применении любой одной из трех стратегий (СФИИ-1, СФИИ-2, СФИИ-3) применительно ко всем существующим состояниям региональных систем.
Выводы.
Постоянно оказываемые внутренними и внешними факторами на территориальные системы воздействия всех уровней могут вызывать в них как незначительные отклонения от существующего состояния, так и кардинальные трансформации. Эти последствия фиксируются в различных пространственных формах и их сочетаниях, учитывающих, главным образом, идентичность систем. Структурообразующими центрами субрегиональных территориальных систем и их наиболее яркими представителями являются современные мегаполисы. Отмечаемые в них пространственные преобразования отличаются их подчиненностью общим темпам урбанизации, крайне высокой интенсивностью и скоростью освоения пространства жизнедеятельности. Специфично для последних лет, что данные тенденции не являются исключительной прерогативой отечественных мегаполисов. Зарождаясь в них, они способны образовывать новые разнонаправленные пространственные векторы, распространять свое влияние не только на смежные с мегаполисами территории, но и на достаточно отдаленные автономизированные элементы и комплексы.
Среди потенциально возможных источников, способных вызывать особые изменения в территориальных системах, выделяются процессы инноватизации. Они возникают в регионах и протекают в них по схемам, аналогичным тем, какие наблюдаются в мегаполисах. Такая толерантность инноватизации объясняется двойственностью направленности: не столько на обеспечение устойчивого функционирования уже сформированных пространственных структур, сколько на воспроизводство новых элементов с заданными программируемыми свойствами.
Процессы инноватизации территориальных систем связаны, в том числе, с формированием инновационной инфраструктуры. Исходя из результатов анализа способов их размещения и пространственных построений в границах соответствующих территориальных систем, в комплексе количественных и качественных показателей, определяется их типологический ряд. Он дифференцирован по степени диверсификации инфраструктуры, определение которой является средством регулирования реорганизации территориальных систем. В зависимости от определяемого потенциала изменяемости территориальных систем устанавливается применимость представленных типов инфраструктуры, закрепляемых в разрабатываемых стратегиях реорганизации территориальных систем.
Преимущество предлагаемого методологического подхода заключается в том, что стратегии реорганизации содержат в себе встроенный механизм их реализации. Это позволяет прогнозировать повышение результативности разрабатываемых на его основе градостроительных решений.
Научная новизна сформулированных положений заключается в том, что стратегирование пространственного развития территориальных систем, в версии авторов исследования, ‒ это совместно реализуемая непротиворечивая деятельность стейкхолдеров, объединенных идеологией общности его принципов, которые, в совокупности, раскрывают перспективные направления совершенствования существующей методологии территориального планирования.
Об авторах
Наталия Геннадиевна Юшкова
Волгоградский государственный технический университет
Автор, ответственный за переписку.
Email: ng_yushkova-v@mail.ru
кандидат архитектуры, доцент, советник РААСН, доцент кафедры городского строительства, экономики и управления проектами
Россия, 400074, Волгоград, ул. Академическая, 1
Дмитрий Георгиевич Донцов
Волгоградское областное архитектурно- планировочное бюро
Email: ng_yushkova-v@mail.ru
доктор архитектуры, профессор, главный градостроитель
Россия, 400066, Волгоград, ул. Мира, 19аДарья Николаевна Никифорова
Волгоградское областное архитектурно- планировочное бюро
Email: nikiforova-dasha-98@mail.ru
главный специалист мастерской градостроительного проектирования
Россия, 400066, Волгоград, ул. Мира, 19аТатьяна Павловна Овчарова
Волгоградское областное архитектурно- планировочное бюро
Email: ovcharova.tanya2017@yandex.ru
ведущий архитектор мастерской градостроительного проектирования
Россия, 400066, Волгоград, ул. Мира, 19аСписок литературы
- Митягин С. Д. Градостроительство. Эпоха перемен. Санкт-Петербург: ООО «Издательство Зодчий», 2016. 280 с.
- Алексеев Ю. В. Подход к оценке эволюции научных проблем в системе управления градостроительной деятельностью // Архитектура и строительство России. 2019. № 4(232). С. 16‒21.
- Моисеев Ю. М. Вызовы развития и меняющиеся горизонты градостроительного планирования // Архитектура и современные информационные технологии. 2022. № 4(61). С. 280‒291. doi: 10.24412/1998-4839-2022-4-280-291.
- Донцов Д. Г., Юшкова Н.Г. Регулирование функционально-пространственных преобразований территории на основе информационно-управляющих систем // Недвижимость: экономика, управление. 2005. № 11-12. С. 37‒43.
- Yushkova N.G. Improvement of tool support of the spatial approach to regional planning: problems, specifics, trends // Economic and Social Changes: Facts, Trends, Forecast. 2014. № 6 (36). С. 225‒242, doi: 10.15838/esc/2014.6.36.17.
- Митягин С. Д. Особенности современной проектной градостроительной деятельности в России // Academia. Архитектура и строительство. 2021. № 3. С. 54‒62. doi: 10.22337/2077-9038-2021-3-54-62.
- Юшкова Н. Г., Алексеев Ю.В. Совершенствование координации в системе территориального планирования, градостроительного зонирования и планировки территории // Биосферная совместимость: человек, регион, технологии. 2020. № 3(31). С. 36-53. doi: 10.21869/2311-1518-2020-31-3-36-53.
- Лексин В. Н., Порфирьев Б.Н. Мегаполисы и феномен мегаполисности в России // Регион: Экономика и Социология. 2017. № 1(93). С. 42‒77. doi: 10.15372/REG20170103.
- Шубенков М. В., Шубенкова М. Ю. Современная урбанизация: перспективы развития // Биосферная совместимость: человек, регион, технологии. 2021. № 2(34). С. 3‒15. doi: 10.21869/2311-1518-2021-34-2-3-15.
- Адонина А. В., Ахмедова Е. А. Мегаполизация ▪ утопический вектор развития Innovative Project. 2016. Т. 1, № 4(4). С. 30‒36. doi: 10.17673/IP.2016.1.04.4.
- Vlasov D., Danilina N. Scientific and methodological basis of development of the park-and-ride facilities in the intermodal transport hubs of Moscow agglomeration // Advanced Materials Research. 2014. V. 869‒870. P. 201‒204.
- Громилина Э. А., Самогоров В. А. Элементы архитектурно-планировочной структуры как факторы устойчивого развития города // Градостроительство и архитектура. 2021. Т. 11, № 2(43). С. 101‒110. doi: 10.17673/Vestnik.2021.02.15.
- Ptichnikova G., Antyufeev A. “Smart city”, man and architecture // E3S Web of Conferences: Topical Problems of Green Architecture, Civil and Environmental Engineering, TPACEE 2019, Moscow, 20–22 ноября 2019 года. Moscow: EDP Sciences, 2020. P. 05027. doi: 10.1051/e3sconf/202016405027.
- Юшкова Н. Г., Никифорова Д. Н. Градостроительная специфика взаимодействия региональных систем расселения с производственными территориями, имеющими специальные режимы хозяйственного использования // Вестник МГСУ. 2022. Т. 17. № 7. С. 845‒870. doi: 10.22227/1997-0935.2022.7.845-870.
- Ахмедова Е. А. Индустриальные парки и технопарки в среднем Поволжье. Архитектурно-градостроительные аспекты // Теоретические основы градостроительства: X Владимировские чтения: сб. статей / Самара, СамГТУ, 2020. С. 126‒138. doi: 10.17673/RAACS.2020.1.13.
- Беккер П. Р., Силка Д. Н. Индустриальные парки как зоны развития промышленности в рамках концепции умных городов // Гуманитарные, социально-экономические и общественные науки. 2019. № 3. С. 136‒142. doi: 10.23672/SAE.2019.2019.28047.
- Лу Г. Особенности планировки и застройки научно-технологических парков в условиях провинций Шаньси и Ганьсу в Китайской Народной Республике // Наука и техника. 2018. Т. 17. № 6. С. 489‒496.
- Юшкова Н. Г., Донцов Д. Г., Никифорова Д. Н., Овчарова Т.П., Донцов Е.Д. Специфика оценки и планирования развития производственных территорий поселений в структуре региональных систем расселения // Вестник Волгоградского государственного архитектурно-строительного университета. Серия: Строительство и архитектура. 2023. № 1(90). С. 298‒312.
- Крашенинников А. В. Перспективные модели поселений // Архитектура и строительство России. 2022. № 4(244). С. 26‒31.
- Сибиряев А. С. Развитие сельских территорий в контексте диверсификации // Вестник НГИЭИ. 2023. № 9(148). С. 110‒120. doi: 10.24412/2227-9407-2023-9-110-120.
- Каширипур М. М. Креативные решения для устойчивого развития городской структуры (на примере архитектурно-планировочной структуры малых городов Ирана) // Градостроительство и архитектура. 2023. Т. 13, № 4. С. 193–202. doi: 10.17673/Vestnik.2023.04.26.
- Dontsov D. G., Yushkova N. G., Gushchina E. G. A New Spatial Strategy Approach in Russian Regions: From the Reflexing Planning Solutions to Territorial Integration Conception // IOP Conf. Series: Materials Science and Engineering, 2018, no. 463, 032055.
Дополнительные файлы





