К вопросу теплового ослабления растянутых стержней стальных ферм покрытий, усиливаемых с применением сварки
- Авторы: Родионов И.К.1, Родионов И.И.2
 - 
							Учреждения: 
							
- Тольяттинский государственный университет
 - ПАО «РОСБАНК»
 
 - Выпуск: Том 13, № 2 (2023)
 - Страницы: 10-16
 - Раздел: СТРОИТЕЛЬНЫЕ КОНСТРУКЦИИ, ЗДАНИЯ И СООРУЖЕНИЯ
 - URL: https://bakhtiniada.ru/2542-0151/article/view/143192
 - DOI: https://doi.org/10.17673/Vestnik.2023.02.02
 - ID: 143192
 
Цитировать
Полный текст
Аннотация
Рассмотрены вопросы теплового ослабления, развивающегося в процессе усиления методом увеличения сечения с применением сварки растянутых стержней стальных ферм покрытия. Решая вопрос о порядке наплавки швов, указано, что все возможные предлагаемые в разных источниках технологии присоединения элементов усиления можно свести к двум основным, принципиально разным сварочным технологиям. Приведено теоретическое обоснование рациональной сварочной технологии усиления растянутых элементов, позволяющей сваривать усиливаемые и усиливающие стержни при полной расчётной нагрузке. Даны критерии безопасного проведения сварочных работ при усилении растянутых стержней методом увеличения сечений.
Ключевые слова
Полный текст
Российская Федерация обладает огромным количеством промышленных предприятий, требующих реконструкции. В значительном большинстве это здания каркасного типа с несущими конструкциями из стали. Многие претерпели к настоящему времени определённый износ. Факторы износа и вероятного увеличения нагрузок на каркасы неизбежно потребуют усиления основных несущих конструкций, в том числе и стальных ферм покрытия.
Часто и эффективно усиление таких ферм достигается увеличением сечений отдельных, наиболее напряженных, в том числе и растянутых, стержней путём присоединения к ним на сварке дополнительных стержневых элементов.
Сварка – это, с одной стороны, все её технологические моменты, с другой – все её последствия (разогрев, деформации), т. е. всё то, что негативным образом влияет на работу как свариваемых, так и сваренных стержней.
Влияние сварки на работу растянутых стержней комплексно не исследовалось ни в одной из известных работ в области усиления [1, 2]. Этим объясняется разноречивость различных рекомендаций по технологиям усиления [1–7], создающая серьёзные проблемы для эксплуатационников. Особо следует отметить, что без привязки к технологиям сварки предлагаются разные величины предельно допускаемых при усилении нагрузок: 0,4–0,8 от предельных расчётных для усиливаемых элементов.
Анализ результатов многочисленных обследований показывает, что при эксплуатации промышленных зданий довольно часто имеет место скопление пыли на покрытиях, образование плотных, тяжёлых корок, увеличивающих постоянную составляющую нагрузок. При этом фермы могут работать под нагрузками, близкими к предельным расчетным. Учитывая еще и проблему коррозии, выполнение существующих рекомендаций по ограничению уровня нагрузок при усилении, в большинстве случаев требует разгрузку ферм от части покрытия, что влечёт за собой не только расходы, но и потери от остановки производственных процессов внутри реконструируемых зданий.
В данной статье приводятся некоторые результаты исследований напряженно-деформированного состояния растянутых стержней в процессе их усиления методом увеличения сечения. Целью их являлась разработка рациональной сварочной технологии усиления высоконапряженных растянутых стержней из парных уголков стальных стропильных ферм, а также выявление критериев определения предельно допустимой при усилении нагрузки.
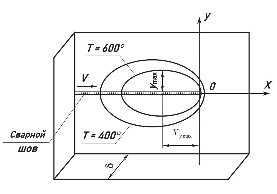
Задачу определения тепловых ослаблений можно рассмотреть на простейшем примере наплавки шва на полосовой элемент (рис. 1), учитывая то, что уголковый стержень фермы фактически представляет собой полосовые пластины, жёстко соединенные друг с другом в единое целое.
В процессе перемещения сварочной дуги будет иметь место разогрев полосы и в продольном, и в поперечном направлении. Температуру каждой точки в данном случае можно определить с достаточной для инженерных расчётов точностью по схеме подвижного линейного источника постоянной погонной мощности qп [8]:
(1)
где δ – толщина полосы; а – коэффициент теплоотдачи; с – удельная массовая теплоёмкость; γ – объёмная плотность материала; λ – коэффициент теплопроводности.
Величина погонной тепловой мощности сварки qп может быть определена как
, (2)
где η – эффективный КПД процесса нагрева (при сварке металлическими электродами η = 0,7–0,85 [9]; U – падение напряжения на дуге; J – сварочный ток; V – скорость сварки.
Таким образом, в конкретный момент времени t разогрев элемента будет определяться соответствующим распределением изотерм (см. рис. 1).
Величина теплового ослабления полосы может быть определена площадью сечения, которая выключится в процессе сварки из работы, т. е. потеряет способность сопротивляться развитию деформаций. Температура, при которой материал становится неспособным к сопротивлению, называется расчётной. Для низкоуглеродистой стали такой расчётной температурой считается ТР = 600 ºС [8].
Исходя из вышеизложенного, величина площади ослабления сечения будет определяться как
А = 2Ymaxδ, (3)
где 2Ymax – искомая максимальная ширина развития «пятна» ослабления, т. е. площади, ограниченной изотермой Т = 600 °С (см. рис. 1).
Примем в выражении (1) Т(y, t) = 600 °С, t = x/V, подставим численные значения с = 0,16 кал/ч·°С, γ = 7,87 г/см3, λ = 0,107 кал/см·с·°С, а = 0,0845 см2/с и из полученного уравнения найдём y:
(4)
Продифференцируем функцию (4) по х, приравняем полученное выражение нулю, т. е. dy/dx = 0, и определим х, при котором Y имеет экс-тремальное значение:
(5)
Подставив (5) в (4), получим выражение для определения Ymax, т. е. максимальной ординаты «пятна» ослабления, заключённого внутри изотермы 600 ºС (см. рис. 1):
(6)
Как видно из выражения (6), величина Ymax зависит от погонной энергии сварки и толщины элемента, что позволяет сделать вывод о принципиальной возможности регулирования «пятна» ослабления путём варьирования технологическими параметрами сварочного процесса.
В случае усиления при наплавке связующих сварных швов, тепловая энергия дуги распределяется на основной (усиливаемый) и дополнительный (усиливающий) элементы. При сварке угловых сварных соединений части погонной энергии, вводимой в свариваемые элементы, могут быть определены в зависимости от соотношения толщин. В частности, в случае таврового соединения (рис. 2) погонные энергии, вводимые в основной и усиливающий элементы, могут быть вычислены в соответствии с [9] по формулам:
(7)
(8)
где qп – полная погонная энергия сварки; δ0, δУ – толщина соответственно полос или полок уголков основного стержня и элемента усиления (см. рис. 2).
Приведённые формулы справедливы и для низколегированных, и для низкоуглеродистых сталей и дают достаточно точные результаты при соотношении толщин δ0/δУ ≤ 1,7. Учитывая (6) – (8), максимальная ширина «пятен» теплового ослабления сваркой основного и усиливающего элементов (см. рис. 2) может быть определена как
(9)
(10)
Общий подход к решению проиллюстрируем на конкретном примере усиления. Основной стержень примем в виде полосы с пластинами по концам, имитирующими фасонки ферм. Элемент усиления примем также полосовой, с присоединением к основному на сварке втавр (рис. 3).
Несущая способность растянутых стержней определяется прочностью в пределах упругой работы. В процессе усиления важнейшим моментом являются их тепловые ослабления: выпадение из работы частей сечений, разогретых выше температуры, при которой сталь перестает сопротивляться деформациям.
Решая вопрос о порядке наплавки швов, можно заметить, что все возможные (предлагаемые в разных источниках) технологии присоединения элементов усиления можно свести к двум основным, принципиально разным сварочным технологиям (см. рис. 3):
– первая – с наплавкой первоначально сварных швов поз. 2, а затем швов поз. 1 и 3 по концам усиливаемого элемента;
– вторая, наоборот, – с первоначальной наплавкой швов поз. 1 и 3 по концам основного стержня (в пределах фасонок) и последующим нанесением швов поз. 2.
Рассмотрим влияние каждой технологии на напряженное состояние усиливаемого стержня.
При усилении по первой технологической схеме первоначальная наплавка швов поз. 2 приводит к появлению теплового ослабления основного стержня («пятно» внутри изотермы 600 °С) и, таким образом, уменьшению его несущей способности. Элемент усиления ещё не работает: совместная работа обоих стержней достигается лишь наплавкой швов по концам.
Отсюда, условие обеспечения несущей способности стержня в процессе усиления (сварки) следует рассматривать по сечению 2–2; оно будет иметь вид:
(А0 – А0СВ)σТо ≥ N, (11)
где N – усилие, действующее в основном стержне; σТо – предел текучести материала основного стержня; A0 – площадь сечения основного стержня; А0СВ – площадь теплового ослабления сечения основного стержня; определяется в зависимости от погонного тепловложения, типа соединения, толщин свариваемых элементов.
При усилении по второй технологической схеме наплавка швов поз. 1 и 3 приводит к тепловому ослаблению основного стержня, но оно может быть компенсировано сечениями фасонок; при последующей наплавке швов поз. 2 (после остывания швов поз. 1 и 3) основной и усиливающий элементы получают ослабление, но работают совместно.
В этой связи несущую способность усиливаемого стержня в данном случае необходимо рассматривать по сечениям 1–1 и 2–2 (см. рис. 3). Условие обеспечения несущей способности усиливаемого стержня по сечению 1–1 будет выражаться следующей формулой:
(А0 – А0СВ)σТо + АФσТФ ≥ N, (12)
где σТФ – предел текучести материала фасонок; AФ – минимальная площадь сечения фасонок (сечение 1–1).
Условие обеспечения несущей способности усиливаемого стержня по сечению 2–2 будет иметь вид:
(А0 – А0СВ)σТо + (Ау – АуСВ)σТу ≥ N, (13)
где σТу – предел текучести материала элемента усиления; Ау – площадь сечения элемента усиления; АуСВ – площадь ослабления сваркой сечения элемента усиления; определяется в зависимости от погонного тепловложения, типа соединения, толщин свариваемых элементов.
Рассмотрим теперь неравенства (11)–(13) с позиции назначения предельно допустимой при усилении нагрузки. Для этого произведём преобразования, введя в неравенства выражение несущей способности основного стержня до усиления [N] = σТо А0.
Неравенство (11) в этом случае примет вид:
[N] (1 – А0СВ/А0) ≥ N. (14)
Таким образом, рассматривая неравенство (14), можно сделать вывод, что усиление растянутого стержня в случае наплавки соединительных швов сначала между фасонками с последующим соединением концов основного и усиливающего стержней возможно лишь при усилии в нём N, находящемся в пределах определенной доли несущей способности, т. е. N ≤ K[N], где коэффициент ослабления K = 1 – А0СВ/А0, 0 ≤ K < 1 зависит от погонного тепловложения при сварке, геометрических размеров сечений элементов, схем их соединения.
Неравенства (2) и (3) в результате преобразований примут следующий вид:
N ≤ [N] + (АФσТФ – А0СВσТо), → (15)
N ≤ [N] + (АуσТу – АуСВσТу – А0СВσТо). (16)
Выражения (15) и (16) определяют критерии возможности проведения усиления растянутых стержней по 2–й технологической схеме, т. е. с соединением сначала концов основного и усиливающего стержней наплавкой швов в пределах фасонок с последующим нанесением остальных соединительных швов.
В данном случае возможно проведение усиления практически при усилии в стержне, равном его несущей способности. Для этого необходимо выполнение двух условий:
0СВσТо ≤ АФσТФ, (17)
А0СВσТо ≤ (Аy – АyСВ)σТy , (18)
то есть ослабление сваркой основного стержня должно быть компенсировано, во-первых, сечениями фасонок и, во-вторых, неразогретой (выше 600 °С) частью сечения элемента усиления.
Приведенные выше теоретические выкладки были проверены экспериментально, на натурных стержнях (см. рис. 3). Усиление стержней проводилось по 2-й технологической схеме при нагрузках, вызывающих усилия, абсолютно близкие к нормативным (определенным по σТ) значениям несущей способности. Стержни были поделены на две группы. При испытании стержней 1-й группы сварка выполнялась на режимах, при которых по теории (формулы (17), (18)) должна была обеспечиваться (на пределе) их несущая способность. Образцы 2-й группы усиливались при более высоких значениях величин погонного тепловложения. По теории они должны были «потечь» при наплавке промежуточных швов (см. рис. 3, поз. 2).
На рис. 4 и 5 представлены графики продольных деформаций двух образцов (1-й и 2-й групп) в процессе их испытаний до потери несущей способности. Оба образца нагружались до текучести (0–1). Далее нагрузка немного сбрасывалась до стабилизации стержней (1–2) и производилась наплавка соединительных швов: сначала по концам в пределах фасонок, затем промежуточных.
Как видно из графиков, при наплавке всех швов на стержень 1-й группы удлинения не отмечались (точка 2). При наплавке же промежуточных швов на стержень 2-й группы имели место удлинения (площадка 2–3).
Таким образом, полученные экспериментально результаты подтвердили теоретические обоснования, что дало возможность сделать следующие выводы:
- Величины усилий, при которых возможно безопасное проведение усиления растянутых стержней, зависят от их сечений, сечений элементов усиления, прочностных характеристик основных и усиливающих элементов, а также технологических параметров сварки.
 - Усиление растянутых стержней стальных уголковых сварных ферм возможно при полной для них расчётной нагрузке. Для этого необходимо применение порядка сварки с наплавкой связующих швов сначала по концам (в пределах фасонок) и только затем, после их остывания, в промежуточных сечениях, а также применение режимов сварки, при которых величина теплового ослабления сечений усиливаемых стержней компенсируется сечениями фасонок и неразогретыми (выше 600 °С) частями сечений элементов усиления.
 - В случае применения порядка сварки с первоначальной наплавкой связующих швов по концам стержней и при известных сечениях элементов усиления, безопасные режимы сварки при усилении растянутых уголковых стержней ферм вполне могут быть определены по предлагаемой методике.
 
Об авторах
Игорь Константинович Родионов
Тольяттинский государственный университет
							Автор, ответственный за переписку.
							Email: inmylave@mail.ru
				                					                																			                								
кандидат технических наук, доцент Центра архитектурных, конструктивных решений и организации строительства
Россия, Тольятти; ТольяттиИгорь Игоревич Родионов
ПАО «РОСБАНК»
														Email: inmylave@mail.ru
				                					                																			                								
специалист
Россия, СамараСписок литературы
- Десятов Б.И. Исследование работы усиляемых под нагрузкой элементов сварных стальных ферм: автореф. дис. … канд. техн. наук. М.: МИСИ, 1968. 26 с.
 - Кизингер Р. Исследование напряжённого состояния растянутых стержней металлических ферм при их усилении под нагрузкой: автореф. дис. … канд. техн. наук. М.: МИСИ, 1973. 26 с.
 - Бельский М.Р., Лебедев А.И. Усиление стальных конструкций. Киев: Будiвельник, 1981. 100 с.
 - Валь В.Н., Горохов Е.В., Уваров Б.Ю. Усиление стальных конструкций одноэтажных производственных зданий при их реконструкции. М.: Стройиздат, 1987. 100 с.
 - Металлические конструкции: в 2 т. Т 2. Конструкции зданий / под ред. В.В. Горева. М.: Высшая школа, 1999. 100 с.
 - Металлические конструкции: в 3 т. Т 3. Стальные сооружения, конструкции из алюминиевых сплавов. Реконструкция, обследование, усиление и испытание конструкций зданий и сооружений: (справочник проектировщика) / под общ. ред. В.В. Кузнецова. М.: изд-во АСВ, 1999.
 - Ребров И.С. Усиление стержневых металлических конструкций. (Методы расчета, анализ работы конструкций, проектирование усиления): автореф. дис. … докт. техн. наук. Л.: ЛИСИ, 1988. 28 с.
 - Рыкалин Н.Н. Расчёты тепловых процессов при сварке. М.: Машгиз, 1951. 100 с.
 - Сварка. Резка. Контроль: в 2 т. / Н.П. Алёшин, Г.Г. Чернышёв, А.И. Акулов и др. ; под ред. Н.П. Алёшина, Г.Г Чернышёва. М.: Машиностроение, 2004. 200 с.
 - Родионов И.К. Усиление сжатых стержней стальных ферм производственных зданий // Сварочное производство. 2009. №4. С. 25–29.
 - Родионов И.К. Об экспериментальном исследовании стальной фермы, усиливаемой под нагрузкой с применением сварки // Вектор науки Тольяттинского государственного университета. 2015. №2–1 (32–1). С. 47–51.
 - Родионов И.К., Прошин И.В., Грак М.В. К вопросу усиления растянутых стержней стальных ферм покрытий промышленных зданий // Вестник НГИЭИ. 2014. №12(43). С. 69–74.
 
Дополнительные файлы
				
			
						
					
						
						
						
									






