Теоретическое обоснование конструктивных и режимно-технологических параметров автоматизированных сепарирующих рабочих органов картофелеуборочного комбайна
- Авторы: Измайлов А.Ю.1,2, Дорохов А.С.1, Сибирёв А.В.1, Мосяков М.А.1, Сазонов Н.В.1
-
Учреждения:
- ФГБНУ «Федеральный научный агроинженерный центр ВИМ»
- Российская академия наук
- Выпуск: № 1 (2025)
- Страницы: 87-96
- Раздел: Процессы и машины агроинженерных систем
- URL: https://bakhtiniada.ru/2500-2082/article/view/287073
- DOI: https://doi.org/10.31857/S2500208225010201
- EDN: https://elibrary.ru/CRINEH
- ID: 287073
Цитировать
Аннотация
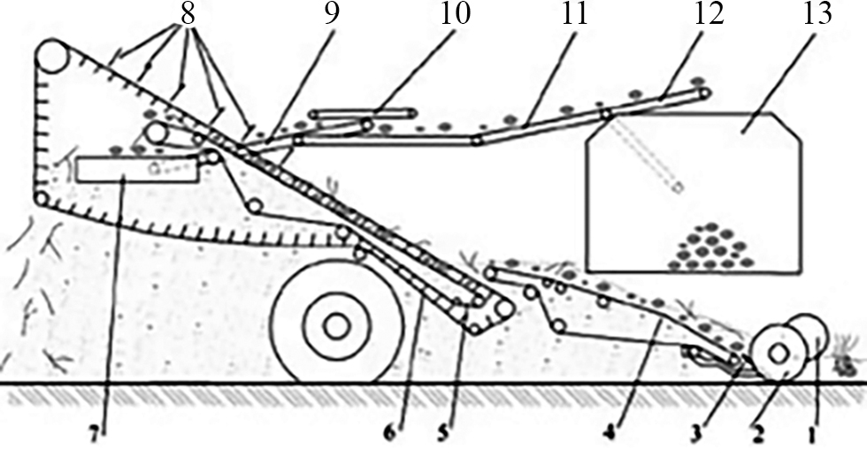
На современном рынке сельскохозяйственной техники большое количество машин отечественного и, в основном, импортного производства. Актуальная научная проблема – необходимость разработки и подбора научно-обоснованных систем, в том числе с технологическим обеспечением комплексов машин цифровым оборудованием, позволяющим осуществлять мониторинг качества выполнения определенной технологической операции и интерпретации полученной информации техническим средством для изменения исходного состояния объекта воздействия. Цель работы – обосновать конструктивные и режимно-технологические параметры автоматизированных сепарирующих рабочих органов картофелеуборочного комбайна. Выполнена систематизация и обобщение современных технологических процессов уборки картофеля в системе цифрового сельскохозяйственного производства с элементами роботизации процесса сепарации. Разработана технология автоматизированной уборки картофеля в семеноводстве, конструктивно-технологическая сепарирующая система и блок-схема картофелеуборочного комбайна с цифровой системой управления очистки. Выполнено моделирование выносной пальчатой горки с элементами искусственного интеллекта, обеспечивающими распознавание почвенных комков и их отделение от товарной продукции картофеля на клубненосный ворох, чтобы обосновать конструктивные и технологические параметры, при которых достигается высокая полнота сепарации и минимальные повреждения товарной продукции.
Ключевые слова
Полный текст
Об авторах
Андрей Юрьевич Измайлов
ФГБНУ «Федеральный научный агроинженерный центр ВИМ»; Российская академия наук
Email: sibirev2011@yandex.ru
ORCID iD: 0000-0003-1143-7286
академик РАН, профессор
Россия, г. Москва; г. МоскваАлексей Семенович Дорохов
ФГБНУ «Федеральный научный агроинженерный центр ВИМ»
Email: sibirev2011@yandex.ru
ORCID iD: 0000-0002-4758-3843
академик РАН, главный научный сотрудник
Россия, г. МоскваАлексей Викторович Сибирёв
ФГБНУ «Федеральный научный агроинженерный центр ВИМ»
Автор, ответственный за переписку.
Email: sibirev2011@yandex.ru
ORCID iD: 0000-0002-9442-2276
доктор технических наук, главный научный сотрудник
Россия, г. МоскваМаксим Александрович Мосяков
ФГБНУ «Федеральный научный агроинженерный центр ВИМ»
Email: sibirev2011@yandex.ru
кандидат технических наук
Россия, г. МоскваНиколай Викторович Сазонов
ФГБНУ «Федеральный научный агроинженерный центр ВИМ»
Email: sibirev2011@yandex.ru
кандидат технических наук
Россия, г. МоскваСписок литературы
- Альт В.В., Исакова С.П. Планирование работ при возделывании зерновых культур: программные компоненты // Сельскохозяйственные машины и технологии. 2023. № 17(4). С. 12–18. https://doi.org/10.22314/2073-7599-2023-17-4-12-18
- Ахалая Б.Х., Ценч Ю.С. Комбинированный агрегат для обработки почвы импульсным воздействием ударной волны // Сельскохозяйственные машины и технологии. 2023. № 17(4). С. 62–67. https://doi.org/10.22314/2073-7599-2023-17-4-62-67
- Дорохов А.С., Аксенов А.Г., Сибирёв А.В., Мосяков М.А. Аналитические исследования машинно-технологических комплексов для сорто-фитопрочистки посадок картофеля и овощных культур в селекции и семеноводстве // Аграрный научный журнал. 2022. № 4. С. 76–82. Режим доступа: https://agrojr.ru/index.php/asj/article/view/2005
- Дорохов А.С., Сибирёв А.В., Мосяков М.А. и др. Концептуальные основы создания автоматизированного комбайна для уборки картофеля с цифровой системой идентификации почвенных комков и их отделения от товарной продукции // Вестник российской сельскохозяйственной науки. 2023. № (5). С. 98–104. https://doi.org/10.31857/2500-2082/2023/5/98-104
- Казаков С.С., Живаев О.В., Никулин А.В. Конструкционные пути снижения повреждаемости клубней посадочного картофеля при работе цепочно-ложечного высаживающего аппарата // Тракторы и сельхозмашины. 2019. № 3. С. 29–34. https://doi.org/10.31992/0321-4443-2019-3-29-34
- Лачуга Ю.Ф., Измайлов А.Ю., Лобачевский Я.П., Шогенов Ю.Х. Интенсивные машинные технологии, роботизированная техника и цифровые системы для производства основных групп сельскохозяйственной продукции // Техника и оборудование для села. 2018. № 7. С. 2–7. Режим доступа: https://rosinformagrotech.ru/data/tos/content/tekhnika-i-oborudovanie-dlya-sela-iyul-7-253-2018-g
- Лобачевский Я.П., Бейлис В.М., Ценч Ю.С. Аспекты цифровизации системы технологий и машин // Электротехнологии и электрооборудование в АПК. 2019. № 36. С. 40–45. Режим доступа: https://vestnik.viesh.ru/journal/vypusk-3-36-2019/
- Лобачевский Я.П., Дорохов А.С. Цифровые технологии и роботизированные технические средства для сельского хозяйства // Сельскохозяйственные машины и технологии. 2021. № 15(4). С. 6–10. https://doi.org/10.22314/2073-7599-2021-15-4-6-10
- Лобачевский Я.П., Ценч Ю.С. Принципы формирования систем машин и технологий для комплексной механизации и автоматизации технологических процессов в растениеводстве // Сельскохозяйственные машины и технологии. 2022. № 16(4). С. 4–12. https://doi.org/10.22314/2073-7599-2022-16-4-4-12
- Отчет Отделения сельскохозяйственных наук РАН о выполнении фундаментальных и поисковых научных исследований в 2017 г. / А.В. Гарист, А.А. Алферов, Е.А. Демакова и др. М.: ОСХН РАН. 2018. 412 с.
- Петухов С.Н. Состояние технического и технологического обеспечения селекции и оригинального семеноводства картофеля // Агротехника и энергообеспечение. 2018. № 4. С. 76–84. URL: https://www.elibrary.ru/item.asp?id=36852656 (дата обращения: 20.04.2022).
- Федоренко В.Ф., Мишуров Н.П., Неменущая Л.А. Анализ состояния и перспективы развития селекции и семеноводства овощных культур: науч. аналит. обзор. М.: ФГБНУ «Росинформагротех», 2019. 96 с. https://rosinformagrotech.ru/data/elektronnye-kopii-izdanij/rastenievodstvo/send/5-rastenievodstvo/1396-analiz-sostoyaniya-i-perspektivy-razvitiya-selektsii-i-semenovodstva-ovoshchnykh-kultur-2019
- Abd El-Rahman M.M.A. Development and Performance Evaluation of a Simple Grading Machine Suitable for Onion Sets // Journal of Soil Sciences and Agricultural Engineering. 2014. Vol. 2. Issue 2. PP. 213–226. https://doi.org/10.21608/jssae.2011.55418
- Azizi P., Dehkordi N.S., Farhadi R. Design, Construction and Evaluation of Potato Digger with Rotary Blade // Cercetari Agronomice in Moldova. 2014. Vol. 47. PP. 5–13. URL: https://clck.ru/bnNAf (дата обращения: 20.04.2022).
- Bachche S. Deliberation on Design Strategies of Automatic Harvesting Systems: A Survey // Robotics. 2015. Vol. 4. Issue 2. PP. 194–222. https://doi.org/10.3390/robotics4020194
- Dongre A.U. et al. Development of Potato Harvesting Model // International Research Journal of Engineering and Technology (IRJET). 2017. Vol. 4. Issue 10. PP. 1567–1570. https://www.irjet.net/archives/V4/i10/IRJET-V4I10288.pdf (дата обращения: 20.04.2022).
- Dongxia S., Aimin Z., Jianxun G. Design and Experiment on 1SZL–250A Type Sub Soiling Rotary Tillage Fertilizer Combined Soil Working Machine [Электронный ресурс] // Journal of Chinese Agricultural Mechanization. 2016. Vol. 37. Issue 4. https://caod.oriprobe.com/articles/47747497/Design_and_experiment_on_1SZL%E2%80%94250A_type_sub_soilin.htm (дата обращения: 20.04.2022).
- Dandekar I. et al. Review Paper Based on Design and Development of an Onion Harvesting Machine // Journal of Information and Computational Science. 2019. Vol. 9. Issue 12. PP. 333–337. https://www.researchgate.net/publication/339201506 (дата обращения: 20.04.2022).
- Jothi Shanmugam C., Senthilkumar G. Indigenous Development of Low Cost Harvesting Machine // ARPN Journal of Engineering and Applied Sciences. 2017. Vol. 12. Issue 5. PP. 4489–4490. http://www.arpnjournals.org/jeas/research_papers/rp_2017/jeas_0817_6236.pdf (дата обращения: 20.04.2022)
- Shangyu M. et al. Soil Water Use, Grain Yield and Water Use Efficiency of Winter Wheat in a Long-Term Study of Tillage Practices and Supplemental Irrigation on the North China Plain // Agricultural Water Management. 2015. Vol. 150. PP. 9–17. https://doi.org/10.1016/j.agwat.2014.11.011
- Zhang Z.J., Jia H.L., Sun J.Y. Review of Application of Biomimetics for Designing Soil-Engaging Tillage Implements in Northeast China // International Journal of Agricultural and Biological Engineering. 2016. Vol. 9. Issue 4. PP. 12–21. https://www.ijabe.org/index.php/ijabe/article/view/1437 (дата обращения: 20.04.2022).
Дополнительные файлы











