Energy-saving technology for harvesting root crops and potatoes
- Authors: Sibirev A.V.1, Mosyakov M.A.1, Sazonov N.V.1, Mansurov A.P.1, Lobachevsky Y.P.1,2
-
Affiliations:
- FGBNU “Federal Scientific Agroengineering Center VIM”
- Russian Academy of Sciences
- Issue: No 4 (2024)
- Pages: 107-112
- Section: Processes & Machines of Agroengineer Systems
- URL: https://bakhtiniada.ru/2500-2082/article/view/262869
- DOI: https://doi.org/10.31857/S2500208224040216
- EDN: https://elibrary.ru/xjmgiw
- ID: 262869
Cite item
Full Text
Abstract
The purpose of the work is to empirically determine the temperature of the exhaust gases when changing the load on the power plant of a beet harvester with a separating system that provides better harvesting quality in conditions of high soil moisture. Have been developed: classification of methods for increasing the separating ability of slot-hole devices for cleaning root crops; laboratory installation for determining the quality indicators of a separation system with thermal energy for exhaust gas purification with a star-shaped cleaning device; a method for assessing the process of heat transfer from the exhaust gases of the power plant of the self-propelled harvester for harvesting sugar beets Holmer Terra Dos T3 to the separating system, which involves determining the temperature using thermocouples installed at various points in the gas exhaust system of the internal combustion engine. An experimental study of the temperature of the exhaust gases of the power plant of a harvesting machine was carried out using thermocouples at maximum rotation speed with a change in the thermal load index of the external environment from 5 to 30°C. The heat of the exhaust gases from the Mercedes-Benz power plant of the Holmer Terra Dos T3 self-propelled harvester, aimed at blowing the working surface of the separating device at the outlet of the first and fourth, as well as the second and third cylinders, has minor discrepancies exceeding the error limits (65 ± 5.8; 63.2 ± 1.5 and 74.9 ± 2.4; 75.2 ± 2.0°C, respectively), which leads to a uniform distribution of heat flow on the device for cleaning sugar beet roots.
Full Text
Обеспечение качественной уборки урожая корнеплодов овощных культур и сахарной свеклы определяется эффективностью работы очистительных устройств уборочных машин. Основной период их работы – при интенсивном выпадении осадков, что затрудняет эффективность выделения товарной продукции от механических примесей из-за налипания на рабочую поверхность сепарирующих устройств почвы. [4, 6]
Негативное влияние данного обстоятельства на процессы уборки обусловлено зависимостью процесса очистки от влажности материала, взаимодействующего с рабочей поверхностью очистительных устройств при влажности почвы более 17%.
Известны различные способы повышения качества уборки корнеплодов при высокой влажности почвы (рис. 1).
Рис.1. Классификация способов повышения сепарирующей способности щелевых устройств для очистки корнеплодов.
Процесс очистки рабочей поверхности сепарирующих устройств уборочных машин различными типами механических воздействий приводит к повышенному повреждению товарной продукции и непосредственному налипанию почвы на сами интенсификаторы.
Результатами исследований В.А. Хвостова и Э.С. Рейнгарта установлено, что один из способов интенсификации процесса очистки сепарирующих устройств – применение теплового агента гидравлической системы уборочного агрегата, обеспечивающего обогрев рабочих органов сепарации и отслаивание с их поверхности высохшего почвенного слоя. [14] Недостаток технического решения – невозможность использования его на прицепных уборочных агрегатах без независимой гидравлической системы.
Цель работы – эмпирическое определение температуры отработавших газов при изменении нагрузки на двигатель свеклоуборочного комбайна.
МАТЕРИАЛЫ И МЕТОДЫ
Для устранения недостатков интенсификации процесса очистки товарной продукции корнеплодов в условиях повышенной влажности проведены поисковые исследования по применению в качестве теплового агента обогрева сепарирующей поверхности уборочных машин теплоотработавших газов силовой установки энергетического средства. [1, 2, 11]
Разработана установка (рис. 2), позволяющая обеспечить в лабораторных условиях технологический процесс очистки товарной продукции. [8, 10, 16]
Рис. 2. Очистительная звезда сепарирующей системы комбайна Holmer Terra Dos T3: 1 – сепарирующая звезда, 2 – ось, 3 – ступица, 4 – сепарирующие прутки, 5 – шарниры, 6 – защитный экран, 7 – демпфер решетчатый, 8 – очищающее устройство, 9 – гидронасос, 10 – дефлекторы, 11 – воздуховоды, 12 – силовая установка, 13 – устройство подачи.
Предпосылками использования теплоты отработавших газов силовой установки послужили сведения о равенстве потерь теплоты, выделяемой с отработавшими газами и количеством теплоты, эквивалентной эффективной работе (табл. 1). [5, 9, 15]
Таблица 1.
Показатели теплового баланса дизельного двигателя
Показатель | Qi, Дж/с | q, % |
Теплота, эквивалентная эффективной работе | 50900 | 29,2 |
Потери теплоты | ||
в систему охлаждения | 53601 | 30,8 |
с отработавшими газами | 51960 | 29,8 |
из-за неполноты сгорания | 9334 | 5,4 |
Остаточный член | 8372 | 4,8 |
Общее количество теплоты | 174167 | 100 |
Принцип работы экспериментальной сепарирующей системы
Товарная продукция корнеплодов поступает с поверхности устройства подачи 13 на сепарирующую звезду 1. В результате вращательного движения сепарирующей звезды 1 ворох равномерно распределяется по рабочей поверхности и почвенные примеси скатываются с поверхности устройства из-за его установки под углом к горизонту и повороте сепарирующих прутков 4 на шарнирном сочленении 5. Очистка от растительных примесей обеспечивается их закреплением на ворсе сепарирующих прутков и удалением очищающим устройством 8.
Далее продукция направляется к системе транспортирования и при обдуве теплым воздухом через систему дефлекторов 10 от силовой установки 12 почвенные примеси подсыхают на рабочей поверхности сепарирующих прутков 4 и отделяются от них.
Разработанная сепарирующая система обеспечивает взаимодействие устройств очистки уборочной машины и силовой установки комбайна для уборки сахарной свеклы (рис. 3.). [3, 7, 13]
Рис. 3. Конструктивно-технологическая схема самоходного комбайна Holmer Terra Dos T3, оснащенного сепарирующей системой с тепловой энергией очистки: 1 – ботвоудалитель; 2 – корчеватель; 3 – звезды сепарирующие; 4 – прутковый транспортер загрузки; 5 – выгрузной транспортер: 6 – дефлектор; 7 – воздуховод; 8 – энергетическая установка.
Экспериментальные исследования выполняли на полях ООО «Красная Горка» Пензенской области при монтировании элементов очистки на свеклоуборочный комбайн Holmer Terra Dos T3 (рис. 4, 3-я стр. обл.).
Рис. 4. Общий вид свеклоуборочного комбайна Holmer Terra Dos ТЗ и сепарирующей системы с использованием теплоты отработавших газов двигателя: 1 - ботвоудалитель; 2 - бункер; 3 - транспортер выгрузной; 4 - прутковый транспортер загрузки; 5 - дефлектор; 6 - воздуховод; 7 - сепарирующие звезды; 8 - корчеватель.
Для снижения потерь тепла и подачи его на различные части рабочей поверхности очистительного устройства, поступающего от двигателя внутреннего сгорания дефлекторы и воздуховоды системы очистки выполнены из армированного материала и равноудалены от рабочей поверхности.
Для проведения исследований поддерживали влажность почвы при ее поверхностном увлажнении по всей длине учетной делянки до требуемого предельного значения не более 32%.
Выполняли запуск двигателя самоходного комбайна Holmer Terra Dos T3 и обеспечивали его прогрев до температуры 90°С с последующим включением рабочих органов машины. Изменение подачи сепарируемого вороха сахарной свеклы до 6 кг/с варьировали поступательной скоростью движения уборочной машины в диапазоне от 5 до 9 км/ч. Экспериментальные исследования направлены на определение температуры отработавших газов при изменении нагрузки на силовую установку без учета технологических параметров (частота вращения сепарирующей звезды и расстояние между ней и дефлектором), разработанной сепарирующей системы, обеспечивающих качество уборки в условиях повышенной влажности почвы, которые ранее были опубликованы авторами данной статьи. [3] В опыте предусмотрен выход на номинальный режим работы двигателя и его последовательное нагружение от 0 до 100% номинальной мощности.
Конструктивное расположение дефлекторов системы отработавших газов силовой установки относительно сепарирующей поверхности оказывает главное воздействие на полноту очистки корнеплодов при их уборке в условиях повышенной влажности почвы.
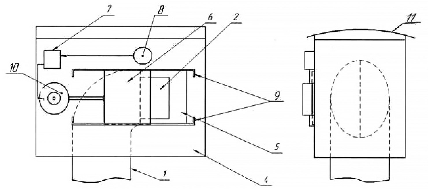
Данное обстоятельство обусловлено обеспечением равномерного распределения силового потока по рабочей поверхности сепарирующего устройства. Методика оценки процесса теплопередачи от отработавших газов силовой установки самоходного комбайна для уборки сахарной свеклы Holmer Terra Dos T3 к сепарирующей системе предусматривает определение температуры отработавших газов с использованием термопар, установленных в различных точках системы газовыпуска ДВС. Чтобы точно измерить температуру отработавших выпускных газов используется устройство, разработанное В.Е. Колпаковым [12] (патент на полезную модель № 148815) (рис. 5).
Рис. 5. Схема устройства для измерения температуры движущихся газообразных веществ мобильного агрегата: 1 – корпус; 2 – термодатчик; 3 – элемент крепежный; 4 – кожух; 5 – окно; 6 – шторка; 7 – блок управления; 8 – датчик инфракрасный; 9 – направляющая; 10 – привод; 11 – козырек защитный.
РЕЗУЛЬТАТЫ И ОБСУЖДЕНИЕ
Результаты исследований статистически обрабатывали (табл. 2, 3).
Таблица 2.
Результаты измерений температуры отработавших газов с помощью термопар при максимальной частоте вращения (nmax) на безнагрузочном режиме, мин1
Точка измерения | , °С | , °C | , °C | , °C | tan | Δ, °C | , °C | |
Вход в дефлектор | 140,1 | 142,9 | 139,1 | 140,7 | 1,14 | 4,3 | 4,9 | 140,7±4,9 |
Выход из дефлектора | 130,6 | 130,1 | 128.9 | 129,9 | 0,5 | 4,3 | 2,17 | 129,9±2,17 |
Таблица 3.
Результаты измерений температуры отработавших газов с использованием термопар
Точка измерения | , °С | , °C | , °C | , °C | tan | Δ, °C | , °C | |
Минимальная частота вращения nmin на безнагрузочном режиме, мин¹ | ||||||||
Вход в дефлектор | 78,1 | 78,2 | 79,9 | 78,7 | 0,58 | 4,3 | 2,5 | 78,7 ± 2,5 |
Выход из дефлектора | 65,2 | 63,5 | 69,5 | 66,0 | 1,78 | 4,3 | 7,6 | 66,0 ± 7,5 |
Частота вращения на безнагрузочном режиме n = 800 мин¹ | ||||||||
Вход в дефлектор | 78,3 | 78,6 | 77,5 | 78,1 | 0,32 | 4,3 | 1,4 | 78,1 ± 1,4 |
Выход из дефлектора | 67,5 | 66,9 | 67,8 | 67,4 | 0,25 | 4,3 | 1,0 | 67,42 ± 1,0 |
n = 1000 мин¹ | ||||||||
Вход в дефлектор | 86,1 | 86,9 | 85,5 | 86,1 | 0,4 | 4,3 | 1,7 | 86,1 ± 1,7 |
Выход из дефлектора | 70,5 | 71,6 | 69,8 | 70,3 | 0,8 | 4,3 | 3,5 | 70,3 ± 3,5 |
n = 1200 мин¹ | ||||||||
Вход в дефлектор | 96,2 | 96,4 | 95,8 | 96,1 | 0,17 | 4,3 | 0,8 | 96,1 ± 0,8 |
Выход из дефлектора | 77,6 | 77,0 | 77,2 | 77,2 | 0,17 | 4,3 | 0,8 | 77,2 ± 0,8 |
n = 1400 мин¹ | ||||||||
Вход в дефлектор | 106,3 | 106,3 | 106,9 | 106,5 | 0,2 | 4,3 | 0,9 | 106,5 ± 0,9 |
Выход из дефлектора | 84,2 | 83,6 | 84,3 | 84,0 | 0,21 | 4,3 | 0,9 | 84,0 ± 0,9 |
n = 1600 мин¹ | ||||||||
Вход в дефлектор | 113,9 | 113,8 | 114,3 | 114,0 | 0,15 | 4,3 | 0,65 | 114,0 ± 0,65 |
Выход из дефлектора | 99,2 | 98,5 | 101,4 | 99,7 | 0,9 | 4,3 | 3,7 | 99,7 ± 3,7 |
n = 1800 мин¹ | ||||||||
Вход в дефлектор | 128,6 | 129,3 | 128,0 | 128,6 | 0,37 | 4,3 | 1,6 | 128,6 ± 1,6 |
Выход из дефлектора | 113,4 | 113,6 | 112,8 | 113,0 | 0,43 | 4,3 | 1,9 | 113,0 ± 1,9 |
n = 2000 мин¹ | ||||||||
Вход в дефлектор | 140,6 | 140,6 | 140,9 | 140,7 | 0,1 | 4,3 | 0,4 | 140,7 ± 0,4 |
Выход из дефлектора | 123,5 | 122,5 | 124,5 | 123,5 | 0,6 | 4,3 | 2,5 | 123,5 ± 2,5 |
По полученным результатам теплота отработавших газов силовой установки Mercedes-Benz самоходного комбайна Holmer Terra Dos T3, направленная на обдув рабочей поверхности сепарирующего устройства на выходе из первого и четвертого, а также второго и третьего цилиндров имеет незначительные расхождения, превышающие пределы погрешности (65 ± 5,8; 63,2 ± 1,5 и 74,9 ± 2,4; 75,2 ± 2,0°С соответственно), что позволяет равномерно распределять тепловой поток на устройство очистки корнеплодов сахарной свеклы и обеспечить повышение показателей качества уборки в соответствии с опубликованным материалом. [3]
При сравнении авторских данных с полученными ранее по рассматриваемой тематике исследований известными учеными (В.А. Хвостов, Э.С. Рейнгарт, В.Е. Колпаков и другие) не вступают в противоречие, а считаются логическим развитием совершенствования способов повышения сепарирующей способности очистительных устройств обогревом тепловым агентом, в частности отработавших газов двигателя внутреннего сгорания свеклоуборочного комбайна.
About the authors
A. V. Sibirev
FGBNU “Federal Scientific Agroengineering Center VIM”
Author for correspondence.
Email: sibirev2011@yandex.ru
ORCID iD: 0000-0002-9442-2276
Grand PhD in Engineering Sciences, Chief Researcher
Russian Federation, MoscowM. A. Mosyakov
FGBNU “Federal Scientific Agroengineering Center VIM”
Email: sibirev2011@yandex.ru
PhD in Engineering Sciences
Russian Federation, MoscowN. V. Sazonov
FGBNU “Federal Scientific Agroengineering Center VIM”
Email: sibirev2011@yandex.ru
PhD in Engineering Sciences
Russian Federation, MoscowA. P. Mansurov
FGBNU “Federal Scientific Agroengineering Center VIM”
Email: sibirev2011@yandex.ru
Grand PhD in Engineering Sciences
Russian Federation, MoscowYa. P. Lobachevsky
FGBNU “Federal Scientific Agroengineering Center VIM”; Russian Academy of Sciences
Email: sibirev2011@yandex.ru
Academician of the RAS, Professor
Russian Federation, Moscow; MoscowReferences
- Valiev A.R., Vas’kov N.A., Sabirov R.F. i dr. Sovremennye avtomatizirovannye i robotizirovannye mashiny dlya mezhduryadnoj obrabotki pochvy // Tekhnika i oborudovanie dlya sela. 2020. № 4. S. 2–7.
- Gasparyan I.N. Zashchita kartofelya ot rizoktonioza. Vestnik Federal’nogo gosudarstvennogo obrazovatel’nogo uchrezhdeniya vysshego professional’nogo obrazovaniya “Moskovskij gosudarstvennyj agroinzhenernyj universitet imeni V.P. Goryachkina”. 2014. № 3. S. 22–24.
- Dorohov A.S., Sibiryov A.V., Aksenov A.G., Sazonov N.V. Rezul’taty laboratornyh issledovanij separiruyushchej sistemy s teplovoj energiej ochistki mashiny dlya uborki korneplodov // Sel’skohozyajstvennye mashiny i tekhnologii. 2022. № 1. S. 19–26.
- Izmajlov A.Yu., Kolchin N.N., Lobachevskij Ya.P., Kynev N.G. Sovremennye tekhnologii i special’naya tekhnika dlya kartofelevodstva // Sel’skohozyajstvennye mashiny i tekhnologii. 2015. № 3. S. 43–47.
- Kalinin A.B., Smelik V.A., Teplinskij I.Z. i dr. Vybor i obosnovanie parametrov ekologicheskogo sostoyaniya agroekosistemy dlya monitoringa tekhnologicheskih processov vozdelyvaniya sel’skohozyajstvennyh kul’tur // Izvestiya Sankt-Peterburgskogo gosudarstvennogo agrarnogo universiteta. 2015. № 39. S. 315–319.
- Kalinin A.B., Teplinskij I.Z., Kudryavcev P.P. Pochvennoe sostoyanie v intensivnoj tekhnologii // Kartofel’ i ovoshchi. 2016. № 2. S. 35–36.
- Korshunov A.V., Simakov E.A., Lysenko Yu.N. i dr. Aktual’nye problemy i prioritetnye napravleniya razvitiya kartofelevodstva // Dostizheniya nauki i tekhniki APK. 2018. T. 32. № 3. S. 12–20. https://doi.org/10.24411/0235-2451-2018-10303
- Laryushin N.P., Kuharev O.N., Kiryuhina T.A. Iskhodnye polozheniya pri proektirovanii mashin dlya uborki luka // Nauka v central’noj Rossii. 2015. № 6(18). S. 48–58.
- Lachuga Yu.F., Ibyatov R.I., Ziganshin B.G. i dr. Metod rascheta traektorii dvizheniya zerna v pnevmomekhanicheskom shelushitele // Rossijskaya sel’skohozyajstvennaya nauka. 2021. T. 6. S. 64–67.
- Lobachevskij Ya.P., Cench Yu.S. Principy formirovaniya sistem mashin i tekhnologij dlya kompleksnoj mekhanizacii i avtomatizacii tekhnologicheskih processov v rastenievodstve. Sel’skohozyajstvennye mashiny i tekhnologii. 2022. № 16(4). S. 4–12. https://doi.org/10.22314/2073-7599-2022-16-4-4-12. EDN: IDJFYV.
- Oves E.V., Gaitova N.A., Shishkina O.A. Inducirovanie mikroklubneobrazovaniya novyh perspektivnyh sortov kartofelya v asepticheskoj kul’ture. Vestnik Kazanskogo gosudarstvennogo agrarnogo universiteta. 2020. № 15(4(60)). S. 48–54. https://doi.org/10.12737/2073-0462-2021-48-54
- Patent № 148815 Rossiya, MPK G01 K13/02. Ustrojstvo dlya izmereniya temperatury dvizhushchihsya gazoobraznyh veshchestv mobil’nogo agregata / V.E. Kolpakov, R.V. Shkorlakov, A.S. Tyagotin, № 2014133995; Zayav. 19.08.2014; Opubl. 20.12.2014, Byul. № 35.
- Sabirov R.F., Valiev A.R., Muhamad’yarov F.F. Obosnovanie konstruktivno-tekhnologicheskih parametrov ustrojstva dlya obrabotki semyan biopreparatami // Vestnik Kazanskogo gosudarstvennogo agrarnogo universiteta. 2021. T. 16. № 3(63). S. 84–89. https://doi.org/10.12737/2073-0462-2021-84-89.
- Savinyh P.A., Sychugov Yu.V., Kazakov V.A., Chernyat’ev N.A. Kombikormovyj cekh dlya sel’skohozyajstvennogo predpriyatiya. Vestnik Kurskoj gosudarstvennoj sel’skohozyajstvennoj akademii. 2018. № (6). S. 131–137.
- Cench Yu.S., Godlevskaya E.V. Matematicheskoe modelirovanie kak instrument proektirovaniya sel’skohozyajstvennyh mashin i agregatov (primenitel’no k istorii razvitiya nauchnoj shkoly Yuzhnogo Urala). Sel’skohozyajstvennye mashiny i tekhnologii. 2023. № 17(2). S. 4–12.
- Lü J.Q., Shang Q.Q., Yang Y. et al. Design optimization and experiment on potato haulm cutter // Transactions of the CSAM. 2016. Vol. 47. No. 5. Р. 106–114.
Supplementary files







