Особенности синтеза привитых сополимеров хитозана и акриловой кислоты
- 作者: Кудышкин В.О.1, Абрарова З.М.1, Бозоров Н.И.1, Жумартова У.У.1, Усманова М.М.1, Ашуров Н.Ш.1, Рашидова С.Ш.1
-
隶属关系:
- Институт химии и физики полимеров Академии наук Республики Узбекистан
- 期: 卷 66, 编号 1 (2024)
- 页面: 23-30
- 栏目: МОДИФИКАЦИЯ ПОЛИМЕРОВ
- URL: https://bakhtiniada.ru/2308-1139/article/view/264111
- DOI: https://doi.org/10.31857/S2308113924010035
- EDN: https://elibrary.ru/NOSLRW
- ID: 264111
如何引用文章
全文:
详细
Синтезированы привитые сополимеры хитозана с акриловой кислотой трехмерной структуры. Увеличение концентрации полисахарида способствует ускорению структурообразования макромолекул сополимера в процессе синтеза. Показано, что одной из причин данного эффекта является локальное повышение концентрации акриловой кислоты в зоне роста цепи, формируемое за счет образования водородных связей мономера с полисахаридом. Привитые сополимеры охарактеризованы методами ИКи УФ-спектроскопии, АСМ и рентгеноструктурным анализом и могут быть использованы в качестве высоконабухающих суперабсорбентов.
全文:
ВВЕДЕНИЕ
Гидрогели на основе гидрофильных акриловых полимеров со слабосшитой структурой могут использоваться как суперабсорбенты – материалы, обладающие способностью поглощать и удерживать в своей структуре большое количество воды [1]. Так, суперабсорбенты активно применяют в производстве изделий санитарно-гигиенического назначения [2], а также в сельском хозяйстве в качестве кондиционеров почвы и для борьбы с засухой [3]. Наиболее известными среди них являются сшитые полимеры на основе акрилатов – полиакриловая кислота (ПАК) и ее соли, полиакриламид, полиакрилонитрил, которые обладают высокими водопоглощающими свойствами (вплоть до 500–1500 г/г) [4], но имеют плохую биоразлагаемость [5]. Использование полисахаридов, в частности хитозана как основы для синтеза суперабсорбирующих гидрогелей, представляет значительный интерес в связи с их высокой гидрофильностью, нетоксичностью, способностью к биологическому разложению и биосовместимостью [6].
Свойства хитозана могут быть в существенной степени улучшены посредством его химической модификации, а именно с помощью привитой сополимеризации с акриловыми мономерами, которая может быть осуществлена с применением подходов псевдоживой полимеризации, например ATRP [7]. Привитые сополимеры хитозана и акриловых полимеров также могут быть получены в условиях окислительно-восстановительного инициирования в присутствии нитрата аммония–церия и азотной кислоты при УФ-облучении [8], путем радиационной прививки акриламида к цепям хитозана в водных растворах уксусной кислоты [9]. Распространенными инициаторами для синтеза гидрогелей привитых сополимеров хитозана, акриловой кислоты и акрилонитрила выступают персульфаты, такие как персульфат аммония [10].
Несмотря на то, что синтез привитых сополимеров хитозана и акриловых мономеров достаточно широко представлен в литературе, некоторые детали механизма синтеза до конца не выяснены. Например, рядом авторов обсуждался вопрос о влиянии хитозана на скорость и время формирования геля при привитой сополимеризации.
Так, в работе [11] было доказано, что увеличение концентрации хитозана приводит к росту начальной скорости привитой сополимеризации акриловой кислоты на хитозан, инициируемой фотооблучением. Это явление авторы объясняли уменьшением диффузионно-контролируемой константы скорости обрыва цепей, наблюдаемой вследствие увеличения вязкости реакционной среды в присутствии хитозана.
Влияние хитозана на параметры его привитой сополимеризации с акриламидом в присутствии метиленбисакриламида в качестве сшивающего агента было изучено в работе [12]. Доля гелевой фракции в присутствии 1% хитозана в реакционной смеси оказывается выше, чем в отсутствие хитозана, однако при дальнейшем увеличении концентрации полисахарида наблюдалось снижение этого параметра при одновременном увеличении доли гомополимера акриламида по сравнению с привитым сополимером.
В работе [13] показано, что в присутствии хитозана наблюдается увеличение скорости полимеризации акриламида. Авторы объясняли это проявлением концентрационного эффекта, т.е. увеличением концентрации акриламида в зоне роста цепи за счет образования водородных связей между молекулами акриламида и хитозана. Подобный же концентрационный эффект может иметь место и при привитой сополимеризации акриловой кислоты.
Цель данной работы – синтез привитых сополимеров акриловой кислоты на хитозан, установление возможных причин влияния полисахарида на формирование трехмерной структуры при привитой сополимеризации, а также исследование структуры и свойств привитых сополимеров.
ЭКСПЕРИМЕНТАЛЬНАЯ ЧАСТЬ
Материалы
Ледяную акриловую кислоту компании “HIMEDIA Laboratories” (Индия) очищали перегонкой.
Персульфат калия квалификации “ч. д. а.”, предоставленный Научно-производственным центром “Химикон” (Россия), очищали перекристаллизацией из водного раствора.
Динитрил-азобисизомасляную кислоту перед использованием очищали перекристаллизацией из этанола
Использовали две партии хитозана: первая – из куколок тутового шелкопряда, хитозан “Bombyx Mori” (Институт химии и физики полимеров Академии наук Республики Узбекистан), со степенью деацетилирования 82% и Mη = 115 × 103; вторая – хитозан из панциря краба, со степенью деацетилирования 72%, квалификации “х. ч.” и Mη = 750 × 103 (“Щелковский биокомбинат”).
Растворителями служили дистиллированная вода, для получения которой применяли дистиллятор модели “DZ-10LII” (10 л/ч, “Huanghua Faithful Instrument”), изопропанол квалификации “х. ч.” (Акционерное общество “ЭКОС-1”), гексан квалификации “х. ч.” (Китай) и этанол 96%, очищаемый перегонкой.
Синтез полиакриловой кислоты
Синтез ПАК трехмерной структуры был подробно описан в работе [14]. Хитозан растворяли в водном растворе акриловой кислоты (1.21–1.25 моль/л), рН реакционной смеси 3.01–3.19. Концентрация хитозана “Bombyx Mori” составляла (1.36–5.61) × 10–3 осново-моль/л, хитозана из панциря краба – (1.77–12.3) × 10–3 осново-моль/л. При растворении хитозана в избытке акриловой кислоты он переходит в солевую форму. Затем к раствору добавляли расчетное количество инициатора персульфата калия. Синтез вели при температуре 50 и 60°C в потоке азота. После потери текучести реакционную смесь извлекали из колбы и сушили при температуре 60°C до постоянной массы. Для удаления непрореагировавшего мономера осуществляли экстракцию сополимеров этанолом. Сополимеры представляли собой нерастворимые в воде набухающие гидрогели.
Водорастворимую ПАК синтезировали в присутствии инициатора ДАК при концентрации 5 × 10–2 моль/л в изопропаноле при 50°С. Синтез проводили в среде азота в течение 50 мин. Переосаждение полимера осуществляли в гексане.
Методы
Кинематическую вязкость реакционной смеси во время синтеза измеряли вискозиметром “ВПЖ-2” с диаметром капилляра 0.73 мм до наступления потери текучести реакционной массы.
Диализ проводили следующим образом. Раствор акриловой кислоты заданной концентрации (0.2–1.0 моль/л) разделяли на две части. В одной части растворяли заданное количество хитозана. Растворы разделяли полупроницаемой мембраной (“Viscase”, предел молекулярной массы 14 × 103) с размерами пор, достаточными для диффузии мономера акриловой кислотой, но непроницаемыми для макромолекул хитозана. Периодически, в течение 80 мин, отбирали пробы из обеих частей раствора и определяли концентрацию акриловой кислоты титрованием 0.1 моль/л раствором NaOH.
УФ-спектры растворов хитозана в акриловой кислоте регистрировали с помощью спектрофотометра “Specord 210 UV-Vis” (“Analytik Jena”, Германия), используя кварцевые кюветы толщиной 1 см, область сканирования 190–1000 нм, щель 1 нм. Скорость сканирования составляла 5 нм/с.
ИК-спектроскопические исследования синтезированных привитых сополимеров проводили с помощью ИК-фурье-спектрометра “Inventio-S” (“Bruker”, Германия), оснащенного приспособлением для измерения нарушенного полного внутреннего отражения; спектральный диапазон по шкале волновых чисел 4000–400 см–1.
Подготовку образцов привитых сополимеров для структурных исследований осуществляли следующим образом. Зная из предварительных экспериментов время синтеза, когда наступит потеря текучести, отливали пленки на полиэтиленовую подложку до того, как сформировалась трехмерная структура. Эти пленки затем высушивали в сушильном шкафу при температуре 40°С в течение 24 ч.
Для получения смесей полимеров ПАК растворяли в воде, хитозан в 2%-ной уксусной кислоте, после чего растворы смешивали и отливали пленки. Сушку также осуществляли при температуре 40°С до постоянной массы.
Структурные исследования проводили методом атомно-силовой микроскопии (полуконтактный метод) на сканирующем зондовом микроскопе “Agilent 5500” при комнатной температуре. В работе применяли кремниевые кантилеверы жесткостью 9.5 Н/м с частотой 192 кГц.
Рентгеноструктурный анализ выполняли на приборе “Miniflex 600” (“Rigaku”, Япония) с монохроматизированным CuKα-излучением и изолированным никелевым фильтром с длиной волны λ = 1.5418 Å при 40 кВ и токе 15 мА. Образцы исследовали в виде пленок. Съемку осуществляли в диапазоне 2θ = 2°–50°. Для количественного рентгеноструктурного анализа по методу Ритвельда использовали программный пакет “SmartLAB Studio II”, составляющий программное обеспечение дифрактометра “Rigaku Miniflex 600”.
Изменение объема, занимаемого гелем при набухании сополимера в дистиллированной воде, определяли следующим образом. Навеску сополимера 0.1 г помещали в мерный цилиндр на 100 мл и заливали избытком дистиллированной воды, после чего отмечали объем, который занимал набухший гель в равновесном состоянии. Потом добавляли в воду расчетное количество 1%-ного раствора Na2CO3, необходимое для нейтрализации определенного количества карбоксильных групп. Объем геля при этом закономерно увеличивался, в соответствии с чем отмечали его после достижения равновесия.
РЕЗУЛЬТАТЫ И ИХ ОБСУЖДЕНИЕ
На рис. 1 показаны зависимости кинематической вязкости реакционной смеси от времени синтеза для различных значений концентрации хитозана из панциря краба и хитозана “Bombyx Mori”.
Рис. 1. Зависимости кинематической вязкости реакционной смеси от времени синтеза при различных значениях концентрации хитозана “Bombyx Mori” (а) и хитозана из панциря краба (б): а – 0 (1), 1.36 × 10–3 (2), 2.68 × 10–3 (3), 3.96 × 10–3 (4) и 5.61 × 10–3 осново-моль/л (5). [Акриловая кислота] = 1.21 моль/л, [персульфат калия] = 2.5 × × 10–3 моль/л, Т = 50°С; б – 1.77 × 10–3 (1), 4.43 × × 10–3 (2), 8.87 × 10–3 (3) и 1.33 × 10–2 осново-моль/л (4). [Акриловая кислота] = 1.25 моль/л, [персульфат калия] = 6.5 × 10–3 моль/л, T = 60°С.
Увеличение концентрации хитозана в реакционной среде приводит к ускорению процесса увеличения вязкости реакционной среды, который заканчивается образованием трехмерной структуры, когда дальнейший контроль вязкости становится невозможным.
Природа хитозана оказывает определенное влияние на процесс полимеризации акриловой кислоты. В случае хитозана из панциря краба (рис. 1б) вязкость исходного раствора выше, и в течение времени наблюдается более равномерное увеличение вязкости с последующим быстрым образованием трехмерной структуры. Разница в абсолютных значениях вязкости раствора, очевидно, связана с различиями в молекулярных массах хитозана из двух источников сырья. Рост концентрации полимера способствует увеличению вероятности образования активных центров на макромолекулах, что приводит к разветвлению макромолекулярных цепей и последующему формированию трехмерной структуры.
Можно было ожидать, что при привитой сополимеризации акриловой кислоты на хитозан также будет иметь место неоднородность концентрации мономера в объеме реакционной смеси, которая ранее наблюдалась для системы хитозан–акриламид [14]. Чтобы установить концентрационную неоднородность акриловой кислоты в реакционной среде в присутствии хитозана, был использован метод диализа (рис. 2).
Рис. 2. Схематическое изображение процесса диализа акриловой кислоты.
В зоне, где присутствует полисахарид, внутри мембраны наблюдается увеличение концентрации акриловой кислоты, одновременно с этим уменьшается концентрация акриловой кислоты вне мембраны (рис. 3). При этом соблюдается материальный баланс по акриловой кислоте. Эти результаты подтверждают наличие концентрационной неоднородности. Наблюдаемый эффект, вероятно, связан со взаимодействием мономера с аминогруппой хитозана и образованием водородных связей между молекулами акриловой кислоты. Локальное увеличение концентрации мономера вблизи макромолекул хитозана приводит к увеличению скорости полимеризации, выходу полимера и уменьшению времени формирования трехмерной структуры.
Рис. 3. Зависимости изменения концентрации акриловой кислоты от времени внутри мембраны, с хитозаном (1‒4) и вне мембраны, без хитозана (1′–4′): а – [хитозан] = 4.66 × 10–3 осново-моль/л, [акриловая кислота] = 0.2 (1), 0.4 (2), 0.6 (3) и 1.0 моль/л (4); б – [хитозан] = 1.55 × 10–3 (1), 3.10 × 10–3 (2), 4.66 × 10–3 (3) и 6.21 × 10–3 осново-моль/л (4). Исходная концентрация акриловой кислоты 0.6 (1, 2, 4) и 0.54 моль/л (3).
Вероятно, влияние хитозана на процесс привитой сополимеризации обусловлено как выявленным концентрационным эффектом, так и диффузными ограничениями, которые могут быть существенными на глубоких степенях превращения, но может ими не ограничиваться. Также может прослеживаться определенное влияние хитозана на процесс инициирования привитой сополимеризации. В работе [15] показана окислительно-восстановительная реакция персульфата с третичным амином, приводящая к образованию сульфатно-анионных радикалов. Такая реакция может привести к увеличению скорости инициирования и, соответственно, к увеличению скорости полимеризации.
Дальнейшие исследования проводились на хитозане из панциря краба.
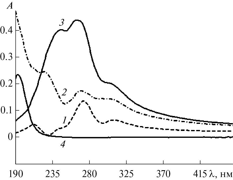
УФ-спектроскопические исследования смеси хитозан–акриловая кислота (рис. 4) показали наличие полосы поглощения при λ = 275 нм, обусловленной электронными переходами n–σ* атома азота в аминогруппе хитозана и n–π* кислорода карбоксильной группы акриловой кислоты. При увеличении концентрации хитозана в растворе акриловой кислоты наблюдается сдвиг полосы поглощения в сторону бóльших значений длины волн. Полоса поглощения при λ = 310 нм со значительно меньшей интенсивностью связана с n–π* электронными переходами атома кислорода карбонильной группы при образовании водородных связей с гидроксильной группой акриловой кислоты, что приводит к сдвигу полос поглощения вследствие уменьшения энергии перехода электронов на разрыхляющую орбиталь.
Рис. 4. УФ-спектры раствора хитозана в акриловой кислоте. [Хитозан] = 1.97 × 10–2 (1), 1.2 × 10–2 (2), 6.56 × 10–3 осново-моль/л (3); [акриловая кислота] = 1.21 моль/л (4).
Известно, что в массе акриловая кислота существует в виде димера, который разрушается в присутствии растворителей [16]. Можно ожидать, что при растворении хитозана в акриловой кислоте димер также разрушается при взаимодействии с хитозаном. Об этом могут свидетельствовать данные УФ-спектроскопии, в частности смещение полосы поглощения от 210 до 250 нм, что может быть объяснено увеличением длины цепи сопряжения за счет разрушения димера и образования цепочек акриловой кислоты, связанных водородными связями [17].
В ИК-спектрах хитозана (рис. 5) наблюдается полоса поглощения 3438 см–1 как результат сложения полос поглощения валентных колебаний групп NH и OH. Характерные полосы поглощения при 1655 см–1 соответствуют группе C=O (амид I), при 1548 см–1 – плоскостным деформационным колебаниям группы NH (амид II), при 1400 см–1 – полосе поглощения валентных колебаний связи CN, при 1153, 1074 и 1030 см–1 – полосе поглощения колебаний, характерных для эфирной связи пиранозного кольца. В ИК-спектрах сополимера хитозан–акриловая кислота наблюдаются полосы поглощения, присущие обоим компонентам. Полоса поглощения при 2854–2912 см–1, характеризующая CHи СН2-группы хитозана, менее интенсивна для привитых сополимеров и смещена в сторону высоких волновых чисел. С увеличением соотношения хитозан : акриловая кислота в сополимере прослеживается увеличение интенсивности полосы поглощения при 2660 см–1; эта полоса является обертоном полосы поглощения при 1249 см–1, указывающим на присутствие связей C–O–C и C–O. При увеличении соотношения хитозан : акриловая кислота видно расширение полосы поглощения с максимумом при 3438 см–1 и уменьшение ее интенсивности, что свидетельствует об образовании водородных связей между карбоксильными группами акриловой кислоты и хитозана. Наблюдается также небольшое смещение полос поглощения при 1716 до 1720 см–1, соответствующее карбоксильной группе, связанной с аминогруппой. Присутствие карбоксилат-иона в составе образца 2 на рис. 5 характеризуется наличием полосы поглощения 1548 см–1, отсутствующей в других образцах, и связано с высоким содержанием акриловой кислоты в сополимере.
Рис. 5. ИК-Фурье-спектры хитозана из панциря краба (1) и сополимера хитозан : акриловая кислота (2–5): 2 – [акриловая кислота] = 1.25 моль/л, [хитозан] = 4.43 × 10–3 осново-моль/л, [I] = 6.5 × 10–3 моль/л; 3 – [акриловая кислота] = 1.25 моль/л, [хитозан] = 1.33 × 10–2 осново-моль/л, [I] = 6.5 × 10–3 моль/л; 4 – [акриловая кислота] = 1.25 моль/л, [хитозан] = 2.48 × 10–2 осново-моль/л, [I] = 6.5 × 10–3 моль/л; 5 – [акриловая кислота] = 0.29 моль/л, [хитозан] = 1.24 × 10–2 осново-моль/л, [I] = 1.0 × 10–3 моль/л.
Активные центры привитой сополимеризации образуются за счет отрыва атома водорода от аминогруппы или гидроксильной группы полисахарида при взаимодействии с инициирующим радикалом. Кроме того, в присутствии персульфата калия происходит разрушение гликозидной связи в соответствии с механизмом, описанным в работе [13]. Также активные центры могут образовываться за счет реакции передачи цепи на полимер. Могут иметь место и другие реакции, например образование N-карбоксиэтил-хитозана [18]. При высокой концентрации акриловой кислоты также могут проходить сшивки с участием карбоксильной группы акриловой кислоты и аминогруппы хитозана с образованием амида [19].
Исследования привитых сополимеров и полимерных смесей хитозан : акриловая кислота методом АСМ (рис. 6) показали, что по сравнению с полимерными смесями на основе хитозана и акриловой кислоты привитые сополимеры обладают значительно более однородной структурой. В отличие от полимерных смесей в сополимерах прослеживается дисперсная фаза с размерами частиц менее 1 мкм и с более равномерным распределением по сравнению с полимерными смесями. Эти результаты косвенно подтверждают факт прививки последовательностей звеньев акриловой кислот к макромолекуле хитозана.
Рис. 6. Изображения поверхностей образцов привитых сополимеров (а–в) и полимерных смесей (г–е) хитозана и акриловой кислоты. Мольное соотношение хитозан : акриловая кислота = 1.33 × 10–3 : 1.25 (а, г), 2.48 × 10–2 : 1.25 (б, д), 4.43 × 10–3 : 1.25 (в, е).
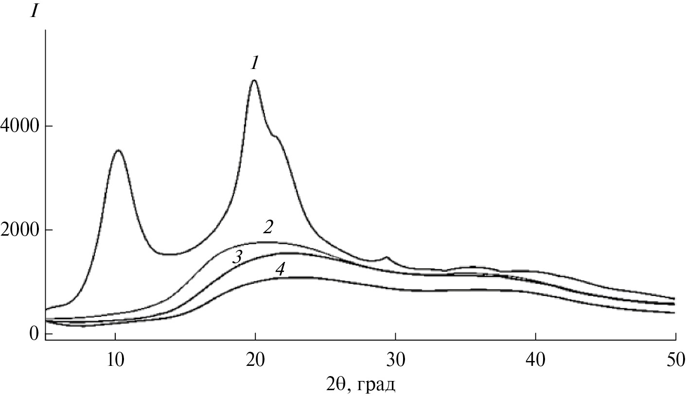
Рентгеноструктурный анализ (рис. 7) показал, что у хитозана из панциря краба имеются характерные рефлексы кристаллической структуры при 2θ ~ 10°, 20° и 29°, связанные с межплоскостными расстояниями (100), (111) и (203), а также рефлекс в виде плеча при 21.7°, который связан с (201) плоскостью.
Рис. 7. Рентгеновские дифрактограммы образцов хитозана (1) и привитых сополимеров, синтезированных при мольных соотношениях акриловая кислота : хитозан = 1.25 : (2.48 × 10–2) (2), 1.25 : (8.87 × 10–3) (3), 1.25 : (4.43 × 10–3) (4).
Наиболее интенсивный широкий максимум виден при значении угла 2θ = 20°, при этом кристаллический рефлекс при значении угла 2θ = 29°, соответствующий плоскости (203), отличается малой интенсивностью. В процессе идентификации параметров элементарных ячеек было определено, что хитозан из панциря краба имеет орторомбическую сингонию с параметрами ячеек для исходного образца а = 7.85 Ǻ, b = 8.02 Ǻ и с = 10.02 Ǻ, которые хорошо согласуются с литературными данными [20]. В дифрактограммах сополимеров прослеживается широкое аморфное гало, имеющее бимодальную форму и максимумы в области 2θ = 22.5° и 38°. Это свидетельствует об отсутствии дальнего порядка в данных образцах. Таким образом, прививка последовательностей звеньев акриловой кислоты к хитозану и сшивка полимерных цепей приводит к нарушению кристаллической структуры полисахарида.
Было исследовано влияние степени замещения карбоксильных групп акриловой кислоты на водопоглощение гидрогелей хитозан : акриловая кислота. Синтез проводился в следующих условиях: [акриловая кислота] = 4.86 моль/л, [хитозан] = 9.93 × 10–3 и 19.8 × 10–3 основомоль/л, что соответствовало 0.5 и 1.0 мас. % от акриловой кислоты, T = 50°C, [персульфат калия] = 1 × 10–2 моль/л (рис. 8).
Рис. 8. Зависимость изменения объема V на единицу массы m0 привитых сополимеров в воде от степени нейтрализации карбоксильных групп. Условия синтеза: [акриловая кислота] = 4.86 моль/л, [персульфат калия] = 1 × 10–2 моль/л, Т = 50°C; [хитозан] = 9.93 × 10–3 (1) и 19.8 × 10–3 осново-моль/л (2).
Синтезированные привитые сополимеры обладают сравнительно низкой степенью набухания в дистиллированной воде. Однако значение этого параметра значительно возрастает при частичной нейтрализации карбоксильных групп и достигает своего максимума при степени нейтрализации ~70%. При этом водопоглощение достигает значений 800–900 мл/г, что соответствует требованиям к полимерным суперабсорбентам, применяемым в производстве изделий санитарно-гигиенического назначения, а также в сельском хозяйстве.
ЗАКЛЮЧЕНИЕ
Синтезированы привитые сополимеры хитозана и акриловой кислоты. Установлено ускоряющее действие полисахарида на формирование трехмерной структуры при привитой сополимеризации. Одной из причин такого эффекта является локальное увеличение концентрации мономера в зоне роста привитой цепи. Это может быть использовано в качестве инструмента для регулирования скорости структурирования привитых сополимеров в процессе полимеризации. Показано, что сополимеры обладают аморфной и более однородной структурой по сравнению с полимерными смесями. На их основе могут быть созданы высоконабухающие суперабсорбенты для использования в производстве санитарно-гигиенической продукции и в сельском хозяйстве в качестве водосберегающих материалов.
Авторы выражают благодарность заведующему лабораторией полимеризационных процессов кафедры высокомолекулярных соединений Московского государственного университета М.Ю. Заремскому за обсуждение результатов данной работы, сделанные поправки и пожелания.
Работа выполнена в рамках совместного Узбекско-Белорусского фундаментального проекта IL-4821091571 “Новые методы получения гибридных полимерных суперабсорбентов на основе полисахаридов и полиакрилатов”.
作者简介
В. Кудышкин
Институт химии и физики полимеров Академии наук Республики Узбекистан
编辑信件的主要联系方式.
Email: persival2015@yandex.ru
乌兹别克斯坦, 100128 Ташкент, ул. А. Кодири, 7б
З. Абрарова
Институт химии и физики полимеров Академии наук Республики Узбекистан
Email: persival2015@yandex.ru
乌兹别克斯坦, 100128 Ташкент, ул. А. Кодири, 7б
Н. Бозоров
Институт химии и физики полимеров Академии наук Республики Узбекистан
Email: persival2015@yandex.ru
乌兹别克斯坦, 100128 Ташкент, ул. А. Кодири, 7б
У. Жумартова
Институт химии и физики полимеров Академии наук Республики Узбекистан
Email: persival2015@yandex.ru
乌兹别克斯坦, 100128 Ташкент, ул. А. Кодири, 7б
М. Усманова
Институт химии и физики полимеров Академии наук Республики Узбекистан
Email: persival2015@yandex.ru
乌兹别克斯坦, 100128 Ташкент, ул. А. Кодири, 7б
Н. Ашуров
Институт химии и физики полимеров Академии наук Республики Узбекистан
Email: persival2015@yandex.ru
乌兹别克斯坦, 100128 Ташкент, ул. А. Кодири, 7б
С. Рашидова
Институт химии и физики полимеров Академии наук Республики Узбекистан
Email: persival2015@yandex.ru
乌兹别克斯坦, 100128 Ташкент, ул. А. Кодири, 7б
参考
- Ahmed Enas M. // J. Adv. Res. 2015. V. 6. № 2. P. 105.
- Liu Y., Wang J., Chen H., Cheng D. // Sci. Total Environ. 2022. Nov 10. 846:157303.
- Sikder A., Pearce A.K., Parkinson S.J., Napier R., O’Reilly R.K. // ACS Appl. Polym. Mater. 2021. V. 3. № 3. P. 1203.
- Rather R.A., Bhat M.A., Shalla A.H. // Carbohydr. Polym. Technol. Appl. 2022. V. 3. Р. 100202.
- Chen J., Wu J., Raffa P., Picchioni F., Koning C.E. // Prog. Polym. Sci. 2022. V. 125. Р. 101475.
- Bhavsar C., Momin M., Gharat S., Omri A. // Expert Opin. Drug Delivery. 2017. V. 14. № 10. P. 1189.
- Thakur V.K., Thakur M.K. // ACS Sustainable Chem. Eng. 2014. V. 2. № 12. P. 2637.
- Shanmugapriya A., Srividhya A., Ramya R., Sudha P.N. // Int. J. Environ. Sci. 2011 V. 1. № 7. P. 2086.
- Фомина Е.К., Гринюк Е.В., Климовцова И.А., Кудрявский Д.Л., Федоренко А.А., Иванчиков Я.Д., Шиман Д.И., Сальникова И.А., Якименко О.В. // Изв. нац. акад. наук Беларуси. Сер. хим. наук. 2023. Т. 59. № 3. С. 216.
- Sadeghi M., Yarahmadi M. // Afr. J. Biotechnol. 2011. V. 10. P. 12265.
- Davidenko N., Peniche C., Díaz J.M., San Roman J., Sastre R. // Latin Am. Аppl. Res. 2007. V. 37. № 4. P. 247.
- Ibrahim A.G., Sayed A.Z., El-Wahab H.A., Sayah M.M. // Am. J. Polym. Sci. Technol. 2019. V. 5. № 2. P. 55.
- Mochalova A.E., Zaborshchikova N.V., Knyazev A.A., Smirnova L.A., Izvozchikova V.A., Medvedeva V.V., Semchikov Yu.D. // Polymer Science A. 2006. V. 48. № 9. P. 918.
- Кудышкин В.О., Абрарова З.М., Рашидова С.Ш. // Хим. технол. 2019. Т. 20. № 2. С. 59.
- Zaborina O.E., Gasanov R.G., Peregudov A.S., Lozinsky V.I. // Eur. Polym. J. 2014. V. 61. P. 226.
- Кабанов В.А., Топчиев Д.А. Полимеризация ионизующихся мономеров. М.: Наука, 1975.
- Браун Д., Флойд А., Сейнзбери М. Спектроскопия органических веществ. М.: Мир, 1992.
- Sashiwa H., Yamamori N., Ichinose Y., Sunamoto J., Aiba S. // Macromol. Biosci. 2003. V. 3. № 5. P. 231.
- Pestov A.V., Zhuravlev N.A., Yatluk Y.G. // Russ. J. Appl. Chem. 2007. V. 80. № 7. P. 1154.
- Cartier N., Dormand A., Chanzy H. // J. Biol. Macromol. 1990. V. 12. № 5. P. 289.
补充文件










