Methodology for controlling the air parameters of paint-drying chambers when working with automotive water-based paints
- Авторлар: Faskiev R.S.1, Melnikov A.N.1, Keyan E.G.1
-
Мекемелер:
- Orenburg State University
- Шығарылым: № 5 (2024)
- Беттер: 82-92
- Бөлім: Transport
- URL: https://bakhtiniada.ru/2077-7175/article/view/278093
- DOI: https://doi.org/10.25198/2077-7175-2024-5-82
- ID: 278093
Дәйексөз келтіру
Толық мәтін
Аннотация
One of the significant ways to reduce the destructive impact on the environment from the technological processes of restorative repair of car bodies is the transition to paints diluted with water. However, the direct use of existing paint drying chambers for the application and drying of waterborne paints can negatively affect the performance of the process and the quality of the coating. It has been established that during the drying of coatings from waterborne paints, the formation of stagnant ventilation zones is possible, which can lead to reverse condensation of water, followed by the formation of streaks.
The purpose of the study: to increase the efficiency of the process of painting automobile bodies with paints diluted with water, based on the control of the parameters of the air environment of the paint drying chambers.
Research methods: analysis of ventilation processes in existing paint-drying chambers and their compliance with the thermophysical and volatile properties of water vapor when painting automotive products.
In order to avoid the formation of stagnant zones of high humidity in the ceiling part of the paint and drying chambers, it is proposed to mount a system of guide plates, the purpose of which is to control the directions and speed of air flows in the painting and drying modes. To ensure acceptable technological and economic parameters of the process of painting with waterborne paints, depending on the humidity levels in the environment and in the working chamber of the paint and drying chambers, it is proposed to change the logic of the recirculation flap control. Dependencies linking the parameters of the movement of the executive bodies with the indicators of humidity, mode and direction of the flow of ventilated air are proposed.
The scientific novelty of the work lies in the methodology for controlling the humidity level, direction and mode of air flows in the working chamber of the paint and drying chambers, which eliminates the appearance of stagnant zones when painting car bodies with waterborne paints.
The direction of further research is to substantiate the optimal level of air humidity in the working chamber, depending on the state of the ambient air and the productivity of the painting process.
Негізгі сөздер
Толық мәтін
Введение
Технический прогресс в автомобильном транспорте оказывает неизменное влияние на объем и структуру автосервисных услуг. Рост числа обращений по техническому обслуживанию и ремонту, связанный с абсолютным ростом количества автомобилей, приводит к необходимости увеличения числа предприятий автомобильного сервиса с одной стороны, и необходимости разработки высокопроизводительного оборудования и соответствующих технологий ремонта – с другой. Одним из дорогих видов ремонта автомобилей в рамках автосервисных услуг является ремонт кузовов [10]. Работы выполняются в условиях малярно-кузовных участков предприятий автомобильного транспорта или специализированных предприятий по ремонту кузовов. Факторами, обуславливающими дороговизну указанных видов работ, являются высокие начальная стоимость и стоимость эксплуатации используемого основного технологического оборудования [8].
К основному оборудованию малярных участков для ремонтной окраски кузовов автомобилей относятся окрасочно-сушильные камеры (ОСК). По конструкции ОСК представляют собой герметичный бокс с внутренними размерами (длина-ширина-высота) около 7000х4000х2700 мм. (рисунок 1). Назначением ОСК является обеспечение условий для создания лакокрасочного покрытия, соответствующего требованиям нормативной документации с одновременным соблюдением санитарно-гигиенических условий для работающих и требований нормативов пожарной и экологической безопасности.
Рисунок 1. Общий вид и составляющие элементы окрасочно-сушильной камеры
Источник: разработано авторами
Устройство может функционировать в двух основных режимах, «окраска» и «сушка», отличающиеся температурой и направлениями потоков воздуха. Управление потоками обеспечивается заслонкой рециркуляции 6.
Наиболее распространенной является конструктивная схема с использованием двух вентиляторных агрегатов. При этом один вентиляторный агрегат 8, называемый агрегатом приточной вентиляции, находится перед рабочей камерой 1 и создает избыточное статическое давление. Второй вентиляторный агрегат 5 (агрегат вытяжной вентиляции) устанавливается после рабочей камеры и создает там отрицательное статическое давление. Встречаются (реже) конструкции ОСК с одним вентиляторным агрегатом, устанавливаемым перед рабочей камерой.
Эффективность фильтрации системой трехступенчатой фильтрации, включающей предварительный 7, потолочный 3 и напольный 2 фильтры, зависит от материала и своевременности замены фильтровальных материалов и находится в пределах 0,98%.
Обеспечиваемые температуры воздуха в абсолютном большинстве эксплуатируемых ОСК находятся в пределах 20 ± 5 С° в режиме окраски и 80 ± 5 С° в режиме сушки. Отличаются отдельные объекты друг от друга мощностью теплогенератора 4, которая определяет скорость выхода на необходимый тепловой режим и его стабильность, особенно в холодное время года.
Конструкция, логика управления и обеспечиваемые технологические режимы современных ОСК настроены на нанесение и сушку органорастворимых красок с высокой степенью летучести жидкого компонента. Из-за высокой горючести и токсичности органических растворителей, технологические процессы окраски и сушки построены с расчетом на обеспечение требований пожаробезопасности и соблюдения необходимых санитарно-гигиенических условий для работающих. Обеспечиваются указанные требования путем интенсивного воздухообмена рабочей зоны с окружающей средой. Учитывая, что ремонтно-восстановительные работы по отношению к объектам автомобильной техники выполняются в рамках предприятий автомобильного транспорта, которые часто располагаются в городской черте, важными являются работы по снижению их деструктивного влияния на окружающую среду [2].
Проблема не нова и во многих странах, в частности странах Европейского сообщества, приняты специальные законы, ограничивающие количество летучих веществ в лакокрасочных материалах. Проблема решается в двух направлениях. Первое – создание эмалей с высоким содержанием сухого остатка (типа High Solid). Сокращение выбросов вредных соединений в материалах указанного типа достигается за счет использования в их составе меньшего количества растворителя (процент твердых веществ в краске может достигать 80). Благодаря этому являются более вязкими, требуют соблюдения определенных условий нанесения, требуется больше времени для сушки. Другим направлением является создание красок, условия нанесения и сушки которых аналогичны традиционным органорастворимым краскам. В результате, в начале 90-х годов, появились и получили в настоящее время распространение во многих европейских странах автомобильные краски, разбавляемые водой [18; 16; 17].
По своему составу водоразбавляемые краски аналогичны традиционным краскам и образуют, в конечном итоге, одинаковое по структуре и составу покрытие. И те и другие состоят из полимеров (смол), пигмента, различного рода добавок и растворителя. Отличием водоразбавляемых красок является наличие в их составе воды, которая используется для получения материала нужной вязкости. Кроме этого, вода выступает как средство доставки краски к окрашиваемому покрытию. Таким образом, использование красок на водной основе не только потенциально снижает воздействие на работников токсичных веществ, но и значительно сокращает выбросы летучих органических соединений в окружающую среду [15].
Однако вода, используемая в составе водоразбавляемых красок, имеет отличные от большинства растворителей теплофизические свойства. С технологической точки зрения являются интересными не численные значения параметров, а их соотношения. Например, соотношения (по бутилацетату) объемной массовой летучести распространенных органических растворителей и воды на фильтровальной бумаге приведены на рисунке 2. Отсюда следует, что низкая скорость испарения воды предполагает большее время работы оборудования до окончательного высыхания окрашенной поверхности и соответственно больший расход энергии.
Рисунок 2. Объемная относительная летучесть воды и органических растворителей
Источник: разработано авторами
В связи с этим, возникает ряд проблем технологического плана:
- существующие водоразбавляемые краски имеют иную, чем органорастворимые краски вязкость, что делает необходимым для маляров прохождения соответствующей переподготовки с целью достижения понимания особенностей новых материалов для получения оптимальных результатов;
- вода, в отличие от органических растворителей, испаряется медленнее, что увеличивает время сушки и тем самым сокращает производительность и доходность малярных участков;
- скорость испарения воды не является постоянной и зависит от влажности окружающего воздуха, что накладывает дополнительные требования к параметрам системы вентиляции.
Проблемы проектирования и эксплуатации систем вентиляции окрасочно-сушильных камер являются актуальными. Основными параметрами, характеризующими эффективность вентиляции, являются скорость и распределение потоков воздуха в рабочей зоне. Анализ технических характеристик существующих окрасочно-сушильных камер дает довольно большой диапазон скоростей потока воздуха в рабочей камере (0,1 … 0,35 м/с). Однако все эти данные относятся к устройствам с начальными значениями сопротивлений фильтровальных материалов.
Согласно исследованиям, приведенным в работе [3], скорость потока зависит от площади рабочей камеры, общего гидравлического сопротивления составляющих элементов ОСК, соотношения параметров и развиваемой полезной мощности вентиляторных агрегатов. Фактическая нисходящая скорость потока воздуха не является постоянной и зависит от соотношения характеристик вентиляторных агрегатов и текущего состояния фильтровальных материалов.
Распределение воздушных потоков и обеспечение предельных уровней концентрации паров органических растворителей в рабочей камере рассмотрены в работе [4]. На основе моделирования процесса распространения воздушных потоков в объеме окрасочно-сушильной камеры, при разной геометрии окрашиваемых изделий, установлены зоны расположения опасных концентраций паров растворителя.
В работе [5] представлены результаты моделирования процесса распространения ксилола в окрасочно-сушильной камере для окраски крупногабаритных деталей. Обоснованы необходимость расширения размеров камеры и подачи дополнительного возмущения со скоростью порядка 0,05 м/с в целях ликвидации застойных зон.
В работе [12] рассмотрены факторы, влияющие на качество получаемого при окрашивании лакокрасочного покрытия. По данным проведенного исследования, несоответствующая влажность окружающего воздуха указана в качестве основного негативного фактора.
Вопросы повышения качества лакокрасочного покрытия путем снижения влажности, подаваемого к краскораспылителю воздуха, рассмотрены в работе [7].
Методика расчета теплового баланса конвективной окрасочно-сушильной камеры приведена в работе [1]. Составляющими суммарного количества необходимой тепловой энергии при окрашивании указаны потери через ограждающие конструкции, нагрев воздуха, нагрев и испарение растворителя.
Все рассмотренные источники нацелены на проведение исследований эффективности вентиляции рабочей зоны из условия выполнения работ с использованием органорастворимых красок. Остаются нерешенными проблемы, связанные с особенностями свойств воды, не позволяющие в условиях существующих окрасочно-сушильных камер эффективно проводить работы по окраске и сушке материалами, в составе которых содержится вода.
Существенное отличие теплофизических свойств воды и органических растворителей требует внесения изменений в конструкцию и логику управления системы вентиляции окрасочно-сушильных камер. Для этого необходимо произвести анализ процессов вентиляции в существующих окрасочно-сушильных камерах и их соответствие теплофизическим и летучим свойствам паров воды при окрашивании изделий автомобильного транспорта.
На основе вышесказанного поставлена цель исследования: повышение эффективности процесса окраски автомобильных кузовов красками, разбавляемыми водой, на основе управления параметрами воздушной среды окрасочно-сушильных камер.
Исследовательская часть
Схема функционирования системы вентиляции окрасочно-сушильной камеры в режиме сушки показана на рисунке 3. В этом режиме функционирует только один вентиляторный агрегат 4 (приточной вентиляции). Вентиляторный агрегат вытяжной вентиляции 12 отключен. Регулирование направлением воздушных потоков обеспечивается заслонкой рециркуляции 2, которая частично перекрывает приточный канал 6 и открывает канал, соединяющий вентиляторный агрегат 4 приточной вентиляции с подпольным пространством 1. В итоге, в целях экономии энергии, нагретый теплогенератором 7 до температуры сушки, воздух полностью не удаляется в атмосферу, а в количество GР совершает циркуляционное движение по маршруту: рабочая камера – напольный фильтр 13 – предварительный фильтр 3 – теплогенератор 7 – потолочный фильтр 8 – рабочая камера.
Рисунок 3. Схема вентиляции окрасочно-сушильной камеры в режиме сушки
Источник: разработано авторами
При нанесении красок на основе органических растворителей количество приточного воздуха GП определяется требованиями пожаро- и взрывобезопасности в зависимости от массы выделяющихся вредных или взрывоопасных веществ. В существующих ОСК количество приточного воздуха задается постоянной и составляет примерно 0,1–0,3% от общей производительности системы вентиляции.
В случае работы с водоразбавляемыми красками нет необходимости соблюдения норм пожаро- и взрывобезопасности, ввиду малости органических растворителей в составе красок. Тем не менее воздухообмен с внешней средой необходим для удаления водяного пара из рабочей камеры.
Для оценки характера влияния влажности среды на скорость процесса испарения IИ можно воспользоваться моделью Дальтона [6]
(1)
где
c – коэффициент, учитывающий скорость и направление воздушного потока;
ps и po – соответственно, парциальные давления на поверхности жидкости и в окружающем пространстве.
Отсюда имеем, что для поддержания приемлемой скорости испарения воды, обладающей низкой летучестью, система вентиляции ОСК должна обеспечивать обдув окрашенных поверхностей потоком воздуха, имеющий низкую влажность. Количество воздуха, удаляемого из рабочей камеры, можно определить из уравнения влажностного баланса
(2)
где
GП и GУ – соответственно, массовые расходы воздуха по каналам притока 6 и удаления 9 (рисунок 3);
dП и dУ – соответственно, влагосодержание приточного и удаляемого воздуха;
W – поступление испаряющейся влаги.
Принимая равными значения GП и GУ из (2), получим
(3)
По известному значению GУ можно задать угол открытия заслонки, определяя площадь проходного сечения канала. Однако все три, входящих в выражение (3), фактора являются переменными, зависящими от внешних атмосферных условий, производительности процесса окраски, площади окрашенной поверхности и могут быть определены только для конкретного момента времени. Очевидно, что процесс сушки будет иметь максимальные значения при минимальной влажности воздуха окружающей среды (например, зимой) и максимальной величине количества приточного воздуха GП. Однако это наименее предпочтительные в энергетическом отношении варианты.
На практике необходимо придерживаться промежуточного варианта, обеспечивающего приемлемые технологические и экономические параметры процесса в зависимости от уровней влажности воздуха в окружающей среде и в рабочей камере ОСК, которая будет определяться степенью открытия заслонки 2. Для оперативного управления заслонкой необходимо оснастить ОСК двумя приборами для измерения влажности и температуры 5 и 10, располагая их в воздушных каналах перед и после рабочей камеры (рисунок 3). По показаниям указанных приборов будет формироваться управляющий сигнал для механизма привода заслонки.
Процесс испарения жидкостей в воздушной среде состоит из нескольких последовательных стадий: парообразования, диффузии и унос с поверхности. Диффузия связана с прохождением паров через жидкую фазу лакокрасочного материала, поверхностный слой покрытия и ламинарный пограничный слой обтекающего воздуха. Интенсивность процесса зависит от ряда термодинамических, молекулярных и аэродинамических факторов и может быть описана следующей зависимостью [13]
(4)
где
IИ – скорость испарения;
ne – концентрация пара на поверхности испарения;
R – расстояние от поверхности испарения до стенки;
L – длина поверхности испарения;
Vl – линейная скорость потока воздуха;
D – коэффициент диффузии молекул растворителя в паре;
ξ – аэродинамический коэффициент молекулярного смещения (коэффициент захвата).
Согласно выражению (4), значимыми факторами, влияющими на скорость испарения, являются скорость потока воздуха над материалом и концентрация растворителя над поверхностью испарения.
В существующих окрасочно-сушильных камерах принята нисходящая схема вентиляции. Вентиляционный ламинарный поток поступает с верхней части ОСК, огибает изделие и удаляется в подпольное пространство. В этом случае, при набегании вентилируемого воздуха на горизонтально расположенные кузовные элементы окрашиваемого изделия 11 (рисунок 3) может наблюдаться эффект торможения потока с образованием застойных зон I [9; 11; 14]. Особенностями этой зоны являются повышенное давление и слабая циркуляция воздуха. Вследствие этого:
- сокращается теплообмен между теплоносителем и лакокрасочным покрытием, что приводит к понижению температуры окрашенной поверхности и увеличению времени сушки горизонтальных панелей;
- слабая циркуляция воздуха способствует формированию на окрашенной поверхности слоя воздуха с повышенной влажностью;
- высокая влажность и пониженная температура окрашенной поверхности могут спровоцировать обратную конденсацию воды, что может привести к снижению вязкости поверхностных слоев покрытия и образованию подтеков.
Процесс образования застойных зон в значительной степени будет зависеть от положения и формы панелей автомобиля и для разных объектов будет иметь иные размеры и расположение. Увеличение скорости потока, повышением производительности системы вентиляции, не приводит к исключению обозначенного негативного эффекта.
Боковые панели (зоны II, рисунок 3) омываются касательно направленными потоками воздуха. Изделие, расположенное в рабочей зоне, частично перекрывает площадь живого сечения воздушного потока, что приводит к росту его скорости относительно боковых панелей. Увеличение скорости потока, в этом случае, приводит к росту турбулентной диффузии, что способствует более интенсивному переносу поверхностно расположенных влажных масс потоком воздуха.
В целях получения возможности управления воздушными потоками в рабочей камере 2 (рисунок 4) существующих ОСК, можно предложить совмещенную систему подачи и распределения воздуха. Для этого в потолочной части ОСК предлагается смонтировать систему направляющих пластин, предназначенных для формирования направления и скорости потоков воздуха в режимах окраски (рисунок 4а) и сушки (рисунок 4б).
Рисунок 4. Схемы положений направляющих пластин и формируемых ими потоков воздуха в окрасочно-сушильной камере: а) в режиме окраски; б) в режиме сушки
Источник: разработано авторами
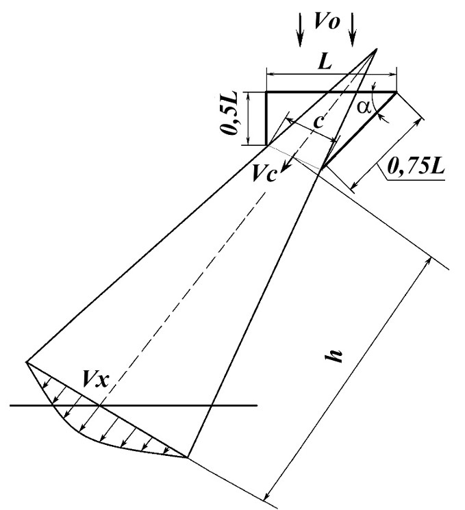
Пластины 5 и 6 имеют разную длину. Короткие пластины 5 являются неподвижными. Длинные пластины 6 могут поворачиваться на определенный угол, образуя тем самым зауженный наклонный канал шириной с (рисунок 5) и длиной, равной ширине рабочей камеры ОСК.
В режиме окраски (рисунок 4а) пластины находятся в вертикальном положении и не влияют на направление потока воздуха, сходящего с потолочного фильтра. При переходе ОСК в режим сушки подвижную пластину поворачивают на угол α (рисунок 4б). В результате, сходящий с потолочного пространства 4 через потолочный фильтр 3 поток сжимается до размеров ширины выходного канала и меняет свое направление со строго вертикального на наклонный. Благодаря этому на окрашенной поверхности изделия 1 формируется настильная турбулентная струя воздуха без образования застойных зон. Посредством изменения угла поворота пластин можно увеличивать или уменьшать горизонтальную составляющую потока и, соответственно, скорость в зависимости от расположения и размеров объекта окраски.
На первом этапе, за счет уменьшения поперечного сечения, скорость VO, сходящего из объема потолочного фильтра потока, растет до значения VС. Далее, по мере удаления от среза выходного канала, скорость потока постепенно уменьшается за счет трения в окружающем воздухе до среднеквадратического значения VХ.
Для рисунка 5 зависимость среднеквадратичной скорости VХ от геометрии пластин, размеров рабочей зоны и изделия можно выразить следующей формулой
(5)
где
КС – коэффициент сжатия струи;
a = 0,1 – 0,11 – коэффициент, учитывающий турбулентность струи;
h – расстояние от среза направляющих пластин до поверхности окрашиваемого изделия, м;
с – ширина канала, м.
Рисунок 5. Схема воздушной струи, набегающей на изделие
Источник: разработано авторами
Расчет для рисунка 5 по выражению (5) при значениях L = 0,4 м, α = 40 град, h = 1,5 м, VO = 0,15 м/с дает значение среднеквадратичной скорости VX = 0,2 м/с. При этом скорость по оси основного участка струи составляет 0,29 м/с.
Изменяя размеры и управляя относительным положением направляющих пластин, можно получить для текущего случая необходимые направления и режимы потоков воздуха. Данное мероприятие будет иметь наиболее выраженный эффект при применении в ОСК, оснащенный вентиляторными установками небольшой мощности и, соответственно, обеспечивающих невысокие начальные скорости движения воздуха в рабочей камере.
Заключение
В статье рассмотрены проблемы, возникающие при использовании для окраски кузовов автомобилей водоразбавляемых красок в условиях малярных участков на базе существующих окрасочно-сушильных камер. На основе отличий в свойствах воды и органических растворителей сделаны выводы о возможном формировании на окрашенных участках застойных зон с повышенной влажностью. Это может привести к снижению вязкости поверхностных слоев покрытия и образованию подтеков.
Исключить обозначенные негативные явления и повысить эффективность процесса окраски водоразбавляемыми красками возможно за счет разработанной в рамках работы методики управления параметрами воздушной среды в рабочей камере окрасочно-сушильных камер. Предлагаемая методика включает в себя математическое обоснование режимов, мероприятий конструктивного характера и порядок действий для получения необходимого результата.
Научная новизна работы заключается в методике управления уровнем влажности, направления и режима потоков воздуха в рабочей камере окрасочно-сушильных камер, исключающая появление застойных зон при окрашивании кузовов автомобилей водоразбавляемыми красками.
Предлагаемые в рамках данной работы рекомендации по конструктивному дооборудованию и управлению работой окрасочно-сушильных камер не являются сложными, не требуют значительных вложений, и будут представлять практический интерес для малярно-кузовных цехов предприятий автомобильного сервиса. Реализация предлагаемых мероприятий позволяет расширить технологические возможности предприятий и снизить негативное воздействие процессов окраски на окружающую среду.
Представляют научный и практический интерес дальнейшие работы по обоснованию оптимального уровня влажности воздуха в рабочей камере в зависимости от состояния окружающего воздуха и производительности процесса окраски.
Авторлар туралы
Rif Faskiev
Orenburg State University
Хат алмасуға жауапты Автор.
Email: f_rif_s@mail.ru
ORCID iD: 0009-0009-3773-4423
Candidate of Technical Sciences, Associate Professor, Associate Professor of the Department of Technical Operation and Repair of Cars
Ресей, OrenburgAleksej Melnikov
Orenburg State University
Email: mlnikov@rambler.ru
ORCID iD: 0000-0001-7324-2674
Candidate of Technical Sciences, Associate Professor, Associate Professor of the Department of Technical Operation and Repair of Cars
Ресей, OrenburgErvand Keyan
Orenburg State University
Email: keyan1959@mail.ru
ORCID iD: 0009-0001-5658-782X
Candidate of Technical Sciences, Associate Professor, Associate Professor of the Department of Technical Operation and Repair of Cars
Ресей, OrenburgӘдебиет тізімі
- Bogomolov, B. B., et al. (2021) [Algorithmization of the design calculation of convective radiation drying of paint coatings]. Teoreticheskie osnovy himicheskoj tekhnologii [Theoretical Foundations of Chemical Technology]. Vol. 55, No. 1, pp. 76–86. – EDN: RUTKSS. (In Russ.).
- Bakaeva, N. V. (2009) [Environmental risks in car maintenance]. Mir transporta [World of transport]. Vol. 7, No. 3(27), pp. 134–139. – EDN: LAFXFP. (In Russ.).
- Bondarenko, E. V, Faskiev, R. S., Fazullin, M. R. (2009) [Reducing the energy consumption of equipment for car repair painting and drying]. Vestnik IrGTU [Bulletin of the Irkutsk State Technical University]. Vol. 4, pp. 74–78. (In Russ.).
- Ziganshin, A. M., Saphiullin, R. G., Posokhin, V. N. (2016) [About ventilation of painting bake ovens. Message 1]. Izvestiya vuzov. Investitsii. Stroitel’stvo. Nedvizhimost’ [Proceedings of Universities. Investments. Construction. Real estate]. No. 4 (19), pp. 84–93. – https://doi.org/10.21285/2227-2917-2016-4-94-100. (In Russ.).
- Ziganshin, A. M., Saphiullin, R. G., Posokhin, V. N. (2016) [About ventilation of painting bake ovens. Message 2]. Izvestiya vuzov. Investitsii. Stroitel’stvo. Nedvizhimost’ [Proceedings of Universities. Investments. Construction. Real estate]. No. 4 (19), pp. 94–100. – https://doi.org/10.21285/2227-2917-2016-4-94-100. (In Russ.).
- Krechetov, I. V. (1980) Sushka drevesiny. [Drying of wood]. Forestry industry, Moscow, 432 p.
- Fedoseev, V. A., et al. (2022). [Improving the quality of car body painting]. Sbornik statej XVI Mezhdunarodnoj nauchno-prakticheskoj konferencii. Perspektivnye napravleniya razvitiya avtotransportnogo kompleksa [Promising directions for the development of the motor transport complex: Collection of articles from the XVI International Scientific and Practical Conference]. Penza, Russia, November 14–15, pp. 160–164. – EDN: JTIOCR. (In Russ.).
- Katargin, V. N., et al. (2018) [Attracting and retaining customers in the field of passenger car body repair services]. Transport. Transportnye sooruzheniya. Ekologiya [Transport. Transport structures. Ecology]. Vol. 2, pp. 38–45. – https://doi.org/10.15593/24111678/2018.02.04. – EDN: XSHXED. (In Russ.).
- Semenov, B. A., Ozerov, N. A. (2014) [Local heat and mass transfer in the center of impact of a flat air jet spreading over a flat surface]. Vestnik Saratovskogo gosudarstvennogo tekhnicheskogo universiteta [Bulletin of the Saratov State Technical University]. Vol. 2(75), pp. 148–156. – EDN: SZWCHF. (In Russ.).
- Semykina, A. S., Nazhiganov, N. A., Zagoronij, N. A. (2019) [Analysis of the technological process of factory and repair painting of car bodies]. Vestnik Doneckoj akademii avtomobil’nogo transporta [Bulletin of the Donetsk Academy of Automobile Transport]. Vol. 3, pp. 80–86. – EDN: TPQBPS. (In Russ.).
- Terekhov, V. I., Kalinina, S. V., Sharov, K. A. (2018) [Convective heat transfer when an annular jet flows onto a flat barrier]. Teplofizika vysokih temperature [High Temperature Thermophysics]. Vol. 56, No. 4, pp. 229–234. – https://doi.org/10.7868/S0040364418020096. – EDN: XNZEAX. (In Russ.).
- Hasanov, I. H., Rassoha, V. I. (2019) [On the issue of improving the quality of the paintwork of the repaired passenger car body]. Innovatsionnyye tekhnologii mashinostroyeniya v transportnom komplekse: Materialy XI Mezhdunarodnoy nauchno-tekhnicheskoy konferentsii assotsiatsii tekhnologov-mashinostroiteley, Kaliningrad, 10–13 sentyabrya [Innovative technologies of mechanical engineering in the transport complex: Proceedings of the XI International Scientific and Technical Conference of the Association of Mechanical Engineers, Kaliningrad, September 10–13], Kaliningrad: Immanuel Kant Baltic Federal University, pp. 162–171. – EDN: FYGEQV.
- Chesunov, V. M., Vasenin, R. M. (1967) [Kinetics of solvent evaporation during film formation from polymer solutions]. Vysokomolekulyarnye soedineniya [High-molecular compounds]. Vol. 10, pp. 2067–2071.
- Anupam, Dewan, Rabijit Dutta and Balaji Srinivasan (2012) Recent Trends in Computation of Turbulent Jet Impingement Heat Transfer. Heat Transfer Engineering. Vol. 33, No. 4–5, pp. 447–460. – http://dx.doi.org/10.1080/01457632.2012.614154. (In Eng.).
- Der-Jen, Hsu, et al. (2018) Water-Based Automobile Paints Potentially Reduce the Exposure of Refinish Painters to Toxic Metals. International Journal of Environmental Research and Public Health, Vol. 15, No. 5, pp. 899. – https://doi.org/10.3390/ijerph15050899. (In Eng.).
- Mohamed, H. A. (2010) New waterborne paints with different binders and corrosion inhibition application. Journal of Coatings Technology and Research, Vol. 7, pp. 85–89. (In Eng.).
- Parashar, G., Bajpayee, M. & Kamani, P. K. (2003) Water-borne non-toxic high-performance inorganic silicate coatings. Surface Coatings International Part B: coatings Transactions, Vol. 86(3), pp. 209–216. (In Eng.).
- Xuehua, Liu, Wei, Hong, Xudong, Chen (2020) Continuous Production of Water-Borne Polyurethanes: A Review. Polymers, Volume 12, Issue 12, pp. 2875. – https://doi.org/10.3390/polym12122875. (In Eng.).
Қосымша файлдар







