Express-diagnostics of the properties of ЫРЫ materials using chrono-topographic analysis of thermal vision data
- 作者: Dolmatov A.V.1, Gulyaev P.Y.1
-
隶属关系:
- Yugra State University
- 期: 卷 19, 编号 1 (2023)
- 页面: 95-103
- 栏目: New materials and technology
- URL: https://bakhtiniada.ru/1816-9228/article/view/253706
- DOI: https://doi.org/10.18822/byusu20230195-103
- ID: 253706
如何引用文章
全文:
详细
Subject of research: the article is devoted to the development of a methodology for express diagnostics of material properties based on the measurement of macrokinetic parameters of the SHS process.
Purpose of research: plotting the dependence of the microhardness of SHS products on the propagation velocity of the SHS wave and its temperature.
Methods and objects of research: the research objects were the SHS process in the Ni-Al system and the reaction products; To measure the propagation velocity of a high-temperature synthesis wave, an original method of chrono-topographic analysis of thermal imaging data was used; temperature control was carried out by an original method of spectral-brightness pyrometry. The study of the microhardness of experimental samples was carried out using an FM-800 microhardness tester.
Main results of research: in the course of experimental studies, it was shown that the error in determining the propagation velocity of the SHS wave by the method of chrono-topographic analysis of thermal imaging data is 0.1 %, and the error in temperature measurement by the method of spectral-brightness pyrometry is estimated at 0.5 %. It is concluded that the main factor influencing the total error in the SHS wave propagation velocity in the experiment is the inaccuracy of setting the charge parameters for a set of samples. The absolute value of the total error was 3.2 %. A diagnostic trajectory has been constructed that makes it possible, based on the SHS propagation rate and reaction temperature, to evaluate the microhardness of the product and draw a conclusion about the quality of charge preparation for the production of a material with desired properties.
全文:
Введение
Метод самораспространяющегося высокотемпературного синтеза (СВС) позволяет создавать функциональные материалы и готовые изделия в результате сгорания порошковых смесей [1, 2]. Эволюция дискретной среды в ходе высокотемпературного физико-химического процесса описывается рядом структурных показателей тепловой волны реакции [3, 4]. Важнейшими из них является скорость распространения процесса и температура синтеза. Они позволяют сравнивать теплоперенос в различных системах, устанавливать связь между макрокинетикой стационарного горения и свойствами конечного продукта [5–7]. Подобную связь можно использовать для создания технологии экспресс-диагностики свойств СВС-материалов и коррекции начальных условий синтеза с целью получения материалов с заданными характеристиками.
Состояние исходных порошков перед СВС и качество подготовки шихты значительно влияют на свойства конечного продукта. Сжигание контрольного образца перед производством основного изделия и диагностика свойств синтезируемого материала способны снизить риск брака и улучшить экономику производства СВС-изделий.
Цель настоящей работы заключалась в построении взаимосвязи типа «макрокинетический параметр СВС – свойство конечного продукта» для экспресс-диагностики качества шихты и оценки риска производства СВС-материалов.
Результаты и обсуждение
Чувствительность метода экспресс-диагностики СВС-материалов, основанного на измерении макрокинетики реакции, существенно зависит от погрешности средств контроля скорости распространения фронта горения и температуры синтеза. Для экспериментального исследования использовался оригинальный микротепловизионный комплекс, включающий микроскоп МБС-10, полосовой светофильтр SL-725-40 ( нм), скоростную камеру ВидеоСпринт и спектрометр LR1-T (рис. 1) [8, 9]. КМОП-сенсор камеры имел размерность 1280х1024 фотоэлемента. Полосовой светофильтр в оптическом тракте камеры превратил каждый фотоэлемент размером 12х12 мкм в отдельный канал яркостной пирометрии, а совмещение области зрения камеры и спектрометра на базе стереомикроскопа, позволило применить метод спектрально-яркостной пирометрии (СЯП) и добиться погрешности измерения температуры реакции высокотемпературного синтеза на уровне 0.5 % [10–12].
Рисунок 1 – Экспериментальный комплекс
Для измерения скорости распространения фронта реакции СВС применялся оригинальный метод обработки результатов скоростной микротепловизионной съемки. Он позволил выявить данные о положении фронта горения на отдельных кадрах, объединить их в виде хроно-топографической карты, и измерить скорость фронта с погрешностью 0.1 %. Обозначенный авторами метод хроно-топографического анализа (ХТА) тепловизионных данных опирается на закономерности процесса СВС – его стационарность и высокую скорость нарастания температуры во фронте реакции (до 1000 К/мс) [13]. Стационарность явления СВС позволяет для визуализации положения его фронта выбрать пороговое значение температуры из достаточно широкого диапазона, т. к. разные значения температурного порога соответствуют различным стадиям развития процесса в локальных областях и практически не влияют на оценку скорости распространения волны СВС. Для построения хроно-топографической карты наблюдаемого явления введены следующие обозначения. Пусть начало координат находится в левом верхнем углу фотодатчика (рис. 2).
Рисунок 2 – Этапы построения хроно-топографической карты (а – микротепловизионные данные; б – логический видеоряд)
Координата по оси Y отражает положение центра фотоэлементов в столбце датчика, а координата по оси X – в его строке. Обозначим единичным вектором направление наблюдения за положением фронта, а единичным вектором направление перемещения фронта. Будем считать, что направления оси Y и вектора совпадают. Произведем бинаризацию данных микротепловизионной съемки так, чтобы любой элемент изображения менял свое состояние во времени с "черного" на "белый" только один раз, когда температура соответствующей области объекта в первый раз превысит температурный порог (рис. 3).
Рисунок 3 – Идентификация фронта волны СВС по температурному порогу
Фронтом реакции в фиксированный момент времени будем считать совокупность «белых» элементов с максимальной Y-координатой в столбцах бинарного изображения. Совокупность положений фронта в разные моменты времени даст хроно-топографическую карту процесса СВС. На рисунке 4 представлена хроно-топографичекая карта высокотемпературного синтеза NiAl.
Рисунок 4 – Хроно-топографическая карта СВС NiAl
Анализ хроно-топографической карты позволяет выявить следующие закономерности. Экспериментальные данные о положении фронта СВС y=f(t,x) очень хорошо моделируются плоскостью (рис. 4). По отношению к процессу СВС это означает, что равны оценки математического ожидания скорости фронта по разным моментам времени и по различным точкам пространства. Из данного факта следует, что процесс СВ-синтеза можно считать не только стационарным, но и эргодичным. Изолиния y=const на аппроксимирующей плоскости является прямой, а угол между ее проекцией на плоскость t-X и осью X равен углу между векторами и (рис. 2, 4). Выявленные особенности процесса СВС устойчиво обнаруживались в микротепловизионных исследованиях системы Ni-Al при вариации стехиометрического состава, доли и дисперсности инертной добавки, плотности и начальной температуры шихты. По указанным причинам в основу метод ХТА легла формула:
, (1)
где – положение фронта волны СВС на микротепловизионной съемке в направлении ; a, b, c – коэффициенты, определяемые с помощью численных методов. Скорость распространения фронта процесса СВС в направлении равна:
, (2)
а скорость фронта в направлении :
, (3)
где α – угол между векторами и . Учитывая, что , окончательная формула скорости фронта процесса СВС через коэффициенты линейной модели примет вид:
. (4)
В качестве оценки абсолютной погрешности для коэффициентов a и b принята ширина их доверительного интервала:
; , (5)
где индексы min и max указывают соответственно на левую и правую границы доверительных интервалов. На основе (4) и (5) получены формулы для оценки погрешности измерения скорости фронта волны СВС методом ХТА:
, (6)
, (7)
где – оценка абсолютной методической погрешности, – оценка относительной методической погрешности.
Зависимость «макрокинетический параметр СВС – свойство конечного продукта» строилась на базе экспериментальных исследований в системе Ni – Al. При подготовке шихты использовались: Ni – марка ПНК-УТ3 дисперсностью 5-10 мкм; Al – марка ПА-4 дисперсностью 25-30 мкм. В бинарной системе Ni-Al варьировалась массовая доля никеля от 57 до 87 % с шагом 1.5. Кажущаяся плотность образцов шихты была фиксирована на уровне 2.6 г/см3, а начальная температура составляла 25оC. Подготовка образца выполнялась в кварцевой трубке с внутренним диаметром 20 мм. Его уплотнение осуществлялось посредством вибрации и весового давления металлического цилиндра диаметром 19.6 мм массой 50 грамм. Масса экспериментальных образцов составляла 18 грамма, а их высота 22 мм. Готовый образец шихты в кварцевой трубке размещался в перед объективом микротепловизионного комплекса, которым осуществлялась регистрация процесса СВС с пространственным и временным разрешением 5.8 мкм и 2 мс соответственно. В результате обработки микротепловизионной съемки всех образцов получены зависимости скорости фронта и температуры волны СВС от массовой доли никеля (рис. 5).
Рисунок 5 – Зависимости скорости (а) и температуры (б) реакции СВС от массовой доли Ni
Оценка методической погрешности измерения представлена на рисунке 6. Ее среднее значение равно 0.092 %.
Рисунок 6 – Оценка методической погрешности метода ХТА
Для оценки общей погрешности в эксперименте с набором образцов использована Гауссова модель зависимости скорости фронта волны СВС от доли инертной добавки (рис. 5-а) и вычислена ее невязка с результатами эксперимента (рис. 7). Средняя величина общей погрешности скорости фронта составила 3.210 %.
Рисунок 7 – Оценка погрешности скорости распространения волны СВС по выборке экспериментальных образцов
Общая погрешность скорости фронта волны СВС в эксперименте с набором образцов определяется методической погрешностью средств контроля и погрешностью , связанной с неточностью задания параметров шихты:
. (8)
С помощью (8) определено, что равна 3.209 %. Соотношение . Таким образом, при использовании подхода ХТА общая погрешность скорости фронта волны СВС для набора образцов, фактически, определяется неточностью задания параметров шихты. Аналогичный вывод получен относительно погрешности определения температуры по набору экспериментальных образцов в случае ее измерения методом СЯП.
На завершающей стадии экспериментальных исследований был выполнен микродюрометрический анализ образцов, и получена зависимость средней микротвердости материала-продукта, определенная по 30 уколам индентора в произвольные области каждого образца, от массовой доли никеля (рис. 8).
Рисунок 8 – Зависимость средней микротвердости экспериментальных образцов
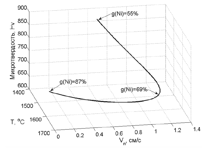
С помощью сопоставления результатов тепловизионных и микродюрометрических исследований построена диагностическая зависимость, которая по параметрам процесса горения тестового образца позволяет определить свойство материала-продукта и сделать вывод о подготовленности шихты для производства большой партии изделий с заданными свойствами (рис. 9).
Рисунок 9 – Диагностическая траектория микротвердости в эксперименте
При прочих равных условиях непопадание экспериментальной точки тестового образца на данную траекторию говорит об отклонение технологических параметров шихты от заданных и требует дополнительных процедур по ее подготовке.
Заключение и выводы
От ошибки задания параметров исходной шихты у набора образцов зависят погрешность скорости распространения и температуры волны СВС. Кроме того, к погрешностям скорости распространения и температуры волны горения выборки образцов добавляется инструментальная погрешность средств измерения этих макрокинетических параметров. В свою очередь, величина ошибки скорости распространения и температуры волны СВС влияет на погрешность определения свойства продукта с помощью диагностической зависимости типа «параметр – свойство». Если инструментальной погрешностью средств измерения можно пренебречь, то в цепочке «свойства шихты – макрокинетические параметры СВС – свойства продукта» остается только зависимость погрешности свойств конечного продукта от ошибки задания параметров шихты. Следовательно, выпадение экспериментальной точки тестового образца за пределы доверительной трубки диагностической траектории позволит сделать вывод об отклонении параметров исходной шихты от нормальных значений. В эксперименте показано, что инструментальная погрешность метода ХТА равна 0.1 %. Эта величина значительно меньше ошибки задания параметров шихты в лабораторных условиях (~3.2 %). Его использование делает сечение доверительной трубки диагностической траектории значительно меньше, чем у метода фоторегистрограмм [1], что способствует большей чувствительности средства экспресс-диагностики.
Диагностические траектории можно построить относительно свойств исходных порошков и начальных условий синтеза. Тогда по семейству диагностических траекторий на основе результатов пирометрических исследований тестового образца можно попытаться компенсировать недостатки шихты коррекцией начальных условий синтеза.
作者简介
Alexey Dolmatov
Yugra State University
编辑信件的主要联系方式.
Email: adolmatov@bk.ru
Candidate of Technical Sciences, Associate Professor, Department of Information Technology
俄罗斯联邦, Khanty-MansiyskPavel Gulyaev
Yugra State University
Email: Gulyaev1954@mail.ru
Doctor of Technical Sciences, Professor, Polytechnic School
俄罗斯联邦, Khanty-Mansiysk参考
- Мержанов, А. Г. Твердопламенное горение / А. Г. Мержанов, А. С. Мукасьян. – М. : Торус Пресс, 2007. – Текст : непосредственный.
- Левашов, Е. А. Физико-химические и технологические основы самораспространяюще-гося высокотемпературного синтеза / Е.. Левшов, А. С. Рогачев, В. И. Юхвид, И. П. Боровинская. – М. : Бином, 1999. – Текст : непосредственный.
- Varma, A. Combustion synthesis of advances materials: Principles and applications, in Advances in chemical engineering / A. Varma, A. S. Rogachev, A. S. Mukasyan, S. Hwang ; J. Wei (Ed.). – New York : Academic Press, 1998. – V.24. – P. 79–226.
- Зенин, А. А. Исследование структуры тепловой волны в СВС процессах (на примере синтеза боридов) / А. А. Зенин, А. Г. Мержанов, Г. А. Нерсисян. – Текст : непосредственный // Физика горения и взрыва. – 1981. – Т. 16, № 1. – С. 79–90.
- Рогачев, А. С. Горение для синтеза материалов: введение в структурную макрокинетику / А. С. Рогачев, А. С. Мукасьян. – М. : ФИЗМАТЛИТ, 2013. – 400 с. – Текст : непосредственный.
- Рогачев, А. С. Экспериментальная проверка дискретных моделей горения микрогетерогенных составов, образующих конденсированные продукты сгорания (обзор) / А. С. Рогачев, А. С. Мукасьян. – Текст : непосредственный // Физика горения и взрыва. – 2015. – Т. 51, № 1. – С. 66–76.
- Кочетов, Н. А. Зависимость скорости горения от размера образца в системе Ni + Al / Н. А. Кочетов, Б. С. Сеплярский. – Текст : непосредственный // Физика горения и взрыва. – 2014. – Т. 50, № 4. – С. 29–35.
- Долматов, А. В. Виртуальная тепловизионная система с микросекундным периодом регистрации / А. В. Долматов, А. О. Маковеев, К. А. Ермаков, В. В. Лавриков. – Текст : непосредственный // Ползуновский альманах. – 2012. – № 2. – С. 31–36.
- Долматов, А. В. Комплекс автоматизированной калибровки тепловизионной системы на базе MATLAB / А. В. Долматов, К. А. Ермаков, В. В. Лавриков, А. О. Маковеев. – Текст : непосредственный // Вестник Югорского государственного университета. – 2012. – № 2 (25). – С. 59–63.
- Гарколь, Д. А. Новая методика высокоскоростной яркостной пирометрии для исследования процессов СВС / Д. А. Гарколь, П. Ю. Гуляев, В. В. Евстигнеев, А, Б. Мухачев. – Текст : непосредственный // Физика горения и взрыва. – 1994. – Т. 30, № 1. – С. 72–77.
- Anselmi-Tamburini, U. Use of two-color array pyrometry for characterization of combustion synthesis waves / U. Anselmi-Tamburini, F. Maglia, G. Spinolo, Z. A. Munir // J. of Materials Research. – 2000. – V. 15, № 2. – P. 572–580.
- Gulyaev, I. P. Spectral-brightness pyrometry: radiometric measurements of non-uniform temperature distributions / I. P. Gulyaev, A. V. Dolmatov // International Journal of Heat and Mass Transfer. – 2018. – Т. 116. – P. 1016–1025.
- Dolmatov, A. V. Chronotopographic analysis of the fire focus dynamics in the SHS wave / A. V. Dolmatov, P. Yu. Gulyaev, I. V. Milyukova // Journal of Physics: Conference Series. – 2018. – P. 042024.
补充文件











