Development of a One-Dimensional Counting Detector for Diffraction Experiments at a Synchrotron Radiation Beam
- Authors: Aulchenko V.M.1, Glushak A.A.1,2,3,4,5, Zhulanov V.V.1,2, Titov V.M.1, Shekhtman L.1,2,4
-
Affiliations:
- Budker Institute of Nuclear Physics SB RAS
- Novosibirsk State University
- Synchrotron Radiation Facility SKIF, Boreskov Institute of Catalysis SB RAS
- Tomsk State University
- Novosibirsk State Technical University
- Issue: No 8 (2023)
- Pages: 52-57
- Section: Articles
- URL: https://bakhtiniada.ru/1028-0960/article/view/137797
- DOI: https://doi.org/10.31857/S1028096023080034
- EDN: https://elibrary.ru/OBKFXJ
- ID: 137797
Cite item
Full Text
Abstract
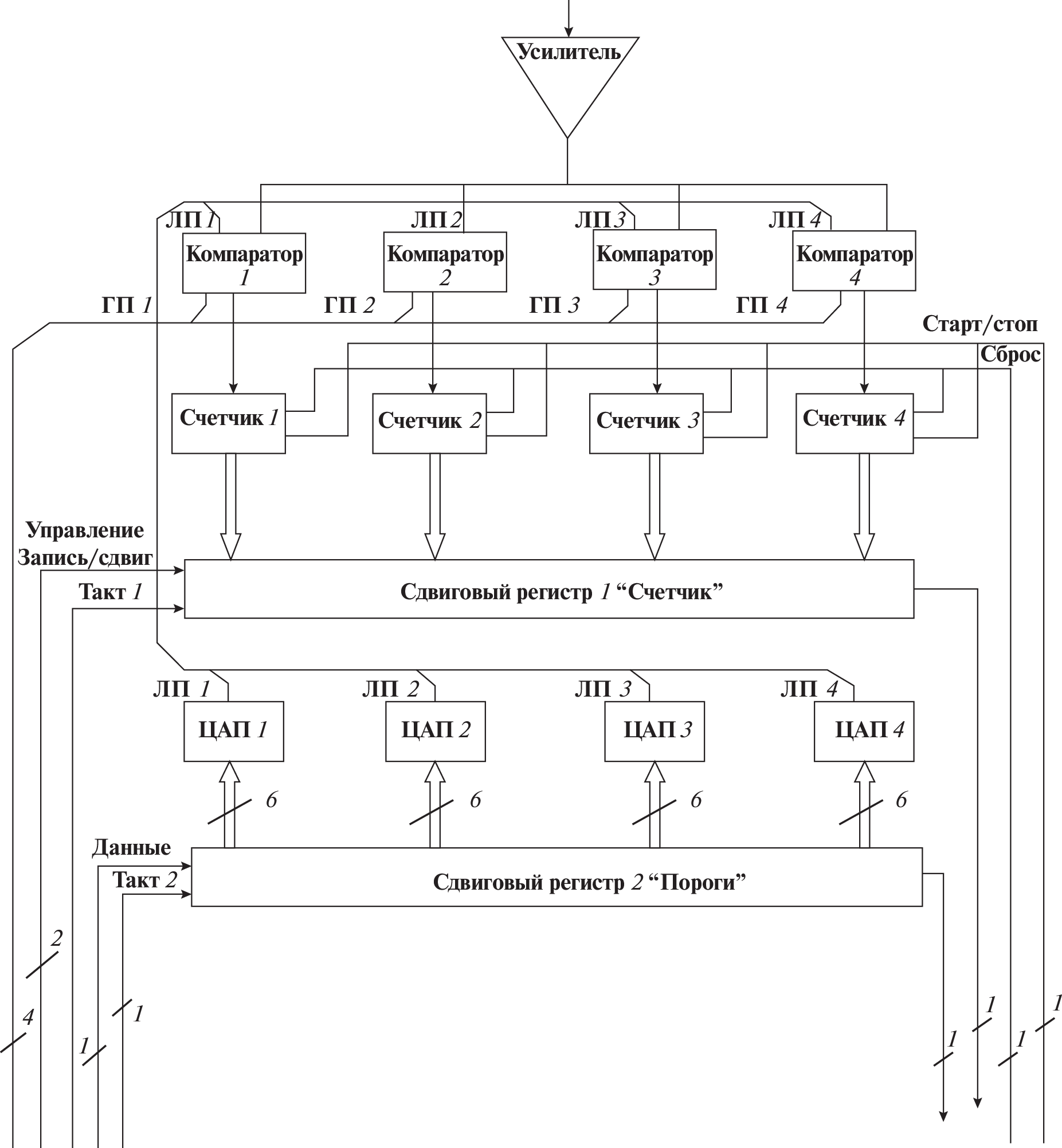
The article describes a one-coordinate detector for diffraction experiments on a synchrotron radiation beam. The detector is being developed at the Budker Institute of Nuclear Physics SB RAS. Until recently the Institute was developing gas one-coordinate detectors, in particular a one-coordinate detector with calculated channels OD-3M, based on the technology of multi-wire proportional cameras. To provide a spatial resolution of better than 100 microns at photon energy in a wide energy range (3–30 keV), it is necessary to use solid-state microstrip or matrix sensors in combination with specialized integrated registration circuits. The developed SOCOD detector, using a microstrip sensor based on gallium arsenide as a recording element, operates in the mode of direct counting of photons with an energy of more than 3–4 keV and a speed of up to 1 MHz/channel. The article gives a general description of the current version of the detector, the block diagram of the recording channel, the software that allows users to control the operation of the detector and display the results obtained, and the developed algorithm for leveling the trigger thresholds in the channels. The results of electronic tests, the work of the alignment algorithm and their discussion are presented.
About the authors
V. M. Aulchenko
Budker Institute of Nuclear Physics SB RAS
Email: A.A.Glushak@inp.nsk.su
Russia, 630090, Novosibirsk
A. A. Glushak
Budker Institute of Nuclear Physics SB RAS; Novosibirsk State University; Synchrotron Radiation Facility SKIF, Boreskov Institute of Catalysis SB RAS; Tomsk State University; Novosibirsk State Technical University
Author for correspondence.
Email: A.A.Glushak@inp.nsk.su
Russia, 630090, Novosibirsk; Russia, 630090, Novosibirsk; Russia, 630090, Novosibirsk; Russia, 634050, Tomsk; Russia, 630073, Novosibirsk
V. V. Zhulanov
Budker Institute of Nuclear Physics SB RAS; Novosibirsk State University
Email: A.A.Glushak@inp.nsk.su
Russia, 630090, Novosibirsk; Russia, 630090, Novosibirsk
V. M. Titov
Budker Institute of Nuclear Physics SB RAS
Email: A.A.Glushak@inp.nsk.su
Russia, 630090, Novosibirsk
L.I. Shekhtman
Budker Institute of Nuclear Physics SB RAS; Novosibirsk State University; Tomsk State University
Email: A.A.Glushak@inp.nsk.su
Russia, 630090, Novosibirsk; Russia, 630090, Novosibirsk; Russia, 634050, Tomsk
References
- Schmitt B. et al. // Nucl. Instrum. Methods Phys. Res. A. 2003. V. 501. P.267. https://doi.org/10.1016/S0168-9002(02)02045-4
- Bergamaschi A. et al. // J. Synchrotron Rad. 2010. V. 17. P. 653. https://doi.org/10.1107/S0909049510026051
- Heijne E.H.M. // Radiation Measurements. 2021. V. 140. P. 106436. https://doi.org/10.1016/j.radmeas.2020.106436
- Mozzanica A., Bergamaschi A., Dinapoli R. et al. // Nucl. Instrum. Methods Phys. Res. A. 2009. V. 607. P. 250. https://doi.org/10.1016/j.nima.2009.03.166
- Aulchenko V.M., Zhulanov V.V., Kulipanov G.N. et al. // Physics-Uspekhi. 2018. V. 61. № 6. P. 515. https://doi.org/10.3367/UFNe.2018.01.038339
- Pruuel E.R., Ten K.A., Tolochko B.P. et al. // Technical Phys. 2013. V. 58. № 1. P. 24. https://doi.org/10.1134/S1028335813010035
- Titov V.M., Pruuel E.R., Ten K.A. et al. // Combustion, Explosion and Shock Waves. 2011. V. 47. № 6. P. 615. https://doi.org/10.1134/S0010508211060013
- Aulchenko V., Ponomarev S., Shekhtman L. et al. // Nucl. Instrum. Methods. Phys. Res. A. 2003. V. 513. P. 388. https://doi.org/10.1016/j.nima.2003.08.067
- Aulchenko V., Zhulanov V., Shekhtman L. et al. // Nucl. Instrum. Methods. Phys. Res. A. 2005. V. 543. P. 350. https://doi.org/10.1016/j.nima.2005.01.254
- Aulchenko V.M., Evdokov O.V., Shekhtman L.I. et al. // J. Instrumentation. 2008. V. 3. P. 05005. https://doi.org/10.1088/1748-0221/3/05/P05005
- Aulchenko V.M., Evdokov O.V., Shekhtman L.I. et al. // Nucl. Instrum. Methods. Phys. Res. A. 2009. V. 603. P. 73. https://doi.org/10.1016/j.nima.2008.12.163
- Aulchenko V.M., Baru S.E., Evdokov O.V. et al. // Nucl. Instrum. Methods. Phys. Res. A. 2010. V. 623. P. 600. https://doi.org/10.1016/j.nima.2010.03.083
- Shekhtman L.I., Aulchenko V.M., Kudryavtsev V.N. et al. // Phys. Procedia. 2016. V. 84. P. 189. https://doi.org/10.1016/j.phpro.2016.11.033
- Aulchenko V., Pruuel E., Shekhtman L., et al. // Nucl. Instrum. Methods Phys. Res. A. 2017. V. 845. P. 169. https://doi.org/10.1016/j.nima.2016.05.096
- Shekhtman L.I., Aulchenko V.M., Zhulanov V.V. et al. // Bulletin of the RAS: Phys. 2019. V. 83. № 2. P. 220. https://doi.org/10.3103/S1062873819020254
- Aulchenko V.M., Bukin M.A., Velikzhanin Yu.S. et al. // Nucl. Instrum. Methods Phys. Res. A. 1998. V. 405. P. 269. https://doi.org/10.1016/S0168-9002(97)00169-1
- Aulchenko V.M., Evdokov O.V., Kutovenko V.D. et al. // Nucl. Instrum. Methods. Phys. Res. A. 2009. V. 603. P. 76. https://doi.org/10.1016/j.nima.2008.12.164
- Aulchenko V.M., Baru S.E., Sidorov V.A. et al. // Nucl. Instrum. Methods Phys. Res. 1983. V. 208. Iss. 1–3. P. 443. https://doi.org/10.1016/0167-5087(83)91166-3
Supplementary files







