3He Refrigerator Based on Closed Cycle Cryocooler Cooling
- Authors: Chernikov A.N.1
-
Affiliations:
- Joint Institute for Nuclear Research
- Issue: No 4 (2023)
- Pages: 77-82
- Section: Articles
- URL: https://bakhtiniada.ru/1028-0960/article/view/137742
- DOI: https://doi.org/10.31857/S1028096023040040
- EDN: https://elibrary.ru/KBSFHP
- ID: 137742
Cite item
Full Text
Abstract
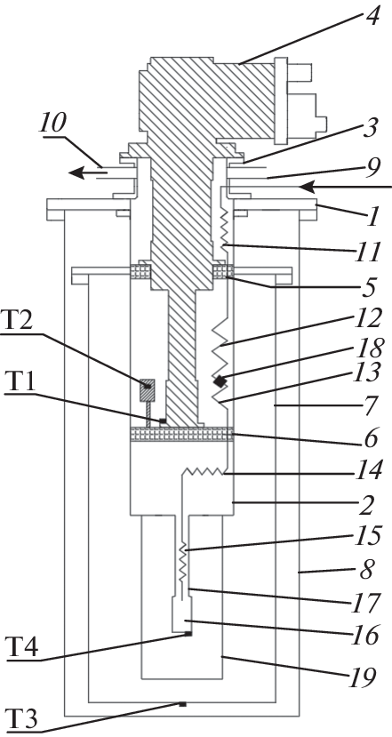
In the Laboratory of Neutron Physics of the Joint Institute for Nuclear Research, work is underway to create gaseous neutron detectors. To prepare a working mixture of gases, it is necessary to use pure 3He, which is obtained by freezing impurities. The 3He refrigerator was created for this purpose. The refrigerator can also be used to obtain low temperatures in a physics experiment. In this work, the operating modes of the refrigerator are studied. In the continuous mode of 3He circulation, a temperature of 0.78 K was obtained. When 3He vapor is pumped out by an external pump in a single cooling mode, a temperature of 0.52 K is reached. We also study relaxation modes in which, with pre-condensed 3He, the volume of the container plays the role of a pump. A regime is presented in which the temperature of the evaporator relaxes from 1 to 1.5 K within 11 days.
About the authors
A. N. Chernikov
Joint Institute for Nuclear Research
Author for correspondence.
Email: chern@nf.jinr.ru
Russia, 141980, Moscow region, Dubna
References
- Белушкин А.В., Богдзель А.А., Журавлев В.В. и др. // Физика твердого тела. 2010. Т. 52. № 5. С. 961. (Belushkin A.V., Bogdzel’ A.A., Zhuravlev V.V. et al. Phys. Solid State. 2010. V. 52. Р. 1025)https://doi.org/10.1134/S1063783410050306
- Белушкин А.В., Богздель А.А., Буздавин А.П. и др. // Письма в ЭЧАЯ. 2013. Т. 10. № 5. С. 713. (Belushkin A.V., Bogdzel’ A.A., Buzdavin A.P. et al. Phys. Particles Nucl. Lett. 2013. V. 10. Р. 436).https://doi.org/10.1134/S154747711305004X
- Churakov A.V., Belushkin A.V., Bogdzel A.A. et al. // J. Phys. Conf. Ser. 2018. V. 1021. № 1. P. 012021. https://doi.org/10.1088/1742-6596/1021/1/012021
- Черников А.Н., Буздавин А.П., Журавлев В.В., Чол Р.К., Глазков В.П. // Поверхность. Рентген., синхротр. и нейтрон. исслед. 2010. № 11. С. 29. (Chernikov A.N., Buzdavin A.P., Zhuravlev V.V., Ryom Gwang Chol, Glazkov V.P. J. Surf. Invest.: X-ray, Synchrotron Neutron Tech. 2010. V. 4. Р. 898).https://doi.org/10.1134/S1027451010060042
- Chernikov A.N., Buzdavin A.P. // Phys. Part. Nucl. Lett. 2019. V. 16. P. 112. https://doi.org/10.1134/S1547477119020031
- Chernikov A.N., Dobrin I., Kovalenko N., Kulikov S.A., Culicov O., Popovichi I., Enache D., Dobrin A. // J. Phys. Conf. Ser. 2018. V. 1021 № 1. P. 012048 https://doi.org/10.1088/1742-6596/1021/1/012048
- Черников А.Н., Трофимов В.Н. // Приборы и техника эксперимента. 2003. Т. 46. № 4. С. 157. (Trofimov V.N., Chernikov A.N. Instruments and Experimental Techniques. 2003. V.46. № 4. С. 576).https://doi.org/10.1023/A:1025119107332
- Vystavkin A.N., Shitov S.V., Bankov S.E. et al. // Radiophys. Quantum Electronics. 2007. V. 50. № 10. P. 852. https://doi.org/10.1007/s11141-007-0077-x
- Черников А.Н., Трофимов В.Н. // Поверхность. Рентген., синхротр. и нейтрон. исслед. 2014. № 9. С. 108. (Chernikov A.N., Trofimov V.N. // J. Surf. Invest.: X-ray, Synchrotron Neutron Tech. 2014. V. 8. Р. 956).https://doi.org/10.1134/S1027451014040028
- Лоунасмаа О.В. Принципы и методы получения температур ниже 1 К. М.: Мир, 1977. 356 с. (Lounasmaa O.V. Experimental Principles and Methods Below 1 K, Academic Press, London. 1974),
- Патент № 62 691 (РФ). Система охлаждения сканирующего сверхвысоковакуумного туннельного микроскопа / ОИЯИ. Трофимов В.Н., Черников А.Н., Зайцев-Зотов С.В. // Приоритет от 12.06.2006.
- Трофимов В.Н., Черников А.Н., Зайцев-Зотов С.В., Дюжиков И.Н., Шевлюга В.М., Ельцов К.Н. // Приборы и техника эксперимента. 2007. Т. 50. № 6. С. 128. (Trofimov V.N., Chernikov A.N., Zaitsev-Zotov S.V., Dyuzhikov I.N., Shevlyuga V.M., Eltsov K.N. // Instruments and Experimental Techniques. 2007. V. 50. № 6. С. 838).https://doi.org/10.1134/S002044120706022X
Supplementary files










