Structural Model of Spatially and Plane Reinforced Medium from Rigid-Plastic Anisotropic Materials with Different Yield Limits under Tension and Compression
- Authors: Yankovsky A.P.1
-
Affiliations:
- Khristianovich Institute of Theoretical and Applied Mechanics SB RAS
- Issue: No 1 (2024)
- Pages: 133-157
- Section: Articles
- URL: https://bakhtiniada.ru/1026-3519/article/view/262644
- DOI: https://doi.org/10.31857/S1026351924010072
- EDN: https://elibrary.ru/WAHGZQ
- ID: 262644
Cite item
Full Text
Abstract
Structural models for three-dimensional fiber-reinforced hybrid composite media and for particular two-dimensional problems have been developed. Using these models, one can calculate the surfaces and yield curves of the composition. The three-dimensional stress state in all components is taken into account. The materials of the composition components are homogeneous and anisotropic, their mechanical behavior is described by the associated flow law for a rigid-plastic body with general quadratic yield conditions. Components have different resistance to tension and compression. To perform constructions, stresses in components are presented in parametric form. The yield curves are calculated for a model in-plane reinforced composition of orthotropic phase materials. The influence of the direction of reinforcement, transverse normal stress and anisotropy parameters of the composition components on the shape and dimensions of the yield curves of the composite material under consideration has been studied. It has been shown that the anisotropy of the binder has a greater effect on the shape and dimensions of the yield surface of the composition than the anisotropy of the reinforcing fibers. It has been demonstrated that plastic flow in a reinforced medium is associated with the calculated yield curves (surfaces) of the composition. It is shown that in the presence of strongly pronounced anisotropy in the reinforcement, a structural model with a one-dimensional stress state in the fibers does not allow adequate calculation of the yield curves and surfaces of the composite medium.
Keywords
Full Text
- Введение. В современной инженерной практике активно используются композитные материалы (КМ) с пространственными структурами армирования [1–3] (рис. 1). Такой тип армирования позволяет устранить основной недостаток плоско-перекрестно армированных композитов со слабым связующим (угле-, боро- и стеклопластики) – их расслоение в силу слабого сопротивления поперечному сдвигу и отрыву [1, 3]. Поэтому проблема моделирования механического поведения пространственно-армированных КМ актуальна.
Волокнистые композиции с жестким связующим (металлокомпозиты, КМ с керамическим связующим) успешно сопротивляются поперечному сдвигу и отрыву. Следовательно, при использовании таких композиций тонкостенные конструкции типа пластин и оболочек целесообразно армировать традиционным плоско-перекрестным способом, так как такие структуры технологически реализуются проще, чем пространственные.
Современные КМ-изделия могут находиться под действием высокоинтенсивных нагрузок [1, 4, 5], при которых компоненты композиции деформируются пластически. Поэтому проблема изучения пластического деформирования КМ также является актуальной. Однако исследования, посвященные математическому моделированию этой проблемы, немногочисленны [4–10].
При проведении расчетов, связанных с теоретическим исследованием несущей способности КМ-изделий, предварительно необходимо определить поверхность текучести соответствующей композиции. Краткий обзор публикаций по этой проблеме, не претендующий на полноту, приведен в [11–13]. Из этого обзора следует, что до настоящего времени механическое поведение пространственно-армированных КМ в основном моделировалось при учете линейно-упругого деформирования компонентов композиции. Жесткопластическое поведение плоско-перекрестно армированных тонкостенных КМ-конструкций теоретически исследовалось на базе структурной модели с одномерным напряженным состоянием в волокнах (МОНСВ) [14–16], при этом в арматуре учитывается только продольное нормальное напряжение. Структурные модели, разработанные в [14–16], и кривые текучести (прочности), рассчитанные на их основе, до сих пор активно используются для теоретического определения предельных состояний волокнистых пластин и оболочек [17–19].
В работах [11, 12] впервые были разработаны структурные модели жесткопластического деформирования плоско-перекрестно армированных слоев при учете плоского напряженного состояния (ПНС) во всех компонентах композиции, а в [13] – аналогичная модель для пространственно армированного КМ при учете трехмерного (сложного) напряженного состояния во всех материалах композиции. В [11–13] учитывалось возможное разное сопротивление компонентов композиции при растяжении и сжатии, но материалы этих компонентов предполагались изотропными. Однако анализ справочных данных показывает, что армирующие волокна часто имеют разные физико-механические характеристики в продольном и поперечном направлениях, например волокна кевлар-49 [20]. Кроме того, сами армирующие волокна могут представлять собой КМ. Так, волокна бора получают осаждением паров бора на вольфрамовые или углеродные нити [20]. Следовательно, волокна бора также должны обладать анизотропией. С другой стороны, при изготовлении металлических проволок [21] используют технологию волочения, что связано с их предварительным пластическим деформированием и, согласно эффекту Баушингера, приводит к разносопротивляемости таких волокон при их растяжении и сжатии, а также возникновению текстуры в материале арматуры, которая порождает анизотропию физико-механических свойств [22–24]. Аналогично, деформационная анизотропия связующего материала и его разносопротивляемость при растяжении и сжатии могут возникнуть в процессе технологической вытяжки, например, криволинейной КМ-панели из КМ-пластины в условиях ползучести [22] или пластической штамповки [25, 26]. Следовательно, актуальна проблема математического моделирования пластического деформирования КМ из анизотропных компонентов композиции, которые по разному сопротивляются растяжению и сжатию [27–34].
Так как в рамках МОНСВ не учитываются нормальные и касательные напряжения в поперечном направлении волокон, то, используя эту структурную модель, вообще нельзя учесть анизотропию в арматуре. Поэтому для адекватного математического моделирования жесткопластического деформирования перекрестно армированных КМ из анизотропных компонентов композиции необходимо учитывать трехмерное напряженное состояние в них.
Настоящая работа посвящена разработке структурной модели, позволяющей рассчитывать поверхность текучести КМ при произвольном пространственном (см. рис. 1) или плоско-перекрестном армировании. Компоненты композиции предполагаются анизотропными жесткопластическими материалами, имеющими разные пределы текучести при растяжении и сжатии. В них учитывается трехмерное напряженное состояние, а пластическое течение описывается квадратичными критериями текучести общего вида.
Рис. 1. Пространственные волокнистые структуры армирования [1]: (a) – ортогональное армирование в трех направлениях; (b) – армирование в пяти направлениях.
- Формулировка задачи и основные предположения. В глобальной декартовой прямоугольной системе координат рассмотрим КМ регулярной структуры, пространственно армированный K (K = 1,2,3,...) семействами непрерывных прямолинейных волокон с произвольной формой поперечного сечения. На рис. 1,а изображен случай (ортогональное армирование в трех направлениях), а на рис. 1,b изображен случай . В общем случае волокна разных семейств изготовлены из разных материалов. Такие КМ принято называть гибридными композитами.
Пусть – относительное объемное содержание материала k-го компонента композиции в представительном элементе КМ (). Индекс соответствует связующей матрице, – волокнам k-го семейства. Для справедливо
. (2.1)
С каждым k-м семейством волокон свяжем локальную ортогональную систему координат так, чтобы ось совпадала с направлением армирования, а оси и были перпендикулярны этому направлению. Направление армирования волокнами k-го семейства задано углами сферической системы координат: и (рис. 2). В глобальной системе направляющие косинусы оси () равны
(2.2)
Рис. 2. Локальная система координат, связанная с волокном k-го семейства: (a) – пространственное армирование, (b) – армирование в плоскости ().
Здесь и далее чертой сверху обозначены величины, определенные в глобальной системе .
Для связующего материала () также формально введем свою локальную систему координат , которую для удобства примем совпадающей с глобальной системой , поэтому по аналогии с (2.2) при формальном задании и получаем
, (2.3)
где – символ Кронекера.
Рассчитать реальное распределение напряжений в КМ, в котором связующее имеет многочисленные цилиндрические включения, – сложная задача даже в случае однонаправленно армированной линейно-упругой среды [35–37]. Еще труднее это сделать в рассматриваемом случае жесткопластического деформирования материалов компонентов композиции при произвольном перекрестном пространственном армировании среды (см. рис. 1). Построение удобной для инженерных приложений структурной модели жесткопластического поведения КМ выполним на основе исходных предположений, аналогичных принятым ранее [11–13, 37].
На макроуровне армированный материал является сплошным однородным анизотропным телом. При достаточно густом и равномерном наполнении связующей матрицы тонкими армирующими волокнами такое допущение вполне возможно. К этому выводу приходят все исследователи, изучающие механические свойства дисперсно-армированных сред [1, 3, 35–38].
Между арматурой и связующим материалом реализуется идеальный механический контакт (идеальная адгезия).
В пределах представительного элемента, выделенного из КМ на миниуровне, напряжения и скорости деформаций во всех компонентах и в композиции являются кусочно-постоянными. Эффекты высших порядков, связанные с изменением полей напряжений и скоростей деформаций на микроуровне в малых окрестностях границ контакта волокон и связующего, не учитываются. Подробное обоснование допустимости принятия этой гипотезы дано в конце работы [39].
Усредненные поля напряжений и скоростей деформаций в композиции получены усреднением по объему представительного элемента [35, 36], т. е. в силу допущения 3 – пропорционально величинам (0 ≤ k ≤ K).
Материалы компонентов композиции однородны и анизотропны, а их механическое поведение определяется ассоциированным законом течения для жесткопластического тела с квадратичным критерием текучести общего вида [37, 40, 41]:
, (2.4)
где – функция текучести (пластичности); – напряжения в k-м компоненте композиции; , – известные константы этого материала, заданные в системе координат (), причем выполняются условия симметрии
. (2.5)
В формуле (2.4) и далее по повторяющимся греческим индексам производится суммирование от 1 до 3.
В силу выполнения равенств (2.3) в выражении (2.4) при можно сделать формальные замены: , и (). Согласно постулату Друккера [41, 42], коэффициенты и в соотношении (2.4) должны удовлетворять условию положительной определенности квадратичной формы () .
Если в (2.4) (), то условие текучести (2.4) редуцируется в критерий текучести Хилла [40]. При этом материал k-го компонента композиции одинаково сопротивляется растяжению и сжатию. Если материал k-го компонента композиции является ортотропным и главные оси анизотропии совпадают с осями , то выражение (2.4) при учете соотношений (2.5) принимает вид:
. (2.6)
Пусть , и – известные из эксперимента пределы текучести k-го ортотропного материала композиции при растяжении (+) и сжатии (–) в направлении осей () и при чистом сдвиге в плоскости (, ); – известные значения предельных главных напряжений и (их направления совпадают с направлениями осей и ), приводящих к пластическому течению при чистом сдвиге, когда оси локальной системы координат и повернуты вокруг оси на угол , т. е.
. (2.7)
Тогда коэффициенты в соотношении (2.6) при учете (2.5), (2.7) выражаются так [37]:
. (2.8)
Если материал k-го компонента композиции одинаково сопротивляется растяжению и сжатию (), то согласно (2.8) получаем и соотношение (2.6) редуцируется в критерий текучести Хилла для ортотропного материала. Если материал k-го компонента композиции является изотропным, но по разному сопротивляется растяжению и сжатию (, , ), то для него имеем , В этом случае условие текучести (2.6) при учете (2.7) и (2.8) вырождается в критерий текучести Баландина [43]. Если же материал является изотропным и одинаково сопротивляется растяжению и сжатию (), то ( ) и соотношение (2.6) при учете (2.8) редуцируется в условие текучести Мизеса [37, 41, 42].
Согласно предположению 4, для построения поверхности текучести рассматриваемого КМ необходимо во всех компонентах композиции рассмотреть все возможные виды напряженного состояния, удовлетворяющие критерию текучести (2.4) (или (2.6)), и усреднить их значения. Пространство усредненных напряжений является шестимерным, потому что () в силу симметричности тензора напряжений [35, 37, 38, 40–42].
Произвольное напряженное состояние может быть задано тремя главными напряжениями и тремя параметрами (углами Эйлера [44]), определяющими направления главных напряжений. Поэтому рассмотрим локальную декартову прямоугольную систему координат , связанную с главными напряжениями в связующем материале . В системе справедливо
. (2.9)
Здесь и далее “крышечкой” сверху обозначены величины, определенные в системе .
В системе координат или, что то же самое, в глобальной системе (см. (2.3)) направляющие косинусы локальной оси () равны [44]
, (2.10)
где – угол прецессии; – угол нутации; – угол собственного вращения.
Условие текучести (2.4) для связующего материала (k = 0) в системе координат принимает вид:
, (2.11)
где, согласно правилу преобразования компонентов тензоров при повороте системы координат, имеем [37]
. (2.12)
Условие текучести (2.11) при учете равенств (2.9) и (2.12) редуцируется к виду
. (2.13)
- Определение параметрических зависимостей для напряжений связующего материала и арматуры. Рассмотрим главные напряжения в связующем материале () в сферических координатах (рис. 3):
.
Рис. 3. Сферическая система координат в пространстве главных напряжений в связующем материале.
Тогда уравнение поверхности текучести связующего материала можно записать в виде
и для напряжений (), удовлетворяющих этому условию, справедливо параметрическое представление:
(3.1)
Из (2.13) при учете (3.1) получим квадратное уравнение для :
, (3.2)
где
(3.3)
Для реальных материалов точка () находится внутри поверхности текучести [44], поэтому
. (3.4)
Квадратное уравнение (3.2) имеет единственный вещественный корень, удовлетворяющий условию (3.4):
. (3.5)
Зависимость известна из (3.5) при учете (3.3) и (2.12), поэтому из (3.1) известны пятипараметрические зависимости напряжений (), удовлетворяющих критерию текучести для связующего материала (2.13) или, что то же самое, (2.11).
Далее определим параметрические соотношения для напряжений в арматуре.
Переход от локальной системы координат , связанной с направлениями главных напряжений в связующем, к локальной системе , связанной с арматурой k-го семейства (см. рис. 2), можно представить в виде двух действий:
1) переход от осей к осям глобальной системы координат ;
2) переход от осей к осям , , (рис. 2).
Поэтому в системе направляющие косинусы осей равны:
(3.6)
где – компоненты тензора, обратного ортогональному тензору , поэтому ; и определены формулами (2.2) и (2.10).
Из предположений 2, 3 и условий непрерывности напряжений и перемещений на границах контакта арматуры со связующим (т. е. на боковых поверхностях волокон) получим равенства
(3.7)
кроме . (3.8)
Здесь и далее: – скорости деформаций k-го компонента композиции в системе координат (); , – скорости деформаций и напряжения в связующем, определенные в той же системе координат. Равенство (3.7) является следствием одинакового удлинения арматуры и связующего материала в направлении армирования волокнами k-го семейства. Соотношения (3.8) – это условия непрерывности напряжений на боковых поверхностях волокон.
Согласно правилу преобразования компонентов тензоров второго ранга при повороте системы координат [37], равенства (3.8) при учете (2.9) и (3.6) принимают вид:
кроме . (3.9)
Напряжения в арматуре k-го семейства должны удовлетворять условию текучести (2.4) при . Подставляя (3.9) в (2.4), получим квадратное уравнение относительно напряжения :
, (3.10)
где
. (3.11)
Решение уравнения (3.10) имеет вид
, (3.12)
Коэффициенты уравнения (3.10) и его решение (3.12) зависят от пяти углов , , , и , как это следует из равенств (3.1), (3.5), (3.6), (3.9) и (3.11). Таким образом, из (3.9) и (3.12) получаем известные параметрические зависимости
, (3.13)
определенные в локальной системе координат .
Знак “” в соотношениях (3.12) однозначно выбирается из кинематического условия (3.7) (подробности выбора приведены ниже).
- Определение условия текучести для композитной среды, усредненных напряжений и скоростей деформаций. Из ассоциированного закона течения следует, что скорости деформаций k-го компонента композиции, определенные в локальной системе координат , равны [41, 42, 44]
, (4.1)
где – неопределенный множитель, – функция текучести k-го компонента композиции.
Из формул (2.4) и (4.1) получим
. (4.2)
Из соотношений, аналогичных (4.1), при учете равенств (2.9), (2.11) и (2.13) вытекает
. (4.3)
Выражения (4.3) записаны для связующего материала в системе координат , связанной с главными напряжениями ().
Из равенств (3.7) при учете выражений (4.1) следует
, (4.4)
где по аналогии с (3.9) имеем
. (4.5)
При активном нагружении k-го компонента композиции (), поэтому из (4.4) следует
. (4.6)
Знак “” в выражении (3.12) выбирается таким, чтобы выполнялось равенство (4.6) при учете (4.2), (4.3) и (4.5).
Из равенств (4.4) следует
. (4.7)
Согласно допущению 4, усредненные скорости деформаций и напряжения в композиции в системе координат определяются так:
(4.8)
, (4.9)
где по аналогии с (3.6), учитывая, что тензор является ортогональным, а значит обратный к нему тензор совпадает с транспонированным тензором , имеем
. (4.10)
Подставляя выражения, аналогичные (4.1), в (4.10) и учитывая (4.7), из (4.8) получим
, (4.11)
где
. (4.12)
Соотношения (4.11) и (4.9) при учете (4.5), (4.10) и (4.12), а также (4.2), (4.3), (3.13), (3.6), (2.9), (2.10), (2.12), (3.1), (3.3) и (3.5) задают пятипараметрическое (от углов , , , и ) представление компонентов тензора усредненных скоростей деформаций и напряжений в рассматриваемой композиции. Соотношения (4.9) и (4.11) получены в локальной системе координат . Для вычисления компонент тензоров усредненных скоростей деформаций и напряжений в композиции в глобальной системе (см. рис. 2) следует применить формулы пересчета компонентов тензора при повороте системы координат [37]:
(4.13)
, (4.14)
где учтены выражения (4.12) и (4.9); – направляющие косинусы (2.10).
Соотношения (4.14) при учете (2.10), (4.9), (4.10), (3.13) и (3.6) задают пятипараметрическое (от углов , , , и ) представление гиперповерхности текучести пространственно армированного КМ в шестимерном пространстве усредненных напряжений (), определенных в глобальной системе координат . Равенства (4.13) определяют зависимости усредненных скоростей деформаций композиции от этих же пяти угловых параметров , , , и .
- Плоско-перекрестное армирование жесткопластического КМ. Тонкостенные КМ-конструкции типа пластин и оболочек, как правило, перекрестно армируются по поверхностям, эквидистантным срединной поверхности (плоскости) [1, 3–5, 14–21, 35–39]. В этом случае направления осей и совпадают, а локальная система координат связана с волокном k-го семейства так, как показано на рис. 2,b, где изображен случай при (см. рис. 2,a)
. (5.1)
В системе направляющие косинусы осей () определяются из (2.2) при учете (5.1). При рассматриваемом армировании справедливы соотношения (3.7) и (3.8). Напряжения в k-м компоненте композиции при переходе от глобальной системы координат к локальной системе определяются по формулам, аналогичным (3.9):
. (5.2)
Используя равенства (3.8) при , учитывая при этом (2.1), (2.2), (5.1), (5.2) и аналог (3.9)
кроме
и повторяя рассуждения из [13] (см. там соотношения (5.2)–(5.5)), получим
. (5.3)
Известно, что в тонкостенных элементах КМ-конструкций, как правило, реализуется обобщенное ПНС или близкое к нему. Поэтому далее будем предполагать, что ось (см. рис. 2,b) совпадает с одним из направлений главных напряжений в композиции, т. е.
. (5.4)
Пусть – некоторое заданное значение нормального напряжения (при получаем случай ПНС). Также считаем
. (5.5)
Из равенств (5.3) при учете (5.4) и (5.5) имеем
(5.6)
. (5.7)
Из соотношений (5.6) следует, что в рамках используемых допущений при плоско-перекрестном армировании КМ в случае выполнения условий (5.4) ось также совпадает с – одним из направлений главных напряжений в k-м компоненте композиции, в котором нормальное напряжение известно в силу выполнения равенств (5.7).
Соотношения (5.6) справедливы и для связующего (при k =0). Поэтому локальная система координат , связанная с направлениями главных напряжений в связующем, получается из глобальной системы поворотом ее на некоторый угол, обозначенный как , вокруг оси . Тогда направляющие косинусы локальной оси () определяются по формулам (2.10), в которых следует принять и учесть, что .
Если напряжение (ПНС), то из третьего равенства (3.1) при учете (2.9), (3.4) и (5.7) () получим (см. рис. 3)
. (5.8)
Далее решение рассматриваемой задачи строится так же, как и в предыдущем разделе 4, но при учете (5.8). Следовательно, при ПНС в трехмерном пространстве ненулевых напряжений , и (см. (5.4) и (5.5) при ) получим двухпараметрическое (от углов и ) представление поверхности текучести для плоско-перекрестно армированной композитной среды. При этом в случае общей анизотропии хотя бы одного из компонентов композиции даже при ПНС тензор усредненных скоростей деформаций композиции будет иметь ненулевыми все компоненты (, ), что следует из (4.13), (4.11), (4.8), (4.2) и (4.3) даже при выполнении равенств (5.4) и (5.5), где .
Если , то , а из третьего равенства (3.1) при учете (2.9), (3.4), (5.7) и следует
. (5.9)
Из (5.9) и двух первых равенств (3.1) имеем
. (5.10)
Подставим (5.10) в условие текучести (2.13) и учтем соотношения (5.7), где . Тогда для получим квадратное уравнение:
(5.11)
(5.12)
Уравнение (5.11) при учете (5.12) имеет решение:
. (5.13)
В силу (3.4) из (5.9) следует
. (5.14)
Знак “±” в (5.13) выбирается из условия выполнения равенства (5.14).
Из (5.10) и (5.13) получим
. (5.15)
Далее решение рассматриваемой задачи строится так же, как и в предыдущем разделе 4, но при учете соотношений (5.15).
Таким образом, при заданном значении в трехмерном пространстве ненулевых напряжений (см. (5.4)) имеем двухпараметрическое (от углов и ) представление поверхности текучести плоско-перекрестно армированной композиции. Отметим, что разным значениям соответствуют разные трехмерные поверхности текучести. Если материалы компонентов композиции одинаково сопротивляются растяжению и сжатию, т. е. , , (см. (2.4)), то при (ПНС) получим решение, которое совпадает с построенным в [45]. Величина определяется из граничных условий задач для конкретных элементов конструкций.
- Численные примеры в случае плоско-перекрестного симметричного армирования. Рассмотрим случай, когда при плоско-перекрестном армировании (см. (5.1)) в КМ уложено четное количество семейств волокон () и для каждого семейства определено парное ему семейство. Волокна парных семейств изготовлены из одного материала, имеют одинаковые плотности армирования () и уложены симметрично относительно оси : , (рис. 4).
Рис. 4. Волокна двух семейств, плоско-симметрично уложенных относительно направлений главных напряжений в композиции при ПНС.
Предполагается, что материалы всех компонентов композиции ортотропны, причем главные оси анизотропии совпадают с осями локальных систем координат , т.е. справедливы выражения (2.6)–(2.8). При этом для каждой пары семейств волокон выполняются равенства: и (
В рассматриваемом случае плоского армирования следует учесть (5.6) и (5.7), из которых вытекают равенства и (), что и необходимо подставить в соотношения (2.6).
Исследуем частный случай нагружения КМ, когда оси совпадают с направлениями главных напряжений тензора усредненных напряжений в композиции, т. е. вместе с (5.4) выполняется равенство . В силу допущения 1, выполнения равенств (2.3) и симметрии структуры армирования относительно осей и (см. рис. 4) эти оси будут совпадать с направлениями главных напряжений в связующем материале. Поэтому каждая ось совпадает с осью (). Это значит, что выполняются не только равенства (5.6) (при ), но и условие . Следовательно, в (2.10). Далее решение задачи строится так же, как и в предыдущем разделе. Но при этом в пространстве главных усредненных напряжений и получится кривая текучести КМ, определяемая параметрически через параметр (см. (3.1), (5.15) и рис. 3). Геометрия этой кривая в общем случае зависит от значения напряжения (см. (5.5)).
Случаи такого армирования и нагружения КМ часто встречаются в практических приложениях, например при осесимметричном деформировании волокнистых кольцевых пластин и круговых оболочек, армированных перекрестно-симметрично относительно радиального или меридионального направлений. Следовательно, построение кривых текучести для таких композиций является актуальной проблемой.
На рис. 5 изображены расчетные кривые текучести для ортотропного связующего материала в пространстве безразмерных напряжений , совпадающих по направлению с осями анизотропии (i = 1,2). При этом в (2.8) принято
, (6.1)
где – некоторые числа (см. ниже). Соотношения значений пределов текучести, указанных в (6.1), ориентировочно соответствуют магниевому сплаву МА2 [44].
Рис. 5. Кривые текучести ортотропного связующего материала, соответствующие разным значениям характеристики пластичности и разным напряжениям обжатия .
Кривая 1 на рис. 5 рассчитана при значении (см. (6.1)), кивая 2 – при а кивая 3 – при Эти кривые соответствуют ПНС (). Кривые 1′, 2′ и 3′ получены при тех же значениях , что и кривые 1, 2 и 3 соответственно, но при обжатии материала в направлении , а именно при . Все кривые на рис. 5 представляют собой эллипсы. Сравнение кривых 1, 2 и 3 или 1′, 2′ и 3′ позволяет проследить за качественным и количественным изменением кривой текучести ортотропного материала, по разному сопротивляющегося растяжению и сжатию, при варьировании значения характеристики пластичности в случаях отсутствия () или наличия () обжатия. Поведение кривых на рис. 5 свидетельствует о том, что как варьирование параметра так и наличие обжатия материала существенно сказываются на форме и размерах кривой текучести в пространстве главных напряжений и .
На рис. 6 и 7 изображены расчетные кривые текучести для композитных сред, состоящих из ортотропного связующего материала с характеристиками пластичности (6.1), армированного двумя (K = 2) семействами волокон с относительными параметрами пластичности:
(6.2)
где , – некоторые числа (см. ниже); имеет тот же смысл, что и в (6.1). Соотношения значений пределов текучести, указанных в (6.2), ориентировочно соответствуют монотропной стальной проволоке [21, 44], главная ось анизотропии в которой совпадает с продольным направлением.
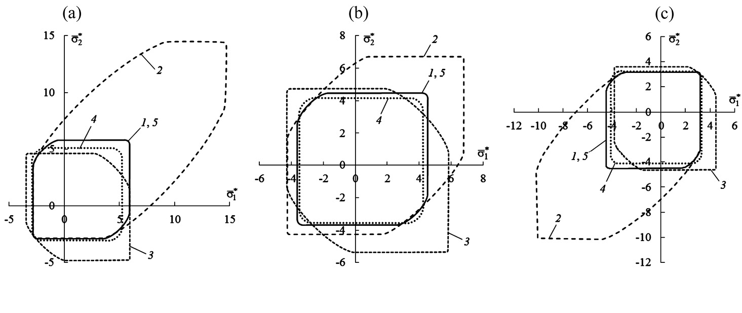
Рис. 6. Кривые текучести при ортогональном армировании вдоль направлений главных напряжений в композиции при (a), (b) и (c).
Рис. 7. Кривые текучести при ортогональном угловом армировании, симметричном относительно направлений главных напряжений в композиции (), и при (a), (b) и (c).
Были рассмотрены два вида армирования композитов с одинаковым расходом арматуры:
- Плоское ортогональное армирование вдоль направлений главных напряжений в композиции: , и (рис. 6).
- Плоско-перекрестное симметричное армирование (см. рис. 4 при k = 1): , (рис. 7).
Структура 2 также является ортогональной и получена из структуры 1 поворотом вокруг оси на угол .
Рис. 6,a и 7,a соответствуют случаям ПНС (); рис. 6,b и 7,b – случаям обжатия композиции в направлении оси (); рис. 6,c и 7,c случаям растяжения композиции в направлении (). Кривые текучести на этих рисунках изображены в безразмерных усредненных напряжениях (i = 1,2).
В работе [13] была разработана структурная модель расчета кривых и поверхностей текучести плоско-перекрестно и пространственно армированных сред, состоящих из изотропных материалов композиции, которые имеют разные пределы текучести при растяжении и сжатии. Одним из критериев текучести таких изотропных материалов является критерий текучести Баландина [12, 13, 43]. Если в соотношениях (6.1) и (6.2) принять (k = 1,2) и предположить, что и (i = 2,3, k = 0,1,2), то получим значения характеристик пластичности компонентов композиции, соответствующие критерию текучести Баландина. Предварительные расчеты, выполненные по формулам настоящего исследования и по формулам работы [13] для таких материалов композиции, привели к полному совпадению кривых текучести (они здесь не изображены) для обеих рассматриваемых структур армирования. Этот результат подтверждает корректность использованных в данном исследовании исходных допущений и разработанного математического аппарата.
Кривые 1 на рис. 6 и 7 получены при параметрах пластичности компонентов композиции (6.1), (6.2) и значениях кривые 2 – при и , кривые 3 – при и , кривые 4 – при и , кривые 5 – при и кривые 6 – при , (рис. 7,a и 7,b) и (рис. 7,c), Кривые 5 на рис. 6 визуально практически не отличаются от кривых 1. Так как на рис. 6 изображены кривые текучести для композиции со структурой армирования 1, в которой направления армирования совпадают с направлениями главных напряжений, то касательные напряжения в арматуре отсутствуют ( , л) . Поэтому кривые 6 на рис. 6 не изображены, так как они полностью совпадают с кривыми 1. (При структуре армирования 1 кривые текучести композиции не зависят от значений параметров пластичности , .)
Сравнение кривых 1–3 на рис. 6 и 7 позволяет проследить за изменением кривых текучести композиций 1 и 2 при варьировании параметра пластичности связующего материала (см. (6.1)). Как видно, это влияние значительно даже при относительно малом изменении величины (от для кривых 1 до для кривых 2). Сопоставление же кривых 1, 4 и 5 демонстрирует влияние аналогичного параметра пластичности арматуры , (см. (6.2)) на форму и размеры кривых текучести композиции. Из рис. 7 видно, что в случае структуры 2, когда в арматуре может иметь место значительное сдвиговое деформирование, влияние этого параметра пластичности на кривую текучести композиции также значительно. Сравнение кривых 1 и 6 на рис. 7 показывает, что влияние параметра пластичности арматуры не столь существенно, как влияние параметра (). Так, заметное различие между кривыми 1 и 6 на рис. 7 наблюдается только при больших значениях ( для кривых 6 на рис. 7,a, 7,b и для кривой 6 на рис. 7,c), т. е. при малых значениях параметров , (см. (6.2)). Объясняется это тем, что существенное влияние параметров пластичности арматуры на форму и размеры кривой (поверхности) текучести композиции может проявляться только тогда, когда эти характеристики арматуры существенно меньше, чем параметры пластичности связующего материала при сдвиге (например, ), т. е. при достаточно малых значениях или, что то же самое, при больших значениях , , (см. (6.2)).
Если в рамках МОНСВ при ПНС () тможно как-то учесть анизотропию связующего материала (учет такой анизотропии при использовании кусочно-линейного условия текучести типа критерия Ху сделан в [46]), то учесть анизотропию арматуры при этом вообще нельзя. Следовательно, при использовании МОНСВ нельзя проследить за изменением кривых текучести композиции, аналогичным изменению кривых 1, 4–6 на рис. 6 и 7.
Кривые текучести с одинаковыми номерами на соответствующих рис. 6,a–c и 7,a–c существенно различаются. Следовательно, поворот направлений армирования на угол вокруг оси приводит к существенному изменению кривых текучести рассматриваемой композиции. Поэтому ортогональные структуры с одинаковыми плотностями армирования в обоих направлениях при жесткопластическом анализе нельзя рассматривать как квазиизотропные структуры. Результаты, полученные ранее в [12, 13], показывают, что этот вывод справедлив и в случаях, когда материалы компонентов композиции изотропны.
Сравнение кривых с одинаковыми номерами рис. 6,a, 6,b и 6,c соответственно или на рис. 7,a,7,b и 7,c соответственно показывает, что кроме структуры армирования (, ) на расчетные кривые текучести композиции значительное влияние оказывает и напряжении , действующее в направлении, ортогональном плоскости армирования рассматриваемых структур. При этом может происходить “вырождение” кривых текучести композиции при определенных значениях . Так, кривые 6 на рис. 7,a () и 7,b () получены при значении . Однако в случае растяжения композиции в направлении оси оказалось, что при (рис. 7,c) кривая текучести композиции при не существует. Более того, расчеты показали, что кривая текучести КМ при таком его нагружении в направлении не существует при В(k) ≥ 284, поэтому на рис. 7,c кривая 6 изображена для случая , а не для ().
Таким образом, для расчета поверхностей и кривых текучести плоско-перекрестно и пространственно армированных сред из анизотропных жесткопластических материалов, имеющих разные пределы текучести при растяжении и сжатии, необходимо использовать структурную теорию, разработанную в настоящем исследовании.
Дополнительно проведенные численные расчеты, выполненные по формулам (57)–(63) из [13], показали, что ассоциированный закон течения (при учете выражений (4.12)–(4.14) данной работы) для всех кривых, изображенных на рис. 6 и 7, выполняется с точностью порядка , где – шаг по параметру в соотношениях (5.15). Такой порядок точности определяется тем, что, как и в [13], для численного дифференцирования по зависимостей и (см. формулы (58) в [13]) использовались конечные разности [47] на трехточечном шаблоне , где () – дискретные значения параметра . Эти результаты позволяют считать, что в рамках разработанной структурной модели КМ ассоциированный закон течения для композиции, вообще говоря, выполняется. А значит, для такой армированной среды, как и для каждого компонента композиции, выполняется постулат Друккера [41, 42, 44]. Что является подтверждением непротиворечивости использованных в настоящем исследовании исходных предпосылок.
Замечание 1. Повторяя рассуждения из раздела 4 в [39], на основе разработанного в настоящем исследовании структурного подхода можно рассчитать поверхности и кривые текучести армированных сред при учете трехмерного напряженного состояния во всех компонентах в случае неидеальной адгезии между связующим и волокнами (т. е. отказавшись от выполнения допущения 2).
Замечание 2. В предположении 5 принято, что пластическое течение в компонентах композиции определяется квадратичными функциями текучести (, ). Однако известно, что для адекватного описания пластического течения в некоторых материалах целесообразно использовать более сложные функции текучести [29], например в виде полиномов от четвертого порядка [37]. Структурная модель расчета поверхности текучести армированной среды, разработанная в настоящем исследовании, может быть распространена и на случаи, когда функции имеют более сложную зависимость от напряжений (), чем в (2.4). Тогда после подстановки выражений (3.9) в условие текучести вместо квадратного уравнения (3.10) получим более сложное уравнение относительно (), которое, как и (3.10), может иметь неединственное решение. Аналогично, для связующего материала вместо квадратного уравнения (3.2) получим более сложное уравнение для определения зависимости , которое также может иметь неединственное решение. Основная трудность при этом заключается в разработке алгоритмов обоснованного выбора единственных решений этих уравнений, не противоречащих механическим аспектам рассматриваемой проблемы. Эти решения особенно сложно выбирать в случаях, когда функции являются кусочно-гладкими или даже кусочно-линейными и кусочно-квадратичными [29], несмотря на то, что сами функции имеют простое аналитическое выражение.
- Заключение. Разработана структурная модель, позволяющая рассчитывать условия текучести для гибридных жесткопластических КМ, перекрестно армированных в произвольных направлениях как в плоскости, так и в пространстве при учете трехмерного напряженного состояния во всех компонентах. Пластическое течение в анизотропных фазах композиции описывается квадратичным критерием. Учтена разносопротивляемость материалов растяжению и сжатию. Пределы текучести материалов компонентов на растяжение могут быть как больше, так и меньше пределов текучести на сжатие. Перед процедурой усреднения напряжения в компонентах представлены в параметрическом виде. На частных примерах проверено выполнение ассоциированного закона пластического течения для расчетных поверхностей текучести композиции, что позволяет переносить все известные теоремы о предельном состоянии жесткопластических тел и разработанные методы решения соответствующих краевых задач на элементы конструкций, изготовленные из армированных материалов. В качестве модельного примера расчетные кривые текучести построены для композиции, состоящей из ортотропного связующего, ортогонально армированного двумя семействами монотропных волокон, имеющих разные пределы текучести при растяжении и сжатии. Показано, что как изменение структуры армирования, так и изменение параметров анизотропии компонентов композиции (при фиксированных значениях пределов текучести при растяжении и сжатии) приводят к существенному изменению формы и размеров кривых (поверхностей) текучести КМ. Обнаружено, что анизотропия связующего материала в значительно большей степени влияет на геометрию кривых и поверхностей текучести композиции, чем анизотропия армирующих волокон. Количество структурных параметров разработанной математической модели позволяет в широком диапазоне учитывать изменения структуры армирования КМ (направления и объемного содержания армирующих волокон) и характеристики пластического течения компонентов композиции. Показано, что при наличии сильно выраженной анизотропии армирующих волокон широко используемая до настоящего времени МОНСВ вообще не пригодна для проведения адекватных расчетов кривых и поверхностей текучести волокнистых композиций. В этих случаях необходимо использовать структурную теорию механики композитов, разработанную в настоящем исследовании.
Работа выполнена в рамках государственного задания (№ госрегистрации 121030900260-6).
About the authors
A. P. Yankovsky
Khristianovich Institute of Theoretical and Applied Mechanics SB RAS
Author for correspondence.
Email: lab4nemir@rambler.ru
Russian Federation, Novosibirsk, 630090
References
- Spatially Reinforced Composite Materials: Handbook, Ed. by Yu. M. Tarnopol’skii, I. G. Zhigun, and V. A. Polyakov, (Mashinostroenie, Moscow, 1987) [in Russian].
- M. H. Mohamed, A. E. Bogdanovich, L. C. Dickinson, et al., “A new generation of 3D woven fabric performs and composites,” SAMPE J. 37 (3), 3–17 (2001).
- V. V. Vasiliev, V. D. Protasov, V. V. Bolotin, et al., Composite Materials, Reference book, Ed. by V.V. Vasiliev and Yu. M. Tarnopol’skii (Mashinostroenie, Moscow, 1990) [in Russian].
- N. A. Abrosimov and V.G. Bazhenov, Nonlinear Problems of Dynamics Composites Designs (Nizhnii Novgorod State Univ., Nizhnii Novgorod, 2002) [in Russian].
- Yu. S. Solomonov, V. P. Georgievskii, A. Ya. Nedbay, and V. A. Andryushin, Applied Problems of Mechanics of Composite Cylindrical Shells (Fizmatlit, Moscow, 2014) [in Russian].
- Yu. Mao-Hong, “Advances in strength theories for materials under complex stress state in the 20th century,” ASME. Appl. Mech. Rev. 55 (3), 169–200 (2002). https://doi.org/10.1115/1.1472455
- M. S. Qatu, R. W. Sullivan, and W. Wang, “Recent research advances on the dynamic analysis of composite shells: 2000–2009,” Compos. Struct. 93 (1), 14–31 (2010). https://doi.org/10.1016/j.compstruct.2010.05.014
- F. D. Morinière, R. C. Alderliesten, and R. Benedictus, “Modelling of impact damage and dynamics in fibre-metal laminates – A review,” Int. J. Impact Eng. 67, 27–38 (2014). https://doi.org/10.1016/j.ijimpeng.2014.01.004
- G. He, Y. Liu, Y. Hammi, et al., “A combined viscoelasticity-viscoplasticity-anisotropic damage model with evolving internal state variables applied to fiber reinforced polymer composites,” Mech. Adv. Mater. Struct. 28 (17), 1775-1796 (2021). https://doi.org/10.1080/15376494.2019.1709673
- A. Yonezu, K. Yoneda, H. Hirakata, et al., “A simple method to evaluate anisotropic plastic properties based on dimensionless function of single spherical indentation – Application to SiC whisker-reinforced aluminum alloy,” Mater. Sci. Eng. A 527 (29–30), 7646–7657 (2010). https://doi.org/10.1016/j.msea.2010.08.014
- T. P. Romanova and A. P. Yankovskii, “Yield loci of reinforced plates made from rigid-plastic unequiresistant materials considering the two-dimensional stress state in fibers I. Unidirectional reinforcement,” Mech. Compos. Mater. 55, 699–714 (2020). https://doi.org/10.1007/s11029-020-09845-x
- T. P. Romanova and A. P. Yankovskii, “Structural model for rigid-plastic yielding behavior of angle-ply reinforced composites of materials with different properties in tension and compression considering 2D stress state in all components,” Mech. Adv. Mat. Struct. 28 (20), 2151–2162 (2021). https://doi.org/10.1080/15376494.2020.1719561
- T. P. Romanova and A. P. Yankovskii, “Structural model for spatially and flatly reinforced medium of rigid-plastic materials considering three-dimensional stress state in all components,” Mech. Adv. Mat. Struct. 29 (18), 2668–2679 (2022). https://doi.org/10.1080/15376494.2021.1873468
- Yu. V. Nemirovsky and B. S. Resnikov, “On limit equilibrium of reinforced slabs and effectiveness of their reinforcement,” Arch. Inż. Ląd. 21 (1), 57–67 (1975).
- Z. Mróz and F. G. Shamiev, “Simplified yield condition for fiber-reinforced plates and shells,” Arch. Inż. Ląd. 25 (3), 463–476 (1979).
- M. H. Ilyasov and A. A. Jahangirov, “Yield hypersurfaces of a three-layer composite shell with a fiber-reinforced middle layer,” Mech. Compos. Mater. 50, 343–352 (2014). https://doi.org/10.1007/s11029-014-9420-4
- Yu. V. Nemirovskii and A. P. Yankovskii, “Influence of the structure of reinforcement on the ultimate load for metal-composite shells of revolution,” Vestn. Cuvash. Gos. Ped. Univ. Im. I. Ya. Yakovleva. Ser.: Mekh. Pred. Sost., No. 1 (4), 108–116 (2008).
- I. N. Kubishev, “Load limit for EB in composite ring plates with different conditions of consolidation,” Mekh. Mashin Mekhan. Mater., No. 1(14), 56–60 (2011).
- A. A. Jahangirov, “Load-carrying capacity of a fiber-reinforced annular tree-layer composite plate clamped on its external and internal contours,” Mech. Compos. Mater. 52, 271–280 (2016). https://doi.org/10.1007/s11029-016-9579-y
- Handbook of Composites, Ed. by G. Lubin (Van Nostrand Reinhold, New York, 1982; Mashinostroenie, Moscow, 1988).
- Composite Material. Handbook, Ed. by D. M. Karpinos (Naukova Dumka, Kiev, 1985) [in Russian].
- Yu. N. Rabotnov, Creep of Structural Elements, 3nd ed. (LENAND, Moscow, 2019) [in Russian].
- S. Panich, V. Uthaisangsuk, S. Suranuntchai, and S. Jirathearanat, “Investigation of anisotropic plastic deformation of advanced high strength steel,” Mat. Sci. Eng. A 592, 207–220 (2014). https://doi.org/10.1016/j.msea.2013.11.010
- J. W. Yoon, Y. Lou, J. Yoon, and M. V. Glazoff, “Asymmetric yield function based on the stress invariants for pressure sensitive metals,” Int. J. Plast. 56, 184–202 (2014). https://doi.org/10.1016/j.ijplas.2013.11.008
- C. L. Chow and M. Jie, “Anisotropic damage-coupled sheet metal forming limit analysis,” Int. J. Damage Mech. 18 (4), 371–392 (2009). https://doi.org/10.1177/1056789508097548
- M. Rabahallaha, S. Bouvier, T. Balan, and B. Bacroix, “Numerical simulation of sheet metal forming using anisotropic strain-rate potentials,” Mat. Sci. Eng. A 517 (1-2), 261–275 (2009). https://doi.org/10.1016/j.msea.2009.03.078
- W. Hu, “An orthotropic yield criterion in a 3-D general stress state,” Int. J. Plast. 21 (9), 1771–1796 (2005). https://doi.org/10.1016/j.ijplas.2004.11.004
- M. Safaei, M.-G. Lee, Sh.-l. Zang, and W. D. Waele, “An evolutionary anisotropic model for sheet metals based on non-associated flow rule approach,” Comput. Mater. Sci. 81, 15–29 (2014). https://doi.org/10.1016/j.commatsci.2013.05.035
- E.-H. Lee, T. B. Stoughton, and J. W. Yoon, “A yield criterion through coupling of quadratic and non-quadratic functions for anisotropic hardening with non-associated flow rule,” Int. J. Plast. 99, 120-143 (2017). https://doi.org/10.1016/j.ijplas.2017.08.007
- Y. Lou, H. Huh, and J. W. Yoon, “Consideration of strength differential effect in sheet metals with symmetric yield functions,” Int. J. Mech. Sci. 66, 214–223 (2013). https://doi.org/10.1016/j.ijmecsci.2012.11.010
- F. Moayyedian and M. Kadkhodayan, “Non-linear influence of hydrostatic pressure on the yielding of asymmetric anisotropic sheet metals,” Math. Mech. Solids 23 (2), 1–22 (2016). https://doi.org/10.1177/1081286516675662
- N. Aravas and I. Papadioti, “A non-local plasticity model for porous metals with deformation-induced anisotropy: Mathematical and computational issues,” J. Mech. Phys. Solids 146 (2021). https://doi.org/10.1016/j.jmps.2020.104190
- T. J. Nizolek, T. M. Pollock, and R. M. McMeeking, “Kink band and shear band localization in anisotropic perfectly plastic solids,” J. Mech. Phys. Solids 146 (2021). https://doi.org/10.1016/j.jmps.2020.104183
- W. Rajhi, K. Saanouni, and H. Sidhom, “Anisotropic ductile damage fully coupled with anisotropic plastic flow: Modeling, experimental validation, and application to metal forming simulation,” Int. J. Damage Mech. 23 (8), 1211–1256 (2014). https://doi.org/10.1177/1056789514524076
- R. M. Christensen, Mechanics of Composite Materials (Wiley, New York, 1979; Mir, Moscow, 1982).
- G. A. Vanin, Micromechanics of Composite Materials (Naukova Dumka, Kiev, 1985) [in Russian].
- A. K. Malmeister, V.P. Tamuzh, and G.A. Teters, Resistances of Polymeric and Composite Materials (Zinatane, Riga, 1980) [in Russian].
- R. F. Gibson, Principles of Composite Material Mechanics, 4rd ed. (CRC Press, Taylor & Francis Group, Boca Raton, 2015).
- T. P. Romanova and A. P. Yankovskii, “Constructing yield loci for rigid-plastic reinforced plates considering the 2D stress state in fibers,” Mech. Compos. Mater. 54, 697–718 (2019). https://doi.org/10.1007/s11029-019-9777-5
- R. Hill, Mathematical Theory of Plasticity (Oxford Univ. Press, New York, 1950; Gostekhizdat, Moscow, 1956).
- K. M. Ivanov, N. M. Nesterov, D. B. Usmanov, et al., Applied Theory of Plasticity: Textbook (Politekhnika, St. Petersburg, 2009) [in Russian].
- J. Chakrabarty, Applied Plasticity, 2nd ed. (Springer, New York, 2010).
- P. P. Balandin, “On the question of strength hypotheses,” Vestn. Inzh. Trkhnik., No. 1, 19-24 (1937).
- A. A. Ilyushin, Works (1946–1966), Vol. 2: Plasticity (Fizmatlit, Moscow, 2004) [in Russian].
- T. P. Romanova and A. P. Yankovskii, “Mathematical modeling the rigid-plastic yielding behavior of fibrous flatly-reinforced composites of anisotropic materials at 2D stress state,” Mech. Adv. Mater. Struct. 30 (8), 1692-1702 (2023). https://doi.org/10.1080/15376494.2022.2041774
- T. P. Romanova and A. P. Yankovskii, “Load-bearing capacity of rigid-plastic reinforced shallow shells and plates,” Mech. Adv. Mat. Struct. 29 (26), 5651–5665 (2022). https://doi.org/10.1080/15376494.2021.1961952
- A. A. Samarskii, The Theory of Difference Schemes (Marcel Dekker Inc., New.York, 2001).
Supplementary files









