Слои с Catacadoceras barnstoni и проблема разграничения среднего и верхнего подъярусов батского яруса на севере Сибири
- Авторы: Шамонин Е.С.1,2, Князев В.Г.3, Дзюба О.С.1,2, Гуляев Д.1,2
-
Учреждения:
- Институт нефтегазовой геологии и геофизики им. А.А. Трофимука СО РАН
- Новосибирский государственный университет
- Институт геологии алмаза и благородных металлов СО РАН
- Выпуск: Том 31, № 4 (2023)
- Страницы: 61-86
- Раздел: Статьи
- URL: https://bakhtiniada.ru/0869-592X/article/view/138353
- DOI: https://doi.org/10.31857/S0869592X23040038
- EDN: https://elibrary.ru/TNYGZV
- ID: 138353
Цитировать
Полный текст
Аннотация
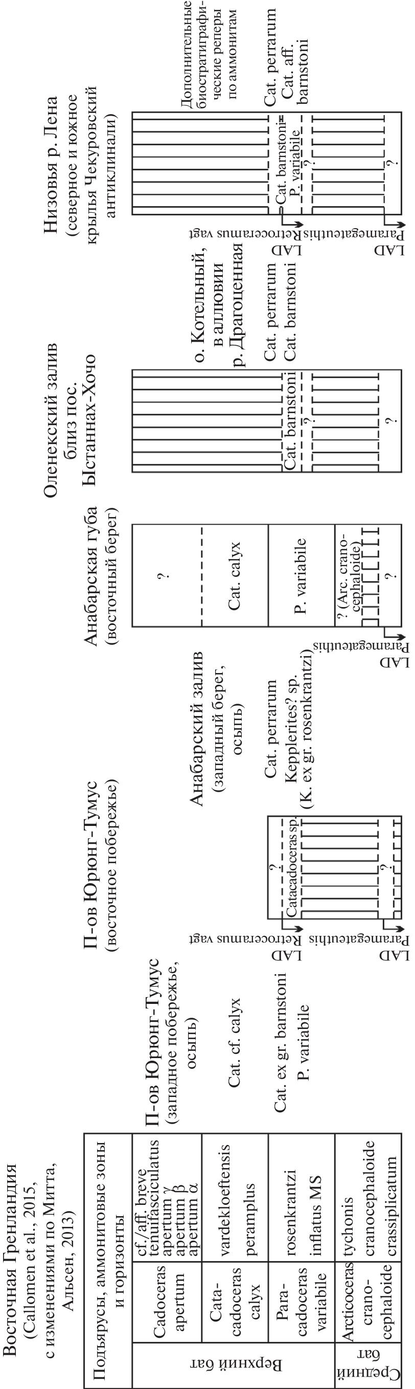
Приводятся результаты исследования таксономического состава аммонитов семейства Cardioceratidae в батском ярусе севера Сибири в интервале распространения последних представителей рода Arcticoceras и первых представителей рода Catacadoceras для решения проблемы разграничения средне- и верхнебатского подъярусов. Установлена некорректность всех прежних определений среднебатского вида Arcticoceras cranocephaloide Callomon et Birkelund, 1985 на северосибирском материале. Преимущественно эти определения были основаны на аммонитах позднебатского возраста, принадлежащих виду Catacadoceras barnstoni (Meek, 1859) или узкоумбональной форме, описанной в настоящей работе как Cat. aff. barnstoni. Предложена актуализированная зональная шкала среднего–верхнего бата Сибири по аммонитам, которая рекомендуется к использованию как в региональных стратиграфических схемах юрских отложений Восточной (Средней) Сибири, так и в бореальном (сибирском) зональном стандарте батского яруса. Отмечена крайняя важность сохранения в этой шкале вспомогательного биостратиграфического подразделения – слоев с Cat. barnstoni, что обусловлено широким распространением и многочисленностью вида-индекса в сибирских разрезах, а также его значением для корреляции нижней части верхнего бата севера Канады, севера Сибири, Земли Франца-Иосифа и Восточной Гренландии. В качестве дополнительных реперов установлены два интервала (с Cat. aff. barnstoni и Cat. perrarum), полезные для оперативного определения возраста и корреляции верхнебатских отложений в арктических разрезах в пределах верхней части слоев с Cat. barnstoni.
Ключевые слова
Об авторах
Е. С. Шамонин
Институт нефтегазовой геологии и геофизики им. А.А. Трофимука СО РАН; Новосибирский государственный университет
Автор, ответственный за переписку.
Email: shamonines@ipgg.sbras.ru
Россия, Новосибирск; Россия, Новосибирск
В. Г. Князев
Институт геологии алмаза и благородных металлов СО РАН
Email: shamonines@ipgg.sbras.ru
Россия, Якутск
О. С. Дзюба
Институт нефтегазовой геологии и геофизики им. А.А. Трофимука СО РАН; Новосибирский государственный университет
Email: shamonines@ipgg.sbras.ru
Россия, Новосибирск; Россия, Новосибирск
Д.Б. Гуляев
Email: shamonines@ipgg.sbras.ru
Список литературы
- Алифиров А.С., Князев В.Г., Меледина С.В. Онтогенез формы раковины и скульптуры позднебатских и келловейских аммонитов семейства Cardioceratidae севера Сибири // Интерэкспо ГЕО-Сибирь. 2018. Т. 2. С. 128–135.
- Бодылевский В.И. Келловейские аммониты Северной Сибири // Записки Ленингр. горн. ин-та. 1960. Т. 37. С. 49–82.
- Воронец Н.С. Стратиграфия и головоногие моллюски юрских и нижнемеловых отложений Лено-Анабарского района. Л.: Госгеолтехиздат, 1962. 236 с.
- Галабала Р.О. К стратиграфии юрских отложений Лено-Анабарского прогиба // Региональная геология и полезные ископаемые Якутии. Сб. научн. трудов. Якутск: Изд-во Якутского гос. университета, 1991. С. 155–158.
- Гуляев Д.Б. Эволюция аммонитов рода Paracadoceras и инфразональная корреляция пограничных отложений бата и келловея бореальных районов // Палеонтология, стратиграфия и палеогеография мезозоя и кайнозоя бореальных районов. Материалы научной сессии (18–22 апр. 2011 г.). Т. I. Мезозой. Ред. Шурыгин Б.Н., Лебедева Н.К., Горячева А.А. Новосибирск: ИНГГ СО РАН, 2011. С. 74–78.
- Гуляев Д.Б. К ревизии аммонитов рода Paracadoceras (Cardioceratidae) из верхнего бата и нижнего келловея Восточной Гренландии // Современные проблемы изучения головоногих моллюсков. Морфология, систематика, эволюция, экология и биостратиграфия. Материалы совещания (Москва, 9–11 апреля 2012 г.). Ред. Леонова Т.Б., Барсков И.С., Митта В.В. Вып. 3. М.: ПИН РАН, 2012. С. 69–72.
- Гуляев Д.Б. Стратиграфия пограничных отложений бата и келловея Европейской России // Юрская система России: проблемы стратиграфии и палеогеографии. Шестое Всероссийское совещание, 15–20 сентября 2015 г., Махачкала. Научные материалы. Отв. ред. Захаров В.А. Махачкала: АЛЕФ, 2015. С. 94–101.
- Дзюба О.С., Шурыгин Б.Н., Митта В.В., Алифиров А.С., Глинских Л.А., Горячева А.А., Косенко И.Н., Урман О.С., Метелкин Е.К. Проблемы и перспективы бореально-тетической корреляции морских среднеюрских отложений Сибири // Интерэкспо ГЕО-Сибирь. 2019. Т. 2. № 1. С. 49–57.
- Захаров В.А., Шурыгин Б.Н. Биогеография, фации и стратиграфия средней юры Советской Арктики. Новосибирск: Наука, 1978. 225 с.
- Захаров В.А., Богомолов Ю.И., Ильина В.И., Константинов А.Г., Курушин Н.И., Лебедева Н.К., Меледина С.В., Никитенко Б.Л., Соболев Е.С., Шурыгин Б.Н. Бореальный зональный стандарт и биостратиграфия мезозоя Сибири // Геология и геофизика. 1997. Т. 38. № 5. С. 927–956.
- Киселев Д.Н. Аммониты и инфразональная стратиграфия бореального и суббореального бата и келловея. М.: ГЕОС, 2022. 667 c. (Тр. Геол. ин-та. Вып. 628).
- Князев В.Г., Меледина С.В. Новые находки верхнебатских аммонитов на севере Сибири // Стратиграфия. Геол. корреляция. 2011. Т. 19. № 3. С. 121–125.
- Князев В.Г., Кутыгин Р.В., Меледина С.В. Зональная шкала верхнего бата Восточной Сибири по аммонитам // Стратиграфия. Геол. корреляция. 2009. Т. 17. № 2. С. 86–97.
- Князев В.Г., Кутыгин Р.В., Меледина С.В. Новая аммонитовая зональная шкала нижнего келловея севера Сибири // Стратиграфия. Геол. корреляция. 2010. Т. 18. № 4. С. 45–64.
- Меледина С.В. Аммониты и зональная стратиграфия байоса–бата Сибири. Новосибирск: Наука, 1973. 176 с. (Тр. ИГиГ СО АН СССР. Вып. 153).
- Меледина С.В. Аммониты и зональная стратиграфия келловея Сибири. М.: Наука, 1977. 290 с. (Тр. ИГиГ СО АН СССР. Вып. 356).
- Меледина С.В. Аммониты и зональная стратиграфия келловея суббореальных районов СССР. М.: Наука, 1987. 184 с. (Тр. ИГиГ СО АН СССР. Вып. 691).
- Меледина С.В. Зональная схема “бореального бата”–нижнего келловея Сибири // Детальная стратиграфия и палеонтология юры и мела Сибири. Новосибирск: Наука, 1991. С. 125–154 (Тр. ИГиГ СО АН СССР. Вып. 769).
- Меледина С.В. Бореальная средняя юра России (аммониты и зональная стратиграфия байоса, бата и келловея). Новосибирск: Наука, 1994. 184 с.
- Меледина С.В. Аммониты из бореального верхнего бата острова Котельный // Геология и геофизика. 1999. Т. 40. № 10. С. 1397–1404.
- Меледина C.В. О корреляции зон байоса и бата Сибири в свете новых палеонтологических данных // Стратиграфия. Геол. корреляция. 2014. Т. 22. № 6. С. 45–56.
- Меледина С.В., Нальняева Т.И., Шурыгин Б.Н. Юра Енисей-Хатангского прогиба. Нордвикская зона, типовой разрез. Новосибирск: ИГиГ СО АН СССР, 1987. 128 с.
- Меледина С.В., Шурыгин Б.Н., Злобина О.Н., Левчук М.А., Нальняева Т.И., Никитенко Б.Л. Чекуровская свита (бат–келловей) в стратотипе // Детальная стратиграфия и палеонтология юры и мела Сибири. Новосибирск: Наука, 1991. С. 5–37 (Тр. ИГиГ СО АН СССР. Вып. 769).
- Меледина С.В., Князев В.Г., Маринов В.А., Алифиров А.С., Игольников А.Е. Новое в аммонитовой стратиграфии юры полуострова Юрюнг-Тумус // Юрская система России: проблемы стратиграфии и палеогеографии. Шестое Всероссийское совещание, 15–20 сентября 2015 г., Тюмень. Научные материалы. Отв. ред. Захаров В.А. Махачкала: АЛЕФ, 2015. С. 199–202.
- Митта В.В., Альсен П. Аммониты и зональная шкала батского яруса Гренландии // Юрская система России: проблемы стратиграфии и палеогеографии. Пятое Всероссийское совещание, 23–27 сентября 2013 г., Тюмень. Научные материалы. Отв. ред. Захаров В.А. Екатеринбург: ИздатНаукаСервис, 2013. С. 149–151.
- Нехаев А.Ю., Маринов В.А., Алифиров А.С., Игольников А.Е. Новый разрез средней и верхней юры западного берега полуострова Юрюнг-Тумус // Юрская система России: проблемы стратиграфии и палеогеографии. Шестое Всероссийское совещание, 15–20 сентября 2015 г., Тюмень. Научые материалы. Отв. ред. Захаров В.А. Махачкала: АЛЕФ, 2015. С. 188–194.
- Никитенко Б.Л., Шурыгин Б.Н., Князев В.Г., Меледина С.В., Дзюба О.С., Лебедева Н.К., Пещевицкая Е.Б., Глинских Л.А., Горячева А.А., Хафаева С.Н. Стратиграфия юры и мела Анабарского района (Арктическая Сибирь, побережье моря Лаптевых) и бореальный зональный стандарт // Геология и геофизика. 2013. Т. 54. № 8. С. 1047–1082.
- Огнев В.Н. Верхнеюрские окаменелости с о. Гукера Земли Франца-Иосифа // Тр. Арктического ин-та. 1933. Т. XII. С. 217–233.
- Репин Ю.С. Аммонитовые зоны юры о. Гукера (Архипелаг Земля Франца-Иосифа) // Докл. АН. 1999. Т. 367. № 3. С. 389–393.
- Репин Ю.С. Аммонитовые шкалы циркумарктической средней юры // Материалы Первого Всероссийского совещания “Юрская система России: проблемы стратиграфии и палеогеографии”. Ред. Захаров В.А., Рогов М.А., Дзюба О.С. М.: ГИН РАН, 2005. С. 203–205.
- Репин Ю.С., Федорова А.А., Быстрова В.В., Куликова Н.К., Полуботко И.В. Мезозой Баренцевоморского седиментационного бассейна // Стратиграфия и ее роль в развитии нефтегазового комплекса России. Отв. ред. Киричкова А.В., Дмитриева Т.В. СПб.: ВНИГРИ, 2007. С. 112–161.
- Руженцев В.Е. Надотряд Ammonoidea. Аммоноидеи. Общая часть // Основы палеонтологии. Моллюски – головоногие. М.: Изд-во АН СССР, 1962. С. 243–333.
- Сакс В.Н., Ронкина З.З., Шульгина Н.И., Басов В.А., Бондаренко Н.М. Стратиграфия юрской и меловой системы севера СССР. М.–Л.: Изд-во АН СССР, 1963. 227 с.
- Стратиграфический кодекс СССР. Л.: ВСЕГЕИ, 1977. 80 с.
- Стратиграфический кодекс России. 3-е изд., исправленное и дополненное. СПб.: ВСЕГЕИ, 2019. 96 с.
- Стратиграфия юрской системы севера СССР. Отв. ред. Сакс В.Н. М.: Наука, 1976. 436 с.
- Урман О.С., Шурыгин Б.Н., Дзюба О.С. Стратиграфические диапазоны ретроцерамовых зон байоса–бата п-ова Юрюнг-Тумус (север Сибири) // Геология и минерально-сырьевые ресурсы Сибири. 2022. № 11с. С. 21–28.
- Шамонин Е.С., Князев В.Г. Последовательность верхнебайосских–нижнеоксфордских аммонитов в низовьях р. Лена (Чекуровский разрез) // Юрская система России: проблемы стратиграфии и палеогеографии. Материалы VIII Всероссийского совещания с международным участием. Онлайн-конф., 7–10 сентября 2020 г. Отв. ред. Захаров В.А. Сыктывкар: ИГ Коми НЦ УрО РАН, 2020. С. 239–242.
- Шамонин Е.С., Князев В.Г. Проблема диагностики вида Arcticoceras cranocephaloide Callomon et Birkelund, 1985 на севере Сибири // Палеонтология, стратиграфия и палеогеография мезозоя и кайнозоя бореальных районов. Материалы научной онлайн-сессии, 19–22 апреля 2021 г. [электронный ресурс]. Ред. Лебедева Н.К. и др. Новосибирск: ИНГГ СО РАН, 2021. С. 197–201.
- Шамонин Е.С., Дзюба О.С., Князев В.Г., Урман О.С., Шурыгин Б.Н., Метелкин Е.К., Ян П.А. Верхняя граница чекуровской свиты в стратотипе (низовье р. Лена): лито- и биостратиграфические критерии // Интерэкспо ГЕО-Сибирь – “Недропользование. Горное дело. Направления и технологии поиска, разведки и разработки месторождений полезных ископаемых. Экономика. Геоэкология”: Материалы XVI Международной научной конференции, Новосибирск, 20–24 апреля 2020 г. Новосибирск, 2020. С. 269–279.
- Шурыгин Б.Н., Никитенко Б.Л., Девятов В.П., Ильина В.И., Меледина С.В., Гайдебурова Е.А., Дзюба О.С., Казаков А.М., Могучева Н.К. Стратиграфия нефтегазоносных бассейнов Сибири. Юрская система. Новосибирск: Изд-во СО РАН, филиал “Гео”, 2000. 480 с.
- Шурыгин Б.Н., Никитенко Б.Л., Меледина С.В., Дзюба О.С., Князев В.Г. Комплексные зональные шкалы юры Сибири и их значение для циркумарктических корреляций // Геология и геофизика. 2011. Т. 52. № 8. С. 1051–1074.
- Alsen P., Hovikoski J., Svennevig K. Middle Jurassic sandstone deposition in the Wandel Sea Basin: evidence from cardioceratid and kosmoceratid ammonites in the Mågensfjeld Formation in Kilen, North Greenland // GEUS Bull. 2020. V. 44. 5342.
- Birkelund T., Perch-Nielsen K. Late Palaeozoic–Mesozoic evolution of central East Greenland // Geology of Greenland. Eds. Escher A., Watt W.S. Copenhagen: Geological Survey of Greenland, 1976. P. 304–339.
- Callomon J.H. Jurassic ammonites from the northern North Sea // Norsk Geologisk Tidsskrift. 1975. V. 55. P. 373–386.
- Callomon J.H. The evolution of the Jurassic ammonite family Cardioceratidae // Evolutionary case stories from the fossil record. Eds. Cope J.C.W., Skelton P.W. Spec. Pap. Palaeontol. 1985. V. 33. P. 49–90.
- Callomon J.H. The ammonite succession in the Middle Jurassic of East Greenland // Bull. Geol. Soc. Denmark. 1993. V. 40. P. 83–113.
- Callomon J.H. The Middle Jurassic of western and northern Europe: its subdivisions, geochro-nology and correlations // Geol. Surv. Den. Green. Bull. 2003. V. 1. P. 61–73.
- Callomon J.H., Birkelund T. The Jurassic transgression and the mid-late Jurassic succession in Milne Land, central East Greenland // Geol. Mag. 1980. V. 117. № 3. P. 211–310.
- Callomon J.H., Alsen P., Surlyk F. The ammonites of the Middle Jurassic Cranocephalites beds of East Greenland // Geol. Surv. Den. Green. Bull. 2015. V. 34. P. 1–145.
- Dzyuba O.S., de Lagausie B. New belemnites (Megateuthididae, Cylindroteuthididae) from the Bajocian and Bathonian of the Yuryung-Tumus Peninsula, northern Siberia, Russia and their palaeobiogeographic implications // Paläont. Z. 2018. V. 92. P. 87–105.
- Frebold H. The Jurassic faunas of the Canadian Arctic: Middle and Upper Jurassic ammonites // Geol. Surv. Canada Bull. 1961. V. 74. 43 p., 21 pl.
- Frebold H. Illustrations of Canadian Fossils. Jurassic of Western and Arctic Canada // Geol. Surv. Canada. 1964a. Pap. 63-4. P. 1–107.
- Frebold H. The Jurassic faunas of the Canadian Arctic: Cadoceratinae // Geol. Surv. Canada Bull. 1964b. V. 119. viii + 27 p., 20 pl.
- Hillebrandt A. von, Smith P., Westermann G.E.G., Callomon J.H. Ammonite zones of the circum-Pacific region // The Jurassic of the Circum-Pacific. Ed. Westermann G.E.G. Cambridge: Cambridge University Press, 1992. P. 247–272.
- Hyatt A. Cephalopoda // Text-book of Palaeontology. Ed. Von Zittel K.A. 1st English edition, translated & edited by C.E. Eastman. London: MacMillan & Co, 1900. P. 502–604.
- Kelly S.R.A., Gregory F.J., Braham W., Strogen D.P., Whitham A.G. Towards an integrated Jurassic biostratigraphy for eastern Greenland // Volumina Jurassica. 2015. V. XIII(1). P. 43–64.
- Keyserling A. von. Wissenschaftliche Beobachtungen auf einer Reise in das Petschora-Land im Jahre 1843. St. Petersburg: Carl Kray, 1846. 465 p., 22 pl.
- Kiselev D.N. Variability of relative body chamber length in Jurassic ammonites of the family Cardioceratidae Siemiradzki, 1891, and its taxonomic significance // Paleontol. J. 2018. V. 52. № 13. P. 517–1544.
- Lagausie B. de, Dzyuba O.S. Biostratigraphy of the Bajocian–Bathonian boundary interval in northern Siberia: new data on belemnites from the Yuryung-Tumus peninsula // Bull. Soc. géol. France. 2017. V. 188. № 1–2. P. 1–9.
- Meek F.B. Remarks on the Cretaceous fossils collected by Professor Henry Y. Hind, on the Assiniboine and Saskatchewan exploring expedition, with descriptions of some new species // North-West Territory: Reports of progress, together with a preliminary and general report on the Assiniboine and Saskatchewan exploring expedition, made under instructions from the Provincial Secretary, Canada. Hind H.Y. Toronto, 1859. P. 182–185.
- Mitta V., Kostyleva V., Dzyuba O., Glinskikh L., Shurygin B., Seltzer V., Ivanov A., Urman O. Biostratigraphy and sedimentary settings of the Upper Bajocian–Lower Bathonian of the vicinity of Saratov (Central Russia) // N. Jb. Geol. Paläont. Abh. 2014. V. 271. № 1. P. 95–121.
- Mitta V., Glinskikh L., Kostyleva V., Dzyuba O., Shurygin B., Nikitenko B. Biostratigraphy and sedimentary settings of the Bajocian–Bathonian beds of the Izhma River basin (European North of Russia) // N. Jb. Geol. Paläont. Abh. 2015. V. 277. № 3. P. 307–335.
- Mönnig E., Dietl G. The systematics of the ammonite genus Kepplerites (upper Bathonian and basal Callovian, Middle Jurassic) and the proposed basal boundary stratotype (GSSP) of the Callovian Stage // N. Jb. Geol. Paläont. Abh. 2017. V. 286. P. 235–287.
- Morton N., Mitta V.V., Underhill J.R. Ammonite occurrences in North Sea cores: implications for Jurassic Arctic–Mediterranean marine seaway connectivity // Scottish J. Geol. 2020. V. 56. P. 175–195.
- Poulton T.P. Zonation and correlation of middle boreal Bathonian to lower Callovian (Jurassic) ammonites, Salmon Cache Canyon, Porcupine River, northern Yukon // Geol. Surv. Canada Bull. 1987. V. 358. 155 p., 38 pl.
- Poulton T.P., Detterman R.L., Hall R.L., Jones D.L., Peterson J.A., Smith P., Taylor D.G., Tipper H.W., Westermann G.E.G. Western Canada and United States // The Jurassic of the Circum-Pacific. Ed. Westermann G.E.G. Cambridge: Cambridge University Press, 1992. P. 29–92.
- Siemiradzki J. Fauna kopalna warstw oxfordzkich i kimerydzkich w okręgu krakowskim i przyległych częściach Królestwa Polskiego. Cz. 1. Głowonogi. Kraków: nakł. Akademii Umiejętności, 1891. 92 p., 5 pl.
Дополнительные файлы














