Пульсации DC/DC преобразователя, построенного по SEPIC топологии
- Авторы: Битюков В.К.1, Лавренов А.И.1
-
Учреждения:
- Российский технологический университет (РТУ МИРЭА)
- Выпуск: Том 53, № 2 (2024)
- Страницы: 162-168
- Раздел: ТЕХНОЛОГИИ
- URL: https://bakhtiniada.ru/0544-1269/article/view/262753
- DOI: https://doi.org/10.31857/S0544126924020056
- ID: 262753
Цитировать
Полный текст
Аннотация
Математические модели являются основой для унифицированных методов расчета и проектирования радиоэлектронных устройств. Разработанная предельная непрерывная математическая модель DC/DC преобразователя, построенного по топологии SEPIC, позволяет оценить диапазон изменения токов, протекающих через обмотки дросселей, и напряжений на обкладках конденсаторов, а также определить их максимальные и минимальные значения при различных параметрах преобразователя, таких как частота коммутации силового ключа, коэффициент заполнения, номиналы элементов и т. д. Результаты исследований показали, что фазовые координаты математической модели стремятся к реальным значениям токов и напряжений преобразователя при частоте коммутации силового ключа более 200 кГц. Было установлено соответствие между расчетными значениями размахов пульсаций и результатами, полученными при моделировании (при изменении коэффициента заполнения и частоты коммутации силового ключа).
Полный текст
ВВЕДЕНИЕ
Автономность наукоемких радиоэлектронных устройств является одной из основных тенденций развития техники. Как правило, в автономных устройствах энергообеспечение выполняется с помощью литий-ионных аккумуляторов и/или топливных ячеек. Специфика этих устройств заключается в использовании стабилизированных низковольтных напряжений. Для формирования стабильного напряжения необходимой величины применяют DC/DC преобразователи [1], так как напряжение первичных источников напряжения со временем изменяется в широком диапазоне [2, 3]. Эти особенности диктуют потребность в разработке различных средств расчета и проектирования DC/DC преобразователей.
На настоящее время DC/DC преобразователи без гальванической развязки насчитывают шесть топологий: понижающего типа (buck converter), повышающего типа (boost converter), полярно-инвертирующего типа (buck-boost converter), SEPIC, Ćuk и Zeta. Первые три топологии исследованы достаточно подробно, в отличии остальных преобразователей понижающе-повышающего типа [4, 5]. А вот DC/DC преобразователи, построенные по топологии SEPIC, Ćuk и Zeta, требуют дополнительных исследований и разработки соответствующих методов расчета и проектирования.
Разработка радиоэлектронных устройств базируется на соответствующих математических моделях. Для базовых DC/DC преобразователей топологий buck converter, boost converter и buck-boost converter уже созданы предельные непрерывные математические модели [6]. DC/DC преобразователи понижающе-повышающего типа, построенные по топологиям SEPIC [7], Ćuk [8] и Zeta [9, 10], тоже описаны с помощью предельных непрерывных математических моделей. Но если для топологий Ćuk [8] и Zeta [9, 10] выполнен анализ пульсаций токов, протекающих через обмотки дросселей, и напряжений на конденсаторах, то для топологии SEPIC подобный анализ отсутствует.
АНАЛИТИЧЕСКИЙ ВЫВОД УРАВНЕНИЙ, ОПИСЫВАЮЩИХ РАЗМАХИ ПУЛЬСАЦИЙ ТОКОВ И НАПРЯЖЕНИЙ
Процедура разработки предельной непрерывной математической модели DC/DC преобразователя, построенного по топологии SEPIC (рис. 1), подробно рассмотрена в [7]. Поэтому в данной работе сохранена преемственность в обозначениях физических величин и электрорадиоэлементов с [7].
Рис. 1. Принципиальная электрическая схема преобразователя понижающе-повышающего типа, построенного по топологии SEPIC.
Мгновенные токи iL1 и iL2, протекающие через обмотки дросселей L1 и L2, и мгновенные напряжения uC1 и uC2 на конденсаторах С1 и С2 содержат постоянную и переменную составляющие. Поэтому можно записать, что
(1)
где δiL1 — переменная составляющая тока iL1; δiL2 — переменная составляющая тока iL2; δuC1 — переменная составляющая напряжения uC1; δuC1 — переменная составляющая напряжения uC1.
Подставив из (1) уравнения, определяющие мгновенные токи и напряжения, в системы уравнений (6) и (13) из [7], описывающие обе фазы работы преобразователя, а также приняв во внимание, что постоянные составляющие токов и напряжений, как правило, много больше размахов соответствующих пульсаций [10], получают:
(2)
(3)
Используя уравнения системы (2), получают формулы для определения переменных составляющих δiL1 δiL2, δuC1 и δuC2 за время первой фазы:
(4)
; (5)
; (6)
. (7)
Используя уравнения системы (3), получают формулы для определения переменных составляющей δiL1 δiL2, δuC1 и δuC2, за время второй фазы:
(8)
; (9)
; (10)
. (11)
Используя уравнения (4)—(7), получают формулы для определения размаха пульсаций ΔiL1, ΔiL2, ΔuC1 и ΔuC2 за время первой фазы:
; (12)
; (13)
; (14)
. (15)
Используя выражения (8)—(11), получают формулы для определения размаха пульсаций ΔiL1, ΔiL2, ΔuC1 и ΔuC2 за время второй фазы:
; (16)
; (17)
; (18)
. (19)
Уравнения (12)—(15) первой фазы эквивалентны уравнениям (16)—(19) второй фазы, так как средние значения токов и напряжений со временем не изменяются. Поэтому изменения мгновенных значений токов и напряжений по модулю в первой фазе будут равны их изменению по модулю во второй фазе. В дальнейшем для упрощения сбора данных в качестве уравнений для расчета использованы формулы (12)—(15).
Таким образом, зная номиналы выбранных элементов электронной компонентной базы и режим работы преобразователя (коэффициент заполнения D и период T), формулы (12)—(15) позволяют рассчитать размах пульсации токов iL1, iL2, протекающих через обмотки дросселей L1 и L2, и напряжений uC1, uC2 на обкладках конденсаторов С1 и С2 соответственно.
МОДЕЛИРОВАНИЕ В СРЕДЕ MULTISIM
Проверка достоверности полученных выражений для расчета размахов пульсаций токов и напряжений выполнена сравнением результатов расчета по формулам (12)—(15) с результатами схемотехнического моделирования в среде Multisim. Аналитический вывод уравнений для расчета постоянных составляющих SEPIC преобразователя и их сравнение с результатами моделирования представлены в [10].
Рис. 2. Схема моделирования DC/DC преобразователя.
На рис. 2 показана схема моделирования DC/DC преобразователя. В качестве силового транзистора был использован MOSFET IRLZ44N (как и в [11]), который использован для коммутации тока от входного источника питания V1 с заданной частотой f тактовых импульсов, создаваемых генератором V2. Все компоненты схемы выбраны из базы данных Multisim. Дроссели представлены эквивалентными схемами. Активные сопротивления выбранных дросселей, имеющих индуктивность 55 мкГн, не превышали 1 Ом.
Для исследования влияния коэффициента заполнения D на размахи пульсаций был использован режим анализа переходных процессов. Размахи пульсации токов и напряжений регистрировались в установившемся режиме (через 5–12 мс после начала моделирования). Результаты исследования, показывающие влияние коэффициента заполнения D, как основного параметра, на режим работы преобразователя, представлены на рис. 3 и рис. 4 (сплошные линии — расчет, штриховые линии — моделирование).
Рис. 3. Влияние коэффициента заполнения на пульсации токов, протекающих через обмотки дросселей L1 и L2: 1L1 — расчетные значения ΔiL1; lL2 — расчетные значения ΔiL2; 2 — результаты моделирования ΔiL1м и ΔiL2м.
Здесь и далее приняты обозначения: ΔiL — размахи пульсаций тока, протекающего через обмотку дросселей L1 и L2, полученные с помощью предельной непрерывной математической модели; ΔuC — пульсации напряжения на конденсаторах С1 и С2, полученные с помощью предельной непрерывной математической модели; ΔiL1— размахи пульсаций тока, протекающего через обмотку дросселей L1 и L2, полученные с помощью моделирования; ΔuCм — пульсации напряжения на конденсаторах С1 и С2, полученные с помощью моделирования.
Рис. 4. Влияние коэффициента заполнения на пульсации напряжения на конденсаторах С1 и С2: 1С1 — расчетное значение ΔuC1; 2С1 — результат моделирования ΔuC1м; 1С2 — расчетное значение ΔuC2 2С2 — результат моделирования ΔuC2м.
Информация, приведенная на рис. 3 и рис. 4, иллюстрирует достаточно хорошее совпадение результатов моделирования с результатами расчетов по разработанной математической модели. Однако при значениях коэффициента заполнения D менее 0.3 и более 0.7 наблюдаются существенные отличия. Это объясняется допущениями, принятыми при выводе формул (23)—(30) [7], и влиянием паразитных параметров электрорадиоэлементов на работу преобразователя. В окрестности коэффициента заполнения D = 0.5 наблюдаются практически тождественные значения размахов пульсаций токов и напряжений, полученных при расчете и моделировании.
На рис. 3 и рис. 4 видно, что минимальная разница между рассчитанными значениями и результатами моделирования наблюдаются при коэффициентах заполнения D от 0.45 до 0.60. Для ΔiL1 минимальная разница составляет 6 мА (2.2% от ΔiL1м) при D = 0.60, для ΔiL2 — 2 мА (0.9% от ΔiL2м) при D = 0.50, для ΔuC1 — 0.2 мВ (1.5% от ΔuC1м) при D = 0.50. Разница ΔuC2 — 0.1 мВ (0.63% от ΔuC2м) при D = 0.45.
Рис. 5. Влияние частоты коммутации силового транзистора на размахи пульсаций токов, протекающих через обмотку дросселей L1 и L2 при коэффициенте заполнения, равном 0.5: 1 — расчетное значение ΔiL, 2L1 — результат моделирования ΔiL1м 2L2 — результат моделирования ΔiL2м
При изменении коэффициента заполнения D относительно минимума разница между расчетными значениями и значениями, полученными при моделировании, увеличивается. Так, для ΔiL1 разница составляет 14 мА (10%) и 9 мА (3%), для ΔiL2 — 13 мА (9%) и 68 мА (24%), для ΔuC1— 0.62 мВ (14%) и 10.55 мВ (23%), а для ΔuC2— 2.4 мВ (28%) и 17 мВ (23%), при коэффициентах заполнения D равных 0.3 и 0.7 соответственно.
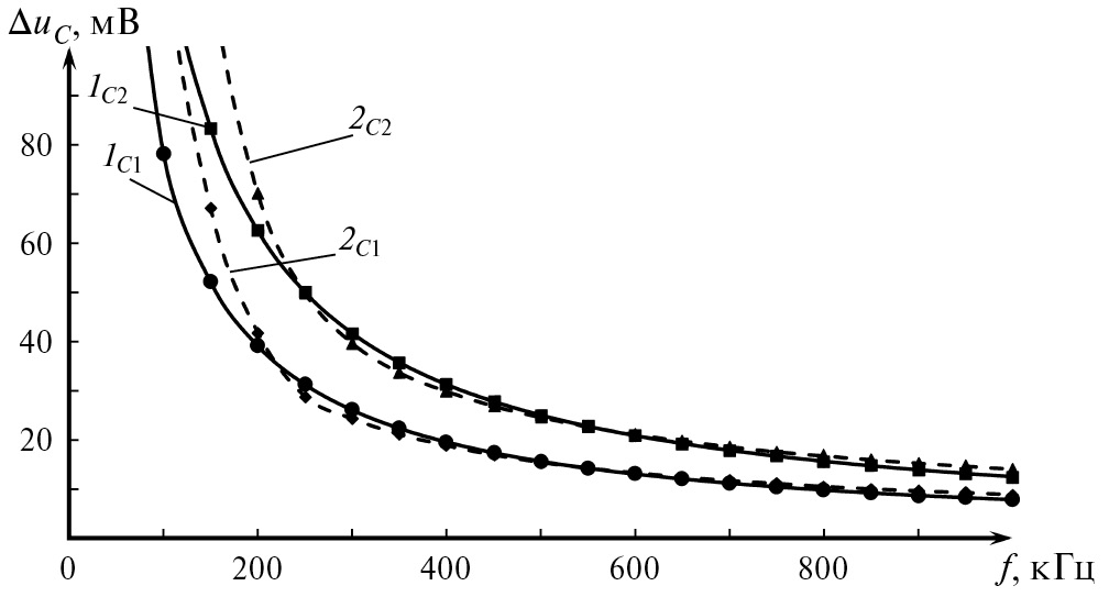
Результаты исследования влияния частоты коммутации f силового транзистора VT1 на размахи пульсаций токов и напряжений представлены на рис. 5 и рис. 6.
Рис. 6. Влияние частоты коммутации силового транзистора на размахи пульсаций напряжения на конденсаторах С1 и С2 при коэффициенте заполнения, равном 0.5: 1С1 — расчетное значение ΔuC1; 2С1 — результат моделирования ΔuC2; 1С2 — расчетное значение ΔuC2 2С2 — результат моделирования ΔuC2м.
На рис. 6 хорошо видна предельность непрерывной математической модели [8, 10] при частоте менее 200 кГц.
Расхождение результатов расчета и моделирования размахов пульсаций токов ΔiL1 достигает 86 мА (4.2% от ΔiL1м) и 217 мА (10% от ΔiL2м) для ΔiL2, а отличия значений размахов пульсаций напряжения ΔuC1 достигают 312 мВ (66.7% от ΔuC1м) и 421 мВ (62.7% от ΔuC2м) для ΔuC2.
При частоте коммутации f силового транзистора рассматриваемого DC/DC преобразователя, превышающей 200 кГц, минимальные отклонения для пульсаций тока ΔiL1наблюдаются на частоте 250 кГц и составляют 7 мА (1.6%), пульсации тока ΔiL2 совпадают с ΔiL2м на частоте 650 кГц, а для пульсаций напряжения ΔuC1 — 5 мкВ (0.03%) на частоте 550 кГц и для ΔuC2 — 27 мкВ (0.12%) на частоте 550 кГц.
ЗАКЛЮЧЕНИЕ
Cоставлены эквивалентные схемы для DC/DC преобразователя, построенного по топологии SEPIC, в режимах накопления и передачи энергии. В соответствии с правилами Кирхгофа были записаны системы уравнений для обеих фаз работы устройства. Для формулировки математической модели в матричном виде системы уравнений были преобразованы в матричный вид.
Представляя мгновенные токи и напряжения как суммы постоянной и переменной составляющих, были записаны системы уравнений, описывающие работу преобразователя в режимах накопления и передачи энергии. Используя полученные выражения для постоянных составляющих токов и напряжений и проинтегрировав системы уравнений, описывающие каждую фазу, впервые сформулированы уравнения для определения пульсаций токов, протекающих через обмотку дросселей, и напряжений на конденсаторах, основанные на предельной непрерывной математической модели.
Для проверки достоверности расчетов размахов пульсаций выполнено сравнение результатов, полученных с использованием предельной непрерывной математической модели, с результатами моделирования DC/DC преобразователя. Исследовано влияние коэффициента заполнения D и частоты переключения f силового транзистора на размахи пульсаций характерных токов и напряжений. При коэффициенте заполнения D, близком к 0.5 размаха пульсации, вычисленные с помощью математической модели, совпали с результатами моделирования.
Минимальное расхождение результатов расчета и моделирования при изменении коэффициента заполнения D составляет: 6 мА (2.2%) для ΔiL1, 2 мА (0.9%) для ΔiL2, 0.2 мВ (1.5%) для ΔuC1 и 0.1 мВ (0.63%) для ΔuC2. При изменении частоты коммутации f минимальная разница составляет: для ΔiL1— 7 мА (1.6%), для ΔiL2— 0 мА, для ΔuC1— 5 мкВ (0.03%) и для ΔuC2 — 27 мкВ (0.12%).
Об авторах
В. К. Битюков
Российский технологический университет (РТУ МИРЭА)
Автор, ответственный за переписку.
Email: bitukov@mirea.ru
Россия, Москва
А. И. Лавренов
Российский технологический университет (РТУ МИРЭА)
Email: bitukov@mirea.ru
Россия, Москва
Список литературы
- Шубин В.В. Высоковольтный КМОП преобразователь уровня напряжения для низковольтового технологического процесса // Микроэлектроника. 2022. Т. 51. № 3. С. 202–211. DOI: S0544126922020089. EDN: PELNYF.
- Бабенко В.П., Битюков В.К., Симачков Д.С. Понижающе-повышающий DC/DC преобразователь с единственной индуктивностью // Микроэлектроника. 2022. Т. 51. № 1. С. 60–70. DOI: S0544126921060041. EDN: ESWIIC.
- Применение преобразователей постоянного напряжения в составе энергетической установки электрического транспортного средства / В.Е. Ютт, В.В. Лохнин, К.М. Сидоров, К.Х. Гулямов // Вестник Московского автомобильно-дорожного государственного технического университета (МАДИ). 2015. № 4(43). С. 34–40. EDN: UYSEBH.
- Битюков В.К., Симачков Д.С., Бабенко В.П. Схемотехника электропреобразовательных устройств: Учебник для студентов, обучающихся по направлениям бакалавриата 11.03.01 “Радиотехника”, 11.03.02 “Инфокоммуникационные технологии и системы связи”, 11.03.03 “Конструирование и технология электронных средств”, магистратуры 11.04.01 “Радиотехника”, а также по специальности специалитета 11.05.01 “Радиоэлектронные системы и комплексы”, для углубленного изучения дисциплины “Схемотехника электронных устройств”. Вологда: Инфра-Инженерия, 2023. 384 с.
- Мыслимов Д.А. Математическое моделирование понижающего DC/DC-преобразователя в среде NI Multisim // Перспективы науки. 2023. № 3(162). С. 80–83. EDN: EEPFUZ.
- Коршунов А. Методика построения непрерывных моделей импульсных преобразователей напряжения постоянного тока // Компоненты и технологии. 2006. № 8(61). С. 124–130. EDN: MTFMUV.
- Лавренов А.И., Битюков В.К. Математическая модель DC/DC-преобразователя, построенного по топологии SEPIC // Russian Technological Journal. 2024. № 1. С. 48–58.
- Коршунов А. Импульсный преобразователь напряжения постоянного тока по схеме Чука // Силовая электроника. 2017. Т. 4. № 67. С. 60–66. EDN: ZQLXRR.
- Битюков В.К., Лавренов А.И., Малицкий Д.А. Математическая модель DC/DC преобразователя, построенного по Zeta топологии (часть 1) // Проектирование и технология электронных средств. 2022. № 4. С. 53–57. EDN: SGUTFI.
- Битюков В.К., Лавренов А.И., Малицкий Д.А. Математическая модель DC/DC преобразователя, построенного по Zeta топологии (часть 2) // Проектирование и технология электронных средств. 2023. № 1. С. 48–53. EDN: VXPIIR.
- Бабенко В.П., Битюков В.К. Энергетические и шумовые характеристики конверторного преобразователя SEPIC/Cuck с биполярным выходом // Микроэлектроника. 2021. Т. 50. № 5. С. 394–400. DOI: S0544126921040025. EDN: SGUPMB.
Дополнительные файлы








