Model describing of the process of electrodeposition of loose zinc deposits in pulsed potential modes
- Authors: Nikitin V.S.1, Ostanina T.N.1, Rudoy V.M.1
-
Affiliations:
- Ural Federal University named after the first President of Russia B.N. Yeltsin
- Issue: Vol 60, No 2 (2024)
- Pages: 124-138
- Section: Articles
- URL: https://bakhtiniada.ru/0424-8570/article/view/263797
- DOI: https://doi.org/10.31857/S0424857024020028
- EDN: https://elibrary.ru/RFPWWT
- ID: 263797
Cite item
Full Text
Abstract
The structural characteristics of loose zinc deposits obtained in pulsed potential modes were calculated using a phenomenological model. Increasing the duty cycle leads to increased anodic dissolution during pauses and obtaining denser deposits, due to the formation of dendrites with fewer vertices, but with a larger diameter compared to deposits obtained in the potentiostatic mode. The linear dependence of the diameter of the tips of dendrites forming a loose zinc deposit on the duty cycle was found. It is shown that there is a critical time corresponding to the achievement of zero deposit growth rate when the metal deposited during the pulse will completely dissolve during the pause.
Keywords
Full Text
ВВЕДЕНИЕ
Порошки цинка применяются в химической энергетике при производстве химических источников тока (ХИТ) [1–3], лакокрасочной промышленности в цинкнаполненных покрытиях [4, 5], гидрометаллургии для очистки растворов от примесей методом цементации [6] и в солнечных термохимических циклах разложения воды для получения возобновляемого водорода [7–12]. В зависимости от назначения порошков они должны содержать частицы различного размера и формы. Для достижения высоких разрядных характеристик серебряно-цинковых биполярных батарей необходимы высокопористые цинковые электроды, которые изготавливают из порошков с высокой удельной поверхностью [13]. Такие электроды позволяют снизить перенапряжение электродов ХИТ, сохраняя их производительность [14].
Для производства порошков цинка используют различные методы. Преимуществами электролитического способа получения рыхлых осадков цинка являются разветвленная дендритная форма частиц и возможность регулирования их размера путем изменения параметров электролиза.
В промышленности металлические порошки получают электролизом при задании постоянного тока, превышающего предельный ток. При этом форма и размер дендритных частиц зависят от величины задаваемого тока и времени роста осадка [15]. Однако в ходе гальваностатического электролиза меняются скорости процессов восстановления металла и водорода из-за развития поверхности осадка и, как следствие, снижаются диффузионные ограничения по доставке разряжающихся ионов. Вследствие этого образуются осадки с неоднородными свойствами.
Процесс электроосаждения при постоянном потенциале позволяет поддерживать постоянными скорости парциальных процессов и их соотношения, в результате чего получаются равномерные по структуре и морфологии осадки [16, 17]. Для получения однородных по структурным свойствам рыхлых осадков в течение продолжительного электролиза можно использовать импульсные потенциостатические режимы, представляющие собой чередование импульсов потенциала и пауз. Импульсные режимы электролиза [18–26] открывают широкие возможности для получения осадков, различных по морфологии и свойствам: от компактных до рыхлых и высокопористых, состоящих из мельчайших дендритных частиц.
В потенциостатическом режиме процесс осаждения металла характеризуется постоянной скоростью, зависящей от величины потенциала [16]. В соответствующих импульсных режимах наблюдаются анодные токи в период пауз, что приводит к изменению морфологии частиц осадка [25, 26], по сравнению с потенциостатическим режимом. С наличием анодных токов в импульсных режимах связана трудность в адекватной модельной оценке структурных свойств рыхлых осадков (плотности, радиуса и числа вершин дендритов). Поэтому важную роль приобретает модельное описание процесса электроосаждения, позволяющее прогнозировать свойства рыхлых осадков в зависимости от условий электролиза в импульсных режимах задания потенциала.
Для описания процессов электроосаждения и свойств рыхлых осадков металлов используют различные модели. Деспич, Диггль и Бокрис [27] исследовали механизм образования и роста дендритов цинка в цинкатных растворах в потенциостатических условиях и получили уравнение, описывающее зависимость длины дендритов цинка от времени при постоянном перенапряжении. Авторами были введены такие показатели, характеризующие образование дендритов, как критический ток, соответствующий предельному току линейной диффузии, и критическое перенапряжение.
Попов с сотрудниками [17, 28] дополнили понятие о критическом перенапряжении, введя понятие индукционного времени образования дендритов, в течение которого происходит осаждение компактного металла со скоростью, равной предельной плотности тока.
В работах Мурашовой и коллег [29–31] предлагалась модель развития рыхлого осадка, позволяющая определять скорость его роста в зависимости от условий гальваностатического электролиза. Для описания динамики роста дендритного осадка на цилиндрическом электроде, сопровождающегося побочным процессом восстановления водорода, было учтено изменение выхода осадка по току [32].
Вышеперечисленные модели предполагали использование сложного математического аппарата и большого количества экспериментально определяемых параметров процессов восстановления металла и водорода. В отличие от них феноменологическая модель [33] позволяет описать изменение структурных свойств рыхлых осадков меди и цинка, используя эмпирические зависимости скорости роста осадка и выхода металла по току от времени. Использование этой модели позволило рассчитать время образования корки на поверхности рыхлых осадков меди и цинка при их электроосаждении в гальваностатическом режиме [33] и режиме импульсного тока [34], а также оценить число вершин дендритов на фронте роста, их диаметр и среднее расстояние между их центрами. Возможность использования данной модели для оценки изменения структурных свойств рыхлых осадков, полученных в импульсных режимах задания потенциала, ранее не оценивали.
Целью данной работы является адаптация феноменологической модели описания процесса формирования рыхлых осадков цинка для прогнозирования изменения структурных свойств осадков по толщине в стационарных и импульсных режимах потенциала.
ЭКСПЕРИМЕНТАЛЬНАЯ ЧАСТЬ
Рыхлые осадки цинка получали в потенциостатических условиях и при импульсном задании потенциала из цинкатного раствора, содержащего 0.3 М ZnO и 4 М NaOH.
В потенциостатическом режиме задавали постоянный потенциал, равный –0.38 В относительно неполяризованного цинкового электрода в исследуемом растворе [25]. При этом потенциале сила тока в момент включения была примерно в 6 раз выше стационарного предельного диффузионного тока на электроде с гладкой поверхностью. Известно [1], что при таком токе цинк восстанавливается из водных щелочных растворов в условиях высоких диффузионных ограничений совместно с водородом:
Наличие высоких диффузионных ограничений разряда комплексных ионов цинка обеспечивает кристаллизацию металла в форме рыхлого дендритного осадка.
Импульсный потенциостатический режим представлял собой чередование импульсов потенциала и пауз. Во время импульсов потенциал был равен –0.38 В относительно цинкового электрода сравнения. Ранее было показано [25], что в широкой области концентраций цинката натрия цинковый электрод может служить электродом сравнения.
Длительность импульса (τimp) и паузы (τp) изменяли от 10 до 30 с интервалом 10 с (табл. 1). Для характеристики импульсных режимов использовали величину скважности (С): С = (τimp + + τp) / τimp = 1 + τp / τimp. Если τp → 0, то С → 1, что соответствует стационарному режиму, поэтому в целях удобства представления результатов было принято считать С = 1 для потенциостатического режима (табл. 1).
Таблица 1. Условия электроосаждения рыхлых осадков цинка
Режим поляризации | τimp, с | С | τp = τimp(C – 1), с |
Импульсный | 10 | 4.0 | 30 |
20 | 2.5 | 30 | |
30 | 2.0 | 30 | |
30 | 1.7 | 20 | |
30 | 1.3 | 10 | |
Потенциостатический | – | 1.0 | 0 |
Получение рыхлых осадков цинка проводили в электрохимической ячейке с разделенными анодным и катодным пространствами, подключенной по трехэлектродной схеме, при температуре 25 °С. Поляризацию рабочего электрода и электрохимические измерения проводили с помощью электрохимической станции Solartron 1280C (Solartron Analytical, Англия). Рабочий электрод штырькового типа диаметром d0 = 0.2 см и высотой H = 1 см был изготовлен из цинковой проволоки. Площадь исходной рабочей поверхности гладко цинкового электрода составляла 0.66 см2. Воспроизводимость состояния электрода перед каждым опытом обеспечивали путем тщательной механической зачистки поверхности, обезжириванием в растворе Na2CO3, травлением в разбавленном растворе азотной кислоты, промывкой в дистиллированной воде и сушкой на воздухе. Вспомогательный электрод из пластины цинка располагали вокруг рабочего электрода, оставляя окно для видеофиксации процесса. Потенциал измеряли относительно цинкового электрода сравнения, обратимого относительно ионов [Zn(OH)4]2– в исследуемом растворе.
Процесс электроосаждения рыхлых осадков цинка непрерывно фиксировали с помощью видеокамеры Sony DSR-200SE. Одновременно осуществляли сбор выделяющегося водорода в бюретку, расположенную над рабочим электродом [25, 33].
Диаметр электрода с осадком (D = d0 + 2y) измеряли по видеозаписи процесса его роста с помощью компьютерных программ KMPlayer и JRuler. Замеры проводили в трех местах по высоте электрода, затем находили среднее значение толщины осадка (y(t)) как половину прироста диаметра электрода с осадком (рис. 1, уравнение (1)):
(1)
Рис. 1. Схема (а) и фото (б) цилиндрического электрода высотой H со слоем рыхлого осадка толщиной у(t); d0 – начальный диаметр электрода; D(t) – диаметр электрода с осадком в момент времени t.
По объему выделившегося газа определяли выход водорода по току (CeH2), а затем рассчитывали выход цинка по току (CeZn):
(2)
где F – постоянная Фарадея, F = 96500 Кл моль–1; VН2, stp – объем выделившегося водорода, приведенный к нормальным условиям (Т0 = 273 К, Р0 = 760 мм рт. ст.) с учетом давления насыщенного водяного пара и высоты столба жидкости, л; ϑg = 22.4 л·моль–1 – мольный объем газа; Q – количество электричества, Кл.
Количество электричества определяли, интегрируя экспериментальную зависимость силы тока от времени. В импульсных режимах учитывали изменение катодного тока в течение каждого импульса.
По объему выделившегося газа ΔVH2, stp за интервал времени Δt определяли дифференциальный выход водорода по току CedH2 и цинка CedZn. Дифференциальный выход по току соответствует выходу по току в конкретный промежуток времени:
(3)
По окончании электролиза электрод с осадком извлекали из рабочего раствора и тщательно промывали дистиллированной водой, затем осадок счищали с электрода и сушили при комнатной температуре. Исследования морфологии отдельных частиц рыхлых осадков цинка были проведены на сканирующем микроскопе Mira 3 LMU (Teskan, Чехия).
ТЕОРЕТИЧЕСКАЯ ЧАСТЬ
В условиях высоких диффузионных ограничений осаждение металла протекает на вершинах дендритов [35] при плотности тока, равной предельной плотности тока сферической диффузии. При этом в связи с малым радиусом вершины предельный ток является стационарным в соответствии с теорией микроэлектрода [36]:
(4)
где z – число электронов; Di – коэффициент диффузии разряжающихся ионов, м2·с–1; C0 – концентрация разряжающихся ионов, моль·м–3; rtips – средний радиус вершин дендритов, м.
В соответствии с законом Фарадея скорость роста осадка определяется плотностью тока на вершинах [16]:
(5)
где VZn – мольный объем цинка, м3·моль–1, itips – плотность тока на вершинах дендритов, А·м–2.
Совместное решение уравнений (4) и (5) позволяет найти средний радиус вершин дендритов, если известен вид зависимости изменения толщины осадка во времени:
(6)
Скорость осаждения цинка в любой момент времени зависит от величины тока и от дифференциального выхода цинка по току:
(7)
С учетом количества вершин на фронте роста осадка (N) и средней площади вершины дендрита (Stips) можно записать:
(8)
где ρZn – плотность металлического цинка, равная ρZn = 7.14 г·см-3 [37].
Совместное решение уравнений (7) и (8) позволяет определить, как меняется во времени число растущих вершин:
(9)
При осаждении на цилиндрический катод начального диаметра d0 и высотой Н плотность расположения вершин дендритов, т. е. их количество на единице фронта роста рыхлого осадка, равно:
(10)
Среднее расстояние между центрами вершин дендритов (g) в любой момент времени зависит от плотности точек роста на внешней поверхности осадка (Nsp):
(11)
Таким образом, для моделирования процесса электроосаждения рыхлого осадка цинка в режимах задания постоянного и импульсного потенциала необходимо знать зависимости y(t), CedZn(t) и I(t).
РЕЗУЛЬТАТЫ И ОБСУЖДЕНИЕ
Изменение силы тока, толщины осадков и дифференциального выхода цинка по току во времени
Во всех режимах задания потенциала величина тока изменялась во времени.
В потенциостатических условиях плотность тока, характеризующая скорость электродных процессов, постоянна. При интенсивном развитии поверхности рыхлого осадка это приводит к росту величины тока (рис. 2).
Рис. 2. Изменение силы тока во времени при осаждении цинка в потенциостатическом режиме (E = –0.38 В).
Пузырьки газообразного водорода, выделяющегося параллельно с осаждением цинка, блокируют часть поверхности электрода, а их отрыв приводит к увеличению поверхности. С этим связаны колебания тока на амперограмме (рис. 2).
В импульсных режимах форма профиля тока в импульсе и следующей за ним паузе сохраняется на протяжении всего времени электролиза (рис. 3). В начале импульса происходит резкий скачок тока и его спад, обусловленный уменьшением концентрации разряжающихся ионов цинка у поверхности электрода до нуля, затем следует площадка тока (рис. 3, врезка). Вследствие развития поверхности ток в импульсе увеличивался в течение электролиза.
Рис. 3. Изменение тока в процессе осаждения цинка в импульсном режиме задания потенциала (С = 2.5, τimp/τp = 20 с / 30 с). На врезке увеличенное изображение 47-го и 48-го циклов электролиза.
В период паузы цепь не разрывается, а на электрод подается потенциал электрода сравнения. При этом потенциал электрода с осадком становится более отрицательным по отношению к потенциалу электрода сравнения. Обусловлено это двумя причинами. Во-первых, меньшей концентрацией разряжающихся ионов в приэлектродном слое по сравнению с объемом раствора. Во-вторых, тем, что потенциал вершин дендритов малого радиуса кривизны отрицательнее потенциала плоской поверхности электрода сравнения [16, 35]. Вследствие этого в период пауз на электроде протекает анодный процесс растворения вершин дендритных частиц цинка, расположенных на фронте роста осадка. В процессе электролиза анодный ток растет.
Как в стационарном, так и импульсных режимах задания потенциала осадки цинка в исследованных условиях растут с постоянной скоростью (рис. 4), поэтому для аппроксимации экспериментальных зависимостей y(t) было использовано линейное уравнение вида [25, 26]:
(12)
где k0 = dy/dt – эмпирический коэффициент, соответствующий скорости роста осадка, м·с-1.
Рис. 4. Изменение толщины рыхлых осадков цинка во времени электролиза. Цифрами на графиках указаны значения скважности. Маркеры – экспериментальные данные; линия – аппроксимация по уравнению (12).
Поскольку скорость роста рыхлых осадков цинка остается постоянной в процессе осаждения (рис. 4), то, в соответствии с уравнением (6), диаметр вершин дендритных частиц, а следовательно, и их ветвей не меняется как в ходе потенциостатического, так и соответствующих импульсных режимов электролиза.
Чем выше скважность С, тем меньше скорость роста k0 осадка за счет повышения анодного количества электричества в период пауз по сравнению с катодным восстановлением металла во время импульсов. Вследствие анодного растворения и диффузии в период пауз концентрация ионов цинка в порах осадка увеличивается, что приводит к снижению диффузионных ограничений и уменьшению скорости удлинения дендритов в импульсном режиме, по сравнению с электролизом при постоянном потенциале (рис. 4). Для дальнейших модельных расчетов были использованы значения k0, найденные путем линейной аппроксимации экспериментальных зависимостей y от общего времени электролиза (табл. 2).
Таблица 2. Коэффициенты уравнений, аппроксимирующих зависимости толщины и дифференциального выхода по току от времени
Скважность, С | k0, м∙с-1 | a | b, с-1 | c |
4.0 | 1.63∙10-7 | 12.44 | 0.01 | 14.52 |
2.5 | 2.65∙10-7 | 9.11 | 0.02 | 10.47 |
2.0 | 3.42∙10-7 | 8.81 | 0.02 | 10.29 |
1.7 | 5.67∙10-7 | 8.66 | 0.02 | 10.28 |
1.3 | 6.60∙10-7 | 9.28 | 0.01 | 10.23 |
1.0 | 1.12∙10-6 | 9.66 | 0.003 | 11.05 |
Динамика изменения дифференциального выхода по току во времени в стационарном и импульсных режимах задания потенциала характеризуется постепенным увеличением до некоего предельного значения (рис. 5). При задании постоянного потенциала сила тока была значительно выше, чем площадки катодных токов в импульсах (рис. 2, 3). Это является причиной более интенсивного выделения водорода и, как следствие, низкого выхода цинка по току в стационарном режиме. Повышение скважности С способствует росту выхода цинка по току из-за увеличения концентрации цинкатных ионов у поверхности электрода за счет растворения металла и диффузии ионов в период пауз.
Рис. 5. Изменение дифференциального выхода цинка по току во времени электролиза. Цифрами на графике указаны значения скважности. Маркеры – экспериментальные данные; линия – аппроксимация по уравнению (13).
Ранее было показано [38], что экспериментальные зависимости дифференциального выхода по току от времени осаждения рыхлых осадков цинка в гальваностатическом режиме электролиза могут быть описаны с помощью эмпирического уравнения:
(13)
где а, b, c – эмпирические коэффициенты.
Зависимости выхода по току для потенциостатических импульсных режимов от времени электролиза аппроксимировали по уравнению (13). Значения коэффициентов а, b, c (табл. 2) определяли методом минимизации суммы квадратов отклонений экспериментальных значений от рассчитанных по уравнению (13). С повышением скважности уменьшаются коэффициенты a, c. Отклонения экспериментальных данных от аппроксимирующих зависимостей связаны главным образом с тем, что пузырьки водорода могут задерживаться на поверхности и в глубине рыхлого осадка.
Для модельных расчетов по уравнениям (7) и (9) необходимо знать зависимость силы тока от времени. Однако из-за изменения тока во время импульсов, наличия анодных токов в период пауз, а также изменения выхода по току практически возможным является определение количества электричества, затраченного на осаждение цинка. В связи с этим уравнения модели (7) и (9) можно записать в следующем виде:
(14)
(15)
Количество электричества определяли методом численного интегрирования экспериментальных зависимостей I(t) [26] с учетом дифференциального выхода по току.
В режиме задания постоянного потенциала количество электричества на осаждение цинка рассчитывали по уравнению:
(16)
Здесь I(ti), I(ti – 1) – токи в моменты времени ti и ti–1, А; – значения дифференциального выхода цинка по току в моменты времени ti и ti – 1; Δt = ti – ti – 1 – интервал времени при интегрировании, с; i = 1…s – количество шагов по времени, на которые разбивали зависимость I(t) при численном интегрировании, s = t* / Δt.
В импульсных режимах потенциала при расчете эффективного количества электричества, затраченного на формирование осадка, учитывали осаждение цинка в период импульсов и его растворение во время пауз:
(17)
(18)
Во время пауз растворение цинка было единственным процессом, т. е. выход металла по току равен 1, поэтому анодное количество электричества рассчитывали по уравнению:
(19)
Здесь Ic(ti), Ic(ti–1) – катодные токи в моменты времени ti и ti–1, А; Ia(ti), Ia(ti–1) – анодные токи в моменты времени ti и ti–1, А; j = 1…k – номер цикла; – количество циклов импульс-пауза за время t*; i = 1…m – количество шагов по времени, на которые разбивали зависимости Iс(t) и Ia(t) в течение каждого импульса (или паузы). Катодные токи в расчетах брали с положительным знаком, а анодные – с отрицательным.
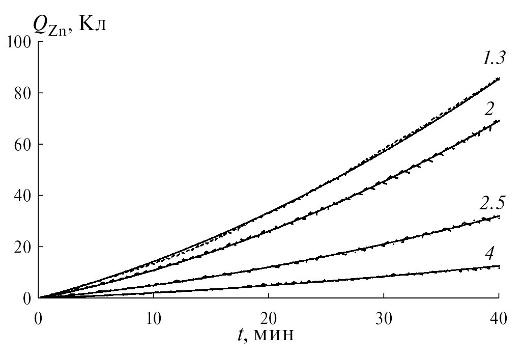
Расчетные зависимости количества электричества от времени электролиза показаны на рис. 6 и 7. Количество электричества увеличивается во времени во всех исследованных режимах. С повышением скважности количество электричества на осаждение цинка уменьшается за счет увеличения анодного тока растворения цинка в период пауз.
Рис. 6. Суммарное количество электричества в потенциостатическом режиме (С = 1). На врезке увеличенное изображение первых минут электролиза. Пунктирная линия – кривая, полученная численным интегрированием зависимости I(t) (уравнение (16)); сплошная линия – аппроксимация с помощью полинома (20).
Рис. 7. Эффективное количество электричества в импульсных режимах задания потенциала. Цифрами на графике указаны значения скважности. Пунктирная линия – кривая, полученная численным интегрированием зависимости I(t) (уравнение (17)); сплошная линия – аппроксимация с помощью полинома (20).
Зависимости QZn(t) удалось описать полиномом второго порядка:
(20)
где Z, Y – эмпирические коэффициенты, которые определяли методом минимизации суммы квадратов отклонений рассчитанных значений QZn(t) от экспериментальных, [Z] = [А·с-1], [Y] = [А]. Значения эмпирических коэффициентов уравнения (20) для исследованных режимов представлены в табл. 3. Коэффициенты детерминации R2 близки к 1 (табл. 3), что свидетельствует о хорошей аппроксимации.
Таблица 3. Параметры для аппроксимации зависимостей количества электричества от времени в режимах задания потенциала с помощью полинома (20)
Скважность, C | Z, А∙с–1 | Y, А | R2 |
4.0 | 5.37∙10-5 | 0.0031 | 0.9952 |
2.5 | 1.60∙10-4 | 0.0070 | 0.9983 |
2.0 | 3.49∙10-4 | 0.0149 | 0.9996 |
1.7 | 3.30∙10-4 | 0.0132 | 0.9997 |
1.3 | 3.85∙10-4 | 0.0202 | 0.9997 |
1.0 | 5.08∙10-2 | 0.0569 | 0.9999 |
Анализ результатов численного моделирования с помощью феноменологической модели
Полученные эмпирические зависимости толщины осадка (уравнение (12)), выхода цинка по току (уравнение (13)), эффективного количества электричества, затраченного на формирование цинка (уравнение (20)), от времени электролиза были использованы для расчета с помощью феноменологической модели структурных свойств рыхлых осадков цинка (диаметра вершин дендритов, их количества и плотности осадков) в стационарных и импульсных режимах задания потенциала.
По уравнениям (15) и (10) рассчитывали число вершин (N) и их плотность на единице поверхности фронта роста осадка (Nsp) за общее время электролиза. Для прогнозирования хода кривых N(t) и Nsp(t) расчет был проведен за интервал времени, превышающий время экспериментов по электроосаждению осадков.
На всех расчетных кривых наблюдается линейное увеличение числа образующихся дендритов во времени (рис. 8, пунктирные линии). В потенциостатическом режиме (рис. 8а, сплошная линия) в первые моменты плотность расположения вершин максимальна, а затем незначительно уменьшается по мере интенсивного развития поверхности осадка. В начальный период импульсного электролиза катодное количество электричества растет с каждым следующим импульсом и преобладает над анодным в период пауз [26], что приводит к увеличению Nsp со временем. Со временем катодное и анодное количество электричества становятся близки по абсолютной величине, и, как следствие, интенсивности процессов катодного осаждения и анодного растворения цинка становятся сопоставимыми [26]. Это обуславливает выход Nsp на предельное значение (рис. 8б, сплошные линии).
Рис. 8. Изменение количества и плотности расположения вершин дендритов на фронте роста осадка в стационарном (а) и импульсных режимах задания потенциала (б). Цифрами на графиках обозначены значения скважности. Сплошные линии – кривые Nsp; пунктирные линии – кривые N.
С повышением скважности уменьшается количество вершин дендритов (рис. 8б, пунктирные линии) и плотность их расположения на поверхности рыхлого осадка Nsp (рис. 8б, сплошные линии). Вследствие этого возрастает среднее расстояние g между вершинами, рассчитанное по уравнению (11). При С = 1 (рис. 9) g мало меняется во времени. В импульсных режимах (C > 1) расстояние между вершинами в процессе роста осадка плавно уменьшается от некоторого максимального значения до постоянного. Это может быть связано с тем, что становятся сопоставимы количества электричества в импульсе (период катодного осаждения) и в паузе (период анодного растворения).
Рис. 9. Изменение среднего расстояния между вершинами дендритов цинка во времени в разных режимах задания потенциала. Цифрами на графике обозначены значения скважности.
Диаметры вершин дендритов цинка в несколько раз меньше среднего расстояния между ними (табл. 4, рис. 9), поэтому на фронте роста не происходит срастания отдельных ветвей и образования сплошной корки металла, в отличие от гальваностатического режима [33].
Таблица 4. Расчетные диаметры вершин дендритов цинка
Скважность, С | 1 | 1.3 | 1.7 | 2 | 2.5 | 4 |
2rtips, мкм | 3.5 | 5.9 | 6.8 | 11.3 | 14.6 | 23.7 |
Анализ результатов расчетов показал, что диаметр вершин линейно зависит от скважности импульсных потенциостатических режимов (рис. 10). Повышение скважности приводит к укрупнению вершин дендритов в связи с усилением анодного растворения в период пауз. В условиях потенциостатического режима (С = 1) диаметр вершин дендритов минимален (3.5 мкм) для заданного потенциала.
Рис. 10. Зависимость диаметра вершин дендритов от скважности.
Во время первого импульса скорость роста в стационарном и импульсных режимах задания потенциала одинаковы, однако уже в первую паузу начинается растворение цинка, которое усиливается по мере увеличения количества циклов. Следствием этого является снижение скорости роста осадка и формирование дендритов с более крупными вершинами в импульсных режимах. Когда время паузы велико, скорость роста осадка мала и формируется мало дендритов на единице площади фронта роста, а их центры расположены далеко друг от друга, но диаметр вершин при этом самый большой.
Значение плотности осадка на момент времени ti можно рассчитать по экспериментальным данным как отношение приращений массы и габаритного объема осадка за интервал времени Δt = ti – ti–1:
(21)
Габаритный объем рыхлого осадка (Vdep) определяли как разницу объемов электрода с осадком и электрода-основы:
(22)
Для расчетов плотности рыхлого осадка по экспериментальным данным необходимо знать изменение его объема за определенные промежутки времени. С этой целью запишем изменение объема в соответствии с уравнением (22) в дискретном виде:
(23)
где yi и yi–1 – экспериментальные значения толщины осадков в моменты времени ti и ti–1; i = 1…n – порядковый номер измерения.
Массу осадка цинка рассчитывали по закону Фарадея:
(24)
Изменение массы запишем в следующем виде:
(25)
С учетом уравнений (23) и (25) получаем:
(26)
Величина ρddep представляет собой плотность слоя рыхлого осадка и при малых Δt соответствует дифференциальной плотности. ρddep позволяет оценить, как меняется плотность по толщине рыхлого слоя. Для расчета ρddep использовали экспериментальные зависимости толщины осадка и количества электричества от времени электролиза.
Плотность рыхлых осадков цинка также рассчитывали с помощью феноменологической модели. Если предположить, что за небольшой интервал времени количество вершин на поверхности существенно не изменяется, то в соответствии с уравнением (8) можно рассчитать изменение массы осадка, зная площадь вершин на поверхности:
(27)
Площадь одной вершины Stips рассчитывали как площадь полусферы радиуса rtips: Stips = 2πr2tips, а изменение толщины осадка Δy с учетом уравнения (12) равно Δy = k0Δt. Окончательно выражение для изменения массы осадка примет вид:
(28)
Изменение объема осадка за интервал времени Δt рассчитывали по уравнению (23) с учетом эмпирической зависимости толщины осадка от времени (уравнение (12)):
(29)
Таким образом, дифференциальная плотность осадка, оцениваемая по модели, равна:
(30)
rtips и N в уравнении (30) рассчитывали по уравнениям модели (6) и (15).
На рис. 11 видно, что наблюдается хорошее соответствие значений дифференциальной плотности, рассчитанных по экспериментальным данным (уравнение (26)) и по модели (уравнение (30)).
Рис. 11. Изменение плотности рыхлого осадка цинка по его толщине. Цифрами на графике обозначены значения скважности. Маркеры – экспериментальные значения, полученные по уравнению (26) с использованием опытных значений y, CedZn и QZn; линии – аппроксимация по уравнению (30).
В импульсных режимах задания потенциала наблюдается небольшое увеличение плотности по толщине рыхлых осадков (рис. 11), в то время как в потенциостатическом режиме она остается примерно постоянной (~0.26 г·см-3). С повышением скважности плотность осадков увеличивается, но при этом остается существенно меньше плотности компактного цинка (7.1 г·см-3).
Для оценки влияния параметров импульсных режимов на изменение структурных свойств осадков использовали соотношение катодного и анодного количества электричества в j-м цикле (j = 1…k) [26]:
(31)
где QZn, c, j, QZn, a, j – катодное и анодное количества электричества, рассчитанные численным интегрированием опытных зависимостей Ic(t) и Ia(t) в j-м цикле, Кл.
Расчеты показали, что в логарифмических координатах зависимость θ от времени линейна (рис. 12). Величина θ уменьшается в процессе электролиза, что подтверждает увеличение анодного количества электричества в период пауз. Повышение скважности приводит к общему снижению θ и, как следствие, к образованию более плотных осадков в импульсных режимах (рис. 11) при одинаковой толщине рыхлого слоя.
Рис. 12. Изменение соотношения между катодным и анодным количествами электричества во времени электролиза. Цифрами на графиках обозначены значения скважности.
При θ > 1 (ln θ > 0) на электроде при задании потенциалов, более отрицательных, чем потенциалы площадки предельного тока, образуется рыхлый осадок. Значения θ = 1 в j-м цикле означает, что количества металла, выделившегося на электроде во время импульса и растворившегося за время паузы, равны. Этим условиям должна соответствовать некоторая предельная, или критическая, толщина рыхлого осадка ycr. Эту величину можно количественно оценить, определив момент времени, при котором ln θ = 0 на рис. 12, и зная параметры эмпирического уравнения (12) для толщины осадка (табл. 2). Так, при C = 4 критическая толщина может быть достигнута через 215 мин (3.6 ч): ycr = 1.63∙10–7 · 215 · 60 · 100 = 0.21 см. Этой толщине осадка соответствует значение теоретической плотности (уравнение (31)), приближенно равное 4.8 г см–3, что меньше плотности компактного цинка (7.1 г см–3). Полученные таким образом значения ycr приведены в табл. 5.
Значения ycr в табл. 5 намного превышают экспериментально измеренные толщины осадков. Повышение скважности приводит к снижению ycr, поскольку уменьшается θ, т. е. усиливается анодное растворение в период пауз в каждом новом цикле. Реально получить рыхлые осадки цинка критической толщины даже для С = 4 невозможно, так как под действием собственного веса дендритные частицы начнут осыпаться и условия электроосаждения изменятся.
Таблица 5. Значения критической толщины рыхлых осадков в импульсных режимах потенциала
Скважность, С | 1.3 | 1.7 | 2 | 2.5 | 4 |
ycr, см | 7.32 | 3.79 | 2.73 | 2.11 | 0.21 |
Модельные расчеты диаметра вершин и плотности осадков, полученных в разных режимах задания потенциала, соотносятся с наблюдаемым изменением морфологии частиц. При задании постоянного потенциала формируются дендриты из наноразмерных пластин, имеющие ажурную форму (рис. 13а). В режиме импульсного задания потенциала за счет анодных токов в период пауз в первую очередь растворяются последние образовавшиеся кристаллиты, а ветвление, реализующееся за счет образования и роста зародышей, становится невозможным. Концентрация в объеме осадка в период пауз повышается, и, как следствие, дендриты растут в основном за счет утолщения уже образовавшихся ветвей путем кристаллизации по винтовой дислокации. В результате формируются массивные папоротниковидные дендриты с четкой кристаллографической огранкой (рис. 13б).
Рис. 13. Микрофотографии рыхлых осадков цинка, полученных в потенциостатическом (а) и импульсном режиме (30 с / 30 с, С = 2) (б). Время осаждения 10 мин.
ЗАКЛЮЧЕНИЕ
- Получены эмпирические уравнения для расчета изменения толщины рыхлого осадка, выхода по току и эффективного количества электричества, затраченного на осаждение цинка, в режимах импульсного задания потенциала.
- С помощью феноменологической модели рассчитано изменение по толщине осадка диаметра вершин дендритов и плотности их размещения, а также плотности рыхлых осадков цинка в стационарном и импульсных режимах задания потенциала. Рассчитанные и экспериментальные зависимости изменения плотности по толщине осадка хорошо согласуются между собой.
- Установлена линейная зависимость диаметра вершин дендритов, образующих рыхлый осадок цинка, от скважности при импульсных потенциостатических условиях электролиза.
- Повышение скважности приводит к усилению анодного растворения в период пауз и получению более плотных осадков, образованных дендритами с вершинами большего диаметра и с меньшим их количеством.
- Показано, что при электроосаждении в импульсных режимах задания потенциала в области предельных диффузионных плотностей тока существует критическое время, соответствующее достижению нулевой скорости роста осадка, когда металл, осажденный за время импульса, будет полностью растворяться во время паузы.
БЛАГОДАРНОСТИ
Авторы благодарят С.Л. Демакова, доцента Уральского федерального университета имени первого Президента России Б.Н. Ельцина, за анализ микроструктуры рыхлых осадков цинка.
ФИНАНСИРОВАНИЕ РАБОТЫ
Исследование выполнено при финансовой поддержке Министерства науки и высшего образования Российской Федерации в рамках Программы развития Уральского федерального университета имени первого Президента России Б.Н. Ельцина в соответствии с программой стратегического академического лидерства “Приоритет-2030”.
КОНФЛИКТ ИНТЕРЕСОВ
Авторы заявляют, что у них нет конфликта интересов.
About the authors
V. S. Nikitin
Ural Federal University named after the first President of Russia B.N. Yeltsin
Author for correspondence.
Email: nikitin-viachieslav@mail.ru
Institute of Chemical Engineering
Russian Federation, YekaterinburgT. N. Ostanina
Ural Federal University named after the first President of Russia B.N. Yeltsin
Email: ostni@mail.ru
Institute of Chemical Engineering
Russian Federation, YekaterinburgV. M. Rudoy
Ural Federal University named after the first President of Russia B.N. Yeltsin
Email: nikitin-viachieslav@mail.ru
Institute of Chemical Engineering
Russian Federation, YekaterinburgReferences
- Sharifi, B., Mojtahedi, M., Goodarzi, М., and Vahdati, K.J., Effect of alkaline electrolysis conditions on current efficiency and morphology of zinc powder, Hydrometallurgy, 2009, vol. 99, p. 72.
- Коровин, Н.В., Скундин, А.М. Химические источники тока: Справочник, М.: Изд-во МЭИ, 2003. 740 с. [Korovin, N.V. and Skundin, A.M., Chemical sources of current: Handbook (in Russian), Moscow: Publ. House of MEI, 2003. 740 p.]
- Кромптон, Т.Р. Первичные источники тока (пер. с англ.), М.: Мир, 1986. 328 с. [Crompton, T.R., Small Batteries: Primary Cells, London, Basingstoke: The Macmillan Press Ltd., 1982. 241 p.]
- Толстошеева, С.И., Степин, С.Н., Давыдова, М.С., Вахин, А.В. Влияние наноразмерного цинкового порошка на защитные свойства протекторных покрытий. Вестник КТУ. 2012. Т. 15. С. 98. [Tolstosheeva, S.I., Stepin, S.N., Davydova, M.S., and Vakhin, A.V., The effect of nanoscale zinc powder on the protective properties of tread coatings, Vestnik Kazanskovo Tekhnologicheskovo Universiteta (in Russian), 2012, vol. 15, p. 98.]
- Таныгина, Е.Д., Пономарева, М.В., Прусаков, А.В., Урядников, А.А. Модифицированные порошком цинка и графита антикоррозионные составы на основе продуктов рафинирования низкоэрукового рапсового масла. Вестник ТГУ. 2009. Т. 14. С. 100. [Tanygina, E.D., Ponomareva, M.V., Prusakov, A.V., and Uryadnikov, A.A., Anticorrosive compositions modified with zinc and graphite powder based on refining products of low-grade rapeseed oil, Vestnik Tomskovo Gosudarstvennovo Universiteta (in Russian), 2009, vol. 14, p. 100.]
- Алкацев, М.И. Процессы цементации в цветной металлургии. М.: Металлургия, 1981. 116 с. [Alkatsev, M.I., Cementation processes in non-ferrous metallurgy (in Russian), Moscow: Metallurgy, 1981. 116 p.]
- Steinfeld, A., Solar thermochemical production of hydrogen – a review, Sol. Energy, 2005, vol. 78, p. 603.
- Villasmil, W., Meier, A., and Steinfeld, A., Dynamic modeling of a solar reactor for zinc oxide thermal dissociation and experimental validation using IR thermography, J. Sol. Energy Eng., 2014, vol. 6, p. 010901.
- Weidenkaff, A., Steinfeld, A., Wokaun, A., Auer, P., Eichler, B., and Reller, A., Direct solar thermal dissociation of zinc oxide: condensation and crystallisation of zinc in the presence of oxygen, Sol. Energy, 1999, vol. 65, p. 59.
- Vishnevetsky, I. and Epstein, M., Production of hydrogen from solar zinc in steam atmosphere, Intern. J. Hydrogen Energy, 2007, vol. 32, p. 2791.
- Bhosale, R.R., Solar hydrogen production via ZnO/Zn based thermochemical water splitting cycle: Effect of partial reduction of ZnO, Intern. J. Hydrogen Energy, 2020, vol. 46, p. 4739.
- Tamaura, Y., Kojima, M., Sano, T., Ueda, Y., Hasegawa, N., and Tsuji, M., Thermodynamic evaluation of water splitting by a cation-excessive (Ni, Mn) ferrite, Intern. J. Hydrogen Energy, 1998, vol. 23, p. 1185.
- Ullah, S., Badshah, A., Ahmed, F., Raza, R., Altaf, A.A., and Hussain, R., Electrodeposited zinc electrodes for high current Zn/AgO Bipolar Batteries, Intern. J. Electrochem. Sci., 11, p. 3801.
- Neikov, O.D., Nabojchenko, S.S., Murashova, I.B., Gopienko, V.G., Frishberg, I.V., and Lotsko D.V., Handbook of Non-ferrous Metal Powders: Technologies and applications, London, N-Y, Amsterdam: Elsevier, 2009. 634 p.
- Помосов, А.В., Мурашова, И.Б. Исследование влияния режимов электролиза на дисперсность и насыпной вес никелевого порошка. Порошковая металлургия. 1966. № 6. С. 1. [Pomosov, A.V. and Murashova, I.B., Investigation of the effect of electrolysis modes on the dispersion and bulk weight of nickel powder, Poroshkovaya Metallurgiya (in Russian), 1966, no. 6, p. 1.]
- Diggle, J.W., Despić, A.R., and Bockris, J.O’M., The mechanism of the dendritic electrocrystallization of zinc, J. Electrochem. Soc., 1969, vol. 116, p. 1503.
- Popov, K.I., Djikić, L.М., Pavlović, M.J., and Maksimović, M.D., The critical overpotential for copper dendrite formation, J. Appl. Electrochem., 1979, vol. 9, p. 527.
- Nikolić, N.D., Branković, G., Maksimović, V.M., Pavlović, M.G., and Popov, K.I., Influence of potential pulse conditions on the formation of honeycomb-like copper electrodes, J. Electroanal. Chem., 2009, vol. 635, p. 111.
- Popov, K.I., Nikolić, N.D., Živković, P.M., Branković, G., and Popov, K.I., The effect of the electrode surface roughness at low level of coarseness on the polarization characteristics of electrochemical processes, Electrochim. Acta, 2010, vol. 55, p. 1919.
- Nikolić, N.D., Branković, G., and Popov, K.I., Optimization of electrolytic process of formation of open and porous copper electrodes by the pulsating current (PC) regime, Mater. Chem. and Phys., 11, vol. 5, p. 587.
- Nikolić, N.D., Branković, G., and Pavlović, M.G., Correlate between morphology of powder particles obtained by the different regimes of electrolysis and the quantity of evolved hydrogen, Powder Technol., 2012, vol. 221, p. 271.
- Nikolić, N.D. and Branković, G., Effect of parameters of square-wave pulsating current on copper electrodeposition in the hydrogen co-deposition range, Electrochem. Commun., 2010, vol. 12, p. 740.
- Nikolić, N.D., Branković, G., Maksimović, V.M., Pavlović, M.G., and Popov, K.I., Influence of potential pulse conditions on the formation of honeycomb-like copper electrodes, J. Electroanal. Chem., 2009, vol. 635, p. 111.
- Karimi Tabar Shafiei, F., Jafarzadeh, K., Madram, A.R., and Nikolić, N.D., A novel route for electrolytic production of very branchy copper dendrites under extreme conditions, J. Electrochem. Soc., 2021, vol. 8, p. 043502.
- Ostanina, T.N., Rudoy, V.M., Nikitin, V.S., Darintseva, A.B., and Demakov S.L., Change in the physical characteristics of the dendritic zinc deposits in the stationary and pulsating electrolysis, J. Electroanal. Chem., 2017, vol. 784, p. 13.
- Никитин, В.С., Останина, Т.Н., Рудой, В.М. Влияние параметров режима импульсного потенциала на концентрационные изменения в объеме рыхлого осадка цинка и его свойства. Электрохимия. 2018. Т. 54. С. 767. [Nikitin, V.S., Ostanina, T.N., and Rudoi, V.M., Effect of parameters of pulsed potential mode on concentration changes in the bulk loose zinc deposit and its properties, Russ. J. Electrochem., 2018, vol. 54, p. 665.]
- Despić, A.R., Diggle, J., and Bockris, J.O., Mechanism of formation of zinc dendrites, J. Electrochem. Soc., 1968, vol. 115, p. 507.
- Popov, K.J., Pavlović, M.G., Spasogević, M.D., and Nakić, V.M., The critical overpotential for zinc dendrite formation, J. Appl. Electrochem., 1979, vol. 9, p. 533.
- Мурашова, И.Б., Помосов, А.В., Эделева, Н.А. Динамическая модель развития дисперсного осадка в гальваностатических условиях: влияние кислотности электролита на кинетику роста дендритов. Электрохимия. 1979. Т. 15. С. 182. [Murashova, I.B., Pomosov, A.V., and Edeleva, N.A., Dynamic model of dispersed deposit development under galvanostatic conditions: The effect of electrolyte acidity on the kinetics of dendrite growth, Russ. J. Electrochem., 1979, vol. 15, p. 182.]
- Мурашова, И.Б., Помосов, А.В., Воробьев, В.И., Музгина, Е.В. Динамическая модель роста дендритного осадка в гальваностатических условиях: влияние материала катода на скорость роста дендритов. Электрохимия. 1981. Т. 27. С. 548. [Murashova, I.B., Pomosov, A.V., Vorobyov, V.I., and Muzgina, E.V., Dynamic model of dendritic deposit growth under galvanostatic conditions: Influence of cathode material on dendrite growth rate, Russ. J. Electrochem., 1981, vol. 27, p. 548.]
- Мурашова, И.Б., Помосов, А.В., Тишкина, Т.Н. Динамическая модель развития дисперсного осадка в гальваностатических условиях: влияние природы разряжающегося металла на динамику роста дендритов. Электрохимия. 1982. Т. 18. С. 449. [Murashova, I.B., Pomosov, A.V., and Tishkina, T.N., Dynamic model of dispersed deposit development under galvanostatic conditions: Influence of the nature of the discharged metal on the dynamics of dendrite growth, Russ. J. Electrochem., 1982, vol. 18, p. 449.]
- Мурашова, И.Б., Бурханова, Н.Г. Расчет структурных изменений дендритного осадка в процессе гальваностатического электролиза. Электрохимия. 2001. Т. 37. С. 871. [Murashova, I.B. and Burhanova, N.G., Calculation of structural changes of dendritic deposit during galvanostatic electrolysis, Russ. J. Electrochem., 2001, vol. 37, p. 871.]
- Ostanina, T.N., Rudoi, V.M., Patrushev, A.V., Darintseva, A.B., and Farlenkov, A.S., Modelling the dynamic growth of copper and zinc dendritic deposits under the galvanostatic electrolysis conditions, J. Electroanal. Chem., 2015, vol. 750, p. 9.
- Никитин, В.С., Останина, Т.Н., Рудой, В.М., Останин, Н.И. Модельное описание процесса электроосаждения рыхлых осадков цинка в импульсных режимах задания тока. Электрохимия. 2023. Т. 59. С. 391.
- Гамбург, Ю.Д., Зангари, Дж. Теория и практика электроосаждения металлов (пер. с англ.), М.: Бином. Лаборатория знаний, 2015. 439 с. [Gamburg, Y.D. and Zangari, G., Theory and practice of metal electrodeposition, N.Y.: Springer Science & Business Media, 2011. 378 p.]
- Плит, В. Электрохимия в материаловедении (пер. с англ.), М.: Бином. Лаборатория знаний, 2015. 446 с. [Plieth, W., Electrochemistry for Materials Science, Amsterdam, Netherlands: Elsevier Science, 2008. 432 p.]
- де Векки, Д.А., Москвин, А.В., Петров, М.Л., Резников, А.Н., Скворцов, Н.К., Тришин, Ю.Г. Новый справочник химика и технолога. Основные свойства неорганических, органических и элементоорганических соединений, С.-Пб.: Мир и Семья, 2002. С. 348. [de Vecchi, D.A., Moskvin, A.V., Petrov, M.L., Reznikov, A.N., Skvortsov, N.K., and Trishin, Yu.G., New handbook of chemist and technologist. Basic properties of inorganic, organic and elementoorganic compounds (in Russian), Saint-Petersburg: “Mir i Sem’ya”, 2002. p. 348.]
- Никитин, В.С., Останина, Т.Н., Кумков, С.И., Рудой, В.М., Останин, Н.И. Определение периода наращивания рыхлого осадка цинка с использованием методов интервального анализа. Известия вузов. Порошковая металлургия и функциональные покрытия. 2020. № 1. С. 11. [Nikitin, V.S., Ostanina, T.N., Kumkov, S.I., Rudoy, V.M., and Ostanin, N.I., Determination of the growth time period of loose zinc deposit using interval analysis methods, Russ. J. Non-Ferrous Met., 2020, vol. 61, p. 540.]
Supplementary files















