Разработка методики подбора манжет для герметизации фланца коробки передач ЯМЗ при ремонте
- Authors: Леонов О.А.1, Шкаруба Н.Ж.1, Вергазова Ю.Г.1, Нестеркин Г.А.1
-
Affiliations:
- Российский государственный аграрный университет – МСХА им. К. А. Тимирязева
- Issue: No 4 (2024)
- Pages: 44-50
- Section: НАДЕЖНОСТЬ, ПРОЧНОСТЬ, ИЗНОСОСТОЙКОСТЬ МАШИН И КОНСТРУКЦИЙ
- URL: https://bakhtiniada.ru/0235-7119/article/view/277399
- DOI: https://doi.org/10.31857/S0235711924040062
- EDN: https://elibrary.ru/OZAYYJ
- ID: 277399
Cite item
Full Text
Abstract
Теоретически обоснована и практически апробирована методика подбора манжет для поверхностей валов при ремонте. Методика заключается в обосновании диаметров ремонтных размеров валов на основании данных по износам и подбора манжет под эти размеры по внутреннему диаметру с целью обеспечения таких же натягов, как у новых соединений. Практическое применение методики рассмотрено на соединении выходного вала коробки передач.
Keywords
Full Text
На надежность сборочных единиц существенное влияние оказывает долговечность работы уплотнительных устройств. Утечки масла в коробках передач, редукторах, двигателях, и др. агрегатах составляют 20–30% от общего числа отказов, а в послеремонтный период отказы уплотнений встречаются в 1.5 раза чаще, чем в доремонтный. При ремонте агрегатов и сборочных единиц различной техники все уплотнения подлежат замене и от 10 до 80% сопряженных с ними деталей – валов, которые требуют замены или восстановления [1].
В современных сборочных единицах машин и механизмов различного назначения большое распространение получили резиновые армированные манжеты. Манжеты сопрягаются с валами, а герметичность данных соединений обеспечивается натягом манжеты на вал – разницей размеров вала и отверстия, а также усилием прижатия манжеты к валу, которое формируется за счет упругих свойств резины и с помощью браслетной пружины, установленной внутрь манжеты [2]. Важную роль в обеспечении долговечности уплотнительных устройств играют макро- и микрогеометрия поверхности сопрягаемых с манжетой валов, способы их обработки [3]. Шероховатость поверхности вала под манжету должна находиться в пределах 0.16–0.32 мкм. На долговечность работы уплотнительных устройств, наряду с параметрами материалов деталей соединения, оказывают влияние параметры точности, такие как допуски и отклонения размеров, допуски посадки. Не допускается также превышать установленные значения радиального биения и отклонения от соосности вала по отношению к манжете [4]. Причем для определения этих параметров необходимо строить сложные размерные цепи и учитывать влияние не только радиальных зазоров в подшипниках качения, но и зазоры в посадках колец подшипников и крышек в корпус, отклонения от соосности этих отверстий корпуса, отклонения от соосности поверхности вала под подшипники и манжету и др. параметры. Хотя в научных исследованиях широко применяется размерный анализ для формирования таких норм точности, которые позволяют обеспечить заданную долговечность сборочных единиц [5–7], но применительно к уплотнительным узлам метод размерного анализа практически не применяют. В процессе ремонта необходимо сохранить параметры герметизации уплотнительных устройств в агрегатах различной техники, что повысит их послеремонтную надежность [8].
Теория герметичности резиновых манжет еще не разработана, но работа над ней ведется, анализируются и математически описываются условия контакта кромки манжеты с валом [9, 10]. Для повышения износостойкости соединения вала с уплотнением проводятся исследования по введению в резиновую смесь новых материалов [11, 12], разрабатываются новые типы и конструкции различных уплотнений [12–14] и совершенствуются способы обработки поверхности вала [15, 16].
Например, по данным самого массового производителя силовых агрегатов (двигателей и коробок передач) – Ярославского моторного завода, известно, что в процессе эксплуатации двигателей ЯМЗ при наработке свыше 8–10 тыс. часов, на поверхности коленчатого вала под рабочими кромками передней и задней манжет появляется кольцевой износ на глубину до 0.2 мм, приводящий к течи масла. Замена старой манжеты на новую при таком износе течь масла не устраняет [17].
В коробках передач ЯМЗ в качестве выходного вала выступает фланец. Во время ремонта коробок передач фланцы очень редко восстанавливаются под номинальный размер, обычно заменяются на новые. Износ поверхности под манжету не превышает 0.3 мм и обычно колеблется в пределах 0.1–0.2 мм. Поэтому возникает вопрос о возможности обработки поверхности фланца до выведения следов износа и последующем использовании данного фланца в соединении с новой манжетой при ремонте. Это позволит сэкономить средства на покупку нового фланца, что удешевит стоимость ремонта. Но при этом, для сохранения наименьшего натяга в соединении необходимо будет использовать элементы теории неполной взаимозаменяемости [18–20].
Вопросам назначения рациональных ремонтных размеров поверхностей фланцев, обоснования допусков на обработку и подбора манжет к ремонтным размерам вала посвящена настоящая статья.
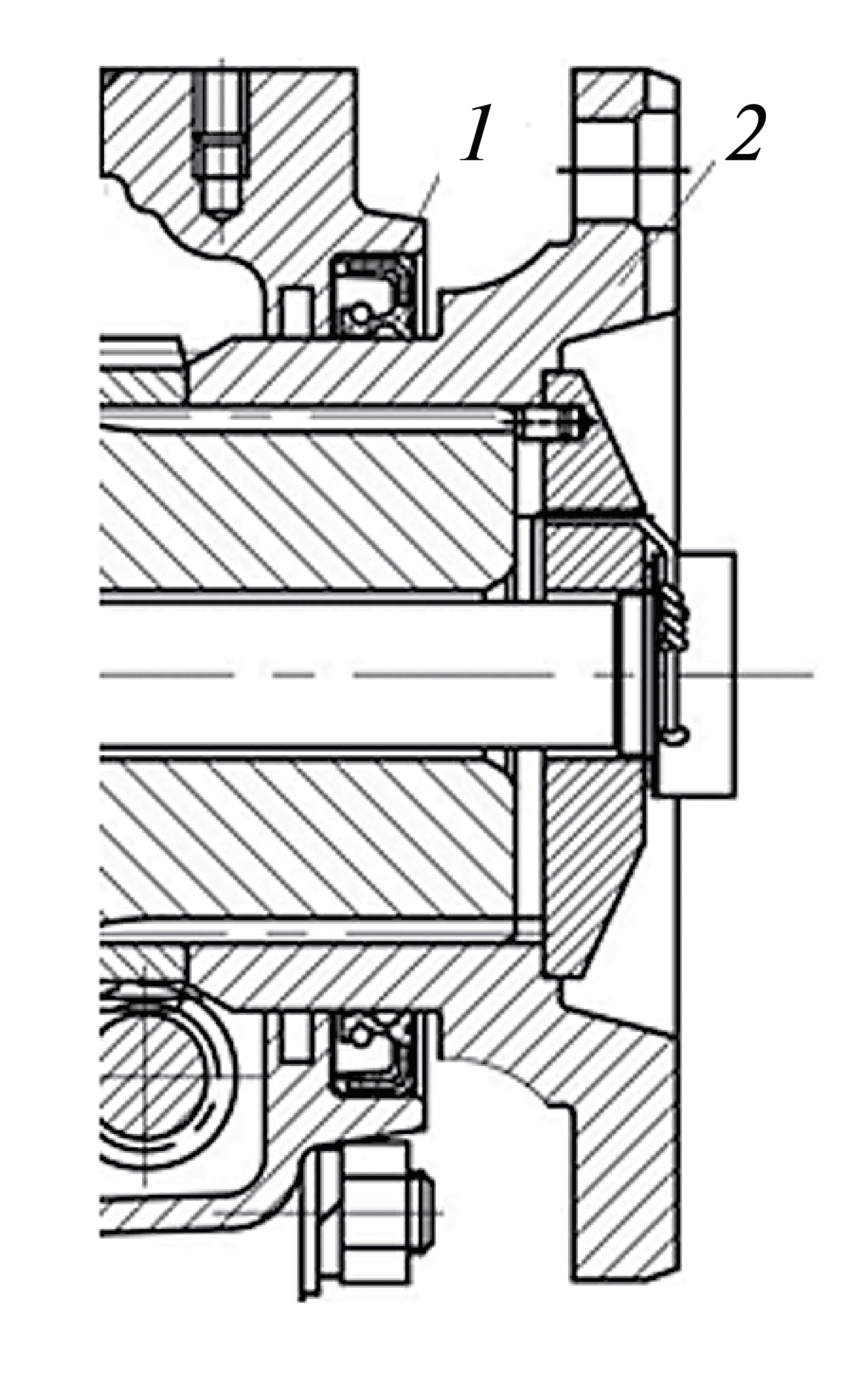
Объект исследований – соединение выходного вала коробки передач двигателя ЯМЗ с манжетой (рис. 1).
Рис. 1. Эскиз соединения фланца с манжетой коробки передач ЯМЗ: 1 – манжета; 2 – фланец.
Предмет исследований – параметры точности в посадке манжеты на вал при ремонте такого вида соединений.
Конструктивные параметры точности исследуемого соединения представлены в табл. 1.
Таблица 1. Конструктивные параметры точности соединения манжеты с фланцем
Наименование параметра | Номинальный размер с отклонениями, мм | Предельно допустимый размер без ремонта, мм | Предельные конструктивные натяги в соединении, мм |
Вал (наружная поверхность фланца) | 100h10(–0.14) | 99.7 | Nmax = 3.00 Nmin = 1.86 |
Манжета | – |
Материалы и методы. В исследованиях применены положения теории точности, взаимозаменяемости, вероятности и математической статистики.
Результаты исследований и их анализ. Как видно из табл. 1, необходимо обеспечить заданные натяги в соединении при ремонте. Но исходя из данных, видно, что если применять допустимый без ремонта размер, то натяги будут в пределах 1.7–3.0 мм. При этом нарушается граница наименьшего конструктивного натяга на 0.16 мм. Износ наружной поверхности вала в виде фланца контролируется при дефектации и находится в пределах 0.1–0.5 мм. Таким образом часть фланцев будет забракована из-за нарушения и этой границы от 0.3 до 0.5 мм.
Ремонтный размер поверхности фланца под манжету рассчитывается по выражению
где dn – номинальный диаметр фланца, мм; es – верхнее отклонение, мм; β = Umax/Umin – коэффициент неравномерности износа; е – диаметральный припуск на отработку, мм; U = Umax + Umin – диаметральный межремонтный износ фланца, мм; Umax и Umin – наибольший и наименьший износ на сторону.
После обработки фланца под ремонтный размер при сборке формируется посадка с манжетой. Но ресурс таких соединений будет меньше, так как не будет обеспечен наименьший конструктивный натяг, который будет равен Nmin = 1.7 мм. При мелкосерийном ремонтном производстве решить проблему сохранения натягов в заданных пределах можно путем применения метода неполной взаимозаменяемости в виде подбора манжет по внутреннему диаметру и применения нескольких ремонтных размеров диаметра фланца. Этот метод базируется на методе групповой взаимозаменяемости, но отличается неравенством допусков сопрягаемых деталей (рис. 2).
Рис. 2. Сортировка манжет по внутреннему диаметру при постановке на валы ремонтных размеров с целью сохранения наименьшего конструктивного натяга.
Допуск на внутренний диаметр манжет равен 1.0 мм, а допуск на диаметр вала в виде фланца – 0.14 мм, тогда можно воспользоваться этим значительным неравенством. Следует уточнить, что допуск вала может быть и еще меньше в связи с тем, что при выполнении операции шлифования поверхности вала под манжету необходимо обеспечить шероховатость поверхноcти Ra 0.16–0.32 мкм, что соответствует 6–8 квалитету точности.
Для обеспечения равенства натягов нового и отремонтированного соединения, манжеты к валам ремонтных размеров должны подбираться по внутреннему диаметру с целью сохранения наименьшего конструктивного натяга, который, в свою очередь, обеспечивает заданную долговечность работы соединения без утечек.
Верхние отклонения от номинального размера манжет, устанавливаемых на валы ремонтных размеров, определяем по формуле
Рассмотрим предлагаемую методику на примере подбора манжет под ремонтные размеры фланцев коробки передач ЯМЗ, для этого назначим четыре ремонтных размера по диапазону износа и определим отклонения внутренних диаметров манжет по критерию сохранения наименьшего конструктивного натяга. При этом учтем тот факт, что для обеспечения требуемой для резиновых армированных манжет шероховатости поверхности необходимо проводить такую финишную обработку, как чистовое шлифование, при котором с запасом достигается точность по 8-му квалитету, где допуск на размер при диаметре 100 мм равен 54 мкм. В результате расчета и ввода нового квалитета составим комплектовочную табл. 2.
Таблица 2. Комплектовочная таблица для соединения фланцев с манжетами коробки передач двигателей ЯМЗ
Размер вала (фланца) с отклонениями, мм | Маркировка | Отклонения подбираемых манжет, мм | Натяг в соединении, мм |
100h8(–0.054) | Н | +1.946 … +3.000 | |
99.8–0.054 | 1Р | +1.946 … +3.000 | |
99.7–0.054 | 2Р | +1.946 … +3.000 | |
99.6–0.054 | 3Р | +1.946 … +3.000 | |
99.5–0.054 | 4Р | +1.946 … +3.000 |
Наименьший натяг (табл. 2) в соединении будет равен 1.946 мм, что выше нормируемого значения 1.86 мм (табл. 1), в результате предлагаемой комплектации и обработки вала под рациональный допуск по 8-му квалитету достигается увеличение наименьшего натяга, что положительно отразится на долговечности отремонтированного соединения.
При среднесерийном ремонтном производстве, когда необходимо достичь определенного такта производства и унификации процессов, можно использовать только второй ремонтный размер 99.7–0.054 и заранее подбирать манжеты только по одному виду верхнего отклонения. Остальные манжеты из партии могут быть соединены с новыми фланцами, которые будут идти на замену выбракованных в процессе дефектации по другим причинам (износ шлицев, износ отверстий и т. д.).
Вывод. Таким образом, математически обосновано применение метода неполной взаимозаменяемости для соединения вала (фланца) с манжетой уплотнительного узла коробки передач ЯМЗ. Методика включает в себя определение ремонтного размера фланца, разбиение диапазона полученного размера на определенное число подразмеров, удобных для обработки, разбиение манжет по диапазону отклонений внутреннего размера и дальнейшую комплектацию фланцев и манжет по соответствующим группам. В результате чего достигается не только соблюдение, но и превышение величины наименьшего натяга (было 1.86 мм, стало – 1.946 мм). Это позволит не только сохранить уровень долговечности данного соединения по сравнению с новым, но и немного ее повысить.
Финансирование. Работа выполнена за счет Программы развития университета в рамках Программы стратегического академического лидерства “Приоритет-2030”.
Конфликт интересов. Авторы заявляют об отсутствии конфликта интересов.
About the authors
О. А. Леонов
Российский государственный аграрный университет – МСХА им. К. А. Тимирязева
Author for correspondence.
Email: metr@rgau-msha.ru
Russian Federation, Москва
Н. Ж. Шкаруба
Российский государственный аграрный университет – МСХА им. К. А. Тимирязева
Email: metr@rgau-msha.ru
Russian Federation, Москва
Ю. Г. Вергазова
Российский государственный аграрный университет – МСХА им. К. А. Тимирязева
Email: metr@rgau-msha.ru
Russian Federation, Москва
Г. А. Нестеркин
Российский государственный аграрный университет – МСХА им. К. А. Тимирязева
Email: metr@rgau-msha.ru
Russian Federation, Москва
References
- Мельников О. М., Казанцев С. П., Чеха О. В. Оценка показателей качества деталей и соединения “вал–манжета” // Вестник ФГОУ ВПО МГАУ. 2019. № 5 (93). С. 8. https://doi.org/10.34677/1728-7936-2019-5-8-13
- Мельников О. М., Серов Н. В., Гамидов А. Г. и др. Влияние браслетной пружины на контактную нагрузку в соединении “вал–манжета” // Агроинженерия. 2023. Т. 25. № 4. С. 76. https://doi.org/10.26897/2687-1149-2023-4-76-80
- Березин М. А. Теоретическое исследование влияния шероховатости поверхности контртела на работоспособность неподвижных уплотнительных соединений // Агропромышленные технологии Центральной России. 2023. № 1 (27). С. 137. https://doi.org/10.24888/2541-7835-2023-27-137-143
- Leonov O. A., Shkaruba N. Zh., Grinchenko L. A. et al. Study of the Influence of Macrogeometry Parameters on the Tightness of Shaft–Seal Joints // Journal of Machinery Manufacture and Reliability. 2023. V. 52. № 6. P. 40. https://doi.org/10.1134/S1052618823060109
- Муравьев Д. В., Артюхов К. В. Обеспечение точности сборки приспособления для контроля соосности моторно-осевых подшипников локомотивов методами размерного анализа // Известия Транссиба. 2022. № 4 (52). С. 48.
- Польский Е. А., Сорокин С. В. Повышение надежности изделий машиностроения за счет совершенствования точностного анализа размерных цепей // Наукоемкие технологии в машиностроении. 2022. № 6 (132). С. 38. https://doi.org/10.30987/2223-4608-2022-6-38-48
- Харламов Ю. А., Жильцов А. П., Вишневский Д. А., Бочаров А. В. Размерный анализ технологических процессов восстановления деталей машин // Известия высших учебных заведений. Машиностроение. 2021. № 5 (734). С. 37. https://doi.org/10.18698/0536-1044-2021-5-37-47
- Мельников О. М., Казанцев С. П., Игнаткин И. Ю. и др. Совершенствование уплотнительных устройств подшипниковых узлов сельскохозяйственной техники // Агроинженерия. 2022. Т. 24. № 3. https://doi.org/10.26897/2687-1149-2022-3-68-72
- Ерохин М. Н., Белов М. И., Мельников О. М. Методика расчета контактного давления манжеты на вал // Вестник машиностроения. 2020. № 11. С. 39. https://doi.org/10.36652/0042-4633-2020-11-39-45
- Белов М. И., Ерохин М. Н., Мельников О. М. Оценка давления уплотнения на вал // Агроинженерия. 2020. № 2 (96). С. 29. https://doi.org/10.26897/2687-1149-2020-2-29-33
- Erokhin M. N., Melnikov O. M., Leonov O. A., Shkaruba N. Zh. Influence of Volumetric Modification on the Physical and Mechanical Properties of Rubber Reinforced Cuffs // Journal of Machinery Manufacture and Reliability. 2023. V. 52. № 7. P. 43. https://doi.org/10.3103/S1052618823070087
- Мельников О. М. Работоспособность соединений “вал–манжета” и повышение их надежности // Вестник ФГОУ ВПО МГАУ. 2018. № 2 (84). С. 50. https://doi.org/10.26897/1728-7936-2018-2-50-54
- Seongjun H., Gunyoung P., Chanyoung Sh. et al. Design of an expeller seal to reduce leakage in a stuffing box // Journal of Mechanical Science and Technology. 2022. V. 36. Р. 2387. https://doi.org/10.1007/s12206-022-0421-2
- Yongfan L., Muming H., Baojie R. et al. Experimental Study on Leakage and Thermal Features of Herringbone-Grooved Oil-Film-Lubricated Mechanical Face Seals // Tribology Online. 2022. V. 17. Р. 126. https://doi.org/10.2474/trol.17.126
- Ягьяев Э. Э., Шрон Б. Л. Повышение надежности работы соединения “вал–манжета” при суперфинишировании с осцилляцией на поверхности вала // 2017. № 1 (55). С. 48.
- Шрон Б. Л., Ягьяев Э. Э., Мевлют Ш. Т. Математическое обеспечение взаимодействия контактирующих поверхностей соединения “вал–манжета” // Учебные записки крымского инженерно-педагогического университета. 2016. № 1 (51). С. 123.
- Антропов Б. С., Бодров В. А., Басалов И. С. Методы восстановления работоспособности уплотнений коленчатых валов автотракторных двигателей ЯМЗ // Вестник АПК Верхневолжья. 2014. № 4 (28). С. 80.
- Филипович О. В., Невар Г. В., Валошина Н. А., Филипович В. О. Определение количества комплектов при селективной сборке двух элементов с учетом влияния погрешности измерения // Сборка в машиностроении, приборостроении. 2023. № 3. С. 105. https://doi.org/10.36652/0202-3350-2023-24-3-105-109
- Чигрик Н. Н. Количественная оценка неопределенности среднего зазора и натяга в сопряжениях одноименных промежуточных и крайних размерных групп // Computational Nanotechnology. 2023. Т. 10. № 1. С. 11. https://doi.org/10.33693/2313-223X-2023-10-1-11-29
- Сазонникова Н. А., Сазонников А. В. Совершенствование производственного цикла изготовления деталей при обеспечении параметров селективной сборки узла // Известия Самарского научного центра Российской академии наук. 2022. Т. 24. № 6 (110). С. 103. https://doi.org/10.37313/1990-5378-2022-24-6-103-113
Supplementary files




