Theoretical Foundations of Adapted Gear Trains during Operation under Skewed Conditions
- Authors: Nakhatakyan F.G.1, Puzakina A.K.1, Nakhatakyan D.F.1, Blinov D.S.2, Zenkina Y.P.2
-
Affiliations:
- Mechanical Engineering Research Institute of the Russian Academy of Sciences, 101900, Moscow, Russia
- Bauman State Technical University, 105005, Moscow, Russia
- Issue: No 3 (2023)
- Pages: 33-39
- Section: НАДЕЖНОСТЬ, ПРОЧНОСТЬ, ИЗНОСОСТОЙКОСТЬ МАШИН И КОНСТРУКЦИЙ
- URL: https://bakhtiniada.ru/0235-7119/article/view/137584
- DOI: https://doi.org/10.31857/S0235711923030124
- EDN: https://elibrary.ru/PQMFZK
- ID: 137584
Cite item
Full Text
Abstract
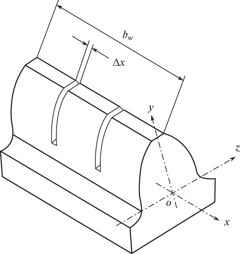
This article discusses the so-called gear train with adapted properties. Such gear trains are used to increase the load capacity of gear coupling by decreasing the maximum contact stresses by means of an increase in teeth contact compliance operating under skewed conditions. An approach has been proposed, including an analytical solution to the problem on its basis, and the equations for determination of the maximum contact stresses of gear teeth with annular grooves have been obtained. The decrease in the contact stresses of teeth with adapted properties upon skewing has been estimated and compared with those of regular teeth.
About the authors
F. G. Nakhatakyan
Mechanical Engineering Research Institute of the Russian Academy of Sciences, 101900, Moscow, Russia
Email: filnahat7@mail.ru
Россия, Москва
A. K. Puzakina
Mechanical Engineering Research Institute of the Russian Academy of Sciences, 101900, Moscow, Russia
Email: filnahat7@mail.ru
Россия, Москва
D. F. Nakhatakyan
Mechanical Engineering Research Institute of the Russian Academy of Sciences, 101900, Moscow, Russia
Email: filnahat7@mail.ru
Россия, Москва
D. S. Blinov
Bauman State Technical University, 105005, Moscow, Russia
Email: filnahat7@mail.ru
Россия, Москва
Ya. P. Zenkina
Bauman State Technical University, 105005, Moscow, Russia
Author for correspondence.
Email: filnahat7@mail.ru
Россия, Москва
References
- Попов А.П., Каиров А.С. Контактная прочность эвольвентного зацепления с учетом перекоса зубчатых колес // Прогресивні технології і системи машинобудування. 2007. № 2 (34). С. 183.
- Sobiepański M., Nieszporek T. Spur gears with longitudinal tooth profile modification mesh creating which is suitable for stress analysis // Technical Gazette. 2017. № 6 (24). P. 1657.
- Wei Y.G., Tang W.C. The Edge Effect and Longitudinal Modification of Involute Gear Drive Used in Automobile // Applied Mechanics and Materials. 2013. V. 367. P. 136.
- Короткин В.И., Газзаев Д.А. Влияние технологических отклонений осей зубчатых колес на напряженное состояние в галтели зуба эвольвентных зубчатых передач // Вестник машиностроения. 2011. № 9. С. 12.
- Горленко О.А., Макаров Г.Н. Методика расчета износостойкости зубьев зубчатых передач при перекосе осей сопрягаемых колес // Трение и износ. 2019. Т. 40. № 5. С. 568.
- Xiaochun S., Riming Z., Weidong H. Research on Gear Tooth Longitudinal Modification of Locomotive Traction Gear with Shaft Structure // Periodica Polytechnica Transportation Engineering. 2018. № 4 (46). P. 222.
- Антонюк В.Е., Павловский В.Я., Поддубко С.Н., Александрова В.С., Николаенкова И.Н. Продольная модификация зубчатых колес планетарных передач мобильных машин // Механика машин, механизмов и материалов. 2011. № 4 (17). С. 37.
- Артамонов В.Д., Попков А.А. Методика определения продольной модификации зубьев цилиндрических колес при зубонарезании дельтовидными резцовыми головками // Известия Тульского государственного университета. Технические науки. 2017. Вып. 8. Ч. 2. С. 153.
- Тимофеев Н.А. Выбор оптимальных параметров продольной модификации зуба прямозубых зубчатых колес // Автоматизированное проектирование в машиностроении. 2022. № 13. С. 88.
- Грубка Р.М., Михайлов А.Н., Петряева И.А. Классификация видов продольной модификации зубьев цилиндрических зубчатых колес в зависимости от функционального назначения // Механики XXI веку. 2019. № 18. С. 187.
- Антонюк В.Е., Поддубко С.Н., Скороходов А.С., Александрова В.С. O продольной модификации зубьев цилиндрических зубчатых колес // Актуальные вопросы машиноведения. 2016. Вып. 5. С. 241.
- Романов В.В., Спицын В.Е., Дейнекин А.С., Мироненко А.И. Зубчатые передачи редукторов с профильно-продольной модификацией зубьев // Восточно-европейский журнал передовых технологий. 2009. Т. 4. № 6 (40). С. 39.
- Попов А.П., Мироненко А.И., Савенков О.И. Контактная жесткость зубчатых передач с учетом влияния перекосов зубьев // Вестник национального технического университета “Харьковский политехнический институт”. Серия: Проблемы механического привода. 2016. № 23 (1195). С. 121.
- Антонюк В.Е., Мариев П.Л., Павловский В.Я. Особенности конструирования и изготовления планетарных передач колесных редукторов отечественных мобильных машин // Механика машин, механизмов и материалов. 2010. № 4 (13). С. 29.
- Korotkin V.I. Increasing the useful life and load-bearing capacity of the drives of oil pumping units // Chemical and Petroleum Engineering. 2018. V. 54. № 3–4. C. 165.
- Макаров Г.Н., Гриб В.В., Шалыгин М.Г. Повышение нагрузочной способности зубчатых муфт // Diagnostics, Resource and Mechanics of materials and structures. 2020. № 2. С. 19.
- Горленко О.А., Макаров Г.Н. Проектирование прямозубых цилиндрических передач при условии минимизации контактных напряжений // Известия Волгоградского государственного технического университета. 2017. № 9 (204). С. 12.
- Горленко О.А., Шалыгин М.Г., Макаров Г.Н. Устранение кромочного контакта зубьев зубчатых колес планетарных передач // Строительные и дорожные машины. 2017. № 8. С. 38.
- Бородин А.В., Тарута Д.В., Вельгодская Т.В. Повышение несущей способности зубчатой передачи тягового редуктора тепловоза // Известия Транссиба. 2010. № 3. С. 7.
- Макаров Г.Н., Шныриков И.О., Горленко О.А. Повышение контактной выносливости зубьев прямозубых цилиндрических зубчатых передач // Трение и смазка в машинах и механизмах. 2014. № 6. С. 25.
- Бородин А.В., Вельгодская Т.В., Рязанцева И.Л. Влияние кольцевых прорезей на податливость зубчатых колес // Техника машиностроения. 2001. № 2. С. 78.
- Малинкович М.Д. Исследование процесса зацепления цилиндрических зубчатых передач // Вестник Брянского государственного технического университета. 2008. № 3. С. 32.
- Айрапетов Э.Л., Генкин М.Д., Ряснов Ю.А. Статика зубчатых передач. М.: Наука, 1983. 142 с.
- Нахатакян Ф.Г. Напряженно-деформированное состояние упругих элементов зубчатых механизмов и сооружений при их линейном и кромочном контакте: Дис. … докт. техн. наук. М.: Институт машиноведения им. А.А. Благонравова РАН, 2014. 213 с.
- Айрапетов Э.Л., Нахатакян Ф.Г. Влияние изгибной деформации зубьев прямозубых цилиндрических передач на параметры контакта зубьев // Вестник машиностроения. 1990. № 8. С. 21.
- Айрапетов Э.Л. Состояние и перспективы развития методов расчета нагруженности и прочности передач зацеплением. Ижевск–Москва: ИжГТУ, 2000. 116 с.
- Нахатакян Ф.Г. Контактные напряжения и деформации цилиндров при перекосе // Вестник машиностроения. 2011. № 10. С. 45.
- Макаров Г.Н. Повышение надежности зубчатых передач трансмиссий сельскохозяйственной техники // Аэкономика: экономика и сельское хозяйство. 2017. № 7 (19). С. 8.
Supplementary files





