Thermodynamic modeling of the processes of purification of primary aluminum from vanadium impurities
- Authors: Kuandykov А.B.1, Bykov P.О.1, Chaikin V.А.2, Suyundikov М.М.1, Zhunusov А.К.1, Salina V.А.3,4, Kulumbaev N.К.1
 - 
							Affiliations: 
							
- Toraighyrov University
 - Smolensk Regional Branch of the Russian Foundry Association
 - Institute of Metallurgy, Ural Branch of the Russian Academy of Sciences
 - Ural State Mining University
 
 - Issue: No 5 (2024)
 - Pages: 529-544
 - Section: Articles
 - URL: https://bakhtiniada.ru/0235-0106/article/view/271477
 - DOI: https://doi.org/10.31857/S0235010624050071
 - ID: 271477
 
Cite item
Full Text
Abstract
This article discusses the interaction of chemical elements in the three-component Al-V-B system. Vanadium reduces electrical conductivity in primary aluminum, which requires its reduction during aluminum electrolysis to values less than 0.02%. In order to reduce the concentration of vanadium impurities, thermodynamic calculations were carried out for the reactions of separation of the metallic phase of aluminum and impurities of vanadium intermetallic compounds through the use of a boron-containing flux. The calculation of thermodynamic parameters was carried out in HSC Chemistry 9.0. for AlB2 and VB2 compounds, the chemical reaction AlB2 + V = VB2 + Al within the operating temperatures of electrolysis and casting of primary aluminum of 650–950°С and the conditions of immersion of boron-containing flux into the melt to a ladle depth of 0.5, 1.0, 1.5 and 2 m, i.e. within the pressure range of 102.39–148.99 kPa. Thermodynamic analysis showed that the Gibbs energy (ΔGT) values in the entire range of operating temperatures of the electrolysis and casting of primary aluminum for VB2 are significantly lower than AlB2, therefore, they will be formed predominantly in this temperature range. The order of stability also suggests that vanadium can be easily removed from aluminum melts by adding boron. The results obtained allow us to conclude that chemical reactions of primary aluminum purification from vanadium impurities can occur due to boron additives.
Keywords
Full Text
ВВЕДЕНИЕ
При производстве анодов для электролизных ванн в условиях АО «Казахстанский электролизный завод» (АО «КЭЗ») частично вовлекается в производство металлургический кокс ТОО «УПНК-ПВ» (г. Павлодар, Республика Казахстан). Кокс местного производства содержит повышенное содержание ванадия и других примесей, что в свою очередь ограничивает его использование при производстве первичного алюминия.
Как известно [1–15], ванадий снижает электропроводность в первичном алюминии, что требует его снижения до значений менее 0.02%.
Литературный обзор показал, что существуют способы рафинирования первичного алюминия от примесей ванадия соединениями бора, которые не получили широкого промышленного применения [1–15].
Из работ [13–15] известно, что протекание химических реакций в системе Al-V-B имеет сложный характер. Термодинамически устойчивым при рабочих температурах процесса электролиза и разливки алюминия 950–650℃ является соединение VB2. Кинетика химических реакций с образованием соединений подобных VB2 при рафинировании лигатурами на основе Al-B характеризуется низкой скоростью по причине образования нерастворимого кольца продуктов реакции, состоящего из диборида ванадия (VB2).
ТРЕХКОМПОНЕНТНАЯ СИСТЕМА Al-V-B
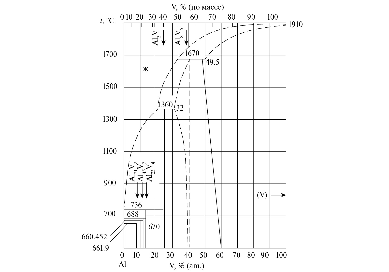
Диаграмма состояния Al – V [10] представлена на рис. 1. Интерметаллические фазы Al-V в целом структурно хорошо охарактеризованы. Как видно из рис. 1 на стороне, богатой Al, имеется каскад перитектических реакций.
Рис. 1. Диаграмма состояния Al – V [10].
Фазами равновесия согласно [10] являются:
1) твердые растворы с ГЦК (Al) и ОЦК (V), первые с очень узким диапазоном гомогенности (от 0 до 0.3 ат.% V), последние с широким диапазоном (от 50 до 100 ат.% V);
2) богатые Al соединения, включая сложный кубический интерметаллид Al21V2 (в литературе также иногда обозначаемый как Al11V или A10V), моноклинный Al45V7 (также обозначаемый Al7V) и гексагональный Al23V4 (также обозначаемый Al6V) и Al3V со структурой D022; 1;
3) Al8V5 с кубической структурой, которая, как считается, имеет некоторый диапазон гомогенности при высокой температуре. На основании данных параметров решетки растворимость V в (Al) при 620℃ составляет около 0.2 ат.%. Взяли за основу максимум парамагнитной восприимчивости, чтобы оценить, что максимальная растворимость V в (Al) составляет 0.3 ат.%.
Практическое значение для исследования имеет участок диаграммы Al-V в пределах содержания ванадия от 0 до 0.3% (рис. 2) [10]. Данный диапазон был выбран в виду предельных содержаний ванадия при выпуске жидкого алюминия из электролизеров в АО «КЭЗ».
Рис. 2. Перитектические превращения ванадия (диапазон температур 400 – 1080 °С) [10].
В системе, изображенной на рис. 2 [10], образуются следующие соединения при перитектических реакциях и при соответствующих температурах: Al21V2 при 670°C, Al45V7 при 688°C, Al23V4 при 736°C, Al3V при 1360°C, и Al9V5 при 1670°C. Также отмечается, что при температуре 661,9°C происходит перитектическая реакция:
Ж + Al21V2 ↔ (Al) (1)
Растворимость V в Al при различных температурах составляет [10]:
– 0.91% при 735°C;
– 0.2% при 660°C;
– 0.11% при 500°C.
Растворимость Al в V при различных температурах составляет [10]:
– 50.5% при 1670°C;
– 53,5% при 980°C;
– 44% при 900°C.
Кроме того, растворимость Al в V при температуре 1000°C равна 45%.
Согласно представленным данным, в промышленных условиях АО «КЭЗ» основным соединением Al и V является Al3V с растворимостью ванадия до 0.2%.
Согласно исследованию [8], диффузия способствует процессу растворения V в расплаве Al. Кинетика данного процесса значительно ниже, чем у металлов из группы железа. Работы [18, 10], содержат данные о константе кинетики растворения интерметаллидов V при температуре 750°C в зависимости от ɷ, именно 6.61–36.8 (рад/с.а), применялся метод вращающегося диска:
Кр = (5.2 + 0.1) · 10–5 ·ω0.54 (2)
В соответствии с [8] скорость растворения при значении температуры 900°C составит Кр∙10–4 = 0.65 г/(см2∙с), учитывая концентрацию ванадия в расплаве алюминия после растворения 0.4V.
Также исходя из работ [8–10], можно сделать вывод о зависимости следующих уравнений при температурном диапазоне эквивалентном 700–950°C:
D = (2.184) ∙10–7∙exp(–45.64/RT) (3)
D = 0.44 ∙10-3∙exp(–7.7/RT) (4)
В работе [16] представлена диаграмма состояния двухкомпонентной системы Al-B (рис. 3), из представленных данных можно заключить о наличии образования наиболее стабильных соединений: AlB2 и AlB12.
Рис. 3. Диаграмма состояния Al – B [16].
В температурном диапазоне 927–1400°C происходит фазовый переход в результате перитектической реакции из AlB2 в AlB12. Соединение AlB2 образуется при крайне низком содержании бора в системе.
Исходя из представленных данных, можно сделать вывод, что в промышленных условиях АО «КЭЗ» основным соединением является AlB2.
В работе [17] описано взаимодействие V с B. Согласно рис. 4 в системе V – B образуется шесть различных боридов ванадия: V3B2, VB, V5B6, V3B4, V2B4, VB2.
Рис. 4. Диаграмма состояния V – B [17].
Важно отметить, что бориды ванадия имеют очень высокую температуру плавления, которая значительно превышает температуры, используемые в процессе электролиза алюминия и последующей обработке расплавов.
Из работ [1–17] известно, что протекание химических реакций в системе Al-V-B имеет сложный характер. Термодинамически устойчивыми при рабочих температурах процесса электролиза и разливки алюминия 950–650℃ является соединение VB2.
Авторами работ [13–15] установлено, что кинетика химических реакций с образованием соединений VB2 при рафинировании лигатурами на основе Al-B характеризуется низкой скоростью по причине образования нерастворимого кольца продуктов реакции, состоящего из диборида ванадия (VB2). Толщина данного кольца увеличивается с 1 до 20 мкм по мере увеличения выдержки расплава до 720 минут.
Дополнительные EDX-исследования авторов работ [13–15] позволили установить, что в частицах боридного кольца присутствуют V, B и Al что указывает на образование твердого раствора или смешанных боридов (AlB2, VB2). Из анализа EDX не удалось окончательно установить, образовывали ли боридные оболочки какой-либо твердый раствор или представляли собой физические кластеры с Al, AlB2 и AlB12 в алюминиевой матрице [1–16].
Существуют различные мнения относительно твердого раствора и стабильности смешанных боридов. В отдельных работах [1–16] указывается, что V-бориды (VB, VB2) являются чистыми боридами, которые обладают ограниченной растворимостью в других элементах, таких как Al и Al-бориды.
Также ранее в литературном обзоре уже отмечалось, что авторами работ [1–17] был проведен точечный анализ черной фазы внутри V-боридов также с использованием EDX для определения ее химического состава. Анализ EDX выявил, что черная фаза представляет собой частицы Al-B (AlB12), как показано на рисунках выше. Черная фаза показала частично растворенные частицы AlB12 внутри оболочки из V-борида в алюминиевой матрице. Частицы AlB12 были добавлены в расплавленный алюминий в качестве источника бора для образования боридов ванадия.
На основании теоретических исследований можно заключить, что основной стабильной фазой в расплаве алюминия с ванадием при добавлении бора будет являться VB2.
Таким образом, при рафинировании расплава алюминия-сырца борной кислотой, для производственных условий АО «КЭЗ» с температурой в пределах 650–950℃ и давлении в пределах 102.39 кПа борная кислота (H3BO3) претерпевает превращение в оксид бора (B2O3), который в свою очередь взаимодействует с расплавом алюминия и далее с соединениями ванадия по следующим формулам:
B2O3 + 3Al → AlB2 + Al2O3 (5)
AlB2 + Al3V = VB2 + 4Al (6)
AlB2 + V = VB2 + Al (7)
В работе был проведен термодинамический анализ процесса обработки первичного алюминия борной кислотой по методике, изложенной в работе [18]. Для расчетов использовалось программное обеспечение HSC Chemistry 9.0 компании Outokumpu Technology [19].
РЕЗУЛЬТАТЫ МОДЕЛИРОВАНИЯ И ОБСУЖДЕНИЕ
Расчет термодинамических параметров проводился для соединений AlB2 и VB2. В табл. 1 и рис. 5 приведены расчетные значения Cp,T , ΔGT, ΔHT, ΔST.
Таблица 1. Расчетные значения Cp,T, ΔGT, ΔHT, ΔST для соединений AlB2 и VB2
Соединение  | Параметр  | Диапазон расчетных температур, °C (при давлении 102.39 кПа)  | ||||||
650°C  | 700°C  | 750°C  | 800°C  | 850°C  | 900°C  | 950°C  | ||
AlB2  | Ср,T  | 75.764  | 77.363  | 78.938  | 80.494  | 82.033  | 83.560  | 85.075  | 
ΔHT  | 23.587  | 27.416  | 31.323  | 35.309  | 39.372  | 43.512  | 47.728  | |
ST  | 103.132  | 107.171  | 111.086  | 114.889  | 118.590  | 122.196  | 125.715  | |
ΔGT  | –71.619  | –76.877  | –82.334  | –87.984  | –93.821  | –99.841  | –106.039  | |
VB2  | Ср.T  | 79.019  | 80.232  | 81.361  | 82.409  | 83.381  | 84.277  | 85.524  | 
ΔHT  | –161.700  | –157.719  | –153.678  | –149.584  | –145.439  | –141.247  | –137.004  | |
ST  | 102.968  | 107.168  | 111.216  | 115.123  | 118.898  | 122.549  | 126.090  | |
ΔGT  | –256.755  | –262.009  | –267.469  | –273.128  | –278.979  | –285.016  | –291.232  | |
Рис. 5. Зависимость изменения энергии Гиббса и энтальпии от температуры для VВ2 и AlB2.
При температурах 650–950°С и атмосферном давлении изменение энергии Гиббса для соединений VВ2 составляет –256.755 и –291.232 кДж/моль, и AlB2 составляет –71.619 и –106.039 кДж/моль соответственно. Изменение энтальпии является величиной отрицательной для реакций диборида ванадия соответственно образование данного соединения носит экзотермический характер, образование диборида алюминия напротив носит эндотермический характер по причине положительной энтальпии.
Также в работе был проведен расчет термодинамических параметров химической реакции AlB2 + V = VB2 + Al. В табл. 2 и рис. 6 приведены расчетные значения ΔGT, ΔHT, ΔST, logKp.
Таблица 2. Расчетные значения ΔGT, ΔHT, ΔST, logKp для реакции AlB2 + V = VB2 + Al
Реакция  | Параметр  | Диапазон расчетных температур, °C (при давлении 102.39 кПа)  | ||||||
650°C  | 700°C  | 750°C  | 800°C  | 850°C  | 900°C  | 950°C  | ||
AlB2 + V = = VB2 + Al  | ΔHT  | –163.214  | –173.692  | –173.476  | –173.302  | –173.176  | –173.102  | –173.076  | 
ST  | 22.900  | 11.668  | 11.885  | 12.051  | 12.166  | 12.232  | 12.253  | |
ΔGT  | –184.354  | –185.047  | –185.637  | –186.235  | –186.841  | –187.451  | –188.063  | |
logKp  | 10.432  | 9.933  | 9.478  | 9.066  | 8.690  | 8.347  | 8.032  | |
Рис. 6. Зависимость изменения энергии Гиббса и энтальпии от температуры для реакции AlB2 + V = VB2 + Al.
Анализ термодинамических параметров подтверждает, что при атмосферном давлении и температурах от 650 до 950°C реакция AlB2 + V = VB2 + Al протекает с образованием диборида ванадия (VB2) изменение энергии Гиббса составляет –184.354 и –188.676 кДж/моль соответственно. Увеличение энергии Гиббса с ростом температуры свидетельствует о повышении устойчивого характера протекания химических реакций. Изменение энтальпии в целом является величиной отрицательной соответственно образование данных соединений носит экзотермический характер. Можно сделать вывод о термодинамически выгодном характере протекания химической реакции.
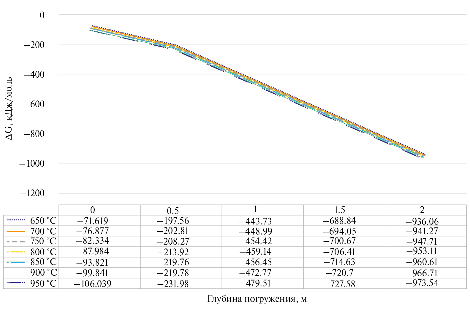
Далее в работе был проведен термодинамический анализ для условий погружения флюса в расплав на глубину 0.5; 1; 1.5; 2 м.
В табл. 3 и рис. 7 приведены расчетные значения энергии Гиббса для соединений VВ2 и AlB2.
Таблица 3. Значения энергии Гиббса для соединений AlB2 и VB2 на глубине 0.5; 1; 1,5; 2 м
Соединение  | Глубина погружения флюса в расплав, м  | Диапазон расчетных температур, °C  | ||||||
650°C  | 700°C  | 750°C  | 800°C  | 850°C  | 900°C  | 950°C  | ||
AlB2  | 0.5  | –197.56  | –202.81  | –208.27  | –213.92  | –219.76  | –225.78  | –231.98  | 
1.0  | –443.73  | –448.99  | –454.42  | –459.14  | –465.45  | –472.77  | –479.51  | |
1.5  | –688.84  | –694.05  | –700.67  | –706.41  | –714.63  | –720.70  | –727.58  | |
2.0  | –936.06  | –941.27  | –947.71  | –953.11  | –960.61  | –966.71  | –973.54  | |
VB2  | 0.5  | –307.17  | –312.42  | –317.88  | –323.54  | –329.39  | –335.43  | –341.64  | 
1.0  | –689.91  | –694.82  | –700.28  | –706.13  | –713.28  | –719.41  | –726.74  | |
1.5  | –1070.94  | –1076.01  | –1083.34  | –1091.45  | –1100.63  | –1107.26  | –1118.38  | |
2.0  | –1455.38  | –1461.57  | –1468.48  | –1475.58  | –1485.12  | –1491.89  | –1511.17  | |
Рис. 7. Зависимость изменения энергии Гиббса от температуры и глубины погружения флюса на основе бора в расплав алюминия для соединений VВ2 и AlB2.
При температуре 650°C и давлениях 102.39 кПа (на поверхности расплава) и 148.99 кПа (при вводе флюса на глубину 2 м) изменение энергии Гиббса для образования соединения VB2 составляет –256.755 и –1455.3 кДж/моль соответственно. Для соединения AlB2 при таких условиях изменение энергии Гиббса равно –71.619 и –936.06 кДж/моль. для начальной температуры, и –291.232 и –1511.17 кДж/моль для температуры 950°C, соответственно для VB2. Для соединения AlB2 изменение энергии Гиббса составляет –106.039 и –973.54 кДж/моль.
Далее в работе были проведены аналогичные термодинамические расчеты по изменению изобарно-изотермического потенциала системы для химической реакции AlB2 + V = VB2 + Al.
В табл. 4 и рис. 8 приведены расчетные значения энергии Гиббса для реакции AlB2 + V = VB2 + Al.
Таблица 4. Значения энергии Гиббса для реакции AlB2+V=VB2+Al на глубине 0.5; 1; 1,5; 2 м
Реакция  | Глубина погружения флюса в расплав, м  | Диапазон расчетных температур, °C  | ||||||
650°C  | 700°C  | 750°C  | 800°C  | 850°C  | 900°C  | 950°C  | ||
AlB2 + V = = VB2 + Al  | 0  | –184.35  | –185.05  | –185.64  | –186.24  | –186.84  | –187.45  | –188.06  | 
0.5  | –276.08  | –278.13  | –279.25  | –279.90  | –280.55  | –281.12  | –282.55  | |
1.0  | –511.98  | –515.85  | –520.12  | –526.85  | –533.35  | –540.22  | –545.23  | |
1.5  | –794.79  | –799.56  | –810.45  | –830.61  | –850.46  | –856.12  | –860.46  | |
2.0  | –1080.03  | –1100.24  | –1122.12  | –1135.16  | –1145.25  | –1148.22  | –1173.54  | |
При температуре 650°C (рис. 9 и 10) для давлений 102.39 кПа (на поверхности расплава) и 148.99 кПа (на глубине погружения флюса 2 м) изменение энергии Гиббса для химической реакции AlB2 + V = VB2 + Al составляет –184.35 и –1080.03 кДж/моль соответственно. Для температуры 950°C эти значения составляют –188.06 и –1173.54 кДж/моль.
Рис. 9. Зависимость изменения энергии Гиббса от температуры и глубины погружения флюса на основе бора в расплав алюминия для реакции AlB2 + V = VB2 + Al.
Рис. 10. Зависимость изменения энергии Гиббса от глубины погружения навески флюса на основе бора в расплав алюминия при температуре 650 0С и 950 0С (крайние точки диапазона рабочей температуры) для реакции AlB2 + V = VB2 + Al.
Это важное наблюдение показывает, что при увеличении давления при постоянной температуре значение разницы изменений изобарно-изотермического потенциала уменьшается, особенно заметно при повышенных температурах. С другой стороны, при уменьшении температуры при постоянном давлении значение разности изменений энергии Гиббса также снижается, и эта тенденция более заметна при увеличении давления в системе.
При температуре 650°C (рис. 9 и 10) для реакции AlB2 + V = VB2 + Al разность изменений энергии Гиббса при повышении давления в системе с 102.39 кПа до 114.04 кПа составляет –91.726 кДж/моль, с 114.04 кПа до 125.69 кПа –235.9 кДж/моль, с 125.69 кПа до 137.29 кПа –282.808 кДж/моль, а с 137.29 кПа до 148.99 кПа –285.246 кДж/моль. При температуре 950°C эти значения изменений энергии Гиббса составляют –94.487 кДж/моль, –262.68 кДж/моль, –315.232 кДж/моль и –313.078 кДж/моль соответственно.
Это наблюдение подчеркивает, что химические реакции взаимодействия первичного алюминия и примесей, в том числе ванадия с бором с образованием интерметаллидов, могут протекать в определенном направлении в рассмотренном диапазоне температур и давлений (рис. 11).
Рис. 11. Зависимость изменения энергии Гиббса реакции от глубины погружения навески.
ЗАКЛЮЧЕНИЕ
Термодинамический анализ в HSC Chemistry 9.0. систем Al-V, Al-B, V-B в диапазоне температур 650–950°С и давлений с 102.39 кПа до 148.99 кПа показал, что значения энергии Гиббса (ΔGТ) во всем диапазоне рабочих температур процесса электролиза и литья первичного алюминия для VB2 значительно ниже, чем AlB2, следовательно, они будут образовываться преимущественно в данном температурном диапазоне. Порядок стабильности также предполагает, что ванадий может быть легко удален из расплавов алюминия путем добавления бора.
Работа выполнена в рамках грантового финансирования Комитета науки Министерства науки и высшего образования РК в рамках конкурса «Жас Галым» по проекту ИРН АР19175493 «Разработка технологии рафинирования первичного алюминия фильтрами с активной поверхностью».
About the authors
А. B. Kuandykov
Toraighyrov University
							Author for correspondence.
							Email: azeka200892@mail.ru
				                					                																			                												                	Kazakhstan, 							Pavlodar						
P. О. Bykov
Toraighyrov University
														Email: azeka200892@mail.ru
				                					                																			                												                	Kazakhstan, 							Pavlodar						
V. А. Chaikin
Smolensk Regional Branch of the Russian Foundry Association
														Email: azeka200892@mail.ru
				                					                																			                												                	Russian Federation, 							Safonovo						
М. М. Suyundikov
Toraighyrov University
														Email: azeka200892@mail.ru
				                					                																			                												                	Kazakhstan, 							Pavlodar						
А. К. Zhunusov
Toraighyrov University
														Email: azeka200892@mail.ru
				                					                																			                												                	Kazakhstan, 							Pavlodar						
V. А. Salina
Institute of Metallurgy, Ural Branch of the Russian Academy of Sciences; Ural State Mining University
														Email: azeka200892@mail.ru
				                					                																			                												                	Russian Federation, 							Yekaterinburg; Yekaterinburg						
N. К. Kulumbaev
Toraighyrov University
														Email: azeka200892@mail.ru
				                					                																			                												                	Kazakhstan, 							Pavlodar						
References
- V.I. Shpakov, V.S. Razumkin, V.G. Kokoulin, Ye.V. Nizovtsev, V.G. Ivanov, L.P. Trifonenkov, V.M. Nikitin. Sposob ochistki alyuminiya i yego splavov ot primesey tyazhelykh metallov [Method for cleaning aluminum and its alloys from heavy metal impurities]. Patent. RU 2084548 C1 RF. No. 94 94038553; declared 12.10.1994; published 20.07.1997. [In Russian]
 - Gorlanov Ye.S., Batrachenko A.A., Smailov B.S.-A., Morozov A.YU. Rol’ vanadiya v rasplavakh alyuminiyevykh elektrolizerov [The role of vanadium in melts of aluminum electrolyzers] // Metallurg. 2019. 62. P. 1048–1052. [In Russian].
 - Gorlanov Ye.S., Batrachenko A.A., Smailov B.S.-A., Skvortsov A.P. Ispytaniya obozhzhennykh anodov s povyshennym soderzhaniyem vanadiya [Testing of baked anodes with increased vanadium content] // Metallurg. 2018. 62. P. 62–69. [In Russian].
 - Gorlanov Ye.S. Legirovaniye katodov alyuminiyevykh elektrolizerov metodom nizkotemperaturnogo sinteza diborida titana [Alloying of aluminum electrolyzer cathodes by low-temperature synthesis of titanium diboride]. Dissertation for the degree of Doctor of Engineering Sciences. St. Petersburg: St. Petersburg State University, 2020. [In Russian].
 - Ibragimov A.T., Pak R.V. Elektrometallurgiya alyuminiya. Kazakhstanskiy elektroliznyy zavod [Electrometallurgy of aluminum. Kazakhstan Electrolysis Plant]. Pavlodar: Dom pechati, 2009. [In Russian].
 - Troitskiy I.A., Zheleznov V.A. Metallurgiya alyuminiya [Metallurgy of aluminum]. M.: Metallurgiya, 1984. [In Russian].
 - Banchila S.N., Filippov L.P. Izucheniye elektroprovodnosti metallov [Study of electrical conductivity of metals] // Teplofizika vysokikh temperatur. 1973. 11. P. 668–671. [In Russian].
 - Fomin N.Ye., Ivlev V.I., Yudin V.A. Vliyaniye primesey na elektrosoprotivleniye medi i alyuminiya [Effect of impurities on the electrical resistance of copper and aluminum] // Vestnik Mordovskogo universiteta. 2014. 24. P. 50–57. [In Russian].
 - Mirzoyev F.M. Teplofizicheskiye svoystva alyuminiya razlichnoy stepeni chistoty i splavov sistemy A–Si [Thermophysical properties of aluminum of varying degrees of purity and alloys of the A–Si system]. Dissertation for the degree of Cand. Sci. (Phys. and Mathematics). Dushanbe: Taj. Tech. University named after Academician M.S. Osimi, 2019. [In Russian].
 - Lyakishev N.P. Diagrammy sostoyaniya dvoynykh metallicheskikh sistem: spravochnik [State diagrams of double metal systems: reference book]. Vol. 3. M.: Mashinostroyeniye, 1996. [In Russian].
 - Specifications for coke LLP “UPNK-PV” ST-TOO 131240008552-009-2015. [In Russian].
 - TI – KEZ–017–2009 «Proizvodstvo melkoy chushki». Pavlodar: AO «KEZ», 2009. [In Russian].
 - Khaliq A., Rhamdhani M.A., Brooks G.A., John F., Grandfield J.F. Removal of vanadium from molten aluminum. P. I. Analysis of VB2 formation // Metallurgical and Materials Transactions B. 2014. 45. P. 752–768.
 - Khaliq A., Brooks G., John F., Rhamdhani M.A. Removal of vanadium from molten aluminum. P. II. Kinetic analysis and mechanism of VB2 formation // Metallurgical and Materials Transactions B. 2013. 45. 769–783.
 - Khaliq A., Rhamdhani M. A., Brooks G. A., Grandfield J. F. Removal of vanadium from molten aluminum. P. III. Analysis of industrial boron treatment practice // Metallurgical and Materials Transactions B. 2014. 45. P. 784–794.
 - Chervyakova K. YU. Issledovaniye i razrabotka tekhnologii polucheniya slitkov i listov boralyuminiya povyshennoy prochnosti [Research and development of technology for producing ingots and sheets of high-strength boron-aluminum]. Abstract of a dissertation for the degree of candidate of technical sciences. M.: MISiS, 2019. [In Russian].
 - Lyakishev N.P., Pliner Yu.L., Lappo S.I. Borsoderzhashchiye stali i splavy [Boron-containing steels and alloys]. M.: Metallurgiya, 1986. [In Russian].
 - Sletova N.V., Chaykin V.A. Tekhnologiya rafinirovaniya i modifitsirovaniya alyuminiyevykh splavov s primeneniyem ekologicheski chistykh preparatov, obespechivayushchikh stabil’nyye pokazateli kachestva otlivok [Technology of refining and modifying aluminum alloys using environmentally friendly pure preparations providing stable quality indicators of castings]: monograph. M.: MGOU, 2013. [In Russian].
 - Roine A. Outokumpu HSC Chemistry for Windows. Chemical reactions and Equilibrium software with extensive thermochemical database / A. Roine. – Pori: Outokumpu research OY, 2002.
 
Supplementary files
				
			
					
						
						
				
		











