Adjusting the Standard Methods of Testing Explosives for Sensitivity to Impact
- Autores: Dubovik A.V.1
-
Afiliações:
- Semenov Federal Research Center for Chemical Physics, Russian Academy of Sciences, Moscow, Russia
- Edição: Volume 42, Nº 3 (2023)
- Páginas: 11-15
- Seção: Combustion, explosion and shock waves
- URL: https://bakhtiniada.ru/0207-401X/article/view/139888
- DOI: https://doi.org/10.31857/S0207401X23030056
- EDN: https://elibrary.ru/LXXDPL
- ID: 139888
Citar
Texto integral
Resumo
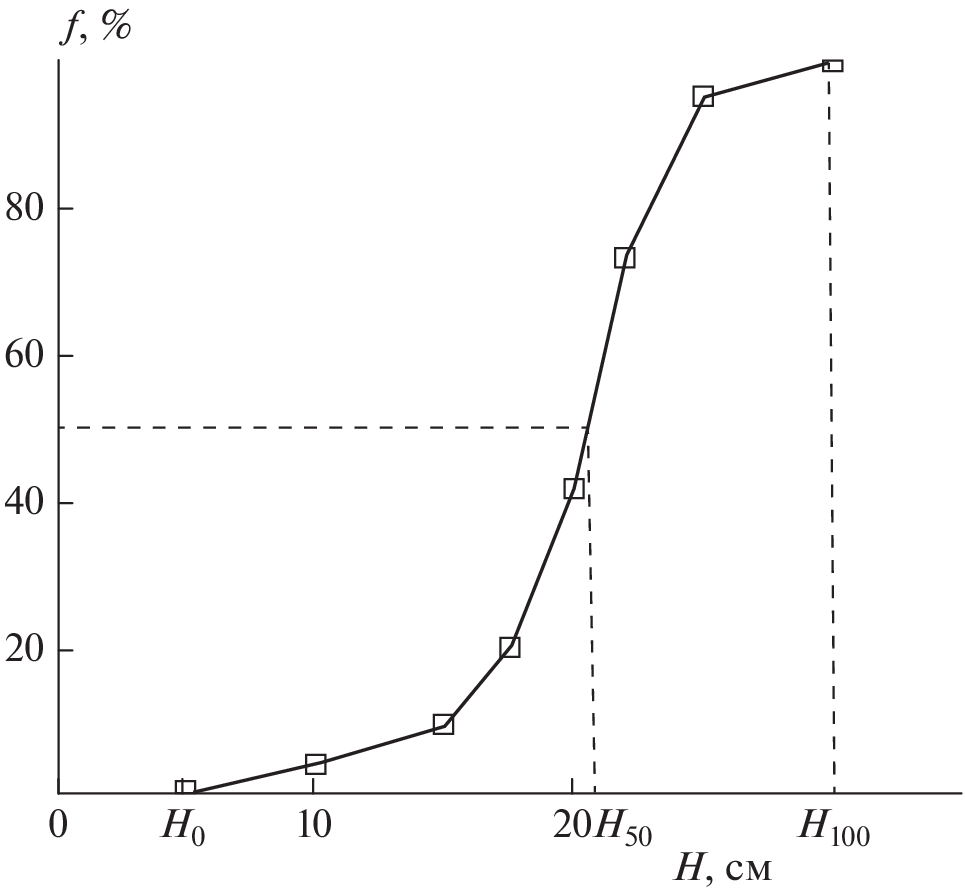
The expediency of using a new explosive or mixed composition is often decided by the results of their tests on their sensitivity to mechanical stresses (impact, friction, etc.), which are usually performed by standard methods: state, industry, etc. However, the experience of using these methods shows that often they are not sufficiently effective and that the level of danger of explosives in circulation is often underestimated. Based on the results of the analysis of laboratory methods of testing explosives for impact sensitivity—critical pressures and critical energies, based on the search for the optimal parameters for the initiation of the given mechanical explosion—ways to make the existing testing standards more accurate when obtaining data on the sensitivity of explosives are considered in this article.
Palavras-chave
Sobre autores
A. Dubovik
Semenov Federal Research Center for Chemical Physics, Russian Academy of Sciences, Moscow, Russia
Autor responsável pela correspondência
Email: a-dubovik@mail.ru
Россия, Москва
Bibliografia
- Назин Г.М., Корсунский Б.Л. // Хим. физика. 2021. Т. 40. № 3. С. 53.
- Гудкова И.Ю., Зюзин И.Н., Лемперт Д.Б. // Хим. физика. 2020. Т. 39. № 3. С. 53.
- Дубовик А.В. Хим. физика. 2020. Т. 40. № 8. С. 76.
- Махов М.Н. Хим. физика. 2021. Т. 39. № 1. С. 23.
- Афанасьев Г.Т., Боболев В.К. Инициирование твердых взрывчатых веществ ударом. М.: Наука, 1968.
- Дубовик А.В. // Горение и взрыв. 2021. Т. 14. № 3. С. 130; https://doi.org/10.30826/CE21140312
- Дубовик А.В. Чувствительность твердых взрывчатых систем к удару. М.: Изд-во РХТУ им. Д.И. Менделеева, 2011.
- Качанов Л.М. Основы теории пластичности. М.: Наука, 1969.
Arquivos suplementares





