The experiment on the ISS with low-temperature fixed points – a stage in developing high-stable on-board fixed-point blackbodies for in-flight calibrating the Earth observation IR instruments
- Authors: Burdakin A.A.1, Gavrilov V.R.1, Puzanov A.V.1, Us E.A.1
-
Affiliations:
- All-Russian scientific and research institute for optical and physical measurements
- Issue: No 2 (2024)
- Pages: 68-79
- Section: КОСМИЧЕСКИЕ АППАРАТЫ,СИСТЕМЫ И ПРОГРАММЫ ИЗК
- URL: https://bakhtiniada.ru/0205-9614/article/view/262299
- DOI: https://doi.org/10.31857/S0205961424020063
- EDN: https://elibrary.ru/FOTUIV
- ID: 262299
Cite item
Full Text
Abstract
The in-flight experiment “Reper-Kalibr” was conducted on board the International Space Station, in which the fixed points referenced to melt transition temperatures of the gallium eutectic alloys Ga-In (~288,8 К), Ga-Sn (~293,6 К), Ga-Zn (~298,3 К) and the Ga (~302,9 K) were investigated. Investigation of zero-gravity impact on the low-temperature fixed points characteristics is required to develop an on-orbit calibration scale within the range ~(210–350) K for creating in the end high-stable on-board fixed-point blackbodies designed for the space-based IR instruments in-flight calibration. The main experimental results are the series of melt plateaus in cycles of melt – freeze of the selected substances. The experiment has shown that the selected fixed points are useful for achieving said object. The comparative analysis of the results of ground-based and in-flight stages of the experiment is performed.
Full Text
ВВЕДЕНИЕ
В работах (Krutikov et al., 2006; Панфилов и др., 2010) была проанализирована проблема полетного контроля стабильности характеристик спутниковой аппаратуры в тепловом ИК диапазоне (далее ‒ спутниковой аппаратуры). В качестве высокостабильных опорных источников ИК излучения для полетного контроля было предложено разработать бортовые черные тела (БЧТ) на основе фазового перехода (ФП) рабочего вещества (далее ‒ БЧТ на ФП).
Данное предложение относится в первую очередь к спутниковой аппаратуре, применяемой для измерения температур на поверхности Земли (поверхности океанов, суши, облаков) в целях мониторинга глобального климатического тренда. При этом самые высокие требования к долговременной стабильности характеристик спутниковой аппаратуры предъявляются при измерении температуры поверхности океанов – на уровне 0,01 градуса/десятилетие (CEOS, 2022). Проведение измерений из космоса (с полным пространственным покрытием) температуры поверхности океана, как основного резервуара тепловой энергии на планете, дает наиболее ценную информацию для определения климатического тренда. Аналогичные требования предъявляются к совместимости результатов измерений при помощи различной спутниковой аппаратуры.
В целом, существуют такие принципиальные возможности контролировать в период эксплуатации на орбите характеристики спутниковой аппаратуры, прошедшей предполетную калибровку на наземных эталонных установках: использование устройств внутреннего контроля или внешних по отношению к спутнику тестовых объектов, что включает в себя также метод межспутниковой калибровки.
При выполнении межспутниковой калибровки осуществляется синхронное наблюдение тестовых участков различными приборами, один из которых условно выступает в качестве эталонного. Исходя из такой процедуры, межспутниковую калибровку можно, по всей видимости, считать наиболее непосредственным способом достижения совместимости результатов измерений с применением аппаратуры, размещенной на спутниках одной или нескольких стран. Насколько большое значение придается этой методике, говорит решение Всемирной метеорологической организации (ВМО) о создании Глобальной космической системы интеркалибровки (GSICS). Ведущая роль ВМО в этом вопросе обусловлена тем, что первостепенными задачами GSICS являются задачи глобальной климатологии, связанные, в том числе, с измерением температуры на поверхности Земли из космоса. В контексте обеспечения единства температурных измерений были, при координации ВМО, проведены многочисленные отечественные и зарубежные работы по интеркалибровке ИК каналов спутниковой аппаратуры. (Здесь следует отметить, что использование наземных тестовых участков в тепловом ИК диапазоне представляет немалые сложности, связанные с необходимостью учета влияния атмосферы и недостаточностью данных по излучательной способности наблюдаемых объектов.)
В ряде таких работ, например (Xu et al., 2014; Киселева и др., 2015; Hewison et al., 2017; Rublev et al., 2018), было показано, что смещения (“biases”) значений температуры относительно измерений с применением “эталонной” спутниковой аппаратуры составляют от нескольких десятых градуса до нескольких градусов. При таких величинах смещений, далеких от требований к стабильности и совместимости измерений, позволяющих вести надежный мониторинг климатического тренда (CEOS, 2022), решить данную проблему в рамках метода межспутниковой калибровки в настоящее время не представляется возможным. По всей вероятности, решение в рамках GSICS также должно опираться на разработку высокостабильного бортового опорного источника ИК излучения (в частности – предлагаемого в настоящей статье низкотемпературного БЧТ на ФП) с включением его в комплекс “эталонной” спутниковой аппаратуры.
Для полетных калибровок спутниковой аппаратуры в тепловом ИК диапазоне используются в основном бортовые черные тела. Стабильность БЧТ в течение всего времени эксплуатации на орбите должна быть, по крайней мере, не хуже, чем требуемая долговременная стабильность спутниковой аппаратуры (Sapritsky et al., 2009; Muller, 2014). При использовании существующих БЧТ – с отсутствием возможности проверки термодатчиков в системе управления температурой излучателя – нельзя быть уверенным в стабильности опорного излучения из-за значительного временного дрейфа характеристик датчиков (Trishchenko et al., 2002). По этой причине полетный контроль характеристик спутниковой аппаратуры с использованием современных БЧТ также не позволяет решить поставленную задачу.
Таким образом, проблема надежного определения глобального климатического тренда на основании температурных измерений из космоса остается по-прежнему актуальной (CEOS, 2022). Идея решения данной проблемы через разработку БЧТ на ФП, инкорпорирующих в конструкцию черного тела физическое явление фазового перехода плавления↔затвердевания веществ (что уже применяется в наземных эталонах) и обладающих вследствие этого повышенной стабильностью по сравнению с существующими БЧТ, была выдвинута в 2005 году (Krutikov et al., 2006). Впервые она была реализована в последнем поколении аппаратуры спутников CubeSat, применяемой для температурных измерений и исследования радиационного баланса Земли, где для полетной калибровки использовалось БЧТ на основе фазового перехода галлия, с плоским излучателем (Swartz et al., 2016).
В БЧТ на ФП температура излучателя контролируется по реперной точке – температуре нонвариантного фазового перехода рабочего вещества БЧТ, при этом существуют два концептуально отличающихся способа осуществления такого контроля (Панфилов и др., 2010). Принципиально высокая долговременная стабильность БЧТ на ФП обусловлена тем, что реперная температура остается неизменной при многократной реализации ФП плавления↔затвердевания на протяжении длительного времени. В круг веществ с нонвариантным фазовым переходом, на базе которых возможно создание реперных точек температуры, входят, в том числе, металлы и эвтектические сплавы. Соответственно, вещества этого класса могут быть использованы как рабочие в БЧТ на ФП.
Кроме температуры излучателя, вторым по значимости параметром в формуле Планка для спектральной зависимости мощности излучения черного тела является излучательная способность ε. Два этих фактора, температура и излучательная способность, полностью определяют стабильность характеристик черного тела, в том числе ‒ полетных характеристик БЧТ. Первостепенное значение фактора температуры обусловлено тем, что температура входит в показатель экспоненты в формуле Планка, в то время как величина излучательной способности является линейным коэффициентом в формуле и потому влияет только на интенсивность излучения (причем в значительно меньшей степени, чем температура), не изменяя спектральные характеристики черного тела. В космическом эксперименте (КЭ) “Репер-Калибр” проводились исследования, направленные в перспективе на контроль стабильности эксплуатационной температуры как приоритетного фактора в разработке высокостабильных БЧТ на ФП. Безусловно, на определенном этапе работ должно быть также уделено внимание вопросу стабильности излучательной способности БЧТ на ФП во время эксплуатации на орбите.
В отличие от эксплуатационной температуры, которая в БЧТ на ФП должна контролироваться по определенному значению реперной точки, величина излучательной способности, в теоретическом приближении абсолютно черного тела равная единице, в случае реального черного тела в принципе может иметь разные – но при этом стабильные – значения (желательно близкие к единице). В вопросе стабильности излучательной способности БЧТ на ФП существенно, таким образом, только постоянство величины ε во времени, а не само ее значение, что облегчает задачу. К тому же, в случае контроля температуры БЧТ по фазовому переходу рабочего вещества, окружающего излучатель (Панфилов и др., 2010), автоматически обеспечивается не только стабильность, но и высокая однородность распределения температуры на поверхности излучателя, что само по себе будет способствовать как поддержанию стабильности, так и увеличению излучательной способности.
Работы по созданию ряда БЧТ на ФП (с различной эксплуатационной температурой) для обеспечения стабильности полетных характеристик спутниковой аппаратуры ставят задачу разработки орбитальной калибровочной шкалы на реперных точках в пределах диапазона ~(210–350) K измерения температур на поверхности Земли из космоса. Вследствие чего появляется необходимость исследования в последовательности космических экспериментов фазового перехода плавления↔затвердевания веществ, потенциально пригодных (перспективных) для создания орбитальной калибровочной шкалы и построения на ее точках ряда низкотемпературных БЧТ на ФП (Бурдакин и др., 2021).
В период с 23 июня по 15 июля 2022 года на Российском сегменте МКС был проведен первый этап космического эксперимента “Репер-Калибр” данной направленности, постановщиком которого является ФГБУ “ВНИИОФИ”. В условиях невесомости были исследованы четыре реперные точки из диапазона ~(210–350) K. Три новые, эвтектические реперные точки (ЭРТ) на основе ФП плавления галлиевых эвтектических сплавов Ga-In (~288,8 К), Ga-Sn (~293,6 К), Ga-Zn (~298,3 К), а также реперная точка на основе ФП плавления элементарного Ga (~302,9 K), являющаяся действующей реперной точкой международной температурной шкалы МТШ-90. Принадлежность этой реперной точки к МТШ-90 делает принципиально важным включение Ga в число объектов КЭ “Репер-Калибр” – веществ, перспективных для разработки орбитальной калибровочной шкалы.
Выбор объектов исследования в КЭ “Репер-Калибр” обусловлен общей как для “наземной”, так и “космической” термометрии метрологической задачей разработки новых, дополнительных, реперных точек в недостаточно насыщенном точками МТШ-90 диапазоне ~(210–350) K (Бурдакин и др., 2021). А также – принадлежностью исследуемых на первом этапе КЭ реперных точек к более узкому, но крайне важному для космического мониторинга глобального климатического тренда интервалу ~(289–303) К, приблизительно совпадающему с диапазоном изменения температур поверхности Мирового океана.
Итогом выполнения первого этапа КЭ “Репер-Калибр” является значительное продвижение в разработке насыщенной реперными точками, преимущественно новыми ЭРТ, орбитальной калибровочной шкалы в пределах диапазона ~(210–350) K измерения температур на поверхности Земли из космоса.
ЦЕЛИ КОСМИЧЕСКИХ ЭКСПЕРИМЕНТОВ С ПЕРСПЕКТИВНЫМИ РЕПЕРНЫМИ ТОЧКАМИ БУДУЩЕЙ ОРБИТАЛЬНОЙ КАЛИБРОВОЧНОЙ ШКАЛЫ
КЭ “Репер-Калибр” – первый космический эксперимент, в котором эвтектические сплавы изучались с точки зрения применения ЭРТ для метрологического обеспечения температурных измерений с применением спутниковой аппаратуры. Ранее космические эксперименты с эвтектическими и другими многокомпонентными сплавами, в ходе которых также реализовывались ФП плавления↔кристаллизации, были нацелены на исследование структуры и свойств сплавов, закристаллизованных в невесомости (Kammer et al., 2009; Земсков и др., 1985, 2001), в сравнении с кристаллизацией в наземных условиях. (В случае фазового перехода металлов и интерметаллических сплавов обычно используют термин “кристаллизация”, а не “затвердевание”.)
Целью КЭ “Репер-Калибр” и последующих космических экспериментов той же направленности является разработка в пределах диапазона ~(210–350) K орбитальной калибровочной шкалы, насыщенной реперными точками – действующими точками МТШ-90 и дополнительными. (Основными кандидатами на роль дополнительных реперных точек являются ЭРТ, так как их можно создавать в любом представляющем интерес температурном интервале – путем подбора компонентов эвтектического сплава.) Космические эксперименты по разработке орбитальной калибровочной шкалы на реперных точках температуры должны сопровождаться КЭ с целью испытания прототипов БЧТ на ФП. И в конечном итоге – завершиться построением на ряде низкотемпературных БЧТ на ФП орбитальной радиометрической калибровочной шкалы в тепловом ИК диапазоне. Необходимость исследовать в космических экспериментах перспективные реперные точки и прототипы БЧТ на ФП обусловлена тем, что в условиях невесомости могут измениться характеристики реперных точек (температурных плато фазовых переходов рабочих веществ БЧТ на ФП) и как следствие – характеристики опорного излучения БЧТ на ФП.
Значения ЭРТ принято определять по температуре плавления, а не кристаллизации (Bongiovanni et al., 1972; Ancsin, 1990; Ivanova et al., 2005), как это происходит в случае реперных точек МТШ-90 на базе металлов, за исключением галлия. Далее под характеристиками эвтектических реперных точек, исследуемых в КЭ “Репер-Калибр”, будут подразумеваться характеристики температурного плато плавления эвтектических сплавов.
ЗАДАЧИ, АППАРАТУРА И МЕТОДИКА ПРОВЕДЕНИЯ КЭ “РЕПЕР-КАЛИБР”
На первом этапе КЭ “Репер-Калибр”, включая наземную (предполетную) и полетную стадии КЭ, были поставлены следующие задачи:
- реализация циклов плавления – кристаллизации образцов веществ (табл. 1) в тепловых блоках (ТБ) аппаратуры;
- сравнение температурного плато плавления (реперного) при реализации ФП плавления образцов веществ с различной скоростью;
- – сравнение плато плавления образцов эвтектических сплавов разного состава (табл. 1);
- исследование повторяемости экспериментальных значений реперных точек на основе ФП плавления выбранных для КЭ перспективных веществ;
- сравнительный анализ экспериментальных данных, полученных на предполетной стадии в условиях наземной гравитации и на полетной стадии в невесомости.
Таблица 1. Образцы выбранных для КЭ перспективных веществ.
Вещество | Тепловой блок | Массовая доля второго компонента в образце, % | Примерная температура фазового перехода, К |
Ga–In | ТБ 1 | 15 (In) | 288.8 |
ТБ 2 | 20 (In) | ||
Ga–Sn | ТБ 3 | 12 (Sn) | 293.6 |
ТБ 4 | 16 (Sn) | ||
Ga–Zn | ТБ 5 | 3 (Zn) | 298.3 |
ТБ 6 | 4 (Zn) | ||
Ga | ТБ 7 | – | 302.9 |
По содержанию второго компонента (In, Sn, Zn) в сплавах на основе галлия состав образцов выбран, согласно диаграммам состояния (Лякишев, 1997), следующим образом: образцы в ТБ 1, ТБ 5 имеют доэвтектический состав; в ТБ 4 – заэвтектический; в ТБ 2, ТБ 3, ТБ 6 – “точный” эвтектический (в разных источниках положение эвтектической точки по оси концентраций не совпадает на диаграммах состояния одного и того же сплава).
Основными частями научной аппаратуры, разработанной для проведения первого этапа КЭ, являются:
- семь тепловых блоков с образцами веществ;
- система питания и управления (СПУ), ответственная за выполнение эксперимента, получение, хранение и копирование экспериментальных данных.
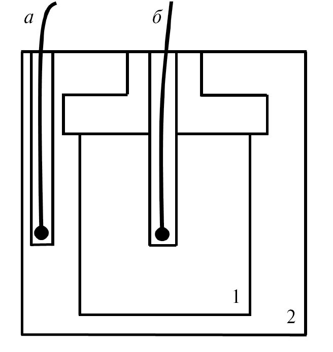
Тепловые блоки идентичны по конструкции и отличаются только образцами веществ, находящимися в термометрических ячейках ТБ. Схематическое изображение ячейки в теплообменнике ТБ представлено на рис. 1.
Рис. 1. Схематическое изображение ячейки в теплообменнике ТБ: 1 – термометрическая ячейка теплового блока с образцом вещества (масса образца находится в пределах 40–45 г); 2 – теплообменник; а – датчик температуры теплообменника (контрольный); б – датчик температуры образца.
Датчик А входит в систему управления контрольной температурой эксперимента, датчик Б температуры образца размещается в термометрическом канале ячейки.
Циклы плавления – кристаллизации, инициируемые изменением контрольной температуры, организованы в серии КЭ, реализуемые последовательно со всеми ТБ согласно циклограмме, представленной на рис. 2 в обобщенном виде. Основная часть циклограммы представляет собой последовательность трех одинаковых температурных циклов, состоящих каждый из четырех стадий: нагрева, стабилизации контрольной температуры на максимальном значении Тмакс при плавлении вещества, охлаждения, стабилизации контрольной температуры на минимальном значении Тмин при кристаллизации вещества.
Рис. 2. Общий вид циклограммы серии КЭ.
Циклограммы для разных ТБ отличаются, в зависимости от температуры фазового перехода Тфп вещества в ТБ, только величинами Тмакс и Тмин. Стартовая температура Тстарт – близкая к температуре окружающей среды – может быть как выше, так и ниже Тфп того или иного вещества (на рис. 2 представлен второй случай). По этой причине все серии КЭ начинаются с охлаждения (рис. 2), чтобы в начале первого цикла плавления – кристаллизации вещество гарантированно находилось в твердом состоянии.
Для реализации реперной точки плавления контрольная температура Тмакс устанавливается выше Тфп на некоторую величину (рис. 2), которую в литературе принято называть температурным превышением, и стабилизируется на этом уровне до полного расплавления вещества. Такой метод реализации реперных точек известен как динамический: граница раздела твердой и жидкой фаз находится в непрерывном движении до завершения фазового перехода.
Стадию кристаллизации, имеющую вспомогательное назначение – реперным является плато плавления, – можно осуществлять быстро с целью экономии времени эксперимента, так что контрольная температура Тмин устанавливалась ниже Тфп на довольно значительную величину – примерно 12–20 градусов в различных сериях КЭ, в зависимости от вещества в ТБ (и возможностей аппаратуры). В то время как температурное превышение на стадии плавления ограничивалось величиной ~2–3 градуса, поскольку величина превышения очевидным образом влияет на скорость плавления, а следовательно, – на форму (качество) реперного плато. Качество плато тем выше, чем меньше интервал изменения температуры (далее – температурный интервал) на квазилинейном (далее ‒ линейном) участке плато и чем продолжительнее этот участок. Надо также отметить, что в значительной мере качество температурного плато фазового перехода вещества определяется его физико-химической природой.
После выполнения КЭ по обработанным данным с датчиков А и Б, отдельно для каждой серии, были построены графики зависимости от времени соответственно контрольной температуры (действительная циклограмма) и температуры образцов (термограмма). По термограммам КЭ анализировались характеристики реперных плато плавления образцов вещества в ТБ, полученные в наземных условиях и в условиях невесомости: качество плато и повторяемость экспериментальных значений реперной точки в пределах серии циклов плавления – кристаллизации. В непродолжительном космическом эксперименте повторяемость реперной точки является естественным критерием пригодности вещества для построения БЧТ на ФП с высокой долговременной стабильностью.
ОБЩЕЕ ОПИСАНИЕ РЕЗУЛЬТАТОВ КОСМИЧЕСКОГО ЭКСПЕРИМЕНТА
С каждым тепловым блоком на предполетной и полетной стадиях эксперимента было выполнено по две серии КЭ ‒ в режимах 1 и 2, отличающихся величиной температурного превышения на стадии плавления. Температурное превышение в режиме 1 находилось для разных ТБ примерно в пределах 2.8–3.1 градуса; в режиме 2 оно было на 0.6–1.0 градуса меньше, чем в режиме 1 для того же ТБ.
Графическое представление результата в серии КЭ (действительная циклограмма и термограмма) дано на рис. 3 на примере предполетной серии КЭ с ТБ 2 в режиме 2.
Рис. 3. Графическое представление результата в серии КЭ. ▄ – график контрольной температуры (действительная циклограмма); ♦ – график температуры образца (термограмма).
Шкала по оси температур на рис. 3 указана в единицах СПУ, соответствующих данным с выхода аналого-цифрового преобразователя в СПУ, на вход которого поступают сигналы с датчиков температуры А и Б. В КЭ “Репер-Калибр” не ставилась задача измерения абсолютных значений температуры образцов, в том числе – абсолютных значений реперных точек, исследуемых в КЭ. Эксперимент был направлен на исследование формы и повторяемости реперных плато плавления в сериях КЭ, а также ‒ возможного влияния невесомости на форму, повторяемость и относительное положение плато.
В табл. 2 представлены основные результаты предполетной и полетной стадий КЭ “Репер-Калибр” ‒ характеристики плато плавления образцов веществ, участвовавших в эксперименте.
Таблица 2. Характеристики плато плавления выбранных для КЭ веществ.
ТБ | Образец вещества | Режим | Предполетная стадия КЭ | Полетная стадия КЭ | ||
~ Температурный интервал / ~ Значение условной реперной точки, единицы СПУ | ~ Длительность линейного участка плато, мин | ~ Температурный интервал / ~ Значение условной реперной точки, единицы СПУ | ~ Длительность линейного участка плато, мин | |||
ТБ 1 | Ga–In 15 мас. % In | 1 | 170 / 15700 | 20 | 170 / 15550 | 20 |
2 | 140 / 15600 | 25 | 120 / 15460 | 20 | ||
ТБ 2 | Ga–In 20 мас. % In | 1 | 30 / 15740 | 25 | 40 / 15380 | 25 |
2 | 20 / 15565 | 40 | 30 / 15290 | 40 | ||
ТБ 3 | Ga–Sn 12 мас. % Sn | 1 | 80 / 20560 | 20 | 100 / 20390 | 20 |
2 | 80 / 20450 | 30 | 60 / 20310 | 30 | ||
ТБ 4 | Ga–Sn 16 мас. % Sn | 1 | 140 / 20700 | 30 | 110 / 20300 | 30 |
2 | 200 / 20560 | 45 | 110 / 20300 | 30 | ||
ТБ 5 | Ga–Zn 3 мас. % Zn | 1 | 210 / 25200 | 10 | 40 / 24870 | 20 |
2 | 180 / 25020 | 15 | 25 / 24780 | 25 | ||
ТБ 6 | Ga–Zn 4 мас. % Zn | 1 | 60 / 25240 | 20 | 20 / 25210 | 35 |
2 | 60 / 25140 | 30 | 15 / 25125 | 50 | ||
ТБ 7 | Ga | 1 | 20 / 29800 | 30 | 15 / 29760 | 35 |
2 | 20 / 29640 | 45 | 15 / 29605 | 55 | ||
АНАЛИЗ РЕЗУЛЬТАТОВ КОСМИЧЕСКОГО ЭКСПЕРИМЕНТА В ЧАСТИ ГАЛЛИЯ
В деле создания орбитальной калибровочной шкалы особенно важны результаты КЭ “Репер-Калибр” в части Ga, поскольку реперная точка температуры плавления Ga является действующей точкой МТШ-90.
Рис. 2 демонстрирует типичные плато плавления Ga в ТБ 7 на примере плато в предполетной и полетной сериях КЭ в режиме 2.
Плато плавления Ga характеризуются высокой повторяемостью: в режиме 2 повторяемость ~7 ед. СПУ (1σ) в предполетной серии и ~9 ед. СПУ (1σ) в полетной серии (единица СПУ соответствует ~0,001 градуса). Примерно такая же повторяемость, при несколько худшем качестве плато, наблюдалась и в сериях в режиме 1.
Для оценки повторяемости здесь и далее в статье используется условное значение реперной точки на плато плавления – конец линейного участка плато. Эта методология была предложена для определения условного значения эвтектических реперных точек (Ancsin, 2006) и в оригинале имеет название “the run-off point”, что можно перевести как “точка отрыва” (от линейного участка плато). Привлечение данного метода к анализу ЭРТ изначально связано с тем, что температурный интервал плато плавления эвтектических сплавов, как правило, больше, чем у металлов, ‒ соответственно больше неопределенность выбора реперной точки. Однако “точка отрыва” имеет и внятный физический смысл в аспекте фазового перехода как такового (Ancsin, 2006), поэтому может быть использована как условная реперная точка для широкого класса веществ.
Как уже было отмечено, повторяемость является естественным индикатором долговременной стабильности реперной точки – характеристики, которую невозможно непосредственно определить в силу краткосрочности космического эксперимента. С этих позиций следует признать реперную точку температуры плавления Ga перспективной для построения орбитальной калибровочной шкалы и разработки БЧТ на ФП, поскольку ее повторяемость – в том числе в условиях невесомости, что принципиально важно, – сравнима с требуемой долговременной стабильностью характеристик спутниковой аппаратуры (CEOS, 2022).
Качество “космических” плато плавления Ga немного выше “наземных” – в обоих режимах 1 и 2 – как за счет несколько большей продолжительности линейного участка плато, так и несколько меньшей величины температурного интервала (табл. 2). В целом, во всех сериях характеристики плато плавления Ga – в совокупности с резким “отрывом” от линейного участка (рис. 4), что позволяет уверенно определить условное значение реперной точки, – свидетельствуют о высоком качестве и “наземных”, и “космических” плато.
Рис. 4. Плато плавления образца Ga в ТБ 7 в предполетной и полетной сериях КЭ. ▲ – плато в предполетной серии; ■ – плато в полетной серии.
Плато плавления Ga, полученные в наземных и космических условиях, близки не только по форме, но и по своему положению относительно оси температур (рис. 4). Отличие составляет ~35 мК, что близко к погрешности датчика температуры Б – 20 мК при доверительной вероятности 95 %. Аналогичный по смыслу результат был получен в КЭ на МКС (Topham et al., 2015) с реперной точкой плавления Ga, а также в КЭ на борту космического аппарата “Фотон-М” № 4, в котором тестировался прототип полостного БЧТ на ФП с Ga в качестве рабочего вещества (Саприцкий и др., 2016).
Таким образом, на основании результатов трех космических экспериментов можно считать, что величина силы тяжести или вообще не оказывает, или оказывает несущественное влияние на положение плато плавления Ga и как следствие ‒ на экспериментальное значение реперной точки. В совокупности с высокой повторяемостью это означает, что при переносе данной действующей точки МТШ-90 в космические условия она может стать базовой реперной точкой орбитальной калибровочной шкалы в пределах температурного диапазона ~(210–350) K.
АНАЛИЗ РЕЗУЛЬТАТОВ КОСМИЧЕСКОГО ЭКСПЕРИМЕНТА В ЧАСТИ ЭВТЕКТИЧЕСКИХ СПЛАВОВ Ga–In, Ga–Sn, Ga–Zn
Интерметаллические эвтектические сплавы активно исследуются в последние десятилетия как перспективные вещества для разработки дополнительных реперных точек в недостаточно насыщенных действующими точками МТШ-90 температурных интервалах (Bongiovanni et al., 1972; Ancsin, 1990; Ivanova et al., 2005). Один из таких интервалов – рассматриваемый диапазон ~(210–350) K измерения температур на поверхности Земли из космоса. В дополнение к реперным точкам МТШ-90, находящимся в диапазоне ~(210–350) K, для более плотного заполнения будущей орбитальной калибровочной шкалы, создаваемой в пределах данного диапазона, потенциально пригодными являются ЭРТ на базе галлиевых эвтектических сплавов (табл. 1).
Прежде всего, при анализе результатов КЭ “Репер-Калибр” в части Ga–In, Ga–Sn, Ga–Zn обращает на себя внимание, что, в отличие от результатов КЭ в части Ga, положение по оси температур плато плавления эвтектических сплавов заметно отличается в “наземных” и “космических” условиях, за исключением одного случая – образца сплава Ga–Zn в ТБ 6. В остальных случаях плато плавления эвтектических сплавов в полетных сериях расположены ниже, чем плато плавления в предполетных сериях, на величину примерно от 140 мК до 400 мК.
Рис. 5 демонстрирует этот эффект на примере типичных плато плавления образца сплава Ga–Sn в ТБ 3 в предполетной и полетной сериях КЭ в режиме 2.
Рис. 5. Плато плавления образца Ga–Sn в ТБ 3 в предполетной и полетной сериях КЭ. ▲ – плато в предполетной серии; ■ – плато в полетной серии.
При одинаковой форме “космические” плато плавления Ga–Sn расположены примерно на 140 мК ниже “наземных” (рис. 5). Для сравнения – разница в положении “наземного” и “космического” плато плавления образца Ga–Zn в ТБ 6 составляет только ~20 мК и ~15 мК в режимах 1 и 2 соответственно (табл. 2), что меньше погрешности датчика температуры Б. Таким образом, в случае образца Ga–Zn в ТБ 6 также справедлив вывод об отсутствии или несущественном влиянии величины силы тяжести на положение плато, сделанный ранее в отношении Ga. В противоположность этому, образец Ga–Zn в ТБ 5, отличающийся от образца Ga–Zn в ТБ 6 только составом (табл. 1), демонстрирует общий для эвтектических сплавов – объектов КЭ, эффект смещения плато, аналогично сплавам Ga–In и Ga–Sn.
В сравнении с Ga качество плато плавления Ga-Sn заметно ниже: при большом разбросе в характеристиках (табл. 2) в среднем температурный интервал плато Ga–Sn составляет ~100 мК, что значительно больше, а средняя продолжительность линейного участка ~30 минут, что меньше, чем у плато плавления Ga. Однако, несмотря на существенно более низкое качество, плато плавления Ga–Sn ненамного уступают плато плавления Ga по критерию повторяемости. С использованием условного значения реперной точки как “точки отрыва” повторяемость в обеих сериях, к которым принадлежат плато, представленные на рис. 5, составляет ~10 ед. СПУ (1σ).
В остальных сериях с Ga–Sn, а также во всех сериях с Ga–In и частично – в “наземных” – сериях с Ga–Zn наблюдались примерно такие же характеристики плато (табл. 2) и повторяемости реперных точек. В особом случае Ga–Zn “космические” плато плавления обоих образцов (табл. 1) имеют значительно более высокие характеристики, чем “наземные”, и приближаются по качеству к плато плавления Ga, особенно в случае образца Ga–Zn в ТБ 6 (табл. 2). Это второе отличие результатов КЭ с Ga–Zn от результатов с Ga–Sn и Ga–In, поскольку для Ga–Sn и Ga–In качество “наземных” и “космических” плато приблизительно одинаково, с незначительной тенденцией в сторону улучшения в условиях невесомости.
В дополнение к высокому качеству “космических” плато плавления Ga–Zn, реперные точки на базе Ga–Zn, реализованные в невесомости, имеют лучшую повторяемость из всей совокупности результатов КЭ. Так, в режиме 2 повторяемость составляет ~2 ед. СПУ для образца Ga–Zn в ТБ 6 и ~ 4 ед. СПУ для образца Ga–Zn в ТБ 5.
КЭ “Репер-Калибр” показал существенное влияние состава образцов эвтектических сплавов (табл. 1) на характеристики реперного плато плавления (табл. 2), что следует принимать во внимание в ходе дальнейших работ. Качество плато плавления образцов сплавов, близких по составу к “точному” эвтектическому, выше, чем для образцов до- или заэвтектического состава, что особенно заметно на примере сплава Ga–In. Продолжительность линейного участка плато плавления в режиме 2 образца Ga–In “точного” эвтектического состава в ТБ 2 ~40 минут при температурном интервале ~30 мК, в то время как соответствующие характеристики плато плавления образца Ga–In доэвтектического состава в ТБ 1 составляют ~20 минут и ~120 мК.
Анализ результатов КЭ в части эвтектических сплавов Ga–In, Ga–Sn, Ga–Zn показывает, что ЭРТ на базе этих веществ, наряду с реперной точкой плавления Ga, пригодны для построения орбитальной калибровочной шкалы в пределах диапазона ~(210–350) K. В пользу этого говорят прежде всего значения повторяемости: для всех ЭРТ повторяемость либо близка, либо, в случае Ga-Zn, превосходит требования к долговременной стабильности спутниковой аппаратуры (CEOS, 2022).
ЗАКЛЮЧЕНИЕ
- В КЭ “Репер-Калибр” (этап 1) фазовые переходы плавления↔кристаллизации эвтектических сплавов впервые изучались в условиях невесомости под углом зрения задач метрологии. Плато плавления эвтектических сплавов Ga–In, Ga–Sn, Ga–Zn, а также Ga, были исследованы как перспективные реперные точки температуры будущей орбитальной калибровочной шкалы в пределах диапазона ~(210–350) K.
- Результаты КЭ в части Ga, подтверждая аналогичные результаты предшествующих экспериментов (Topham et al., 2015; Саприцкий и др., 2016), доказывают пригодность реперной точки на базе Ga для использования в космических условиях. Принадлежность данной реперной точки к МТШ-90 свидетельствует о принципиальной возможности переноса на орбиту “наземной” температурной шкалы – по крайней мере, в пределах ее относительно низкотемпературного диапазона ~(210–350) К.
Положительные результаты исследования в невесомости ЭРТ на базе эвтектических сплавов Ga–In, Ga–Sn, Ga–Zn дают возможность дополнить новыми, эвтектическими, реперными точками орбитальную калибровочную шкалу в пределах слабо насыщенного точками МТШ-90 диапазона ~(210–350) K.
С использованием реперных точек температурной орбитальной калибровочной шкалы должна быть разработана радиометрическая орбитальная калибровочная шкала, опирающаяся на ряд высокостабильных БЧТ на ФП с рабочими температурами из диапазона ~(210–350) K, излучающих преимущественно в тепловом ИК диапазоне.
- Эксперимент показал, что с точки зрения соотношения компонентов лучшие характеристики имеют ЭРТ на базе сплава “точного” эвтектического состава. Однако по данным из разных источников для одного и того же сплава положение эвтектической точки на диаграмме состояния может отличаться, причем довольно существенно: в некоторых случаях на несколько процентов по оси концентрации компонентов. Поэтому справочные значения “точного” эвтектического состава могут служить только ориентиром при выборе соотношения компонентов в сплаве согласно критерию качества реперного плато.
Другой параметр эксперимента, влияющий на характеристики плато плавления, ‒ температурный режим реализации реперной точки. Для будущих полетных калибровок по БЧТ на ФП температурный режим следует оптимизировать по двум критериям. Первый – качество плато, соответствующее требованиям к полетным характеристикам спутниковой аппаратуры; второй – продолжительность плато, достаточная для проведения калибровки. Результаты КЭ дают обширный материал для такой оптимизации.
- Согласно результатам эксперимента плато плавления эвтектических сплавов в невесомости проходят, за одним исключением, заметно ниже, чем аналогичные плато в наземных условиях, ‒ на величину примерно от 140 до 400 мК. Исключение составляет образец Ga–Zn в ТБ 6, при том, что образец Ga–Zn в ТБ 5 демонстрирует такое же поведение, как Ga–In и Ga–Sn.
Принимая во внимание трудности разработки математической модели, описывающей все особенности механизма фазового перехода в эвтектических сплавах, в настоящей статье можно лишь указать направление, в котором следует искать объяснение этого эффекта. Температура плавления вещества зависит от разницы энтропий жидкой и твердой фаз, находящихся в равновесии. При этом величина силы тяжести оказывает влияние практически только на состояние и процессы в жидкой фазе. В том числе ‒ на распределение в эвтектическом расплаве атомов компонентов с различной атомной массой, которое в невесомости теоретически должно быть хаотическим, а при наличии гравитации проявляет тенденцию к расслоению. Статистическая интерпретация энтропии означает, что отклонение в распределении разнородных атомов в сторону от хаотического приводит к уменьшению энтропии гетерогенной системы. Таким образом, для эвтектических сплавов зависимость энтропии жидкой фазы от силы тяжести должно иметь результатом смещение плато плавления по оси температур при переходе наземных условий к невесомости (направление смещения, наблюдаемое в эксперименте, согласуется с предложенным объяснением).
С таким объяснением, применимым лишь к неоднородным системам, в частности – к эвтектическим сплавам, согласуется и отсутствие данного эффекта в случае однокомпонентного Ga. Однако в его рамки не вполне укладывается противоречивое в этом отношении поведение эвтектического сплава Ga–Zn.
- Прикладной и теоретический интерес представляет также другой результат КЭ в части Ga–Zn: качество “космического” плато плавления Ga–Zn значительно выше “наземного”, чего не наблюдалось ни в случае остальных эвтектических сплавов Ga–In и Ga–Sn, ни в случае Ga и что пока не получило объяснения.
- В ФГБУ “ВНИИОФИ” идет подготовка новых космических экспериментов (Бурдакин и др., 2021) в продолжение работ, имеющих целью расширение орбитальной калибровочной шкалы в обе стороны от интервала ~(289–303) К и испытание следующего прототипа БЧТ на ФП.
About the authors
A. A. Burdakin
All-Russian scientific and research institute for optical and physical measurements
Author for correspondence.
Email: eus@vniiofi.ru
Russian Federation, Moscow
V. R. Gavrilov
All-Russian scientific and research institute for optical and physical measurements
Email: eus@vniiofi.ru
Russian Federation, Moscow
A. V. Puzanov
All-Russian scientific and research institute for optical and physical measurements
Email: eus@vniiofi.ru
Russian Federation, Moscow
E. A. Us
All-Russian scientific and research institute for optical and physical measurements
Email: eus@vniiofi.ru
Russian Federation, Moscow
References
- Ancsin J. About the reproducibility of the “melting” and “freezing” points of binary eutectics // Metrologia. 1990. V. 27. P. 89–93.
- Ancsin J. Al-Si eutectic: a study of its melting and freezing behavior // Metrologia. 2006. V.43. P. 60–66.
- Bongiovanni G., Grovini L., Marcarino P. Freezing and melting of silver-copper eutectic alloys at a very slow rates // High Temperatures-High Pressures. 1972. V. 4. № 5. P. 573–587.
- Burdakin A.A., Gavrilov V.R., Us E.A., Bormashov V.S. Novaya repernaya tochka orbital’noy kalibrovochnoy shkaly na baze evtekticheskogo splava In-Bi dlya primeneniya v vysokostabil’nykh opornykh bortovykh izluchatelyakh novogo pokoleniya [New fixed point of on-orbit calibration scale based on the In-Bi eutectic alloy for application in novel high-stable space-borne standard sources] // Izmeritel’naya Tekhnika. 2021. № 1. P. 32–37. (In Russian).
- Committee on Earth Observation Satellites (CEOS). Current and future sea surface temperature missions: Towards 2050. 2022. 16 p.
- Ivanova A., Gerasimov S., Elgourdou M., Renaot E. The peculiarities of phase transition of Ga-Sn eutectic alloys // Proc. 9th Int. Symposium on Temperature and Thermal Measurements in Industry and Science. Covtat-Dubrovnik. 2005. P. 267–271.
- Kammer D., Genau A. Voorhees P.W., Duval W.M., Hawersaat R.W., Hickman, Lorik T., Hall D. G., Frey C. A. Results from the International Space Station: Coarsening in Solid-Liquid Mixtures // 47th AIAA Aerospace Sciences Meeting Including New Horizons Forum and Aerospace Exposition. 5–8 January 2009, Orlando, Florida, 2009.
- Kiseleva Yu.V., Gektin Yu.M., Zaytsev A.A., Kuharsky A.V., Rublev A.N., Uspensky A.B. Interkalibrovka dannyh izmereniy v IK-kanalah skanera geostatsionarnogo meteosputnika "Elektro-L" № 1 po dannym izmereniy IK-zondirovshika AIRS [Data Inter-Calibration Technique for Infrared Channels of MSU-GS Imager with AIRS Infrared Sounder Data] // Issledovanie Zemli iz kosmosa. 2015. № 6. P. 68-78. (In Russian).
- Krutikov V.N., Sapritsky V.I., Khlevnoy B.B., Lisiansky B.E, Morozova S.P., Ogarev S.A., Panfilov A.S. et al. The Global Earth Observation System of Systems (GEOSS) and Metrological Support for Measuring Radiometric Properties of Objects of Observations // Metrologia. 2006. V. 43. № 2. P. S94–S97.
- Muller R. Calibration and Verification of Remote Sensing Instruments and Observations // Remote Sens. 2014. V. 6. P. 5692–5695.
- Panfilov A.S., Burdakin A.A., Ivanov V.S., Krutikov V.N., Morozova S.P., Ogarev S.A., Khlevnoy B.B., Sapritskiy V.I. Obespechenie radiometricheskoy sovmestimosti opticheskis dannyh nablyudeniya Zemli v ramkah Global’noy sistemy nablyudeniya Zemli GEOSS [Assurance of Uniformity of Earth Observation Optical Data within Global Earth Observation System of Systems (GEOSS)] // Issledovanie Zemli iz kosmosa. 2010. № 5. P. 87–94. (In Russian).
- Rublev A.N., Gorbarenko E.V., Golomolzin V.V., Borisov E.Y., Kiseleva Ju.V., Gektin Yu.M., Zaitsev A.A. Inter-calibration of Infrared Channels of Geostationary Meteorological Satellite Imagers // Front. Environ. Sci. 27 November 2018. V. 6.
- Sapritskiy V.I., Burdakin A.A., Ivanov A.I., Krutikov V.N., Lisyanskiy B.E., Lysak A.S., Morozova S.P. et al. Realizatsiya vysokostabil’nykh opornykh bortovykh izluchateley v eksperimente “Kalibr” na kosmicheskom apparate “Foton-M” № 4 [Experiment “Kalibr” on Board the “Foton-M” № 4 Spacecraft – a First Step Towards the Establishment of the High-Stable Spaceborne Standard Radiation Sources] // Issledovanie Zemli iz kosmosa. 2016. № 3. P. 85–88. (In Russian).
- Sapritsky V.I., Burdakin A.A., Khlevnoy B.B., Morozova S.P., Ogarev S.A., Panfilov A.S., Krutikov V.N. et al. Metrological support for climatic time series of satellite radiometric data // J. of Applied Remote Sens. 2009. V. 3. № 1. Р. 033506.
- Swartz W.H., Lorentz R.S., Huang P.M., Smith A.W., Deglau D.M., Liang S.X., Marcotte K.M. et al. The Radiometer Assessment using Vertically Aligned Nanotubes (RAVAN) CubeSat Mission: A Pathfinder for a New Measurement of Earth’s Radiation Budget // Proc. 30th Annual AIAA/USU Conf. on Small Satellites. Logan, UT. 2016.
- Topham S.T., Bingham G.E., Latvakoski H., Podolski I., Sychev V.S., Burdakin A. Observational study: microgravity testing of a phase-change reference on the International Space Station // npj Microgravity. 2015. V. 1. 15009.
- Trishchenko A.P., Fedosejevs G., Li Z., Cihlar J. Trends and uncertainties in thermal calibration of AVHRR radiometers onboard NOAA – 9 to NOAA – 16 // J. of Geophysical Research. 2002. V. 107. № D24, 4778. P. 17–1 – 17–13.
- Xu N., Chen L., Hu X., Zhang L., Zhang P. Assessment and Correction of on-Orbit Radiometric Calibration for FY-3 VIRR Thermal Infrared Channels // Remote Sens. 2014. V. 6. № 4. P. 2884–2897.
- Zemskov V.S., Rauhman M.R., Kozitsyna E.A. Osobennosti kristallizatsii mnogokomponentnyh splavov v usloviyah nevesomosti [Peculiarities of multi-component alloys crystallization in zero-gravity] // Fizika i Khimiya Obrabotki Materialov. 1985. № 5. P. 44–49. (In Russian).
- Zemskov V.S., Rauhman M.R., Shalimov V.P. Osobennosti kristallizatsii dvuhfaznyh splavov InSb-InBi v usloviyah nevesomosti [Peculiarities of two-phase InSb-InBi alloys crystallization in zero-gravity] // Poverhnost’, Rentgenovskie, Sinhrotronnye i Neytronnye Issledovaniya. 2001. № 10. P. 54–59. (In Russian).
Supplementary files







