Experimental Determination of the Axial Force in Fastening Parts Arising upon their Torque Tightening
- Authors: Bozhko G.V.1, Fokina M.S.1, Nkondi J.D.1, Shchagin A.M.1, Baskakov A.P.1
-
Affiliations:
- Moscow Polytechnic University
- Issue: Vol 30, No 1 (2024)
- Pages: 170-178
- Section: Mechanical Engineering. Metal Treatment
- URL: https://bakhtiniada.ru/0136-5835/article/view/278752
- DOI: https://doi.org/10.17277/vestnik.2024.01.pp.170-177
- ID: 278752
Cite item
Full Text
Abstract
The results of an experimental verification of analytical expressions for determining the axial force arising in a fastener when tightening it with torque using a certified torque wrench are analyzed. Analytical calculations of the force in fasteners are presented using known expressions for bolts М12´1.75, М16´6 and М20´2.5 with the construction of a graphical dependence of the force in the bolt rod on the tightening torque and experimental studies of the same dependence, on experimental model of a flange connection using strain gauges glued to the bolt rod. The experimental dependence of the force on the tightening torque and the expression for its determination are given. From the analysis comparing analytical and experimental expressions it follows that the actual load on the bolt is less than its analytical value, which must be taken into account in the calculations.
Full Text
Введение
В настоящее время большинство разъемных соединений оборудования химической и других отраслей промышленности затягивается крепежными резьбовыми деталями. Чтобы соединение было герметичным, особенно при работе оборудования под давлением, необходимо при его сборке создать определенное усилие в крепежных деталях. Наиболее широкое применение получили затяжки приложением крутящего момента к гайке и осевым растяжением стержня болта [1].
В статье проанализированы результаты экспериментальной проверки аналитических выражений для определения осевой силы, возникающей в крепежной детали при затяжке ее крутящим моментом с помощью аттестованного динамометрического ключа рычажного типа. Данный способ затяжки является наиболее простым и поэтому наиболее распространенным, но имеет недостаток – участие сил трения в силовом равновесии гайки, что существенно снижает его эффективность. Только около 10 % всей затрачиваемой на затяжку соединения работы является полезной – используется на создание осевой силы, до 50 % теряется на преодоление сил трения на торце гайки и до 40 % – на преодоление сил трения в резьбе [2].
Экспериментальная проверка аналитических выражений
Момент, приложенный к гайке при ее затяжке [3],
, (1)
где Мт – момент сил трения на торце гайки, Н×м; Мр – крутящий момент, действующий на стержень болта (шпильки) при затяжке, Н×м:
; (2)
, (3)
здесь – осевая сила, возникающая в стержне болта при затяжке, кН; D1 – внешний диаметр опорного торца гайки, м; d0 – диаметр отверстия под болт, м; d2 – средний диаметр резьбы болта, м; р – шаг резьбы, м; fт, fр – коэффициенты трения соответственно на торце гайки и в резьбе. Значения коэффициентов трения fт и fр зависят от многих факторов: материала резьбовой пары, усилия затяжки, ее повторности, скорости завинчивания, вида покрытия резьбы и условия ее смазки, и определяются в диапазонах fт = 0,14…0,24; fр = 0,32…0,52 [4].
Используя выражения (2) и (3), получим:
. (4)
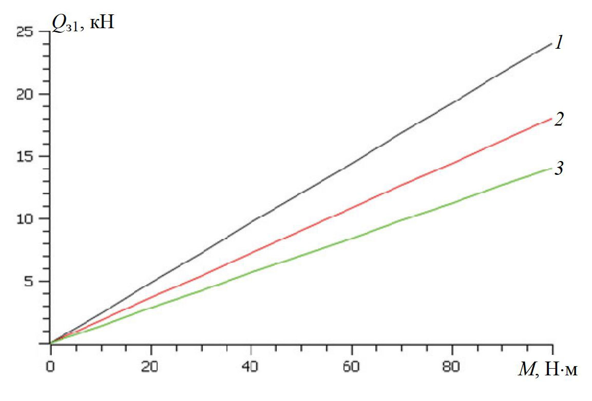
Подставляя данные для трех болтов М12´1,75, М16´2, М20´2,5 значения fт = 0,19, fр = 0,42 и величину выбранных моментов в выражения (2) – (4), получим аналитические величины усилия в болте Qз1 (табл. 1).
На рисунке 1 представлены аналитические зависимости усилия в болтах от момента затяжки. Под действием момента М в стержне болта возникают дополнительные касательные напряжения, напряжения кручения и т.д. На практике для обеспечения прочности соединения увеличивают диаметр стержня болта. Особенно нежелательно создание крутящего момента ударной нагрузкой на рычаг ключа [5]. В таком случае достигается значительная сила затяжки. Однако данный способ приводит к возникновению дополнительных напряжений от прогиба стержня болта.
Таблица 1
Результаты расчетов по выражениям (4)
Болт | D1 | d0 | d2 | p | (А + В) 103, м | Qз1, кН |
мм | ||||||
М12´1,75 | 17,1 | 14 | 11,513 | 1,75 | 4,226 | 0,24М |
М16´2 | 22,8 | 18 | 14,700 | 2,00 | 5,480 | 0,18М |
М20´2,5 | 28,5 | 22 | 18,376 | 2,50 | 6,750 | 0,14М |
Рис. 1. Аналитическая зависимость осевой силы Qз1 от момента для затяжки болтов: 1 – М12 Qз1 = 0,24М; 2 – М16 Qз1 = 0,18М; 3 – М16 Qз1 = 0,14М
В представленных выражениях (2) и (3) не учитываются дополнительные деформации, возникающие в стержне крепежного элемента в процессе его затяжки, на которые также расходуется момент затяжки, уменьшая при этом осевую силу в болте. Кроме того, неправильно выбранные коэффициенты трения также влияют на определение осевой силы, необходимой для создания герметичности разъемного соединения.
Для проведения ряда экспериментов по исследованию новых видов уплотнений для оборудования нефтехимических производств необходимо точно знать значение осевого усилия, возникающего в крепежном элементе при затяжке его динамометрическим ключом. Проведены экспериментальные исследования по определению действительной осевой силы, возникающей в стержне болта при затяжке фланцевого соединения динамометрическим ключом.
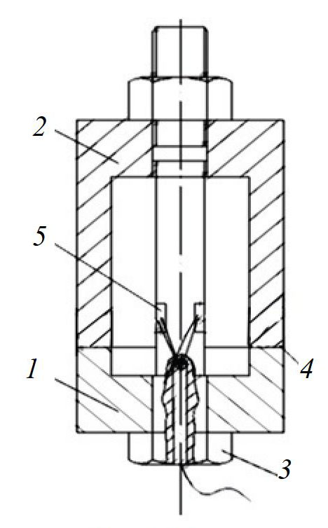
Физическая модель состоит из стальных втулок нижней 1 и верхней 2, контактирующих по поверхности 4, имитирующих фланцы, болта 3 с тензодатчиками 5 (рис. 2). Втулки изготовлены из стали 45, наружный диаметр втулок – 60 мм, внутренний – 40 мм. Втулки стягиваются болтом М16´2. На стержень болта наклеены три тензодатчика под углом 120° с их последовательным соединением. Внутри болта сделано отверстие d = 3 мм для выхода проводов тензодатчиков к тензостанции, усилителю сигнала и компьютеру (на рисунке не показаны).
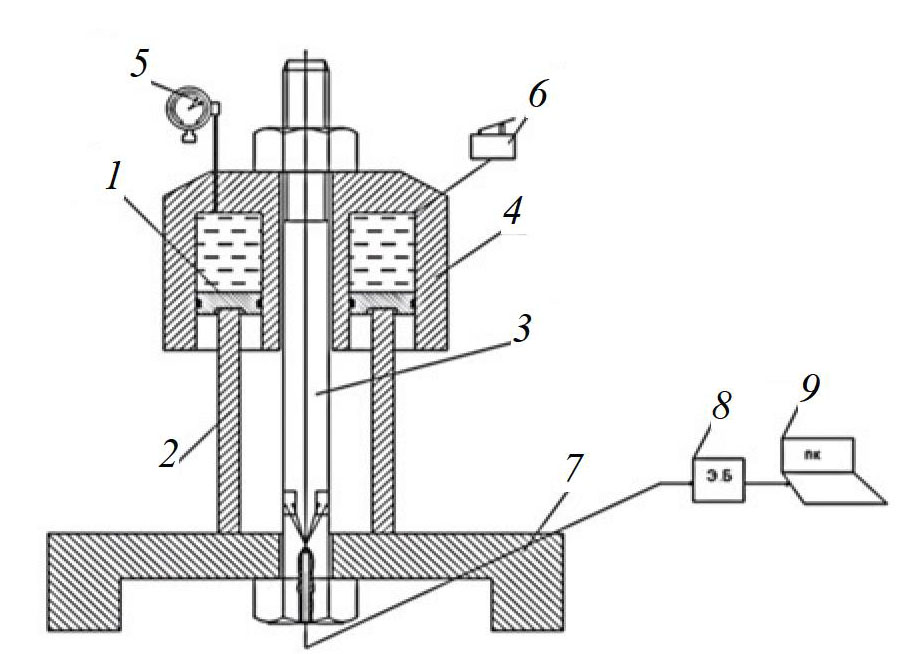
Для проведения эксперимента тензодатчики тарировались, для чего создана установка, представленная на рис. 3.
Тарировка тензодатчиков является процессом определения соотношения между физическими величинами, измеряемыми тензодатчиками (например, деформация стержня, для определения усилия) и преобразуемыми в соответствующий электрический сигнал, который они генерируют. Данный процесс необходим для корректного преобразования измеренных значений тензодатчика в физическую величину.
Установка работает следующим образом: насос высокого давления 6 подает жидкость (масло) в гидроцилиндр 4 под давлением, необходимым для создания механической нагрузки на болт 3 (см. рис. 3). Поршень 1 под давлением масла перемещается, создавая требуемую осевую нагрузку на болт, деформацию которого фиксируют тензодатчики с помощью цифр.
Рис. 2. Модель для исследования
Рис. 3. Схема установки для тарировки тензодатчиков: 1 – поршень; 2 – силовая втулка; 3 – болт; 4 – гидроцилиндр; 5 – манометр; 6 – насос высокого давления; 7 – опорная плита; 8 – электронный блок управления; 9 – компьютер с контрольно-измерительным программным обеспечением
Электронный блок 8 управления контролирует работу установки и обработку данных с тензодатчиков. Компьютер 9 с контрольно-измерительным программным обеспечением используется для сбора и анализа данных, полученных от электронного блока, и построения кривой тарировки.
При известной площади поршня определялась осевая сила на болт Qб, Н:
Qб = 0,785Pf (D2 – d2), (5)
где P – давление (показание образцового манометра, который используется для измерения давления в гидроцилиндре и контроля создаваемых механических нагрузок), H/м2; D и d – внешний и внутренний диаметры поршня соответственно, м; f – коэффициент, учитывающий потери усилия на трение в уплотнениях поршня.
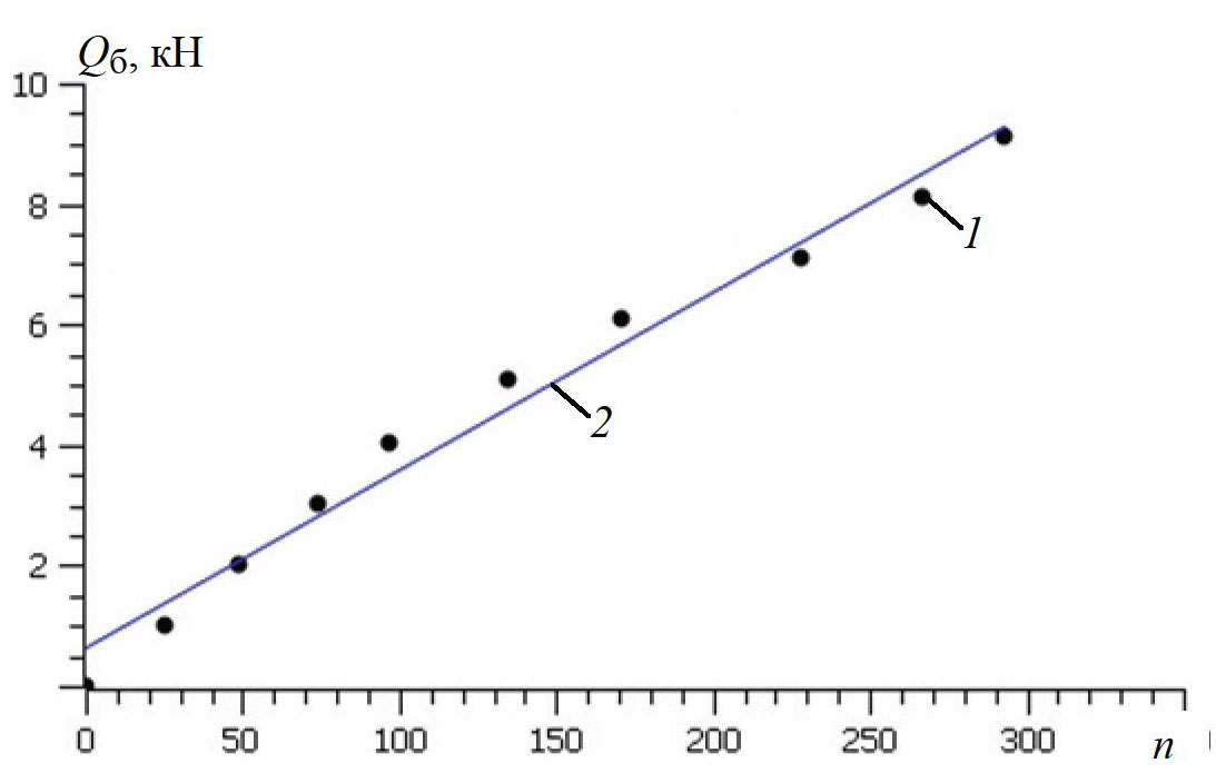
При проведении экспериментов болт 3 предварительно вручную затягивался до полного контакта сопрягаемых поверхностей, фиксировались нулевые показания тензодатчиков. При тарировке ступенчато создавалась нагрузка на болт, и на каждой ступени фиксировались показания тензодатчиков, из которых вычитались нулевые значения. Таким образом, получали зависимость , где n – показания тензодатчиков. На рисунке 4 в качестве примера представлена тарировочная кривая болта М16×2.
Такая же тарировка тензодатчиков проведена для болтов М12×1,75 и М20×2,5 той же прочности материала, класс болтов – 10,9. Используя модель фланцевого соединения (см. рис. 2), проведены эксперименты по получению экспериментальной зависимости усилия в крепежных элементах М12, М16 и М20 от создаваемого момента затяжки с помощью динамометрического ключа – Qэ = f (M). Для этого собиралась экспериментальная модель с одним из указанных болтов. Соединение затягивалось вручную до полного контакта всех соединяемых деталей. Датчики соединялись с компьютером через электронные блоки, и записывались нулевые показания тензодатчиков.
Далее ступенчато проводилось нагружение болта с помощью динамометрического ключа. На каждой ступени фиксировались показания момента на ключе и тензодатчиков за минусом нулевого значения, по которым с помощью тарировочной кривой (см. рис. 4) определялась осевая сила в болтах.
Рис. 4. Тарировочная кривая нагружения болта М16×2: 1 – показания тензодатчика n; 2 – линейная аппроксимация Q = 0,0295n + 0,6
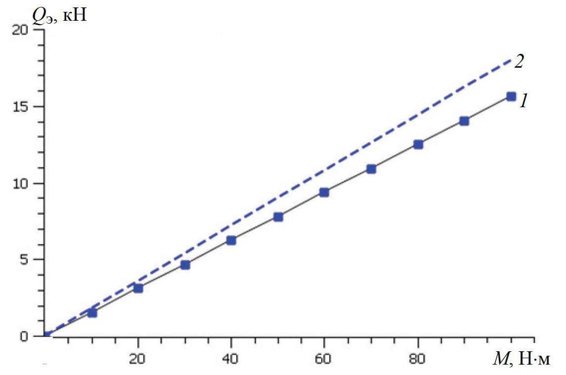
На рисунке 5 в качестве примера представлены результаты экспериментов в сравнении с аналитическими данными для болта М16´2. Полученные аналитические и экспериментальные зависимости Qэ = f(M) описываются выражениями, представленными в табл. 2.
Рис. 5. Сравнение аналитических (1) и экспериментальных (2) данных для болта М16×2,5
Таблица 2
Аналитические и экспериментальные выражения зависимости Qэ = f(M)
Болт | Осевая сила, кН | |
Qа = Qз1 | Qэ | |
М12´1,75 | 0,24М | 0,1773M |
М16´2 | 0,18М | 0,1563M |
М20´2,5 | 0,14М | 0,1305M |
Рис. 6. Зависимость соотношения K от диаметра болта
Заключение
Анализ полученных данных сводится к сравнению аналитических и экспериментальных данных зависимостей усилия, возникающего в болте, от момента его затяжки. Из анализа следует, что экспериментальные значения усилия Qэ в стержне болта ниже аналитических Qа при одной величине момента его затяжки, что следует из уменьшения угла наклона экспериментальных кривых для всех болтов, подвергнутых испытаниям. Приведем соотношения тангенсов угла наклона K аналитических и экспериментальных кривых для болтов:
– М12×1,75 K = 1,36;
– М16×2 K = 1,15;
– М20×2,5 K = 1,07.
Следовательно, для определения действительного усилия в стержне болта Qд от момента его затяжки аналитическим путем необходимо полученное значение разделить на соотношение K
.
Соотношение K неодинаково для всех болтов и зависит от их диаметров. На рисунке 6 представлена зависимость значения соотношения K от диаметра болта, из которой следует, что с увеличением диаметра болта отношение значений аналитических и экспериментальных данных уменьшается, асимптотически приближаясь к единице. Кривая на рис. 6 описывается выражением
,
где d – диаметр болта, мм.
About the authors
G. V. Bozhko
Moscow Polytechnic University
Author for correspondence.
Email: hitema@npp-htm.ru
доктор технических наук, профессор кафедры «Процессы и аппараты химической технологии»
Russian Federation, MoscowM. S. Fokina
Moscow Polytechnic University
Email: hitema@npp-htm.ru
кандидат технических наук, доцент, Центр проектной деятельности
Russian Federation, MoscowJ. D. Nkondi
Moscow Polytechnic University
Email: hitema@npp-htm.ru
аспирант кафедры «Процессы и аппараты химической технологии»
Russian Federation, MoscowA. M. Shchagin
Moscow Polytechnic University
Email: hitema@npp-htm.ru
магистрант
Russian Federation, MoscowA. P. Baskakov
Moscow Polytechnic University
Email: hitema@npp-htm.ru
студент
Russian Federation, MoscowReferences
- Prodan V.D. Tekhnika germetizatsii raz"yemnykh nepodvizhnykh soyedineniy [Sealing technique of detachable fixed joints], Moscow: Mashinostroyeniye, 1991, 160 p. (In Russ.)
- Prodan A.D., Bozhko G.V. Germetichnost' oborudovaniya: ucheb. posobiye [Tightness of equipment: textbook. allowance], Moscow: Universitet Mashinostroyeniya, 2014, 108 p. (In Russ.)
- Birger I.A., Shorr B.F., Iosilevich G.B. Raschet na prochnost' detaley mashin : spravochnik [Calculation of the strength of machine parts: reference book], Moscow: Mashinostroyeniye, 1993, 640 p. (In Russ.)
- Yakushev A.I., Mustaev R.H., Mavlyutov R.R. Povysheniye prochnosti i nadezhnosti rez'bovykh soyedineniy [Increasing the strength and reliability of threaded connections], Moscow: Mashinostroyeniye, 1979, 215 p. (In Russ.)
- Gelfand M.L., Tsitsenyuk Ya.I., Kuznetsov O.K. Sborka rez'bovykh soyedineniy [Assembly of threaded connections], Moscow: Mashinostroyeniye, 1978, 109 p. (In Russ.)
Supplementary files









