Biotechnical System for Growing Plants
- Authors: Frolov S.V.1, Frolova T.A.1, Lychagina V.O.1, Trushin D.I.1, Shatalova I.A.1, Shirkina E.S.1, Yurlov S.I.1, Yarkin O.A.1
-
Affiliations:
- Tambov State Technical University
- Issue: Vol 30, No 1 (2024)
- Pages: 85-94
- Section: Automation. Information Technology. Control. Instruments
- URL: https://bakhtiniada.ru/0136-5835/article/view/278745
- DOI: https://doi.org/10.17277/vestnik.2024.01.pp.085-094
- ID: 278745
Cite item
Full Text
Abstract
A new group of biotechnical systems has been introduced – biotechnical systems for growing plants (BTS-R). The stages of development of BTS-R are presented, which enables to grow plants indoors with minimal time and effort. A key feature of the BTS-R is the use of laser illumination. It is noteworthy that the growing conditions in BTS-R are as close to natural as possible, in contrast to the products offered by supermarkets, grown using hydroponic technology.
Full Text
Введение
В настоящее время наблюдается рост производства и использования отдельных элементов и комплексных решений для организации «умного» домашнего пространства. Одним из девайсов для «умного» дома может стать «умная» минитеплица. «Умная» теплица для растений – это использование технологий и программного обеспечения для управления процессом их выращивания. Автоматизация процессов роста растений может включать в себя различные методы, что в свою очередь значительно упрощает процесс выращивания.
Тренд на экологизацию – одна из самых важных и долгосрочных тенденций современности. Одним из его направлений является употребление экологически чистой продукции. Каждый понимает, что такую продукцию не всегда можно купить, но всегда можно вырастить, с этим и связана актуальность «умных» мини-теплиц. В «умных» домашних теплицах можно выращивать не только традиционные овощи и зелень, но и экзотические, редкие и лекарственные растения, а также использовать теплицу как эстетическое дополнение к дизайну интерьера.
Существует два вида «умных» минитеплиц: growbox и growtent. Принципиальное отличие growbox и growtent заключается в том, что первый представляет собой коробку из твердых материалов, второй – конструкцию из ткани, натянутой на каркас. Оба вида на данный момент оснащаются компонентами и датчиками для автоматизации и внедрения их в будущем в системы «умного» дома.
Тенденции развития теплиц для выращивания растений
Идея выращивания растений в контролируемых человеком зонах существует еще со времен Древнего Рима. Император Тиберий любил ежедневно съедать по огурцу, так как зимой их было сложно вырастить, люди начали задумываться, как самостоятельно контролировать климат на ограниченной территории. Римские садоводы использовали парниковые системы. Огурцы размещались в конструкциях из телег, днем телеги вывозили под солнце, а ночью прятали в помещениях [1].
В XIII веке теплицы начали активно распространяться в Италии для размещения экзотических растений, которые путешественники привозили из тропиков. Оттуда появилось название «Ботанический сад». Строения, в которых стало возможно вручную регулировать температуру, появились значительно позже (около 1450 г.). В Корее разработали теплицу, описание которой содержит возможность регулировки температуры и влажности для разных растений и культур. В Европе такие конструкции появились лишь в XVII веке – сначала в Нидерландах, а затем в Англии. Первые парники появились в нашей стране в конце XVI в., а в период правления Петра I тепличным делом занялись уже на уровне страны [2].
Многочисленные парники стали появляться повсеместно с 1960 г., когда полиэтиленовая пленка стала широко доступна. Это привело к тому, что парники стали строиться даже на небольших фермах и садовых участках. С 1980-х годов появились современные конструкции, оснащенные отоплением, дополнительным освещением и системами поддержания необходимого микроклимата [1].
Параллельно с развитием теплиц изучалось питание растений. Самой ранней опубликованной работой (1627 г.) о выращивании наземных растений без почвы была книга Фрэнсиса Бэкона. Само слово «гидропоника» введено доктором В. Ф. Герике в 1936 г. для описания выращивания растений в растворе воды и растворенных питательных веществах [3].
Что касается компактных теплиц, они начали развиваться в шестидесятых годах, когда появились дуговые натриевые лампы с наличием высокого давления. Такие теплицы были названы growbox, что в переводе означает «коробка для выращивания». В настоящее время growbox-технологии широко распространены повсюду в мире и пользуются большим спросом [4].
Прогресс не стоит на месте, тепличные конструкции постоянно нуждаются в усовершенствовании, поэтому многие компании и научные разработчики проводят исследования и пытаются создать свою оптимальную систему для выращивания растений в помещении.
В работе [5] предлагается усовершенствовать установку для выращивания агрокультур в домашних условиях системой управления, которая обеспечивает контроль уровня освещенности, температуры и влажности воздуха, а также измеряет влажности почвы и уровень воды в резервуаре при помощи датчиков. Авторы [6] разработали автоматизированный вид growbox для беспочвенного выращивания растений посредством аэропоники. В исследовании [7] предлагается использовать нейросетевой регулятор для управления процессом выращивания овощей в теплице, который позволил бы повысить качество управления объектом за счет повышения адаптационных способностей системы. Проект комнатной теплицы запатентован авторами [8]. Он представляет собой теплицу, в корпусе которой установлены источник света и насос. Она оснащена открывающейся прозрачной стеклянной дверцей с закрепленным на ней сенсорным блоком управления, задняя стенка корпуса снабжена вытяжным вентилятором и светоотражающим экраном. Кроме того, в корпусе установлена система управления и контроля, включающая датчики, передающие информацию о микроклимате. В Индонезии представлена конструкция умной теплицы growbox с системой мониторинга температуры и влажности через Интернет с использованием датчиков, причем состояние установки и окружающей среды можно легко контролировать в зависимости от сетевого трафика и условий сети [9].
Многие исследователи создают не всю систему, а меняют и дорабатывают отдельные ее части. Основным направлением работы является искусственная досветка, так как от света напрямую зависит питание растений, а соответственно их рост и развитие. К примеру, авторы [10] разработали светотехническую модель, на основе которой проще сделать обоснованный выбор и внедрить светодиодные источники света, что в конечном итоге способствует созданию более эффективных систем growbox. В работе [11] проведен эксперимент по определению спектра света, оказывающего большее влияние на рост, урожайность и физиологические компоненты, связанные с фотосинтезом для оптимального подбора светодиодного освещения растений.
Помимо этого, ведутся разработки для промышленных теплиц и тепличных хозяйств. Одной из новейших стала работа авторов [12], которые представили современные исследования по применению технологий искусственного интеллекта (ИИ) в умных теплицах. Ключевые применяемые технологии – роботизированные системы для внесения пестицидов, орошения, сбора урожая, основанные на биоалгоритмах.
Каждая из работ вносит определенный вклад в развитие домашних и промышленных теплиц. Однако каждая из них усовершенствует теплицы лишь частично. Происходит минимализация человеческого вмешательства в процессы выращивания, то есть повышается и уровень автоматизации. Актуальной задачей является разработка «умной» теплицы, в которой решаются задачи ускорения роста и развития растений.
Конструкция и состав БТС-Р
В работе спроектирована и разработана «умная» домашняя теплица (рис. 1), которую можно отнести к биотехническим системам (БТС). Как известно, под БТС понимается особый класс технических систем, представляющих собой совокупность биологических и технических элементов, связанных между собой в едином контуре управления. По характеру целевой функции БТС делятся на три группы: БТС медицинские (БТС-М), БТС эргатического типа (БТС-Э) и БТС целенаправленного управления поведением целостного организма (БТС-У) [13].
Рис. 1. Внешний вид БТС-Р для выращивания растений
Так как представленная БТС по характеру целевой функции не подходит ни к одному из трех типов, введем новую группу – биотехнические системы для выращивания растений (БТС-Р).
Изделие БТС-Р представлено как инновационное устройство, которое позволяет выращивать растения в закрытом помещении с минимальной затратой времени и усилий. БТС-Р оснащена современной системой управления, которая контролирует и регулирует влажность, температуру, освещение и другие параметры, необходимые для роста и развития растений.
В данном устройстве можно выращивать как традиционные овощи, так и экзотические растения. Помимо этого, «умные» теплицы дают возможность выращивать лекарственные растения. Это может быть полезно для людей, которые живут в неблагоприятных климатических условиях, не имеют возможности обеспечить подходящее место для выращивания или просто любят заботиться о своем здоровье.
Одним из преимуществ умной домашней теплицы является ее высокая эффективность. Благодаря оптимальным условиям для роста, урожайность повышается, а временные затраты на уход снижаются.
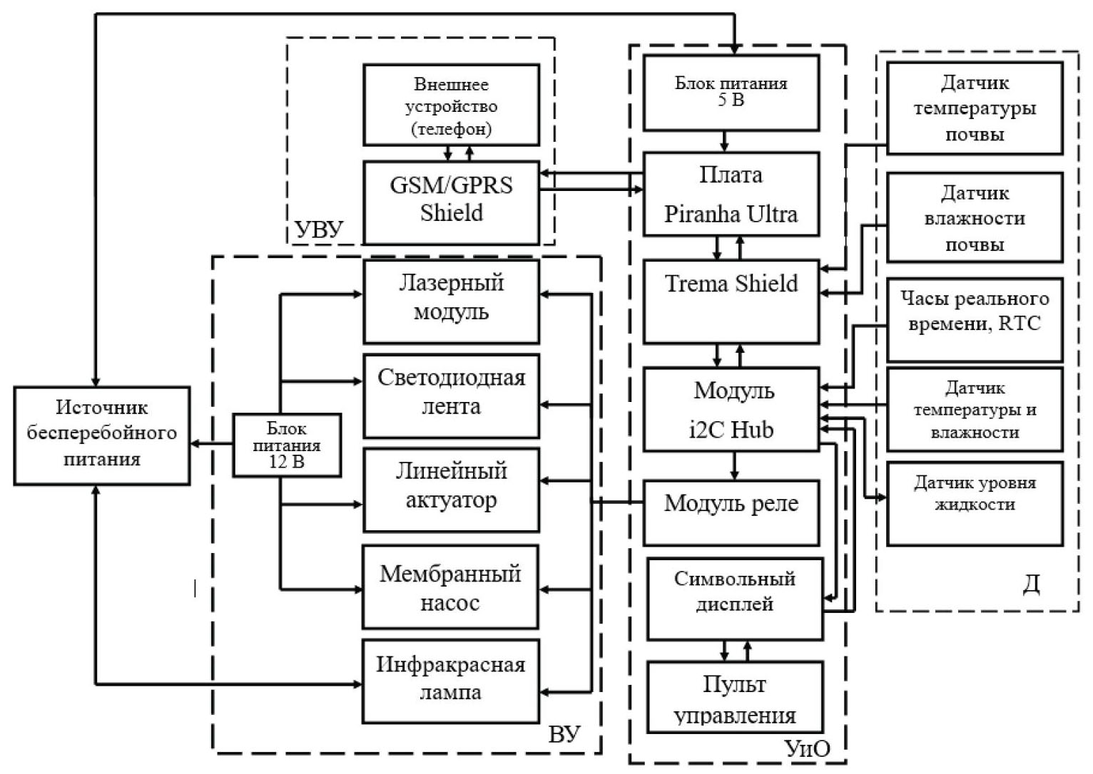
Первый этап в реализации устройства – создание структурной схемы технических средств БТС-Р, состоящей из четырех основных блоков: устройств внешнего управления (УВУ), управления и отображения БТС-Р (УиО), воздействующих устройств (ВУ), датчиков (Д) и источник бесперебойного питания (ИБП) (рис. 2).
Рис. 2. Структурная схема технических средств БТС-Р
Управление через блок УВУ может осуществляться двумя способами: с помощью интерфейса БТС-Р (символьный дисплей и кнопки) и телефона (GSM/GPRS Shield).
В блок УиО входят: плата Piranha Ultra R3, которая осуществляет управление всей системой; символьный дисплей; пульт управления и устройства для периферийного подключения блоков ВУ и Д.
Блок Д содержит датчики для контроля за микроклиматом: температуры почвы; влажности почвы, температуры и влажности воздуха, уровня жидкости в емкости для полива и часы реального времени.
В блок ВУ входят все элементы, которые тем или иным образом влияют на микроклимат системы, а именно:
- лазерные модули, с помощью которых осуществляется лазерная досветка;
- светодиодный светильник для поддержания освещения определенной интенсивности;
- линейный актуатор, осуществляющий режим проветривания;
- мембранный насос, предназначенный для полива;
- инфракрасная лампа для нагревания воздуха;
- вентиляторы для циркуляции воздуха внутри системы.
Следующий этап реализации – составление спецификации на узлы и элементы БТС-Р в соответствии со структурной схемой. Схема подключения используется для указания принципов соединения различных электрических или электронных блоков в единую систему (рис. 3).
Рис. 3. Схема подключения:
1 – плата Piranha Ultra R3; 2 – устройство для подключения Trema Shield; 3 – GSM/GPRS Shield для подключения телефона; 4 – кнопка (Trema-модуль V2.0); 5 – лазерный модуль; 6 – бесконтактный датчик уровня жидкости XKC-Y25-V; 7 – набор резисторов MAXI для Arduino; 8 – линейный актуатор XDHA12-50; 9 – источник питания на 12В (2А); 10 – ИК-лампа; 11 – мембранный насос 385; 12 – вентиляторы 12 В; 13 – источник питания на 5 В; 14 – модуль реле, 2-канала, FLASH-I2C; 15 – i2C Hub для подключения периферийных устройств; 16 – часы реального времени, RTC; 17 – датчик температуры и влажности, FLASH-I2C; 18 – символьный дисплей LCD1602 IIC/I2C; 19 – датчик влажности почвы, емкостной; 20 – светодиодный светильник ФОТОН ПРОМ; 21 – ИБП Cyberpower UTC650E
Не менее важный этап – работа над конструкционным исполнением БТС-Р, а именно подбор оптимальных габаритов и материалов для ее изготовления. БТС-Р имеет оптимальные габариты для использования ее в помещении, см: длина – 100; глубина – 60; высота – 80. Выбранные габариты подходят для выращивания большинства популярных овощей, зелени, ягод и цветов.
Конструкция БТС-Р предполагает наличие трех отсеков, каждый из которых несет за собой определенную роль (рис. 4). Крайние отсеки симметричны и имеют размеры, см: длина – 20; высота – 80; глубина – 60. В левом отсеке находится емкость для полива, которая специально размещена отдельно, чтобы вода в БТС-Р не контактировала с электроникой. В правом отсеке расположена электронная составляющая БТС-Р, а именно центр управления системой – микроконтроллер. Главный отсек БТС-Р, где располагаются растения, является самым большим, см: длина – 60; высота – 80; глубина 60. Помимо растений, внутри располагаются датчики, которые контролируют микроклимат и воздействующие устройства.
Рис. 4. 3D-модель каркаса БТС-Р
Корпус БТС-Р изготовлен из влагостойкой ориентированно-стружечной плиты (OSB-3) толщиной 9 мм, и покрыт глянцевой серой водоотталкивающей краской, что делает систему максимально неподверженной к воздействию воды. Крышка и передняя стенка изготовлены из органического стекла толщиной 5 мм для наблюдения за растениями и демонстрации работы системы. За счет своей герметичности система гарантирует чистоту на рабочем месте.
На основе выбора габаритов и материалов разработана 3D-модель каркаса для визуализации БТС-Р в программе AutoCAD.
Реализация искусственного освещения и лазерной досветки в БТС-Р
Так как освещение играет значимую роль для растительности, подобрать оптимальное освещение было крайне важно и первостепенно. Освещение может влиять на такие аспекты, как скорость роста, формирование плодов, цвет и размер листьев, а также устойчивость к болезням и вредителям.
Правильное освещение также может улучшить качество воздуха внутри БТС-Р, где растут растения, за счет поглощения углекислого газа и выделения кислорода. Выбор типа освещения и его интенсивности зависит от вида растения, его возраста, места произрастания и других факторов.
Свет для растений может быть представлен в виде ламп, прожекторов или светодиодных панелей, которые обеспечивают определенный спектр света, имитирующий солнечный.
В БТС-Р в качестве источника освещения предлагается использовать светодиодный светильник ФОТОН ПРОМ со следующими характеристиками:
Световой поток, Лм...............................................3906
Цветность...................................................................Естественный белый
Мощность светильника, Вт................................25
Цветопередача, Ra.................................................80
Защита от пыли и влаги.......................................IP65
Вид крепления..........................................................Накладной/подвесной
Габариты, мм.............................................................430 × 61 × 6
С помощью люксометра измерена фактическая освещенность в БТС-Р. Данные с прибора составляют 7635 лк. Исходя из того, что растениям в среднем для ускоренного роста и развития необходима освещенность, равная 6000 лк, делаем вывод, что лампа, которая используется в БТС-Р, является оптимальным решением. С учетом всех потребностей подобраны остальные комплектующие системы.
Следующий этап реализации – детальное изучение БТС-Р как объекта управления и составление алгоритма управления. В БТС-Р управление осуществляется в автоматизированном режиме. Развитие растений в БТС-Р разделялось на этапы, для которых определялись параметры микроклимата, которые необходимо поддерживать постоянными для успешного выращивания. Для каждого цикла такие характеристики различны, переключение между циклами происходит автоматически.
Управление БТС-Р делится на два режима работы: ручной и автоматический. В ручном режиме можно задать любые параметры для температуры и влажности воздуха, влажности почвы, интенсивность для светодиодной досветки, время лазерной досветки, тем самым создав оптимальные условия для выращивания любого растения. В автоматическом режиме работы созданы программы выращивания для двух растений: базилика и томата. В программах выращивания заранее прописаны оптимальные условия для роста и развития растений. На этом этапе разработан программный код для управления БТС-Р. Микроконтроллеры Arduino программируются на специальном языке, основанном на C/C++.
В отличие от существующих теплиц, разрабатываемая имеет ряд преимуществ. Первым и главным является наличие лазерной досветки. Суть лазерной досветки заключается в следующем. Длины светового дня и интенсивности света обычно не хватает растениям для полноценной вегетации. Благодаря лазерному излучению растения становятся более восприимчивыми к положительным влияниям среды, в нашем случае, к светодиодной досветке [14]. Лазер обладает выраженным фоторегуляторным действием, то есть лучше регулирует процессы жизнедеятельности в растительном организме. Связано это с высокой упорядоченностью фаз излучения фотонов лазера. Лазерный луч подобен первому солнечному лучу, включается в 6:00 утра на несколько минут, тем самым пробуждая растение. В качестве досветки используются четыре лазерных модуля с длиной волны 660 нм и мощностью 25 мВ [15]. Еще одним не менее важным преимуществом является оповещение пользователя о критических ситуациях.
Предотвращение критических состояний БТС-Р
В «умной» теплице существует несколько критических состояний, одно из которых – прекращение работы системы капельного автополива, за счет того что закончилась вода в емкости. Система капельного полива работает с помощью мембранного насоса, к которому прикреплены два шланга. Мембранный насос предназначен для перекачивания различных жидкостей. Жидкости всасываются в центральный патрубок и выходят через крайний. Когда вода в емкости заканчивается, насос не прекращает свою работу, что может повлечь за собой перебои и поломки в системе автополива. Для того чтобы найти выход из данного критического состояния, важно правильно подобрать датчик, который будет контролировать уровень жидкости в емкости.
Не менее важная критическая ситуация – внезапное отключение электричества в помещении, где находится БТС-Р. Для этого в комплектации с БТС-Р используется источник бесперебойного питания Cyberpower UTC650E, который предназначен для защиты от помех и бросков в электросети и поддержания параметров питания в допустимых пределах при кратковременном отключении основного электропитания. Для того чтобы оповестить пользователя о критическом состоянии, на телефон пользователя приходит смс с предупреждением, например, о том, что уровень жидкости в емкости является критическим.
Заключение
Введена новая группа биотехнических систем – биотехнические системы для выращивания растений (БТС-Р). В работе представлена БТС-Р, которая оснащенная системой автоматического контроля и управления условиями выращивания растений, включающая системы автоматического полива, освещения, вентиляции, контроля влажности и температуры. Ключевой особенностью БТС-Р является использование лазерной досветки. Разработанная БТС-Р позволяет выращивать как традиционные овощи, так и экзотические растения, ягоды и лекарственные растения, что может быть полезно для людей, которые живут в неблагоприятных климатических условиях и не имеют возможности обеспечивать подходящее место для выращивания.
Исследование выполнено в рамках гранта на организацию акселерационных программ поддержки проектных команд и студенческих инициатив для формирования инновационных продуктов в рамках реализации федерального проекта «Платформы университетского технологического предпринимательства» Государственной программы РФ «Научно-технологическое развитие РФ».
About the authors
S. V. Frolov
Tambov State Technical University
Author for correspondence.
Email: bmt@tstu.ru
доктор технических наук, профессор, заведующий кафедрой «Биомедицинская техника»
Russian Federation, TambovT. A. Frolova
Tambov State Technical University
Email: bmt@tstu.ru
кандидат технических наук, доцент кафедры «Биомедицинская техника»
Russian Federation, TambovV. O. Lychagina
Tambov State Technical University
Email: bmt@tstu.ru
студент
Russian Federation, TambovD. I. Trushin
Tambov State Technical University
Email: bmt@tstu.ru
студент
Russian Federation, TambovI. A. Shatalova
Tambov State Technical University
Email: bmt@tstu.ru
студент
Russian Federation, TambovE. S. Shirkina
Tambov State Technical University
Email: bmt@tstu.ru
студент
Russian Federation, TambovS. I. Yurlov
Tambov State Technical University
Email: bmt@tstu.ru
студент
Russian Federation, TambovO. A. Yarkin
Tambov State Technical University
Email: bmt@tstu.ru
студент
Russian Federation, TambovReferences
- https://glass-house.ru/information/stati/istoriya-vozniknoveniya-teplits/ (accessed 18 October 2023).
- https://teplicy-info.ru/istoriya-teplic-v-rossii/ (accessed 18 October 2023).
- https://agronovia.ru/chto-takoe-gidroponika/ (accessed 18 October 2023).
- Gornostaev M.N. [et al.]; E.G. Neznamova (Sc. Hands). Nauchnaya sessiya TUSUR–2020: materialy Mezhdunar. nauch.-tekhn. konf. studentov, aspirantov i molodykh uchenykh [Scientific session TUSUR–2020: materials of the International Scientific and Technical Conference of Students, postgraduates and young scientists], Tomsk, May 25-27, 2020: in 3 parts, Tomsk, 2020, part 3, pp. 202-204. (In Russ., abstract in Eng.)
- Zhuravleva L.A., Aldiab A. [Robotic mini-greenhouses and installations for growing agricultural crops at home], Nauchnaya zhizn'. [Scientific life], 2021, vol. 16, no. 5(117), pp. 565-574, doi: 10.35679/1991-9476-2021-16-5-565-574 (In Russ., abstract in Eng.)
- Bragin A.Yu. Molodezh' XXI veka: shag v budushcheye: materialy XVIII regional'noy nauch.-prakt. konf. [Youth of the XXI century: a step into the future: materials of the XVIII regional scientific and practical conference] (Blagoveshchensk, May 18, 2017), Blagoveshchensk, 2017, pp. 1216-1217. (In Russ., abstract in Eng.)
- Blagoveshchenskaya M.M., Blagoveshchensky I.G., Mokrushin S.A., Blagoveshchensky V.G. Informatizatsiya i avtomatizatsiya v pishchevoy promyshlennosti: sb. nauch. dokl. Vseros. nauch.-tekhn. konf. [Informatization and automation in the food industry: Collection of scientific reports of the All-Russian Scientific and Technical Conference], (Moscow, May 18, 2022), Kursk, 2022, pp. 66-71. (In Russ., abstract in Eng.)
- Zhuravleva L.A., Popkov I.A. Komnatnaya teplitsa [Room greenhouse], Russian Federation, 2023, Pat. 2787699 (In Russ.)
- Vernandhes W., Salahuddin N.S., Kowanda A. Smart Growbox Design with Temperature and Humidity Monitoring System Via the Internet, Conference: Seminar TEKNOIN, 2016, pp. 850-859.
- Vavra L., Novak T., Valicek P., Vanek S., Gono R. Example of Grow Box Lighting System Designing, 23rd International Scientific Conference on Electric Power Engineering (EPE), Brno, Czech Republic, 24-26 May, 2023. doi: 10.1109/EPE58302.2023.10149260
- Rosyida, Karno K., Putra F.P., Limantara, J.C. Efek Сahaya LED merah dan biru pada pertumbuhan, hasil dan kandungan klorofil tanaman pakcoy (Brassica chinensis L.) dalam Growbox, AGROMIX, 2022, vol. 13, no. 2, pp. 168-174. doi: 10.35891/agx.v13i2.3028
- Chrysanthos M. Incorporating Artificial Intelligence Technology in Smart Greenhouses: Current State of the Art, Applied Sciences, 2022, vol. 13, no. 14, doi: 10.3390/app13010014
- Akhutin V.M., Nemirko A.P., Pershin N.N. [et al.]. Biotekhnicheskiye sistemy. Teoriya i proyektirovaniye : ucheb. posobiye [Biotechnical systems. Theory and design: Textbook], Leningrad: LSU, 1981, 220 p. (In Russ.)
- Budagovsky A.V., Kovsh I.B. (Comp.). Lazernyye tekhnologii v sel'skom khozyaystve : tematicheskiy sbornik [Laser technologies in agriculture: a thematic collection], Moscow: Technosphere, 2008, 270 p. (In Russ.)
- Budagovsky A.V., Solovykh N.V., Yankovskaya M.B. Metodika primeneniya kogerentnoy lazernoy optiki dlya povysheniya effektivnosti razmnozheniya rasteniy in vitro [Methods of using coherent laser optics to increase the efficiency of plant reproduction in vitro], Michurinsk-Naukograd RF: MichGAU, 2015, 71 p. (In Russ.)
Supplementary files






