The impact of iodization on physicochemical parameters and electrical conductivity of multilayer carbon nanostructures
- Authors: Chapaksov N.A.1, Dyachkova T.P.1, Stolyarov R.A.1, Gutnik I.V.1, Burakova E.A.1, Tugolukov E.N.1, Titov G.A.1, Ponamoreva O.N.2
-
Affiliations:
- TSTU
- Tula State University
- Issue: Vol 30, No 3 (2024)
- Pages: 521-531
- Section: Materials Science. Nanotechnology
- URL: https://bakhtiniada.ru/0136-5835/article/view/277242
- DOI: https://doi.org/10.17277/vestnik.2024.03.pp.521-531
- ID: 277242
Cite item
Full Text
Abstract
Samples of modified multilayer carbon nanotubes (CNTs) and graphene nanoplatelets (GNPs) were obtained by treatment in vapor and isopropanol solutions of iodine at different ratios of components. The physical and chemical parameters of the modified CNTs and GNPs were determined by X-ray phase analysis and Raman spectroscopy. It was found that liquid-phase processing promotes more efficient iodine incorporation into the materials than gas-phase processing. At exposure of CNTs in iodine vapor, removal of amorphous phase from the material and production of surface defects due to the formation of bonds with iodine are observed. When treated in isopropanol solutions of I2, changes in the surface structure of nanotubes are less significant. Thermal treatment of liquid-phase iodinated CNTs at 620 °С contributes to the removal of most of the iodine, but 0.2–0.3 wt. % of the doping element is retained in the material composition.
Full Text
Введение
Функционализация и допирование гетероатомами является одним из способов регулирования электронных свойств углеродных наноструктур, что является важным аспектом их применения в сенсорных устройствах, электронике и в качестве электродных материалов. Чаще всего для модифицирования углеродных нанотрубок (УНТ) и графена используют бор и азот, чьи атомные радиусы наиболее близки к атомному радиусу углерода [1]. Допирование углеродных наноматериалов (УНМ) атомами большего размера (Se, Br, I) приводит к значительному эффекту пространственного искажения и росту электрокаталитических свойств [2].
Согласно [3], допирование влияет на структуру углеродных наноматериалов, увеличивая их электронную проводимость и улучшая подвижность носителей заряда. В работе [4] показано, что модифицирование гетероатомами способствует изменению химических свойств углеродных наноструктур и увеличению реакционной способности. В публикации [5] упоминается о возможности взаимодействия допированных УНМ с бактериальными клетками и их влиянии на биохимию бактериальных ферментов, в [6] сообщается о перспективах применения таких материалов в биосенсорике.
Модифицирование УНМ гетероатомами проводят различными способами, например, химическим допированием [7, 8], в ходе пиролиза или осаждения из паровой фазы [9], электрохимической обработкой [10]. Как правило, они сложны в реализации, требуют применения дорогостоящих и/или токсичных реагентов, осуществляются в жестких условиях, являются многостадийными.
В патентах [11, 12] предложены простые методики модифицирования оксида графена (ОГ) и УНТ посредством обработки спиртовыми растворами I2. В статье [13] представлены закономерности влияния йодирования на структуру ОГ и его электропроводность. В публикации [14] показано, что для формирования перколяционной сети в композите на основе сверхвысокомолекулярного полиэтилена, содержащего смесь УНТ и графеновых нанопластинок (ГНП), требуется в 2 раза меньшая концентрация йодированных УНТ по сравнению с немодифицированными.
Цель работы – исследование влияния обработки йодом многослойных УНТ и ГНП на их физико-химические параметры и установление взаимосвязи структуры модифицированных материалов с их электропроводностью.
Методика эксперимента
Объекты исследования – многослойные УНТ «Таунит-М» и ГНП «Таунит-ГМ» производства ООО «Нанотехцентр» (Тамбов, Россия). Внешний диаметр УНТ варьируется в диапазоне 5…15 нм, длина – более 2 мкм. Графеновые нанопластинки состоят из 15 – 25 графеновых слоев, размер пластин в плоскости – 2…10 мкм, содержание кислорода – 9…13 масс. %, серы – менее 1 масс. %.
Модифицирование УНТ и ГНП йодом осуществлялось двумя способами: 1) обработка в парах йода (ГФ), при которой углеродный наноматериал смешивали с кристаллическим йодом в различных массовых соотношениях (от 19 : 1 до 4 : 1) и выдерживали полученную смесь в герметичной емкости при 120 °С в течение 2 ч, а затем еще 2 ч – при этой же температуре в токе аргона; 2) обработка в изопропанольных растворах йода (ЖФ), в которые вносилось рассчитанное количество УНТ или ГНП, после чего полученную суспензию перемешивали при комнатной температуре в течение часа, затем отделяли избыток жидкости фильтрованием, высушивали модифицированный материал на воздухе. В некоторых случаях высушенный материал дополнительно отжигали в инертной атмосфере при 620 °С в течение 2 ч (ЖФ*).
Содержание йода в полученных образцах определяли методом рентгенофлуоресцентной спектроскопии (РФС) на приборе ARL QUANTX (Thermo Fisher Scientific, США) после предварительной калибровки. Спектры комбинационного рассеяния (КР) снимали на спектрометре DXR Raman Microscope (Thermo Fisher Scientific, США) при = 532 нм. Рентгеновские дифрактограммы получали на приборе ARL EQUINOX 1000 (Thermo Fisher Scientific, США).
Для измерения электрического сопротивления R исследуемые образцы помещались в стеклянную трубку с площадью сечения S = 0,06 см2 и сжимались под давлением 20 МПа при помощи металлических пуансонов, подключенных к тераомметру «Е6-13А» («Пунане РЭТ», Эстония). Удельную электропроводность материала s, См/см, рассчитывали по формуле , где h – высота столбика материала, см, при давлении 20 МПа.
Результаты и обсуждение
В таблице 1 представлены данные о содержании йода в экспериментальных образцах УНМ, полученных при различных условиях. Наблюдается тенденция к увеличению содержания модифицирующего элемента в продукте с ростом массовой доли I2 в исходной смеси при обработке в изопропанольных растворах. Часть йода при этом прочно связывается с поверхностью углеродного материала, о чем свидетельствует его неполное удаление при высокотемпературном отжиге. Углеродные нанотрубки, имеющие более развитую поверхность, чем ГНП, при жидкофазной обработке поглощают йод более эффективно.
Таблица 1. Содержание йода в экспериментальных образцах УНМ
Исходный УНМ | Состав исходной смеси | Массовая доля йода по данным РФС при различных режимах модифицирования, % | |||
Массовое соотношение УНМ : I2 | Массовая доля I2, % | ГФ | ЖФ | ЖФ* | |
УНТ «Таунит-М» | 19 : 1 | 5 | 0,6 | 1,2 | 0,3 |
9 : 1 | 10 | 0,9 | 2,6 | 0,2 | |
5,7 : 1 | 15 | 1,0 | 3,3 | ||
4 : 1 | 20 | 1,0 | 5,5 | ||
ГНП «Таунит-ГМ» | 9 : 1 | 10 | 1,7 | 1,5 | – |
4 : 1 | 20 | 1,9 | 3,0 | ||
Содержание йода в образцах УНТ и ГНП после обработки в парах I2 не столь сильно зависит от его массовой доли в исходной смеси и оно, как правило, ниже, чем после жидкофазной обработки. Кроме того, йодированные данным способом ГНП содержат несколько больше йода, чем УНТ.
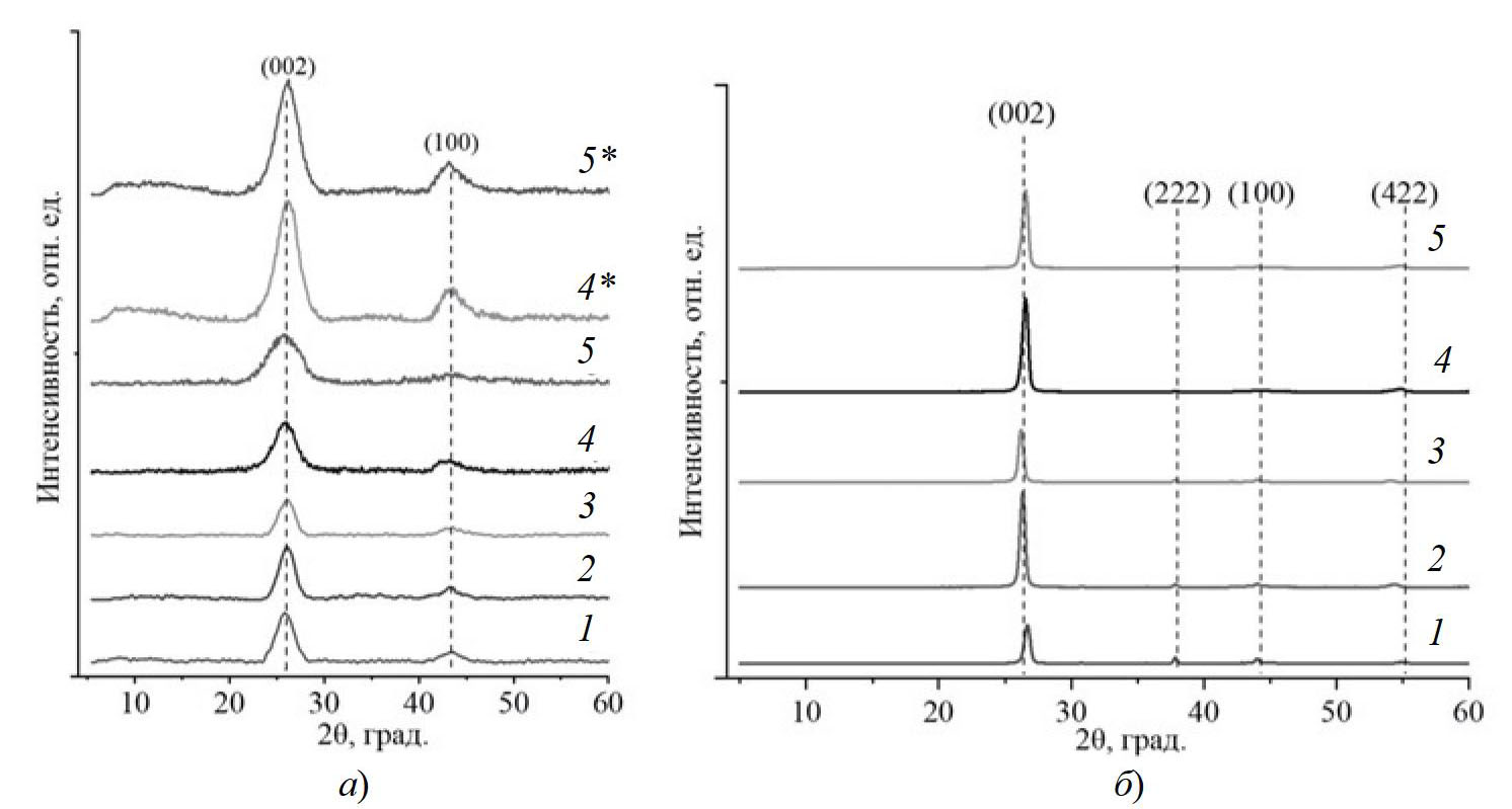
На рентгеновских дифрактограммах исходных и йодированных УНМ любого типа (рис. 1) присутствуют пики при 2 около 26° и 44°, соответствующие плоскостям графита (002) и (100). На дифрактограммах ГНП также присутствуют рефлексы плоскостей (222) и (422) при 2, равных 37° и 54° соответственно, что характерно для графитоподобных 3D-материалов (см. рис. 1, б) [15].
Рис. 1. Рентгеновские дифрактограммы УНТ (а) и ГНП (б): исходных (1) и обработанных в парах (2, 3) и изопропанольных растворах (4, 5) йода при массовых соотношениях УНМ : I2, равных 9 : 1 (2, 4) и 4 : 1 (3, 5) (* образцы после отжига при 620 °С)
При модифицировании УНТ изменения положения пиков на дифрактограммах практические не наблюдается. Отмечается лишь изменение их высоты и ширины, особенно выраженное при высоких содержаниях йода в исходной смеси. Рассчитанные по уравнению Вульфа–Брегга значения межплоскостных расстояний d002 и определенные по формуле Селякова–Шеррера размеры областей когеррентного рассеяния Lc представлены в табл. 2. При высоком содержании йода в исходной смеси наблюдается небольшое снижение d002 для УНТ, вероятно, за счет удаления функциональных групп. Модифицированные материалы, полученные при жидкофазном модифицировании без последующего отжига, характеризуются минимальными значениями Lc. Потеря симметрии и снижение пиков (002) на дифрактограммах некоторых образцов указывают на деструктивное влияние йода в высоких концентрациях на структуру УНМ. После термической обработки симметрия этих пиков восстанавливается, а ширина (002) – уменьшается, что указывает на снижение количества дефектов, вероятно, за счет удаления связанного с поверхностью внешнего слоя йода и аморфной фазы. Кроме того, при 620 °С может происходить удаление оставшихся в составе УНТ кислородсодержащих функциональных групп, в результате чего достигается эффект «залечивания» поверхности.
Таблица 2. Структурные характеристики образцов по данным ренгенофазового анализа (РФА) и спектроскопии КР
УНМ | Доля I2 в исходной смеси, масс. % | Режим обработки | Данные РФА | Данные спектроскопии КР | ||||
d002, Å | Lc, Å | Положение G, см–1 | D/G | /G | D*/G | |||
УНТ | 0 | – | 3,5 | 39,6 | 1577 | 2,10 | 0,25 | 0,05 |
5 | ГФ | 3,5 | 40,5 | 1588 | 1,75 | 0,12 | 0,03 | |
ЖФ | 3,5 | 29,9 | 1577 | 1,80 | 0,25 | 0,11 | ||
ЖФ* | 3,5 | 31,9 | 1575 | 1,79 | 0,12 | 0,07 | ||
10 | ГФ | 3,4 | 43,6 | 1589 | 1,60 | 0,10 | 0,02 | |
ЖФ | 3,5 | 31,6 | 1577 | 1,81 | 0,22 | 0,11 | ||
ЖФ* | 3,5 | 30,9 | 1574 | 1,75 | 0,19 | 0,09 | ||
15 | ГФ | 3,4 | 37,5 | 1583 | 1,83 | 0,12 | 0,02 | |
ЖФ | 3,4 | 32,9 | 1576 | 1,75 | 0,15 | 0,10 | ||
ЖФ* | 3,5 | 31,5 | 1575 | 1,73 | 0,12 | 0,07 | ||
20 | ГФ | 3,4 | 39,2 | 1579 | 1,81 | 0,11 | 0,02 | |
ЖФ | 3,4 | 32,1 | 1574 | 1,76 | 0,27 | 0,09 | ||
ЖФ* | 3,5 | 32,1 | 1578 | 1,76 | 0,18 | 0,06 | ||
ГНП | 0 | – | 3,3 | 170,6 | 1573 |
–
| ||
10 | ГФ | 3,4 | 189,3 | 1579 | ||||
ЖФ | 3,4 | 189,6 | 1583 | |||||
20 | ГФ | 3,4 | 182,4 | 1581 | ||||
ЖФ | 3,4 | 177,6 | 1576 | |||||
Межплоскостные расстояния в ГНП в результате модифицирования увеличиваются всего на 0,1 Å, что, безусловно, не может быть связано с интеркалированием йода. Некоторое увеличение Lc может происходить за счет агломерации при высушивании материала, причем при жидкофазном способе эти явления менее выражены, что было отмечено и визуально.
На спектрах КР УНТ (рис. 2, а) идентифицируются пики D (~1320 см–1), G (1577…1589 cм–1) и 2D (~2640 см–1), интерпретация которых приведена в [16]. При обработке линий первого порядка посредством функций Лоренца выделены пики (~1500 cм–1) и D* (1150…1200 cм–1). Результаты расчетов соотношений интенсивностей различных пиков спектров КР представлены в табл. 2.
Рис. 2. Спектры комбинационного рассеяния УНТ (а) и ГНП (б): исходных (1) и обработанных в парах (2, 3) и изопропанольных растворах (4, 5) йода при массовых соотношениях УНМ : I2, равных 9 : 1 (2, 4) и 4 : 1 (3, 5) (* образцы после отжига при 620 °С)
Показатели D/G и /G характеризуют общую дефектность и степень аморфизации УНТ за счет присутствия sp3-углерода. При увеличении содержания йода в исходной смеси при газофазной обработке данные показатели для УНТ сначала снижаются, а затем начинают расти. Минимальным значением дефектости характеризуются образцы, полученные при газофазной обработке в парах I2, значения Lc для которых, по данным РФА, являются наибольшими. Данный характер зависимости дефектности материала от концентрации йода в исходной смеси можно объяснить исходя из того, что йод способен окислять аморфную фазу и вызывать появление новых дефектов на поверхности УНМ. Причем, первый процесс протекает намного легче, в результате чего происходит снижение значений D/G и /G. При газофазной обработке также отмечается смещение положения пика G в область более высоких волновых чисел, что подтверждает участие йода в продуцировании новых дефектов поверхностного слоя УНТ.
При жидкофазном модифицировании с ростом концентрации йода в исходной смеси показатель D/G cначала снижается, а затем стабилизируется. После отжига его значения практически не изменяются. При этом значения и для УНТ, подвергнутых обработке в изопропанольных растворах йода, несколько выше, чем для исходных.
Снижение соотношения D*/G при жидкофазном и газофазном йодировании нанотрубок указывает на удаление кислородсодержащих функциональных групп, которые в небольшом количестве всегда присутствуют в составе УНТ, извлеченных из реактора CVD-синтеза.
На спектрах КР всех образцов ГНП (см. рис. 2, б) обнаруживаются пики G и 2D, а на спектре йодированных материалов присутствует также пик D, указывающий на наличие дефектов графеновых слоев.
В целом данные спектроскопии КР и РФА коррелируют между собой и указывают на то, что при любом способе модифицирования многослойных УНМ йодом происходит изменение структуры только поверхностных слоев.
Однако в поведении УНТ и ГНП имеются различия. При газофазной обработке УНТ происходит удаление аморфной фазы, но при этом продуцируются дефекты поверхности, появление которых может быть связано с образованием связей с йодом. При жидкофазной обработке новые дефекты поверхности УНТ, судя по всему, формируются в незначительной степени, однако и удаление аморфной фазы протекает не столь интенсивно, на что указывают тенденции изменения . При высокотемпературном отжиге йодированных УНТ показатели дефектности снижаются, видимо, за счет удаления связанного с поверхностью йода. При газофазном йодировании ГНП весьма выражены явления агломерации материала. Йодирование способствует продуцированию дефектов поверхности при обоих способах обработки.
На рисунке 3 приведены значения удельной электропроводности исходных и йодированных при различных режимах УНМ. Модифицированные материалы демонстрируют значения в 5 – 20 раз выше исходных. Так, обработка УНТ в изопропанольных растворах йода способствует росту электропроводности с 0,08 до 1 См/см (см. рис. 3, а). После термического отжига, в результате которого в модифицированном материале остается 0,2…0,3 масс. % йода, электропроводящие свойства заметно снижаются. Модифицирование УНТ в парах йода способствует более эффективному росту электропроводности. При данном способе обработки электропроводность материала возрастает при увеличении содержания йода в исходной смеси до 10 масс. %, после чего дальнейшего роста не происходит. Это можно объяснить тем, что по данным РФС в материале, содержащем в исходной смеси более 10 масс. % йода, его концентрация в готовом продукте не увеличивается. Однако следует обратить внимание на то, что в общем случае значение не коррелирует с содержанием йода в нанотрубках. В большей степени изменение проводящих свойств данного типа материалов обусловлено характером дефектов поверхности. Наиболее электропроводными являются УНТ, в поверхностных слоях которых имеются дефекты, обусловленные образованием связей с йодом. Атомы йода, обладающие избытком электронов по сравнению с атомами углерода, способствуют более эффективному переносу заряда, в результате чего происходит рост .
Рис. 3. Удельная электропроводность исходных и йодированных при различных условиях УНТ (а) и ГНП (б)
Зависимости электропроводности ГНП от содержания йода в исходной смеси при газофазном и жидкофазном способах модифицирования представлены на рис. 3, б. В отличие от УНТ здесь лучшими проводящими свойствами обладают материалы, полученные в результате обработки в изопропанольных растворах I2. Типы дефектов, формирующиеся при йодировании ГНП, не зависят от условий обработки, поэтому имеется прямая корреляция между значением и содержанием йода в модифицированном материале.
Заключение
При обработке многослойных углеродных наноструктур йодом, независимо от условий, происходят изменения только внешних графеновых слоев без интеркалирования. При обработке УНТ в парах йода происходит удаление аморфной фазы и продуцирование дефектов поверхностного слоя, обусловленных образованием связей с йодом. При жидкофазном способе новые дефекты поверхности практически не формируются, а удаление аморфной фазы протекает менее интенсивно. На поверхности ГНП дефекты поверхности формируются при любых условиях йодирования.
Йодирование способствует росту электропроводности многослойных углеродных наноструктур, при этом наиболее эффективное увеличение электропроводности происходит только в случае возникновения связей поверхностных графеновых слоев с йодом.
Представленные в работе подходы могут использоваться при разработке электропроводящих материалов с заданным типом дефектов для применения в сенсорных устройствах различного типа, в том числе, в биосенсорике.
Исследование выполнено при поддержке гранта Российского научного фонда № 24-14-20013. Использовано оборудование Центра коллективного пользования «Получение и применение полифункциональных наноматериалов» (ФГБОУ ВО «Тамбовский государственный технический университет»).
About the authors
N. A. Chapaksov
TSTU
Email: dyachkova_tp@mail.ru
Junior Researcher, Department of Fundamental and Applied Research
Russian Federation, TambovT. P. Dyachkova
TSTU
Email: dyachkova_tp@mail.ru
Doctor of Chemical Sciences, Professor of the Department of Engineering and Technology of Nanoproducts Production
Russian Federation, TambovR. A. Stolyarov
TSTU
Email: dyachkova_tp@mail.ru
Candidate of Technical Sciences, Senior Researcher, Department of Fundamental and Applied Research
Russian Federation, TambovI. V. Gutnik
TSTU
Email: dyachkova_tp@mail.ru
Candidate of Technical Sciences, Associate Professor of the Department of Nanotechnology Engineering
Russian Federation, TambovE. A. Burakova
TSTU
Email: dyachkova_tp@mail.ru
Doctor of Technical Sciences, Associate Professor of the Department of Engineering and Technology of Nanoproducts Production
Russian Federation, TambovE. N. Tugolukov
TSTU
Email: dyachkova_tp@mail.ru
Doctor of Technical Sciences, Professor of the Department of Engineering and Technology of Nanoproducts Production
Russian Federation, TambovG. A. Titov
TSTU
Author for correspondence.
Email: dyachkova_tp@mail.ru
Student
Russian Federation, TambovO. N. Ponamoreva
Tula State University
Email: dyachkova_tp@mail.ru
Doctor of Chemical Sciences, Head of the Department of Biotechnology
Russian Federation, TulaReferences
- Shandakov S.D., Vershinina A.I., Lomakin M.V. [et al.] [Doping of carbon nanotubes and graphene], Vestnik Kemerovskogo gosudarstvennogo universiteta [Bulletin of the Kemerovo State University], 2015, no. № 2-5(62), pp. 127-131. (In Russ., abstract in Eng.)
- Shi L., Li Y.Z., Yin H. J., Zhao S.L. Carbon-based metal-free nanomaterials for the electrosynthesis of small-molecule chemicals: A review, New Carbon Materials, 2024, no 39(1, pp. 42-63. doi: 10.1016/S1872-5805(24)60836-X
- Zhang Y., Zhang J., Su D.S. Substitutional doping of carbon nanotubes with heteroatoms and their chemical applications, ChemSusChem, 2014, vol. 7, no. 5, pp. 1240-1250. doi: 10.1002/cssc.201301166
- Jeon I.Y., Noh H.J., Baek J.B. Nitrogen‐doped carbon nanomaterials: synthesis, characteristics and applications, Chemistry – An Asian Journal, 2020, vol. 15, no. 15, pp. 2282-2293. doi: 10.1002/asia.201901318
- Kumar A., Gautam Y.K., Singh N. State-of-the-art developments in surface functionalized carbon-based bio/nanocomposites for theranostic antibacterials, advanced bioimaging, and molecular bioelectronics inspired biosensing platforms, Journal of Industrial and Engineering Chemistry, 2024. doi: 10.1016/j.jiec.2024.05.065
- Ravi S.N., Rajendran S., Madhumathi G.S. [et al.] Carbon Nanomaterials: Pioneering Innovations in Bio imaging and Biosensing Technologies, Journal of Molecular Structure, 2024, vol. 1316, pp. 138987. doi: 10.1016/j.molstruc.2024.138987
- Fischer J.E. Chemical doping of single-wall carbon nanotubes, Accounts of Chemical Research, 2002, vol. 35, no. 12, pp. 1079-1086. doi: 10.1021/ar0101638
- Tsentalovich D.E., Headrick R.J., Mirri F. [et al.] Influence of carbon nanotube characteristics on macroscopic fiber properties, ACS Applied Materials & Interfaces, 2017, no. 9(41), pp. 36189-36198. doi: 10.1038/s43246-024-00460-0
- Cruz-Silva E., Cullen D.A., Gu L. [et al.]. Heterodoped nanotubes: theory, synthesis, and characterization of phosphorus − nitrogen doped multiwalled carbon nanotubes, ACS Nano, 2008, no. 2(3), pp. 441-448. doi: 10.1021/jz3011833
- Chattopadhyay J., Pathak T.S., Pak D. Heteroatom-doped metal-free carbon nanomaterials as potential electrocatalysts, Molecules, 2022, vol. 27, no. 3, pp. 670. doi: 10.3390/molecules27030670
- Stoljarov R.A., Burmistrov I.N., Blohin A.N., Pasko T.V., Tkachev A.G., Chapaksov N.A., Jagubov V.S., Zajcev I.A. Sposob vosstanovlenija oksida grafena jodom [Method for reducing graphene oxide with iodine], Russian Federation, 2023, Pat. 2790835. (In Russ.)
- Stoljarov R.A., Burmistrov I.N., Blohin A.N., Kobzev D.E., Pasko T.V., Tkachev A.G., Chapaksov N.A. Sposob modifikacii mnogoslojnyh uglerodnyh nanotrubok [Method for modifying multi-walled carbon nanotubes], Russian Federation, 2020, Pat. 2729244. (In Russ.)
- Chapaksov N.A., Dyachkova T.P., Memetov N.R., Memetova A.E., Stoljarov R.A., Jagubov V.S., Han Ju.A. [The influence of iodine modification and thermal post-treatment on the structure and electrical conductivity of graphene oxide], Perspektivnye materialy [Perspective materials], 2024, no. 1, pp. 58-66. doi: 10.30791/ 1028-978X-2024-1-58-66 (In Russ., abstract in Eng.)
- Chapaksov N.A., Dyachkova T.P., Stolyarov R.A., Yagubov V.S., Tkachev A.G., Memetova A.E., Memetov N.R., Pasko T.V., Burmistrov I.N. Electrical conductivity of composites based on ultra-high molecular weight polyethylene modified with a mixture of graphenenanoplates and iodized carbon nanotubes, Journal of Advanced Materials and Technologies, 2022, vol. 7, no. 4, pp. 246-255. doi: 10.30791/1028-978X-2024-1-58-66
- Latif Z., Rehman A.Ur., Amin N., Arshad M.I., Marzouki R. Graphene nanoplatelets (GNPs): a source to bring change in the properties of Co–Ni–Gd-ferrite/GNP nanocomposites, RSC Advances, 2023, vol. 13, no. 49, pp. 34308-34321. doi: 10.1039/d3ra02080k
- Khan Yu.A., Dyachkova T.P., Burakova E.A., Suhinin A.A., Titov G.A., Degtyarev A.A. [Formation of hybrid particles by interaction of carbon nanostructures of different morphologies], Izvestiya vysshih uchebnyh zavedenii. Seriya: Himiya i himicheskaya technologiya [News of higher educational institutions. Series: Chemistry and chemical technology], 2023, vol. 66, no. 10, pp. 59-65. doi: 10.6060/ivkkt. 20236610.6907 (In Russ., abstract in Eng.)
Supplementary files






