Modern trends in the application of thermoelectric method in non-destructive testing (review)
- Authors: Soldatov A.I.1, Soldatov A.A.1, Kostina M.A.1
-
Affiliations:
- Tomsk Polytechnic University
- Issue: No 2 (2024)
- Pages: 64-83
- Section: General issues of defectoscopy
- URL: https://bakhtiniada.ru/0130-3082/article/view/255601
- DOI: https://doi.org/10.31857/S0130308224020061
- ID: 255601
Cite item
Full Text
Abstract
The article provides an overview of the main directions of using the thermoelectric testing method in various spheres of the national economy. The thermoelectric method is most widely used in industry. There are publications on the application of the thermoelectric method for quality monitoring of turning and friction stir welding. It is shown that the thermoelectric method makes it possible to increase the reliability of testing and, based on testing data, ensure optimal modes of the technological process of metalworking and welding. A number of articles are devoted to the application of the thermoelectric method to plastic deformation testing, the dependence of thermal EMF on the degree of plastic deformation is revealed. Recently, publications have appeared on the application of the thermoelectric method to testing the thermal resistance of the design “housing of a power semiconductor device-thermal interface-cooling radiator”. This design is very widespread in electronic equipment. In addition, there are articles on the use of the thermoelectric method to testing the transient resistance of contacts in the power supply network. It is shown that with an increase in contact resistance, the value of thermal EMF increases proportionally, which can be used to prevent emergencies in the power supply network. The thermoelectric method has also been successfully applied to diagnose the degree of titanium flooding. The dependence of the thermal EMF value on the degree of hydrogenation has been revealed. The use of the thermoelectric method is not limited to the field of industrial production. The thermoelectric method is successfully used in medicine for the undetectable detection of nucleic acid sequences, for the temperature diagnosis of human teeth, as well as for the diagnosis of inflammatory processes in the human body.
Full Text
ВВЕДЕНИЕ
Термоэлектрический эффект был открыт в начале 19 века и с тех пор находит применение в практике неразрушающего контроля. Он позволяет эффективно решать некоторые производственные задачи входной контроль материалов, определение глубины обезуглероженного слоя, определение толщины цементации, сортировка готовой продукции по маркам стали и сплавов, проверка качества термической обработки, проверка качества электронно-лучевой сварки, контроль пластической деформации, контроль режущего инструмента в процессе токарной обработки и измерение температуры как окружающей среды, так и различных технологических процессов [1—24]. Несколько положительных свойств, присущих термоэлектрическому методу, среди которых можно отметить простоту, компактность и автономность устройств, простоту подготовки объектов контроля, простота методики контроля, не требующая специальной подготовки персонала, и наконец возможность экспресс-диагностики, способствовали его широкому внедрению в различные сферы деятельности человека.
КОНТРОЛЬ КАЧЕСТВА ТОКАРНОЙ ОБРАБОТКИ И СВАРКИ МЕТАЛЛОВ
В начале 21 века во многих отраслях промышленности стала широко внедряться технология сварки трением с перемешиванием (friction stir welding (FSW)). Получаемое сварное соединение при этом имеет более высокие механические свойства по сравнению с соединением, полученным дуговой сваркой. Другими преимуществами сварки трением с перемешиванием является способность сваривать «несвариваемые» алюминиевые сплавы, а также низкая деформация свариваемых изделий. Качество сварного шва зависит от температуры сварки. Для контроля температуры сварного шва было предложено использовать термоэлектрический метод, основанный на измерении температуры термопарой, образованной соединением инструмент—заготовка [25—29]. На рис. 1 показана схема контроля температуры методом контактной пары инструмент—деталь. Сравнение трех методов контроля температуры в процессе сварки трением с перемешиванием: термопарой, встроенной в инструмент, термопарой, встроенной в заготовку, и термопарой, образованной соединением инструмент—заготовка, показало преимущества метода, основанного на контактной паре инструмент—деталь [28]. При таком подходе время реакции термопары на изменение температуры существенно сокращается, кроме того, увеличивается точность измерения температуры т.к. термопара расположена в самом сварном соединении [24]. Авторы исследовали влияние тепловыделения, вызванного теплопроводностью подложки, на температуру сварного шва и реакцию терморегулятора на нее. Было выявлено сильное влияние рассеивания тепла, вызванного геометрическими особенностями и окружающей средой, на конечное качество сварного шва. При этом определялась скорость охлаждения сварного шва, исследовалась структура сварного шва по макрофотографии и проводились испытания на растяжение.
Рис. 1. Схема контроля температуры методом контактной пары инструмент—деталь [28]
Изменение термоЭДС контактной пары инструмент—деталь показано на рис. 2 [29]. На характеристике наблюдается уменьшение термоЭДС в момент времени 19 с. Это происходит из-за контакта плеча сварочного инструмента с образцом.
Рис. 2. Изменение термоЭДС в процессе сварки [28]
Температура образца уменьшается за счет теплоотдачи сварочному инструменту и соответственно уменьшается термоЭДС. Затем температура плеча увеличивается и увеличивается термоЭДС. Авторы предложили использовать эту характеристику для управления инструментом. При обнаружении плечевого контакта происходит наклон инструмента, а затем ожидается достижение заданной температуры, предварительно выбранной оператором, и начинается сварка. Время ожидания зависит от заданных параметров погружения и выбранной температуры. На рис. 3 показаны стадии сварки трением с перемешиванием с управлением по температуре [29].
Рис. 3. Стадии сварки трением с перемешиванием с управлением по температуре (красные стрелки обозначают модернизацию терморегулятора) [28]
В последние двадцать лет интенсивно стало развиваться направление по контролю режимов работы режущего инструмента при токарной обработке металлических изделий стружкообразующим способом. Такой контроль позволяет существенно повысить стабильность и качество обработки, а также экономическую эффективность производства. Для этого необходим мониторинг температурного режима контактной пары режущий инструмент—заготовка. Было предложено использовать сигнал термоЭДС в естественной термопаре инструмент—заготовка [33, 34]. Термопара образована обрабатываемым материалом, обозначенным «а», и материалом, из которого изготовлен инструмент, обозначенным «b» (рис. 4). Спаи полученной термопары находятся при температурах θа и θb.
Рис. 4. Электрическая цепь естественной термопары режущий инструмент—заготовка [34]
Авторы выявили влияние слоев покрытия режущего инструмента на результирующую термоЭДС, что связано с неодинаковой температурой разных слоев покрытия, а также из-за образования модифицированного многокомпонентного слоя на режущих поверхностях с измененным химическим составом и физико-механическими свойствами. Исследователи получили закономерности процесса изнашивания твердосплавного инструмента с покрытием, что позволяет определить период стойкости режущего инструмента с покрытием, либо скорость резания в соответствии с заданными технологическими условиями точения и на этой основе управлять процессом механической обработки [35—37].
Дальнейшие исследования выявили значительные несоответствия расчетных и фактических значений скорости резания углеродистой, конструкционной и коррозионностойкой стали. Это связано с некоторым разбросом теплофизических свойств, как заготовок, так и режущего инструмента и использованием в расчетных моделях средних значений этих свойств из всего допустимого диапазона вариаций. Авторы предложили использовать некоторые режимы резания для предварительного испытательного пробега с целью получения информации о теплофизических свойствах контактной пары режущий инструмент—заготовка, и на основе полученных данных управлять процессом механической обработки [38].
Влияние переходного сопротивления в существующих конструкциях подвижных токосъемников было исследовано в работе [39]. Авторы предложили использовать устройство стационарной токосъемной связи, что привело к уменьшению погрешность измерения сигнала термоЭДС и одновременно повысило его достоверность. Влияние неоднородности свойств клеммной пары было исследовано в работе [40]. Было выявлено снижение стабильности и качества обработки при флуктуации свойств контактной пары. Существование допусков на содержание химических элементов в стали обусловлено сложностью управления металлургическими процессами. Для определения оптимального режима резания было предложено использовать сигнал термоЭДС пары инструмент—заготовка, полученный на строго определенных режимах калибровочного резания. Полученные данные при калибровочной резке авторы предложили использовать для определения текущих свойств контактной пары. Авторы также установили влияние состояния противоизносного покрытия резца на сигнал термоЭДС.
ИЗМЕРЕНИЕ ДИФФЕРЕНЦИАЛЬНОЙ ТЕРМОЭДС
Кроме приборов непосредственного измерения термоЭДС используются приборы для измерения дифференциальной термоЭДС. Наибольшую популярность получил прибор «ТЕРМОТЕСТ» различных модификаций [41—44]. Отличительной особенностью этого термоэлектрического прибора является использование дифференциального датчика с общей системой нагрева и стабилизацией температуры двух нагреваемых электродов. Оригинальная конструкция датчика с двумя горячими электродами разработана авторами и приведена на рис. 5.
Рис. 5. Конструкция датчика: 1 — первый горячий электрод; 2 — нагревательный элемент; 3 — термопары; 4 — второй горячий электрод
Фотография прибора с датчиком показана на рис. 6. Прибор имеет связь с ПК для визуализации поступающих данных. Еще одной отличительной особенностью является встроенная система мониторинга контактного сопротивления.
Рис. 6. Прибор термоэлектрического контроля с дифференциальным датчиком «ТЕРМОТЕСТ»: а — блок электроники; б — дифференциальный датчик с эталоном и тестируемым образцом
Поступающие данные отображаются на экране монитора в виде графиков, каждый в своем окне. Пример программного интерфейса приведен на рис. 7.
Рис. 7. Программный интерфейс
В верхнем окне отображается данные, поступающие в персональный компьютер после включения прибора. Данные о величине термоЭДС закодированы зеленым цветом, а данные о величине контактного сопротивления — красным цветом. При разомкнутой измерительной цепи (отсутствие контакта горячего электрода с тестируемым объектом) контактное сопротивление велико, красная линия отображается на уровне 44 единиц, что соответствует переполнению аналого-цифрового преобразователя. При замыкании измерительной цепи контактное сопротивление между горячим и холодным электродами уменьшается до нуля. Это произошло в момент времени 6,3 с (630 по шкале абсцисс). При этом значение термоЭДС составило –12 мкВ. Через 2,3 с процесс измерения термоЭДС завершен (момент времени 860 по шкале абсцисс), измерительная цепь разомкнулась и контактное сопротивление вернулось к первоначальному значению 44, а термоЭДС стала равна нулю.
В нижнем окне отображаются данные о температуре горячего электрода (красная линия) и термоЭДС (зеленая линия) только при замкнутой измерительной цепи, т.е. в интервале времени от 6,3 до 8,6 с. На графике хорошо видно уменьшение температуры горячего электрода со 130 град до 116 за счет передачи тепла объекту контроля.
КОНТРОЛЬ ПЛАСТИЧЕСКОЙ ДЕФОРМАЦИИ
Кроме традиционной разбраковки металлов и сплавов термоэлектрический метод применяется для контроля пластически деформированных металлов и сплавов [4, 13, 45, 46]. В работе [45] была исследована термоэлектрическая зависимость нержавеющей стали марки X5CrNi1810 от величины пластической деформации. На рис. 8 показаны зависимости термоЭДС от температуры горячего электрода для различной величины пластической деформации.
Из рис. 8 можно сделать вывод о увеличении термоЭДС при увеличении температуры горячего электрода. Кроме того, по мере увеличения степени деформации также наблюдается увеличение термоЭДС. Используя данные, представленные на рис. 8, была получена зависимость термоЭДС от степени пластической деформации.
Рис. 8. Зависимость термоЭДС от температуры горячего электрода из меди для различной степени пластической деформации (ε) стальной проволоки диаметром ≈2,8 мм, изготовленной из нержавеющей стали X5CrNi1810 [45]
Рис. 9. Зависимость термоЭДС от относительной деформации (ε) при температуре 40 °C для проволоки диаметром ≈2,8 мм из стали X5CrNi1810 [45]
Основываясь на полученной зависимости, авторы показали, что при величине термоЭДС 34,5 мкВ относительная деформация образца, изготовленного из нержавеющей стали X5CrNi1810, составит 11,9 %.
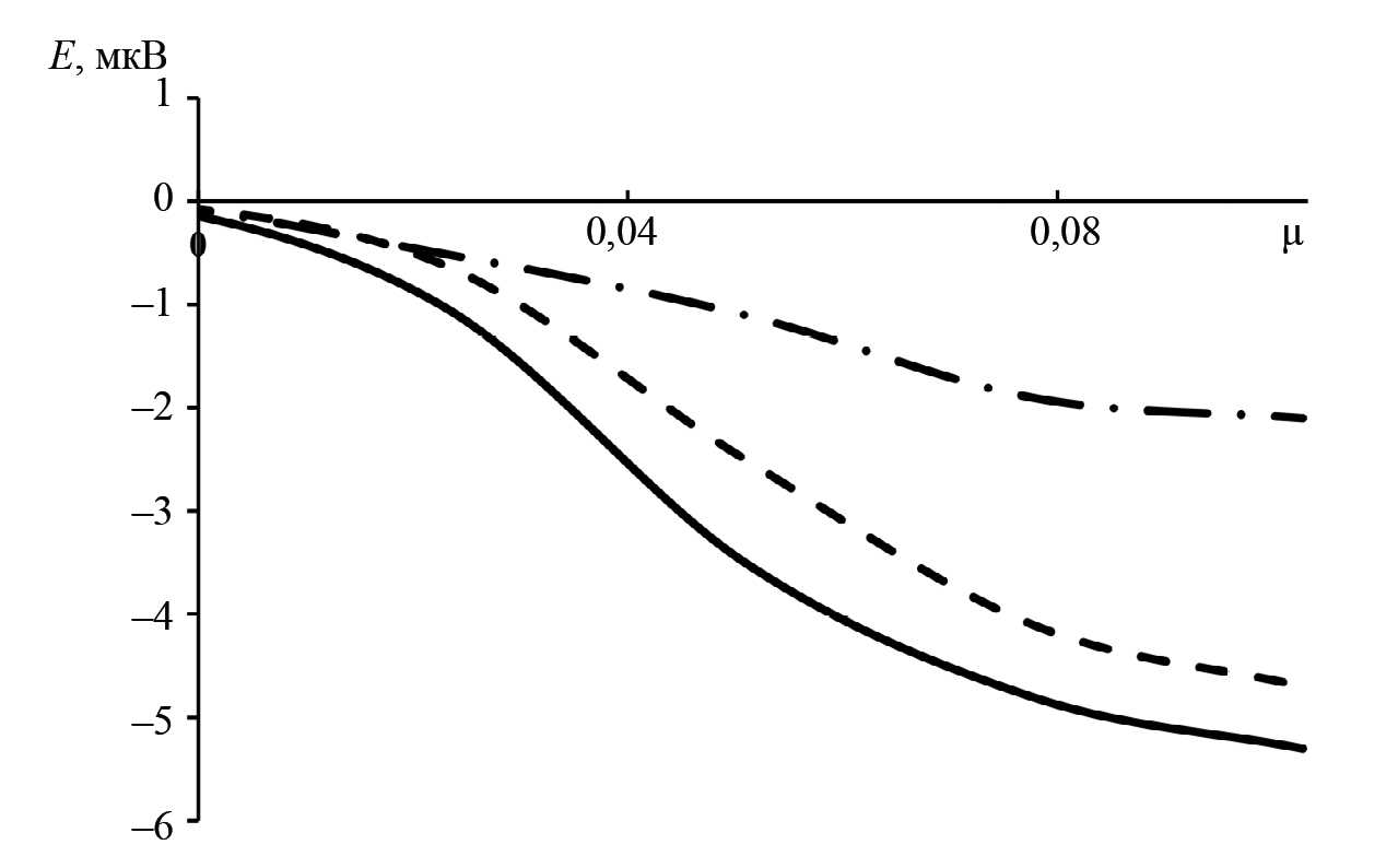
Схожие результаты получены в работах [4, 13, 46]. Авторы исследовали зависимость термоЭДС от степени пластической деформации сталей ST3, 08KP AND 12H18N10T. Была получена зависимость термоЭДС от относительной степени удлинения тестируемых образцов из сталей ST3, 08KP AND 12H18N10T.
Из рис. 10 видно, что при небольших значениях относительного удлинения образцов µ<0,02, что соответствует области упругой деформации, изменение термоЭДС незначительно. С увеличением относительного удлинения µ>0,02, что соответствует области пластической деформации, изменение термоЭДС увеличивается. Максимальное изменение термоЭДС наблюдается при максимальном значении деформации перед разрушением образца.
Рис. 10. Зависимость дифференциальной термоЭДС от величины деформации: сплошная линия — ST3; штриховая линия — 08KP; штрихпунктирная линия — 12H18N10T
КОНТРОЛЬ ТЕПЛОВОГО СОПРОТИВЛЕНИЯ
Термоэлектрический метод был применен и для контроля теплового сопротивления системы радиатор охлаждения—корпус силового полупроводникового элемента [47—51]. Такая система широко применяется в радиоэлектронной аппаратуре для обеспечения требуемого теплового режима работы силового полупроводникового прибора. Для улучшения теплового контакта корпуса силового полупроводникового прибора с радиатором охлаждения используют теплопроводящую пасту (термоинтерфейс). Дефекты, появившиеся после нанесения теплопроводящей пасты на радиатор охлаждения, могут привести к нарушению теплового режима работы силового полупроводникового прибора и выходу его из строя. В настоящее время контроль теплового сопротивления термоинтерфейса после его нанесения на теплоотводящую поверхность осуществляется вручную либо косвенными методами. До сих пор не существовало способа контроля теплового сопротивления системы радиатор охлаждения—корпус силового полупроводникового элемента в собранном состоянии.
Авторами предложен способ термоэлектрического контроля теплового сопротивления системы радиатор охлаждения—корпус силового полупроводникового элемента в собранном состоянии, основанный на зависимости термоЭДС от характера распределения теплопроводящей пасты между двумя металлическими поверхностями [47].
Исследования распространения теплового потока в исследуемом объекте во времени авторы проведли на модели, состоящей из двух цилиндров радиусом R и высотой L1 и L2, соединенных между собой (рис. 11а). При моделировании нижний цилиндр от точки А до точки D нагревается мгновенно до 100 °C. Часть нижнего цилиндра от точки D до точки B1 и верхний цилиндр находятся при комнатной температуре. Тепловой поток распространяется вверх по нижнему цилиндру до точки B1 и через термоинтерфейс (расстояние между точками B1 и B2) поступает в точку B2, нагревая верхний цилиндр. При моделировании считалось, что контакт между цилиндрами идеальный, коэффициенты теплопроводности веществ не зависят от температуры и являются постоянными, тепловое сопротивление в зоне контакта двух цилиндров полностью описывается эффективным тепловым сопротивлением контактного слоя. Температурно-временной срез, полученный на модели показан на рис. 11б. На этом графике хорошо виден перепад температур между нижним и верхним цилиндрами (расстояние 0,18 м). Разность температур между нижним и верхним цилиндром будет зависеть от теплового сопротивления между ними, следовательно, и термоЭДС будет также зависеть от теплового сопротивления.
Рис. 11. Схематическое изображение объекта исследования (а) и температурно-временной срез распределения тепла в цилиндре (б)
При изменении удельной теплопроводности термоинтерфейса и его толщины изменяется время установления переходного процесса и максимальная температура (рис. 12).
Рис. 12. Зависимость разницы температур от времени (а) и толщины термопасты (б): 1 — удельная теплопроводность термопасты в 10 раз больше номинальной; 2 — номинальная удельная теплопроводность; 3 — удельная теплопроводность термопасты в 10 раз меньше номинальной
Результаты моделирования влияния толщины термоинтерфейса на термоЭДС приведены на рис. 13. При моделировании коэффициент Зеебека был взят 3,2 мкВ/К, что соответствует сплаву АМг6, наиболее распространенному для изготовления радиаторов охлаждения.
Рис. 13. Зависимость термоЭДС от толщины слоя термоинтерфейса: а — переходной режим; б — установившийся режим
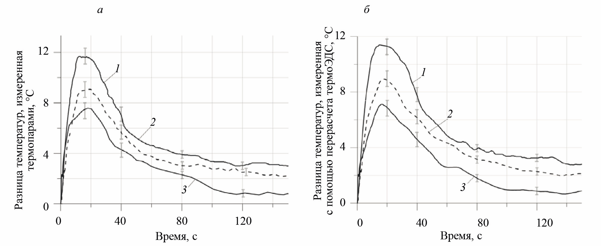
Как видно из рис. 13, изменение термоЭДС в переходном режиме более чем в 5 раз превосходят изменение термоЭДС в установившемся режиме. Однако зависимость термоЭДС от толщины термоинтерфейса в переходном режиме носит нелинейный характер, а в установившемся — линейный, что делает этот режим более предпочтительным для контроля теплового сопротивления. Экспериментальные исследования подтвердили правильность теоретических исследований. В эксперименте измерялась термоЭДС между алюминиевым радиатором охлаждения в форме цилиндра и закрепленным на нем корпусом ТО-220 силового прибора с термоинтерфейсом в промежуточном слое между ними. Материал корпуса — медь, материал покрытия корпуса — олово. Зависимости разницы температур корпуса силового прибора и радиатора, полученные с помощью термопар и с помощью пересчета термоЭДС приведены на рис. 14.
Рис. 14. Зависимость разницы температур корпуса силового прибора и радиатора охлаждения от времени, полученные с помощью термопар (а) и с помощью пересчета термоЭДС (б): 1 — без термоинтерфейса; 2 — с частично нанесенным термоинтерфейсом (50 %); 3 — с нанесенным термоинтерфейсом
Результаты экспериментальных исследований зависимости термоЭДС от площади покрытия корпуса силового элемента термоинтерфейсом приведены на рис. 15. Авторы выявили практически линейную зависимость.
Рис. 15. Зависимость термоЭДС от относительной площади покрытия корпуса силового элемента термоинтерфейсом
Результаты проведенных исследований позволяют сделать вывод о перспективности использования термоэлектрического метода для контроля теплофизических характеристик термоинтерфейса в промежуточном слое между корпусом силового элемента и радиатором охлаждения. Следует заметить, что термоэлектрический метод контроля можно использовать непосредственно в процессе эксплуатации электронного оборудования.
МОНИТОРИНГ КОНТАКТНЫХ СОЕДИНЕНИЙ В СЕТИ ЭЛЕКТРОСНАБЖЕНИЯ
Термоэлектрический метод можно успешно применить для мониторинга переходного сопротивления контактов в сети электроснабжения без отключения потребителей в режиме реального времени. Из-за неисправностей в электропроводке часто возникают пожары, которые приводят как к материальным потерям, так и человеческим жертвам [52, 53]. Одной из причин возникновения пожара является большое переходное сопротивление (БПС) контактов, которое возникает в местах плохих контактов [54—56]. Наличие контактного сопротивления отмечается многими исследователями, в том числе предлагаются различные методы его уменьшения [57—59]. Обнаруживают БПС обычно уже тогда, когда оно стало причиной отказа. При протекании тока через переходное сопротивление контакта его температура повышается и может достичь значения близкого к температуре плавления изоляции и последующему возгоранию. Например, температура самовоспламенения полиэтиленовой изоляции составляет 350 °С. Изоляция из ПВХ обугливается при длительном воздействии температурой до 110 °С [60].
Контактное соединение в сети электроснабжения, состоящие из двух разнородных проводников, представляет собой термопару. При протекании тока через соединение с большим переходным сопротивлением оно нагревается. Величина нагрева зависит от величины контактного сопротивления и силы тока, а величина термоЭДС будет определяться разностью температур холодного и горячего спаев и коэффициентами Зеебека материала соединителя и проводника.
Для исследования температуры нагрева контактного соединения была разработана модель, учитывающая параметры контактного соединения, свойства материалов контактирующих проводов и силу тока через контактное соединение. По результатам моделирования получены зависимости изменения температуры контактной пары от времени, при различных значениях массы при сопротивлении равном (рис. 16). Параметры контактной пары: масса контакта — 1, 2 и 3 г; переходное сопротивление контакта — 0,1 Ом; ток через контакт — 10 А; удельная теплоемкость меди α = 385 Дж/(кг · К).
Рис. 16. Зависимость температуры контактной пары от времени, при различных значениях массы при сопротивлении равном 0,1 Ом: ---- — 1 г, 0,2 пикс. ---- — 2 г, ---- — 3 г
Как видно из рис. 16, температура контактной пары увеличивается при протекании тока, следовательно, будет изменяться термоЭДС, которую можно детектировать.
Экспериментальное подтверждение результатов моделирования было проедено на установке, состоящей из развязывающего трансформатора, к вторичной обмотке которого была подключена нагрузка через контактное соединение пары: алюминий—медь. Коэффициент Зеебека этой пары по разным источникам составляет (3,6…4,5) мкВ/град [47, 48]. Результаты экспериментальных исследований приведены на рис. 17. Доверительный интервал не превышает 8 %.
Рис. 17. Динамика изменения термоЭДС на контактном соединении алюминий—медь при нагреве (среднее значение по 10 измерениям)
Из рис. 17 видно, что величина термоЭДС при 300 °С составила 1,7 мВ. Расчетное значение составляет 1,42 мВ. Отличие обусловлено возможным наличием примесей в используемых материалах контактного соединения медь—алюминий и соответственно другим коэффициентом Зеебека. Флуктуации термоЭДС обусловлены нестабильностью температуры холодного спая, которая не стабилизировалась. Измерение термоЭДС проводилось мультиметром Rigol DM3068. Изменение полярности включения термопары, которая образована контактным соединением двух проводников: медь—алюминий, привело к смене полярности термоЭДС. Можно сделать вывод, что появление постоянной составляющей в цепи переменного тока обусловлено только наличием термоЭДС нагретого контактного соединения (термопары) медь—алюминий.
КОНТРОЛЬ СТЕПЕНИ НАВОДОРАЖИВАНИЯ МЕТАЛЛОВ
Еще одно направление использования термоЭДС — это контроль степени наводораживания титанового сплава [61, 62]. Пи увеличении концентрации водорода увеличивается термоЭДС. Как можно видеть из рис. 18, исходное значение термоЭДС составило 0,14 мВ (кривая 4), после наводораживания термоЭДС увеличилась до 0,185 мВ (кривая 1). Было установлено, что значение максимума величины термоЭДС постепенно уменьшается с течением времени и составило 0,175 мВ через 30 ч после наводораживания и 0,17 мВ через 75 ч.
Рис. 18. Зависимость величины термоЭДС от координаты положения зонда: 1 — после наводороживания через 5 ч; 2 — 30 ч; 3 — 75 ч; 4 — до наводороживания. Температура зонда равна 62°С [61]
Из рис. 18 видно, что термоЭДС уменьшается во времени. Так, через 5 ч после наводораживания термоЭДС в координате «1» составила 187 мВ, через 30 ч — уменьшилась до 175 мВ и через 75 ч — уменьшилась до 168 мВ. По этим данным можно судить о миграционных процессах водорода в титановых сплавах и использовать для целей неразрушающего контроля материалов. Кроме того, наблюдается неравномерное распределение термоЭДС по длине образца, что говорит о неравномерном наводораживании исследуемого образца.
МЕДИЦИНСКАЯ ДИАГНОСТИКА
Применение термоэлектрического метода не ограничивается областью промышленности. Развитие технологии Lab-on-a-chip привело к возможности использования термоэлектрических датчиков в медицине. Термоэлектрический биосенсор ДНК для безметочного обнаружения последовательностей нуклеиновых кислот был предложен в работе [63]. Области применения ДНК-биосенсора включают обнаружение специфических последовательностей нуклеиновых кислот для идентификации генов и обнаружения патогенов.
На основе измерения тепла, выделяющегося во время реакции гибридизации ДНК, термоэлектрическим сенсором авторы продемонстрировали возможность обнаружения последовательностей нуклеиновых кислот. Термоэлемент прикрепляли к внешней поверхности нижней стенки канала и измеряли динамическое изменение температуры, вызванное реакцией. Термоэлектрический сенсор состоит из 60 последовательно соединенных термопар, изготовленных из соединения сурьма—висмут (Sb/Bi). Такая конструкция сенсора позволяет измерять изменения температуры порядка 10–4 К без контроля температуры окружающей среды. Описанное авторами термоэлектрическое лабораторное устройство на чипе позволяло точно определять комплементарные и некомплементарные последовательности ДНК.
Для определения состояния пульпы широко используется реакция зуба на температурное воздействие, которое может быть как выше (51±2°С), так и ниже (19±2°С) температуры тела человека. Адекватная реакция (если нагревание и охлаждение вызывают соответствующее ощущение) свидетельствует о нормальном состоянии пульпы. При воспалительных процессах в пульпе ответная реакция в виде продолжительных интенсивных или ноющих болей возникает при температуре выше и ниже тела человека на 5—7 °С. Зубы с некротизированной пульпой на температурные раздражители не реагируют. В работах [64, 65] авторы предложили использовать термоэлектрический метод для температурной диагностики состояния зубов человека.
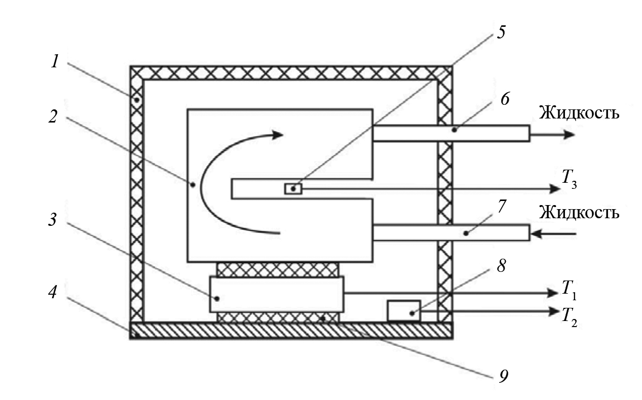
Термоэлектрический метод также применяется для диагностики воспалительных процессов в организме человека [66—69]. В основе прибора заложен принцип одновременного измерения температуры и плотности тепловых потоков поверхности тела человека. Конструкция датчика показана на рис. 19 [64]. Для исключения влияния температуры окружающей среды на показания прибора поверхность датчика термостатируется. Для этого значения показаний датчика температуры 8 сравниваются с показаниями заданной (опорной) температуры. Сигнал рассогласования управляет величиной и направлением тока электронного переключателя элемента Пельтье таким образом, чтобы стабилизировать температуру жидкости с точностью ±0,01°C. Жидкость протекает через медный радиатор 2, и ее температура также стабилизируется с точностью ±0,01°C в течение всего периода работы термостата. При такой температурной стабильности тепловой поток также будет стабильным и будет определяться только величиной теплового потока от исследуемого объекта.
Рис. 19. Конструкция термоэлектрического датчика температуры и теплового потока: 1 — эбонитовая изоляционная оболочка; 2 — медный жидкостный радиатор (15×15×6 мм); 3 — термоэлектрический сенсор (10×10×2,4 мм); 4 — медное основание датчика (thickness 0,3 мм); 5 — датчик температуры медного радиатора T3; 6, 7 — впускной и выпускной патрубки (∅ 4 мм); 8 — датчик температуры медной основы T2; 9 — слой теплопроводящей пасты [64]
Для отображения результатов диагностики используется монитор персонального компьютера, данные в который поступают в режиме реального времени, что имеет жизненно важное значение для диагностики воспалительных процессов и различных заболеваний на ранних стадиях.
Последние исследования подтверждают эффективность использования терагерцового диапазона (ТГц) в сфере медицинской диагностики. Поскольку жидкости хорошо поглощают ТГц-излучение, возможно его применение в медицинской диагностике: по количеству жидкости в тканях возможна диагностика онкологических и прочих заболеваний. Само излучение не является ионизирующим. Оно не является абсолютно безопасным для человека, но оно безопаснее рентгеновского исследования. Данный метод превосходит магнитно-резонансную томографию (МРТ), так как благодаря более подходящей глубине проникновения возможно более точное обнаружение кожных новообразований. Для систем визуализации данный подход хорош тем, что использует иную часть спектра, что позволяет получить информацию, дополняющую сведения, полученные при помощи систем на основе микроволн, ультрафиолета, рентгеновского излучения. Кроме того, терагерцовая визуализация имеет преимущество перед более низкочастотными системами в виде большего пространственного разрешения благодаря меньшей длине волны. Для функционирования ТГц-систем требуется источник терагерцового излучения и детектирующее устройство. Несмотря на то, что существует масса материалов, поглощающих терагерцовое излучение, основная проблема заключается в нехватке достаточно точных компактных устройств, обладающих требуемым уровнем быстродействия, и функционирующих при комнатной температуре. Термоэлектрические материалы на основе висмута и сурьмы (Bi—Sb) способны справиться с решением данной проблемы. Сенсоры на основе Bi—Sb имеет высокий коэффициент Зеебека (порядка 100 мкВ/К). Еще одним преимуществом термоэлектрических сенсоров на основе Bi—Sb является возможность их применения при комнатной температуре без необходимости дополнительного охлаждения [70].
ЗАКЛЮЧЕНИЕ
Термоэлектрический метод прочно вошел в практику неразрушающего контроля как в России, так и за рубежом. Активно проводятся исследования по улучшению характеристик приборов термоэлектрического контроля. В некоторых приложениях он является единственно возможным методом контроля. В последнее время сфера применения термоэлектрического метода постоянно расширяется. Это связано с бурным развитием электроники и, в частности вычислительной техники, что позволяет создавать портативные приборы, применять новые методы обработки исходных данных и получать новые качественные результаты, недостижимые ранее. На основе этого сфера применения термоэлектрического метода контроля будет только расширяться.
About the authors
A. I. Soldatov
Tomsk Polytechnic University
Author for correspondence.
Email: asoldafof@tpu.ru
Russian Federation, 634050 Tomsk, Lenin avenue, 30
A. A. Soldatov
Tomsk Polytechnic University
Email: soldatov_aa@tpu.ru
Russian Federation, 634050 Tomsk, Lenin avenue, 30
M. A. Kostina
Tomsk Polytechnic University
Email: kostina_ma@tpu.ru
Russian Federation, 634050 Tomsk, Lenin avenue, 30
References
- Carreon H. Thermoelectric detection of spherical tin inclusions in copper by magnetic sensing // Journal of Applied Physics. 2000. V. 88. Is. 11. P. 6495. doi: 10.1063/1.1322591
- Carreon H. Thermoelectric Nondestructive Evaluation of Residual Stress in Shot-Peened Metals // Research in Nondestructive Evaluation. 2002. V. 14. Is. 2. P. 59. doi: 10.1080/09349840209409705
- Nagy P.B. Non-destructive methods for materials' state awareness monitoring // Insight: Non-Destructive Testing and Condition Monitoring. 2010. V. 52. Is. 2. P. 61. doi: 10.1784/insi.2010.52.2.61
- Soldatov A.A., Seleznev A.I., Fiks I.I., Soldatov A.I., Kröning Kh.M. Nondestructive proximate testing of plastic deformations by differential thermal EMF measurements // Russian Journal of Nondestructive Testing. 2012. V. 48. Is. 3. P. 184—186. doi: 10.1134/S1061830912030060
- Li J.F., Liu W.S., Zhao L.D., Zhou M. High-performance nanostructured thermoelectric materials // Npg Asia Mater. 2010. V. 2. Is. 4. P. 152. doi: 10.1038/asiamat.2010.138
- Kikuchi M. Dental alloy sorting by the thermoelectric method // European Journal of Dentistry. 2010. V. 4. No. 1. P. 66—70.
- Cooper R.F. Sorting mixed metals by the thermoelectric effect // Physics Education. 1976. V. 11. Is. 4. P. 290—292. doi.org/10.1088/0031-9120/11/4/004
- Stuart C.M. The Seebeck effect as used for the nondestructive evaluation of metals // Int. Adv. Nondestr. Test. 1983. V. 9.
- Stuart C. Thermoelectric Differences Used for Metal Sorting // Journal of Testing and Evaluation. 1987. V. 15. No. 4. P. 224—230. doi.org/10.1520/JTE11013J. ISSN 0090-3973
- Dragunov V.K., Goncharov A.L. New approaches to the rational manufacturing of combined constructions by EBW // IOP Conf. Series: Materials Science and Engineering. 2019. V. 681. P. 012010. doi: 10.1088/1757-899X/681/1/012010
- Goncharov A., Sliva A., Kharitonov I., Chulkova A., Terentyev E. Research of thermoelectric effects and their influence on electron beam in the process of welding of dissimilar steels // IOP Conference Series Materials Science and Engineering. February 2020. V. 759 (1). P. 012008. doi: 10.1088/1757-899X/759/1/012008
- Kharitonov I.A., Rodyakina R.V., Goncharov A.L. Investigation of magnetic properties of various structural classes steels in weak magnetic fields characteristic for generation of thermoelectric currents in electron beam welding // Solid State Phenomena. 2020. V. 299. P. 1201—1207.
- Soldatov A.I., Soldatov A.A., Kostina M.A., Kozhemyak O.A. Experimental studies of thermoelectric characteristics of plastically deformed steels ST3, 08KP and 12H18N10T // Key Engineering Materials. 2016. V. 685. P. 310—314.
- Soldatov A.I., Soldatov A.A., Sorokin P.V., Abouellail A.A., Obach I.I., Bortalevich V.Y., Shinyakov Y.A., Sukhorukov M.P. An experimental setup for studying electric characteristics of thermocouples // SIBCON 2017 — Proceedings. 2017. P. 79985342017.
- Fulton J.P., Wincheski B., Namkung M. Automated weld characterization using the thermoelectric method // Materials Science. August 1993. ID: 262902.
- Carreon H., Medina A. Nondestructive characterization of the level of plastic deformation by thermoelectric power measurements in cold-rolled Ti–6Al–4V samples // Materials Science, Nondestructive Testing and Evaluation. 2007. Corpus ID: 136854526. doi: 10.1080/10589750701546960
- Carreon H. Detection of fretting damage in aerospace materials by thermoelectric means // Smart Structures, Engineering, Physics. 16 April 2013. Corpus ID: 123131770. doi: 10.1117/12.2009448
- Lakshminarayan B., Carreon H., Nagy P. Monitoring of the Level of Residual Stress in Surface Treated Specimens by a Noncontacting Thermoelectric Technique // Materials Science. 9 April 2003. Corpus ID: 135856050, doi: 10.1063/1.1570311
- Carreon H. Thermoelectric detection of fretting damage in aerospace materials // Russian Journal of Nondestructive Testing. 2014. V. 11. Corpus ID: 137248032. doi: 10.1134/S1061830914110102
- Carreon H. Evaluation of Thermoelectric Methods for the Detection of Fretting Damage in 7075‒T6 and Ti‒6A1‒4V Alloys // Materials Science. 2015. V. 2. Corpus ID: 137547354. doi: 10.1007/978-3-319-48191-3_53
- Hu J., Nagy P.B. On the Thermoelectric Effect of Interface Imperfections // Review of Progress in Quantitative Nondestructive Evaluation. 1999. V. 188. P. 1487—1494. doi.org/10.1007/978-1-4615-4791-4_191
- Goncharov A.L. Investigation of the thermal electromotive force of steels and alloys of different structural grades in electron beam welding // Welding International. 2011. V. 25. Is. 9. P. 703—709.
- Goncharov A.L., Chulkova A.V., Rodyakina R.V., Dragunov V.K., Chulkov I.S. Investigation of thermo-EMF temperature dependences for construction materials of various structural classes // IOP Conf. Series: Materials Science and Engineering. 2019. V. 681. P. 012017. doi: 10.1088/1757-899X/681/1/012017
- Korndorf S.F., Melnik E.E. Thermoelectric diagnostic method of cutting tools // Control. Diagnostics. 2003. V. 1. P. 44—46.
- Magalhães Ana, De Backer Jeroen, Bolmsjö Gunnar. Thermal Dissipation Effect on Temperature-controlled Friction Stir Welding // Soldagem & Inspeção. 2019. V. 24. P. e2428. https://doi.org/10.1590/0104-9224/SI24.28
- Silva Ana C.F., De Backer J., Bolmsjö G. TWT method for temperature measurement during FSW process // The 4th international conference on scientific and technical advances on friction stir welding & processing — FSWP16” in San Sebastian, Spain, 1-2 October 2015. P. 95—98
- De Backer J., Bolmsjö G., Christiansson A.-K. Temperature control of robotic friction stir welding using the thermoelectric effect // The International Journal of Advanced Manufacturing Technology. 2014. V. 70. P. 375—383.
- Silva Ana C.F., De Backer J., Bolmsjö G. Cooling rate effect on temperature controlled FSW process // IIW International Conference High-Strength Materials — Challenges and Applications, Helsinki, Finland, 2-3 July 2015.
- Silva Ana C.F., De Backer J., Bolmsjö G. Analysis of plunge and dwell parameters of robotic FSW using TWT temperature feedback control // 11th International Symposium on FSW — 11ISFSW, Cambridge, UK, 17-19 May 2016.
- De Backer J., Bolmsjö G. Thermoelectric method for temperature measurement in friction stir welding // Science and Technology of Welding and Joining. 2013. V. 18.
- Silva Ana C.F., De Backer J., Bolmsjö G. Temperature measurements during friction stir welding // Int. J. Adv. Manuf. Technol. 2017. V. 88. P. 2899—2908. doi: 10.1007/s00170-016-9007-4
- Beguiristain Aldanondo, Mendizabal Arruti, Zubiria Echeverría. System for measuring temperatures generated during the friction stir welding process / Patent EP 3 725 451 A1. Application number: 17842322.4. 21.10.2020. Bulletin 2020/43.
- Plotnikov A.L., Tikhonova Zh.S., Eplov P.E., Pavlov A.S. The physical basis of using the value of a thermoelectric.d.s. natural thermocouple for an operational assessment of the properties of contact pairs «high-speed tool - steel billet» // Izvestiya Volgograd State Technical University. 2017. V. 12 (207). P. 79—83.
- Plotnikov A.L., Kristal M.G., Sergeev A.S., Tikhonova Zh.S., Uvarova T.V. Device for measuring the temperature of a cutter with a natural thermocouple / Patent for invention RU 2650827 C1. 17.04.2018.
- Chigirinskiy Y., Tikhonova Z., Kraynev D. Method for assessing the thermophysical properties of the contact pair «tool — steel workpiece» // Journal of Physics: Conference Series. "Intelligent Information Technology and Mathematical Modeling 2021, IITMM 2021— Mathematical Modeling and Computational Methods in Problems of Electromagnetism, Electronics and Physics of Welding". 2021. С. 052012.
- Tikhonova Z., Kraynev D., Frolov E., Bondarev A., Kozhevnikova A. The ThermoEMF as a Tool for Increasing the Autonomy of Technological Machines // Communications in Computer and Information Science. 2023. 1909 CCIS. С. 143—154.
- Tikhonova Z., Kraynev D., Frolov E. Thermo-Emf as Method for Testing Properties of Replaceable Contact Pairs // Lecture Notes in Mechanical Engineering. 2020. С. 1097—1105.
- Tikhonova Z., Kraiynev D., Frolov E. Efficiency improvement for assigning of cutting conditions on the basis of the thermo-EMF signal // MATEC Web of Conferences. 2018. V. 224. P. 0106.
- Sergeev A.S., Tikhonova Z.S., Uvarova T.V. Method for measuring thermo-emf of a «tool-workpiece» natural thermocouple in chip forming machining // MATEC Web of Conferences. 2017. С. 01044.
- Plotnikov A.L., Sergeev A.S., Tikhonova J.S. Features of using the EMF cutting signal in conditions of automated machine tool production // High-tech technologies in mechanical engineering. 2016. V. 6 (60). P. 21—28.
- Abouellail A.A., Chang J., Soldatov A.I., Soldatov A.A., Kostina M.A., Bortalevich S.I., Soldatov D.A. Characterization of the influence of destabilizing factors on test results of thermoelectric inspection // Russian Journal of Nondestructive Testing. 2022. V. 58. No. 3, P. 607—616.
- Soldatov A.I., Soldatov A.A., Sorokin P.V., Abouellail A.A., Kozhemyak O.A., Loginov E.L., Bortalevich S.I. Control system for device thermotest / В сб. 2016 International Siberian Conference on Control and Communications, SIBCON 2016 — Proceedings. 2016. P. 7491869.
- Sorokin P.V., Soldatov A.A., Soldatova M.A. A software and hardware complex for the study of the transient process during express control by the thermopower method // Control. Diagnostics. 2013. V. 13. P. 22—25.
- Abouellail A.A., Soldatov D.A., Soldatov A.A. Analysis of the electrical characteristics of the thermoelectric flaw detector sensor // Collection of materials of the All-Russian scientific and methodological conference Modern technologies, economics and education. 2019. P. 17—19.
- Milićević I., Popović M., Dučić N., Slavković R., Dragićević S., Maričić A. Experimental Identification of the Degree of Deformation of a Wire Subjected to Bending // Science of Sintering. 2018. V. 50. P. 183—191. DOI: https://doi.org/10.2298/SOS1802183M
- Soldatov A.I., Soldatov A.A., Sorokin P.V., Abouellail A.A., Kostina M.A. Thermoelectric method of plastic deformation detection // Materials Science Forum. 2018. V. 938. P. 112—118.
- Vasiliev I., Soldatov A., Abouellail A., Soldatov D., Bortalevich S. Thermoelectric Quality Control of the Application of Heat-Conducting Compound // Studies in Systems, Decision and Control. 2021. V. 351. P. 59—68.
- Soldatov A.A., Dementiev A.A., Soldatov A.I., Vasiliev I.M. Quality control of the application of a heat-conducting compound // Flaw detection. 2020. V. 3. P. 65—71.
- Vasiliev I.M., Dementiev A.A., Soldatov A.A., Soldatov A.I. Thermoelectric quality control method for applying a heat-conducting compound // Flaw detection. 2020. V. 5. P. 28—34.
- Soldatov A.I., Soldatov A.A., Vasiliev I.M., Shulgina Yu.V., Kostina M.A., Sorokin P.V. Method of measuring thermal resistance between the body of a semiconductor device and a cooling radiator / Patent for the invention RU 2686859 C1. 05/06/2019.
- Vasiliev I.M., Soldatov A.I., Dementiev A.A., Soldatov A.A., Abouellaill A. Automatic device for testing thermal resistance with thermoelectric effect / В сб. Journal of Physics: Conference Series. International Conference "Actual Trends in Radiophysics". 2020. P. 012047.
- U.S. Fare Statictics. Available at: https://www.usfa.fema.gov/data/statistics/#causesR/, free. (Accessed: December 16, 2021).
- Chechetkina T.A., Goncharenko V.S., Sibirko V.I., Zagumennova M.V. The situation with fires in the Russian Federation in 2021 // Fire safety. 2022. V. 1 (106). P. 98—115.
- Titkov V.V., Bekbaev A.B., Sarsenbaev E.A. On the possibilities of monitoring non-stationary thermal processes in the contacts of power electrical installations // Scientific and Technical Bulletin of SPbPU. Natural and engineering sciences. 2017. V. 23. No. 1. P. 168—178.
- Chaly A.M., Dmitriev V.A., Pavlenko M.A., Pavleino O.M. Heating of high-current electrical contacts by short-circuit shock currents // Electronic processing of materials. 2013. No. 49 (5). P. 81—88.
- Troitskiy O.A., Stashenko V.I., Skvortsov O.B. Vibrations of conductors during transmission of pulsed electric current and non-destructive testing // Engineering Journal: Science and Innovation. Electronic scientific and technical publication. 2018. No. 3. doi: 10.18698/2308-6033-2018-3-174
- Chuprova L.V., Ershova O.V., Mullina E.R. Chemical and technological aspects of the problem of oxidation of copper contacts of electrical equipment operated in water purification workshops // Young Scientist. 2013. No. 9 (56). P. 77—80.
- Apostolakis G., Kazarians M., Bley D.C. Methodology for assessing the risk from cable fires // Nucl. Saf. 1982. V. 23. Is. 4. ID 5329326.
- Delplace M., Vos E. Electric short circuits help the investigator determine where the fire started // Fire Technology. 1983. V. 19. Is. 3. P. 185—191.
- Wang Zhi, Wang Jian. Comparative thermal decomposition characteristics and fire behaviors of commercial cables // Journal of Thermal Analysis and Calorimetry. 2020. V. 144. No. 7. P. 1—3. DOI: 10.1007/ s10973-020-10051-z
- Lider A.M., Larionov V.V., Syrtanov M.S. Hydrogen concentration measurements at titanium layers by means of thermo-EMF // Key Engineering Materials. 2016. V. 683.
- Kudiуarov V.N., Lider A.M., Harchenko S.Y. Hydrogen accumulation in technically pure titanium alloy at saturation from gas atmosphere // Adv. Mater. Res. 2014. V. 880. P. 68—74.
- Nestorova Gergana G., Adapa Bindu S., Kopparthy Varun L., Guilbeau Eric J. Lab-on-a-chip thermoelectric DNA biosensor for label-free detection of nucleic acid se-quences // Sensors and Actuators B: Chemical. 31 March 2016. V. 225. P. 174—180.
- Ismailov T.A., Evdulov O.V., Ragimova T.A., Medzhidov M.N., Ragimova T.A. Thermoelectric semiconductor device for contrast thermodontometry / Patent RU No.2624804, dated 07.03.2017.
- Ismailov T.A., Aminov G.I., Yusufov Sh.A., Medzhidov M.N., Kazumov R.S. Thermoelectric device for temperature diagnostics and electrodontometry of dental condition / Application for invention of the Russian Federation RU No. 2006 106 008, dated 09.11.2006.
- Anatychuk L.I., Kobylianskyi R.R., Cherkez R.G., Konstantynovych I.A., Hoshovskyi V.I., Tiumentsev V.A. Thermoelectric device with electronic control unit for diagnostics of inflammatory processes in the human organism // BIOMEDICAL ELECTRONICS, Tekhnologiya i Konstruirovanie v Elektronnoi Apparature. 2017. № 6. P. 44—48. doi: 10.15222/TKEA2017.6.44
- Ismailov T.A., Gafurov K.A. Precision measurement of temperature parameters of tissues and cavities of the human body // The eighth International Scientific and technical Conference of students and postgraduates «Radioelectronics, electrical engineering and power engineering»: Collection of scientific tr. Moscow, 2002. V. 1. P. 228.
- Ismailov T.A., Gafurov K.A. Application of thermoelectric devices for measuring the thermal conductivity of human body tissues // The Third Russian National Conference on heat exchange: Collection of scientific tr. Moscow, 2002. P. 225—227.
- Gafurov K.A. Thermoelectric digital converters for the study of local temperature fields of the human body // Diss. for the degree of Candidate of Technical Sciences. Makhachkala. 2005. 159 P.
- Tukmakova A. S., Asach A.V., Makarova E.S., Tkhorzhevsky I.L., Demchenko P. S., Sedinin A.D., Novotelnova A.V., Kablukova N.S., Khodzitsky M.K. Prospects of using nanoscale layers of thermoelectrics for detecting radiation of the terahertz range of elements // Materials of the VII All-Russian Scientific and Technical Committee State and prospects of development thermoelectric instrumentation. Makhachkala. 2020. P. 7—8.
Supplementary files





















