Сверхсшитые полимерные сорбенты, модифицированные 4-винилпиридином: синтез, адсорбционные свойства и применение для выделения полимерной соли цефуроксима в режиме флэш-хроматографии
- Authors: Кириллов А.С.1, Вагин А.А.1, Борисенко М.С.1, Шевченко Н.Н.1, Красиков В.Д.1, Горшков Н.И.1
-
Affiliations:
- Институт высокомолекулярных соединений РАН
- Issue: Vol 97, No 1 (2024)
- Pages: 77-88
- Section: Сорбционные и ионообменные процессы
- URL: https://bakhtiniada.ru/0044-4618/article/view/259638
- DOI: https://doi.org/10.31857/S0044461824010109
- EDN: https://elibrary.ru/ZGRPKE
- ID: 259638
Cite item
Full Text
Abstract
Синтезированы сверхсшитые полимерные сорбенты на основе терполимеров стирола, дивинилбензола и 4-винилпиридина. Пористая и химическая структура сорбентов исследована с помощью методов низкотемпературной адсорбции–десорбции азота и инфракрасной спектроскопии. Определены адсорбционные характеристики сорбентов по отношению к цефуроксиму в статических и динамических условиях. Установлено, что введение 4-винилпиридина в полимерную матрицу сорбентов способствует усиленной адсорбции цефуроксима. Показана возможность применения пиридинсодержащих сверхсшитых полимерных сорбентов для разделения соли поли(акриламид-со-2-аминоэтилметакрилат)а с цефуроксимом и свободного цефуроксима в режиме флэш-хроматографии. Чистота полимерной соли цефуроксима после выделения подтверждена с помощью высокоэффективной жидкостной хроматографии в эксклюзионном режиме.
Full Text
В течение последних десятилетий в мире ведутся интенсивные работы по созданию макромолекулярных систем доставки низкомолекулярных биологически активных веществ [1–5]. Такой подход позволяет регулировать фармакокинетический профиль препарата, снизить его токсичность и повысить терапевтический индекс. Одной из стратегий синтеза таких систем является конъюгация лекарственного средства с полимером-носителем [6–8]. Макромолекулярные конъюгаты состоят из биосовместимого полимерного носителя, содержащего гидрофильные фрагменты, обеспечивающие его водорастворимость, и лекарственного средства, связанного с носителем ковалентной или ионной связью, и в ряде случаев дополнительного биологически активного вектора, тропного к определенным клеткам организма.
Одним из возможных подходов является создание полимерных солей лекарственных средств, характеризующихся ионным характером связи полимер–лекарственное средство [9, 10]. Высвобождение лекарственного средства из полимерной соли происходит в результате ионного обмена с более сильными электролитами и имеет пролонгированный характер, что показано, например, при изучении полимерных солей антибактериальных препаратов: п-аминосалициловой кислоты [11], рифампицина [12], аминогликозидов [13], фторхинолонов [14]. Таким образом, основное назначение полимерной соли — пролонгация действия лекарственных средств, обладающих быстрым выведением из организма и требующих частого приема. К ним относятся антибиотики цефалоспоринового ряда, которые применяются для лечения широкого спектра бактериальных инфекций, но быстро выводятся из организма (1–4 ч). Цефалоспориновые антибиотики пришли на смену пенициллинам благодаря ряду преимуществ, например, повышенной устойчивости к классу ферментов бета-лактамаз, расщепляющих бета-лактамное кольцо пенициллинов и тем самым снижая их антибактериальную активность, а также более широкому спектру действия [15]. Помимо пролонгированного высвобождения стратегия создания лекарственных препаратов на основе полимерных солей также позволяет повысить растворимость препарата в воде и улучшить его стабильность при хранении.
При конъюгации (солеообразовании) полимера-носителя с низкомолекулярным лекарственным средством в реакционной смеси остаются побочные продукты реакции, что требует очистки конъюгата хроматографическими методами, диализом, которые в ряде случаев недостаточно эффективны и требуют времени, что часто приводит к отщеплению действующего вещества. Поэтому разработка экспрессных и эффективных методов разделения полимерных солей и свободных лекарственных средств является актуальной задачей.
Одним из таких методов разделения является флэш-хроматография, которая используется для быстрого разделения компонентов смеси за счет создания небольшого избыточного давления (как правило, посредством сжатого воздуха), а также использования сорбента с достаточно крупными частицами (40–80 мкм). Условия, необходимые для проведения флэш-хроматографии, делают процесс разделения достаточно простым с точки зрения аппаратурного оформления и позволяют сохранять баланс между скоростью процесса и его эффективностью. Разделение высоко- и низкомолекулярных соединений в режиме флэш-хроматографии крайне перспективно, но редко применяется ввиду ограниченного выбора стационарных фаз (сорбентов), подходящих для этой цели. Тем не менее ранее [16] нами было показано, что использование микропористых сверхсшитых полистирольных сорбентов для экспрессной и эффективной очистки водорастворимых полимеров от низкомолекулярных соединений является перспективным подходом.
Сверхсшитый полистирол был впервые синтезирован В. А. Даванковым и М. П. Цюрупой [17] и представляет собой сильносшитую сетку, в которой фенильные фрагменты соединены друг с другом жесткими мостиками-распорками. Сшивка полистирольных цепей осуществляется по реакции Фриделя–Крафтса в присутствии кислот Льюиса [18], причем как внешний (диметоксиметан, монохлордиметиловый эфир и др.), так и внутренний электрофил (4-винилбензилхлорид) может действовать как сшивающий агент [19]. В процессе сшивки формируется развитая микропористая структура, наличие которой определяет высокую удельную поверхность образующихся сверхсшитых полимеров и их высокую адсорбционную способность. Однако сверхсшитые полимеры на основе стирола или 4-винилбензилхлорида в большей степени эффективны для адсорбции ароматических соединений. Это связано с тем, что гидрофобные взаимодействия и π–π-стэкинг являются основными движущими силами адсорбции. В то же время адсорбция полярных ароматических и неароматических соединений на сильногидрофобизированной матрице менее эффективна. Для создания более гидрофильных матриц на стадии полимеризации вводят полярные мономеры, такие как метилакриловая кислота [20], N-винилимидазол [21], 4-винилпиридин [22–27], 2-гидроксиэтилметакрилат [28], глицидилметакрилат [29]. Такие частично гидрофильные полимеры обладают улучшенной адсорбцией к полярным органическим соединениям, поскольку важную роль в этом случае играют специфические взаимодействия, такие как водородные связи, кислотно-основные и электростатические взаимодействия. В частности, Fontanals и др. [26, 27], использовавшие полярный мономер 4-винилпиридин в полимеризации с дивинилбензолом, синтезировали серию макропористых сополимеров, которые эффективно адсорбируют некоторые полярные соединения, такие как оксамил, метомил, п-нитрофенол, бентазон и др. В работе [24] был синтезирован сверхсшитый полимер на основе стирола, дивинилбензола и 4-винилпиридина и показано, что он обладает усиленной адсорбцией к билирубину. Для усиленной адсорбции красителя Родамина Б в работах [22, 23, 25] были синтезированы сверхсшитые полимеры, также содержащие 4-винилпиридин.
Таким образом, наличие 4-винилпиридина в структуре сверхсшитого полимера способствует усиленной адсорбции соединений, содержащих карбоксильные группы, что обусловливает их перспективность для эффективной адсорбции цефалоспориновых антибиотиков. В то же время микропористая структура сверхсшитых полимеров снижает возможность диффузии макромолекул в микропористую сетку и, как следствие, их адсорбции.
Цель работы — синтез сорбентов на основе сверхсшитых полимеров, модифицированных 4-винилпиридином, для их применения во флэш-хроматографическом выделении полимерных солей лекарственных препаратов. В качестве модельной полимерной соли в работе рассматривается соль сополимера акриламида и 2-аминоэтилметакрилата с цефуроксимом, относящегося к классу цефалоспориновых антибиотиков.
Экспериментальная часть
Стирол (≥99%, кат. № S4972, Sigma-Aldrich), дивинилбензол (80%, кат. № 414565, Sigma-Aldrich), акриламид (99.9%, кат. № A1090, AppliChem), гидрохлорид 2-аминоэтилметакрилата (90%, кат. № 516155, Sigma-Aldrich), NaCl (х.ч., АО «Химреактив»), K2Cr2O7 (х.ч., АО «Химреактив»), поливиниловый спирт (тех., АО «ЛенРеактив»), перекись бензоила (75%, кат. № 517909, Sigma-Aldrich), FeCl3 (97%, кат. № 157740, Sigma-Aldrich), 1,2-дихлорэтан (х.ч., АО «ЭКОС-1»), метанол (х.ч., ООО ТД «ХИММЕД»), этанол (96%, ООО ТД «ХИММЕД»), толуол (ч.д.а., АО «ЭКОС-1»), HNO3 (ч.д.а., АО «Вектон»), K2CO3 (ос.ч., АО «Вектон»), стандарт-титры 0.1 M HCl и 0.1 M AgCl (оба — ОА «УРАЛХИМИНВЕСТ») были использованы без дополнительной очистки. Препарат Цефуроксим Каби® (Labesfal Laboratorios Almiro S.A.) в форме порошка был использован в качестве источника цефуроксима без дополнительной очистки. 4-Винилпиридин очищали перегонкой под вакуумом.
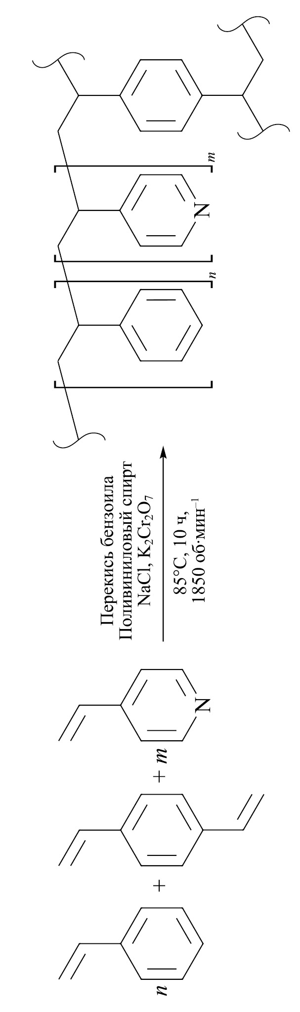
Синтез со- и терполимеров радикальной суспензионной полимеризацией. В трехгорлую цилиндрическую колбу, снабженную механической трехъярусной мешалкой, обратным холодильником и термометром, помещали водную фазу (105 мл), содержащую 1 мас% поливинилового спирта, 3 мас% NaCl и 0.02 мас% K2Cr2O7. Затем добавляли органическую фазу (15 мл), содержащую стирол, 2 мол% дивинилбензола, 4-винилпиридин (5, 12 и 20 мол%) и 0.77 г перекиси бензоила. Полимеризацию вели 10 ч при 85°С и постоянной скорости перемешивания 1850 об·мин–1. Полученные гранулы сополимера отфильтровывали, промывали горячей водой, ацетоном и холодной водой. Гранулы сушили на воздухе, а затем в сушильном шкафу при 70ºС. Выход терполимеров составил 72–83%. Синтез сополимера стирола и дивинилбензола проводили аналогичным образом без добавления 4-винилпиридина в органическую фазу. Содержание азота (мас%) в терполимерах определено с помощью элементного анализа (C, H, N) на анализаторе элементного состава Vario EL III (Elementar Analysensysteme GmbH).
Синтез сшивающего агента — монохлордиметилового эфира проводили по методике [30].
Синтез сверхсшитых полимеров проводили с использованием монохлордиметилового эфира (в качестве сшивающего агента) по методике, описанной в нашей предыдущей работе [31].
Синтез сополимера акриламида с гидрохлоридом 2-аминоэтилметакрилата проводили по методике [32].
Средневесовую молекулярную массу полученного сополимера акриламида с гидрохлоридом 2-аминоэтилметакрилата определяли методом статического рассеяния света в растворе 0.1 М NaCl при 21°С. Раствор полимера фильтровали через фильтры Chromafil PA c диаметром пор 0.45 мкм, а растворитель (0.1 M NaCl) — с диаметром пор 0.2 мкм. Инкременты показателя преломления раствора сополимера измеряли на рефрактометре Refractometer RA-620 (KEM). Светорассеяние изучали на установке Photocor Complex (ООО «Фотокор»), источником света служил диодный лазер Photocor-DL мощностью от 5 до 30 мВт с длиной волны испускаемого излучения λ = 632.8 нм. Для калибровки прибора использовали толуол (RV = 1.38·10–5 см–1). Корреляционную функцию интенсивности рассеянного света получали с помощью коррелятора Photocor-PC2 с 288 каналами и обрабатывали с помощью программного обеспечения DynaLS. Ввиду отсутствия асимметрии светорассеяния в растворе молекулярную массу рассчитывали методом экстраполяции Дебая. Молекулярная масса Mw сополимера составила 138 000.
Состав сополимера акриламида с гидрохлоридом 2-аминоэтилметакрилата определяли по содержанию хлорид-ионов методом титрования 0.01 М AgNO3. Навеску образца перетирали с 20–50-кратным избытком K2CO3 и прокаливали в платиновом тигле при 800°С. Охлажденный расплав растворяли в горячей 0.5 М HNO3, не содержащей хлорид-ионов, и титровали аликвоту полученного раствора. Содержание NH3Cl-групп и соответственно звеньев гидрохлорида 2-аминоэтилметакрилата в сополимере составило 24.5 мол%.
Синтез полимерной соли цефуроксима. Предварительно сополимер акриламида с гидрохлоридом 2-аминоэтилметакрилата переводили в форму основания на ионообменной колонке с анионитом ЭДЭ-10П (ПАО «Уралхимпласт»), переведенным в ОН-форму. Собирали элюат, имеющий щелочную реакцию, определяемую по универсальной индикаторной бумаге (ООО «ЭКРОСХИМ»). Собранную щелочную фракцию замораживали и подвергали лиофильной сушке. Степень замещения NH3Cl-групп определяли потенциометрическим титрованием 0.1 М HCl. Содержание NH3OH-групп в сополимере составило 20.8 мол%.
Для синтеза полимерной соли цефуроксима 100 мг полученного сополимера акриламида с 2-аминоэтилметакрилатом растворяли в 10 мл бидистиллированной воды, полученной с помощью бидистиллятора UD-2016 (Ulab). К раствору добавили 42.9 мг (30 мас%) натриевой соли цефуроксима и перемешивали на магнитной мешалке в течение 4 ч при комнатной температуре, после чего подвергали лиофильной сушке. Полученный лиофилизат использовали для выделения полимерной соли в режиме флэш-хроматографии на сверхсшитом полимерном сорбенте.
Пористая структура сверхсшитых полимеров исследована методом низкотемпературной адсорбции–десорбции азота на приборе Quantachrome; расчет пористых характеристик осуществлен с помощью программного обеспечения NovaWin.
Инфракрасная (ИК) спектроскопия. Гранулы сверхсшитых полимеров были предварительно высушены и измельчены в тонкий порошок. ИК-спектры записывали в таблетках с KBr на Фурье-спектрометре IRAffinity-1S (Shimadzu) в средней ИК-области (4000–400 см–1) с разрешением 2 см–1.
Равновесная адсорбция цефуроксима в статических условиях. Адсорбцию цефуроксима в статических условиях осуществляли путем перемешивания навески сверхсшитого полимера массой 8 мг, предварительно смоченного 20 мкл метанола, с аликвотой испытуемого водного раствора объемом 8 мл на универсальном перемешивающем устройстве вортекс MSV-3500 (Biosan) в течение 3 ч при температуре 25°С. Исходная концентрация цефуроксима в растворе составляла 100, 200, 300, 400 и 500 мг·л–1. По окончании процесса адсорбции определяли равновесную концентрацию цефуроксима в растворе спектрофотометрическим методом на спектрофотометре СФ-2000 в кварцевых кюветах с толщиной поглощающего слоя 10 мм при длине волны 274 нм по предварительно построенной концентрационной калибровочной зависимости. Равновесную адсорбционную емкость (qe) определяли по уравнению
где и — начальная и равновесная концентрации цефуроксима в растворе (), V — объем раствора цефуроксима (л), m — масса навески сверхсшитого полимера (г).
Полученные экспериментальные данные обрабатывали с помощью модели адсорбции Ленгмюра:
где — максимальная адсорбционная емкость (), — равновесная адсорбционная емкость (), — равновесная концентрация цефуроксима в растворе (), — константа адсорбции Ленгмюра ().
Адсорбция цефуроксима в динамических условиях. В полипропиленовый картридж объемом 5 мл и диаметром 8 мм помещали навеску сверхсшитого полимерного сорбента m 0.200 г. Картридж последовательно кондиционировали 10 мл этанола и 20 мл бидистиллированной воды. Далее с помощью перистальтического насоса пропускали раствор цефуроксима (c0 = 0.3 мг·мл–1) с объемной скоростью фильтрации W 0.5 мл·мин–1. На выходе из картриджа отбирали фракции объемом 2 мл и измеряли их оптические плотности при длине волны 274 нм на спектрофотометре СФ-2000. Строили выходные кривые удерживания в виде зависимостей c/c0 от V, где c0 и c — начальная концентрация цефуроксима и его концентрация на выходе из картриджа; V — объем раствора цефуроксима, пропущенный через картридж (мл). По полученным кривым определяли объем «до проскока» (V1%). За величину V1% принимали объем раствора V (мл), пропущенного через картридж, до порции фильтрата с концентрацией цефуроксима, равной 1% от исходной. Полученные данные использовали для расчета динамической адсорбционной емкости (ДАЕ) до проскока:
Десорбцию цефуроксима (регенерацию картриджа) осуществляли этанолом. Десорбцию начинали в тот момент, когда концентрация цефуроксима на выходе из картриджа достигала значения c0.
Выделение полимерной соли цефуроксима на сверхсшитом полимерном сорбенте в режиме флэш-хроматографии. 12 мг лиофилизата, содержащего полимерную соль цефуроксима, растворяли в 10 мл бидистиллированной воды, полученный раствор переносили в полипропиленовый резервуар объемом 20 мл, подключенный к верхней части полипропиленового картриджа со сверхсшитым полимерным сорбентом (m 0.200 г). Для протекания раствора через картридж капилляр перистальтического насоса был герметично подключен к верхней части резервуара через резиновую пробку, а давление в системе генерировалось посредством подаваемого воздуха; скорость потока была постоянной и составляла 0.5 мл·мин–1. На выходе из картриджа собирали раствор полимерной соли. Чистоту полимерной соли (отсутствие свободного цефуроксима) подтверждали с помощью ВЭЖХ-анализа (элюент 0.2 М водный раствор NaCl) на жидкостном хроматографе Smartline (Knauer) с УФ-спектрофотометрическим детектором при длине волны 210 и 280 нм на колонке для эксклюзионной хроматографии PSS Suprema, 10 мкм, 8 × 300 мм (Polymer Standards Service).
Обсуждение результатов
В качестве исходной матрицы методом радикальной суспензионной полимеризации были синтезированы терполимеры стирола и дивинилбензола с различным содержанием 4-винилпиридина по схеме (I).
Были подобраны условия проведения суспензинной полимеризации (сконструированы реактор цилиндрической формы и трехъярусная мешалка, оптимизирована скорость перемешивания, определена концентрация стабилизатора, выбрано соотношение водной и органической фаз), при которых получены сферические частицы, имеющие размеры 40–80 км, что удовлетворяет условиям проведения миниатюризированной флэш-хроматографической очистки. Методом элементного анализа было определено содержание азота в терполимерах (табл. 1), что свидетельствует о введении пиридиновых звеньев в их структуру на стадии полимеризации.
Таблица 1. Состав синтезированных полимеров
Полимер | Стирол, мол% | Дивинилбензол, мол% | 4-Винилпиридин, мол% | N, мас% |
Сополимер стирола, содержащий 2 мол% дивинилбензола | 98 | 2 | 0 | 0 |
Терполимер стирола, содержащий 2 мол% дивинилбензола и: | ||||
5 мол% 4-винилпиридина | 93 | 2 | 5 | 0.628 |
12 мол% 4-винилпиридина | 86 | 2 | 12 | 1.289 |
20 мол% 4-винилпиридина | 78 | 2 | 20 | 2.214 |
Полученные полимерные гранулы выдерживали для набухания в дихлорэтане и сшивали монохлордиметиловым эфиром в присутствии безводного FeCl3 [схема (II)].
В реакцию вводили 1 моль монохлордиметилового эфира на 1 моль звеньев стирола. При данном количестве сшивающего агента каждое фенильное кольцо связывается с двумя соседними, образуя сильносшитую полимерную сетку [18]. Таким образом был синтезирован сверхсшитый сополимер стирола с 2 мол% дивинилбензола [CCП(СТ-2ДВБ)], а также сверхсшитые терполимеры стирола, содержащие 2 мол% дивинилбензола и 5 [CCП(СТ-2ДВБ-5ВП)], 12 [CCП(СТ-2ДВБ-12ВП)] и 20 мол% [CCП(СТ-2ДВБ-20ВП)] 4-винилпиридина соответственно.
С помощью метода низкотемпературной адсорбции–десорбции азота была исследована пористая структура полученных сверхсшитых полимеров. Как сверхсшитые терполимеры, так и полученный сополимер являются высокопористыми материалами, имеющими высокую площадь удельной внутренней поверхности (табл. 2). При увеличении доли функционального мономера в исходном полимере наблюдается снижение площади удельной внутренней поверхности и объема пор сверхсшитых образцов, связанное с уменьшением доступных для связывания фрагментов стирола, и, как следствие, уменьшение общей пористости. Также наблюдается увеличение среднего размера пор, что связано с меньшей однородностью полимера, содержащего большее количество 4-винилпиридина.
Таблица 2. Параметры пористой структуры синтезированных сверхсшитых полимеров по данным низкотемпературной адсорбции–десорбции азота
Полимер | Площадь удельной внутренней поверхности, м2·г–1 | Объем пор, мл·г–1 | Средний размер пор, нм |
Сверхсшитый сополимер стирола, содержащий 2 мол% дивинилбензола | 924 | 0.59 | 1.7 |
Сверхсшитый терполимер стирола, содержащий 2 мол% дивинилбензола и: 5 мол% 4-винилпиридина 12 мол% 4-винилпиридина 20 мол% 4-винилпиридина | 725 498 146 | 0.47 0.38 0.14 | 1.8 2.8 4.5 |
Структура синтезированных полимеров была подтверждена методом ИК-спектроскопии. В ИК-спектрах сверхсшитых полимеров (рис. 1) присутствует полоса поглощения при 2855 см–1, которая соответствует валентным симметричным колебаниям, а полоса 2920 см–1 — валентным асимметричным колебаниям алифатических С—Н-связей. Полоса поглощения при 3025 см–1 относится к валентным колебаниям С—Н-связей фенилов. Интенсивная полоса при 815 см–1 соответствует внеплоскостным деформационным колебаниям С—Н-связей 1,4-дизамещенных (или 1,2,4-, 1,3,5-тризамещенных) бензольных колец [33]. Интенсивная полоса в области 1702 см–1 соответствует деформационным колебаниям полизамещенных ароматических колец и может служить доказательством сверхсшитой структуры полученных полимеров [33]. О наличии в структуре сверхсшитых полимеров звеньев 4-винилпиридина свидетельствуют полосы поглощения при 1636 и 1414 см–1, которые соответствуют колебаниям С—N-связей пиридиновых звеньев. Их интенсивность увеличивается с ростом содержания 4-винилпиридина в полимере. Также с увеличением содержания пиридиновых звеньев уменьшается интенсивность полосы при 1702 см–1, так как в структуре полимеров становится меньше доступных для связывания фрагментов стирола.
Рис. 1. ИК-спектры сверхсшитого сополимера стирола и дивинилбензола (1) и сверхсшитых терполимеров, содержащих 5 (2), 12 (3) и 20 мол% (4) 4-винилпиридина.
Поскольку в работе рассматривается возможность применения пиридинсодержащих сверхсшитых полимерных сорбентов для выделения соли поли(акриламид-со-2-аминоэтилметакрилат)а с цефуроксимом, было исследовано влияние химической и пористой структуры сорбентов на их адсорбционную способность по отношению к цефуроксиму в статических условиях. Для сравнения адсорбционной емкости синтезированных сорбентов были построены изотермы равновесной адсорбции цефуроксима (рис. 2) и рассчитаны значения максимальной адсорбционной емкости (табл. 3) с помощью модели Ленгмюра.
Рис. 2. Изотермы равновесной адсорбции цефуроксима из водного раствора на сверхсшитом сополимере стирола и дивинилбензола (1) и сверхсшитых терполимерах, содержащих 20 (2), 5 (3) и 12 мол% (4) 4-винилпиридина; c0 = 100–500 мг·л–1, V = 8 мл, m = 8 мг.
Таблица 3. Параметры изотерм равновесной адсорбции цефуроксима на сверхсшитых полимерных сорбентах, рассчитанные с помощью модели Ленгмюра
Полимер | Максимальная адсорбционная емкость, мг·г–1 | Константа адсорбции Ленгмюра, л·мг–1 | R2 |
Сверхсшитый сополимер стирола с 2 мол% дивинилбензола | 105 | 0.0087 | 0.998 |
Сверхсшитый терполимер стирола с 2 мол% дивинилбензола и: 5 мол% 4-винилпиридина 12 мол% 4-винилпиридина 20 мол% 4-винилпиридина | 163 165 107 | 0.0250 0.0350 0.0059 | 0.998 0.997 0.998 |
Наличие пиридиновых звеньев в составе сверхсшитого полимера обусловливает более эффективную адсорбцию цефуроксима, так как помимо гидрофобных могут реализовываться кислотно-основные и электростатические взаимодействия с карбоксильными группами молекул антибиотика. Максимальная адсорбционная емкость уменьшается в ряду ССП(СТ-2ДВБ-12ВП) > ССП(СТ-2ДВБ-5ВП) > > ССП(СТ-2ДВБ-20ВП) > ССП(СТ-2ДВБ), а высокие значения коэффициентов детерминации (R2 ≥ 0.997) свидетельствуют о том, что модель Ленгмюра хорошо описывает экспериментальные данные. Таким образом, наибольшие значения максимальной адсорбционной емкости получены при использовании образцов ССП(СТ-2ДВБ-5ВП) и ССП(СТ-2ДВБ-12ВП). Близкие значения адсорбционной емкости, полученные для этих образцов, могут быть связаны с тем, что меньшая пористость сорбента компенсируется наличием большего количества сорбционных центров (пиридиновых звеньев). Образец ССП(СТ-2ДВБ-20ВП) менее эффективен для адсорбции цефуроксима, так как часть пиридиновых звеньев может быть недоступна из-за его низкой пористости. Адсорбция цефуроксима на сорбенте ССП(СТ-2ДВБ) наименее эффективна, поскольку он не содержит пиридиновых звеньев, в связи с чем молекулы антибиотика могут удерживаться исключительно за счет гидрофобных взаимодействий.
Также была изучена адсорбция цефуроксима в динамических условиях с целью определения наиболее перспективного образца для использования в выделении полимерной соли. Были построены выходные кривые удерживания (рис. 3), на основании которых установлены объемы «до проскока» на уровне 1%, соответствующие практически полному отсутствию цефуроксима в фильтрате, а также рассчитаны значения динамической адсорбционной емкости.
Рис. 3. Выходные кривые удерживания цефуроксима из водного раствора на сверхсшитом сополимере (1) и сверхсшитых терполимерах, содержащих 20 (2), 12 (3) и 5 мол% (4) 4-винилпиридина; W = 0.5 мл·мин–1, m = 200 мг, с0 = 300 мг·л–1.
Сверхсшитые сорбенты, содержащие пиридиновые фрагменты, демонстрируют более высокие значения объема «до проскока» и динамической адсорбционной емкости (табл. 4) по сравнению с немодифицированным сорбентом. Наблюдаемая тенденция к уменьшению этих значений при увеличении содержания 4-винилпиридина в сверхсшитых сорбентах обусловлена снижением площади удельной внутренней поверхности в том же ряду, что согласуется с данными, полученными в ходе статических экспериментов. Наибольшие значения этих параметров были получены при использовании сверхсшитого терполимера ССП(СТ-2ДВБ-5ВП). Отметим, что эффективную регенерацию картриджа со сверхсшитым сорбентом можно осуществить его промывкой 15 мл этанола (при массе сорбента в картридже 0.200 г).
Таблица 4. Значения параметров динамической адсорбции цефуроксима на сверхсшитых полимерных сорбентах
Полимер | V1%, мл | ДАЕ, мг·г–1 |
Сверхсшитый сополимер стирола, содержащий 2 мол% дивинилбензола | 8 | 12 |
Сверхсшитый терполимер стирола, содержащий 2 мол% дивинилбензола и: 5 мол% 4-винилпиридина 12 мол% 4-винилпиридина 20 мол% 4-винилпиридина | 24 20 16 | 36 30 24 |
Таким образом, сверхсшитый терполимер ССП(СТ-2ДВБ-5ВП) был выбран в качестве сорбента для разделения полимерной соли цефуроксима и свободного цефуроксима в режиме микропрепаративной флэш-хроматографии. Исходный полимер-носитель и его соль на сорбенте не удерживаются и элюируются в свободном объеме картриджа, что было показано в холостых опытах. В то же время наблюдается эффективная адсорбция гидрофильных молекул цефуроксима в микропористой поверхности сорбента, содержащей пиридиновые фрагменты, которые обладают слабыми анионообменными свойствами.
Контроль за эффективностью выделения полимерной соли цефуроксима проводили методом ВЭЖХ в эксклюзионном режиме (рис. 4). На хроматограммах полимерной соли до разделения (рис. 4, 3) присутствуют пики сополимера, полимерной соли и свободного цефуроксима. Увеличение времени удерживания полимерной соли по сравнению с исходным сополимером связано с компактизацией макромолекул за счет реализации гидрофобных взаимодействий между цепями полимера, содержащими антибиотик. После флэш-хроматографического разделения полимерная соль содержит следовые количества цефуроксима (рис. 4, 4). Наличие пика исходного полимера в реакционной смеси и очищенной полимерной соли объясняется неполным замещением функциональных групп полимера, к части которых доступ молекул антибиотика стерически затруднен.
Содержание связанного цефуроксима в полимерной соли после очистки, определенное спектрофотометрически, составило 10 мас%. Таким образом, выбранный сорбент и условия выделения полимерной соли антибиотика позволяют получить препарат достаточной чистоты и с достаточным содержанием действующего вещества, удовлетворяющий критериям проведения биологических испытаний.
Рис. 4. Хроматограммы цефуроксима (1), поли(акриламид-со-2-аминоэтилметакрилат)а (2), полимерной соли цефуроксима на основе поли(акриламид-со-2-аминоэтилметакрилат)а до (3) и после (4) разделения на сверхсшитом полимерном сорбенте, содержащем 5 мол% 4-винилипиридина. Поглощение на длинах волн 210 (черная линия) и 280 нм (красная линия). Колонка PSS Suprema, 10 мкм, 8 × 300 мм; элюент 0.2 М водный раствор NaCl; скорость потока 1 мл·мин–1.
Выводы
Введение 4-винилпиридина в качестве функционального мономера в матрицу сверхсшитых полимеров является эффективным подходом к увеличению адсорбции полярных органических молекул (на примере адсорбции цефуроксима). Для полной реализации адсорбционных свойств сверхсшитых полимерных сорбентов необходим баланс между количеством вводимого функционального мономера и высокой пористостью сорбента. Полученный сорбент на основе сверхсшитого терполимера, содержащего 5 мол% 4-винилпиридина, продемонстрировал высокую эффективность при разделении полимерной соли цефуроксима и свободного цефуроксима в режиме микропрепаративной флэш-хроматографии. Наличие адсорбционных центров, образованных пиридиновыми звеньями, обусловливает усиленную адсорбцию малых полярных молекул, в то время как удерживание крупных молекул полимера невозможно по стерическим причинам ввиду развитой микропористой структуры сверхсшитых полимеров. Таким образом, создание сверхсшитых полимеров определенной химической структуры за счет введения функциональных мономеров на стадии полимеризации является эффективной стратегией по разработке сорбентов для экспрессного выделения полимерных форм различных лекарственных препаратов.
Финансирование работы
Работа проведена в рамках выполнения государственного задания НИЦ «Курчатовский институт» (тема № 124013000730-3 «Полимеры для биомедицины»).
Конфликт интересов
Авторы заявляют об отсутствии конфликта интересов, требующего раскрытия в данной статье.
Информация о вкладе авторов
А. С. Кириллов — выполнение экспериментальной части работы по синтезу сверхсшитых полимерных сорбентов и определению их адсорбционных свойств; А. А. Вагин — выполнение экспериментальной части работы по синтезу полимера-носителя и его соли с цефуроксимом; М. С. Борисенко — исследование состава терполимеров с помощью элементного анализа и определение содержания цефуроксима в полимерной соли методом УФ-спектроскопии; Н. Н. Шевченко — исследование пористой структуры сверхсшитых полимеров методом низкотемпературной адсорбции–десорбции азота; В. Д. Красиков — разработка и валидация хроматографического анализа сополимера и его соли с цефуроксимом; Н. И. Горшков — обоснование идеи проведения исследований по синтезу и применению сверхсшитых полимерных сорбентов, исследование структуры сверхсшитых полимеров методом ИК-спектроскопии.
About the authors
Антон Сергеевич Кириллов
Институт высокомолекулярных соединений РАН
Author for correspondence.
Email: a.kirillov2622@gmail.com
ORCID iD: 0000-0003-1350-6775
м.н.с.
Russian Federation, 199004, г. Санкт-Петербург, Большой пр. В. О., д. 31Артем Андреевич Вагин
Институт высокомолекулярных соединений РАН
Email: a.kirillov2622@gmail.com
ORCID iD: 0000-0002-3891-3601
м.н.с.
Russian Federation, 199004, г. Санкт-Петербург, Большой пр. В. О., д. 31Максим Сергеевич Борисенко
Институт высокомолекулярных соединений РАН
Email: a.kirillov2622@gmail.com
ORCID iD: 0000-0001-9335-5932
к.х.н., н.с.
Russian Federation, 199004, г. Санкт-Петербург, Большой пр. В. О., д. 31Наталья Николаевна Шевченко
Институт высокомолекулярных соединений РАН
Email: a.kirillov2622@gmail.com
ORCID iD: 0000-0003-2471-297X
к.х.н., с.н.с.
Russian Federation, 199004, г. Санкт-Петербург, Большой пр. В. О., д. 31Валерий Дмитриевич Красиков
Институт высокомолекулярных соединений РАН
Email: a.kirillov2622@gmail.com
ORCID iD: 0000-0002-2137-7144
д.х.н., г.н.с.
Russian Federation, 199004, г. Санкт-Петербург, Большой пр. В. О., д. 31Николай Иванович Горшков
Институт высокомолекулярных соединений РАН
Email: a.kirillov2622@gmail.com
ORCID iD: 0000-0003-1104-8264
к.х.н., с.н.с.
Russian Federation, 199004, г. Санкт-Петербург, Большой пр. В. О., д. 31References
- Qi F., Wu J., Li H., Ma G. Recent research and development of PLGA/PLA microspheres/nanoparticles: A review in scientific and industrial aspects // Front. Chem. Sci. 2019. V. 13. P. 14–27. http://doi.org/10.1007/s11705-018-1729-4
- Kakkar A., Traverso G., Farokhzad O. C., Weissleder R., Langer R. Evolution of macromolecular complexity in drug delivery systems // Nat. Rev. Chem. 2017. V. 1. N 8. P. 0063. http://doi.org/10.1038/s41570-017-0063
- Bozzuto G., Molinari A. Liposomes as nanomedical devices // Int. J. Nanomedicine. 2015. V. 10. P. 975–999. http://doi.org/10.2147/IJN.S68861
- Pawar V., Kansal S., Garg G., Awasthi R., Singodia D., Kulkarni G. Gastroretentive dosage forms: A review with special emphasis on floating drug delivery systems // Drug Deliv. 2011. V. 18. P. 97–110. http://doi.org/10.3109/10717544.2010.520354
- Mehnert W., Mäder K. Solid lipid nanoparticles: Production, characterization and applications // Adv. Drug Deliv. Rev. 2012. T. 64. P. 83–101. https://doi.org/10.1016/s0169-409x(01)00105-3
- Kopeček J., Yang J. Polymer nanomedicines // Adv. Drug Deliv. Rev. 2020. V. 156. P. 40–64. https://doi.org/10.1016/j.addr.2020.07.020
- Girase M. L., Patil P. G., Ige P. P. Polymer-drug conjugates as nanomedicine: A review // Int. J. Polym. Mater. 2020. V. 69. N 15. P. 990–1014. https://doi.org/10.1080/00914037.2019.1655745
- Ekladious I., Colson Y., Grinstaff M. Polymer–drug conjugate therapeutics: Advances, insights and prospects // Nat. Rev. Drug Discov. 2018. V. 18. N 4. P. 273–294. https://doi.org/10.1038/s41573-018-0005-0
- Neusaenger A. L., Yao X., Yu J., Kim S., Hui H.-W., Huang L., Que C., Yu L. Amorphous drug–polymer salts: Maximizing proton transfer to enhance stability and release // Mol. Pharm. 2023. V. 20. N 2. P. 1347–1356. https://doi.org/10.1021/acs.molpharmaceut.2c00942
- Mesallati H., Umerska A., Paluch K., Tajber L. Amorphous polymeric drug salts as ionic solid dispersion forms of ciprofloxacin // Mol. Pharm. 2017. V. 14. N 7. P. 2209–2223. https://doi.org/10.1021/acs.molpharmaceut.7b00039
- Niesyto K., Neugebauer D. Linear copolymers based on choline ionic liquid carrying anti-tuberculosis drugs: Influence of anion type on physicochemical properties and drug release // Int. J. Mol. Sci. 2020. V. 22. N 1. P. 284. https://doi.org/10.3390/ijms22010284
- Solovskii M. V., Borisenko M. S., Smirnova M. Y., Eropkin M. Y., Eropkina E. M., Tarabukina E. B. Polymer complexes of rifampicin antibiotic based on poly(2-acrylamido-2-methylpropanesulfonic acid) // Pharm. Chem. J. 2022. V. 56. N 8. P. 1041–1044. https://doi.org/10.1007/s11094-022-02749-1.
- Tarabukina E. B., Solovskij M. V., Pautov V. D., Amirova A. I., Zakharova N. V., Smirnova M. Yu., Ananʹeva T. D., Imanbaev R. T., Eropkin M. Yu., Eropkina E. M. Physicochemical, molecular, and biological properties of complexes formed between aminoglycoside antibiotics and some anionic copolymers of acrylic series: Part II // J. Bioact. Compat. Polym. 2015. V. 30. N 6. P. 571–583. https://doi.org/10.1177/0883911515592258
- Solovskii M. V., Borisenko M. S., Vlasova E. N., Tarabukina E. B., Zakharova N. V., Prazdnikova T. A. Polymeric complexes of ofloxacin and their activity against tuberculosis mycobacteria // Pharm. Chem. J. 2017. V. 51. P. 250–253. https://doi.org/10.1007/s11094-017-1592-5.
- Lin X., Kück U. Cephalosporins as key lead generation beta-lactam antibiotics // Appl. Microbiol. Biotechnol. 2022. V. 106. N 24. P. 8007–8020. https://doi.org/10.1007/s00253-022-12272-8
- Kirillov A. S., Dubrov E. N., Gorshkov N. I., Krasikov V. D. Microporous hypercrosslinked polystyrene sorbents in sorption purification of water-soluble polymers from low-molecular-weight compounds // Russ. J. Appl. Chem. 2022. V. 95. N 8. P. 1236–1242. https://doi.org/10.1134/S1070427222080213.
- Davankov V. A., Tsyurupa M. P. Structure and properties of hypercrosslinked polystyrene – the first representative of a new class of polymer networks // React. Polym. 1990. V. 13. N 1. P. 27–42. https://doi.org/10.1016/0923-1137(90)90038-6
- Davankov V. A., Tsyurupa M. P. Hypercrosslinked polymeric networks and adsorbing materials: Synthesis, properties, structure, and applications. New York: Elsevier, 2011. P. 167–184.
- Fontanals N., Marcé R. M., Borrull F., Cormack P. A. G. Hypercrosslinked materials: Preparation, characterisation and applications // Polym. Chem. 2015. V. 6. N 41. P. 7231–7244. https://doi.org/10.1039/C5PY00771B
- Bratkowska D., Marcé R. M., Cormack P. A. G., Sherrington D. C., Borrull F., Fontanals N. Synthesis and application of hypercrosslinked polymers with weak cation-exchange character for the selective extraction of basic pharmaceuticals from complex environmental water samples // J. Chromatogr. A. 2010. V. 1217. N 10. P. 1575–1582. https://doi.org/10.1016/j.chroma.2010.01.037
- Shao L., Huang J. Controllable synthesis of N-vinylimidazole-modified hyper-cross-linked resins and their efficient adsorption of p-nitrophenol and o-nitrophenol // J. Colloid Interface Sci. 2017. V. 507. P. 42–50. https://doi.org/10.1016/j.jcis.2017.07.112
- You X., Wang Y., Han L., Liu Q., Fei Z., Chen X., Zhang Z., Tang J., Cui M., Qiao X. Reinforced Rhodamine B adsorption on the hyper-cross-linked resin co-modified by pyridine and carboxyl groups // Micropor. Mesopor. Mater. 2023. V. 349. P. 112423. https://doi.org/10.1016/j.micromeso.2022.112423
- You X., Han L., Liu Q. Adsorption of Rhodamine B from aqueous solutions using polarity-tunable hyper-cross-linked resins // New J. Chem. 2023. V. 47. N 32. P. 15250–15260. https://doi.org/10.1039/D3NJ02711B
- Liu Y., Peng X. Multi-functional hypercrosslinked polystyrene as high-performance adsorbents for artificial liver blood purification // Front. Chem. 2021. V. 9. P. 789814. https://doi.org/10.3389/fchem.2021.789814
- Wang X., Zhang T., Wang X., Huang J. 4-Vinylpyridine-modified post-cross-linked resins and their adsorption of phenol and Rhodamine B // J. Colloid Interface Sci. 2018. V. 531. P. 394–403. https://doi.org/10.1016/j.jcis.2018.07.071
- Fontanals N., Puig P., Galia M., Marce R. M., Borrull F. New hydrophilic polymeric resin based on 4-vinylpyridine-divinylbenzene for solid-phase extraction of polar compounds from water // J. Chromatogr. A. 2004. V. 1035. N 2. P. 281–284. https://doi.org/10.1016/j.chroma.2004.02.049
- Fontanals N., Marcé R. M., Galià M., Borrull F. Preparation and characterization of highly polar polymeric sorbents from styrene–divinylbenzene and vinylpyridine–divinylbenzene for the solid-phase extraction of polar organic pollutants // J. Polym. Sci. A: Polym. Chem. 2003. V. 41. N 13. P. 1927–1933. https://doi.org/10.1002/pola.10743
- Bratkowska D., Fontanals N., Borrull F., Cormack P. A. G., Sherrington D. C., Marcé R. M. Hydrophilic hypercrosslinked polymeric sorbents for the solid-phase extraction of polar contaminants from water // J. Chromatogr. A. 2010. V. 1217. N 19. P. 3238–3243. https://doi.org/10.1016/j.chroma.2009.08.091
- Shao L., Li Y., Zhang T., Liu M., Huang J. Controllable synthesis of polar modified hyper-cross-linked resins and their adsorption of 2-naphthol and 4-hydroxybenzoic acid from aqueous solution // Ind. Eng. Chem. Res. 2017. V. 56. N 11. P. 2984–2992. https://doi.org/10.1021/acs.iecr.6b04953
- Berliner M. A., Belecki K. Simple, rapid procedure for the synthesis of chloromethyl methyl ether and other chloro alkyl ethers // J. Org. Chem. 2005. V. 70. N 23. P. 9618–9621. https://doi.org/10.1021/jo051344g
- Kirillov A. S., Gorshkov N. I., Shevchenko N. N., Saprykina N. N., Krasikov V. D. Tuning the porosity of hypercrosslinked styrene-divinylbenzene copolymers for efficient adsorption of rifampicin from aqueous media // J. Polym. Res. 2023. V. 30. N 11. P. 405. https://doi.org/10.1007/s10965-023-03802-7
- Соловский М. В., Смирнова М. Ю., Тарабукина Е. Б., Захарова Н. В. Синтез сополимеров акриламида с гидрохлоридом 2-аминоэтилметарилата — носителей биологически активных веществ // ЖОХ. 2012. Т. 82. № 10. С. 1650‒1655.
- Tsyurupa M. P., Blinnikova Z. K., Davidovich Y. A., Lyubimov S. E., Naumkin A. V., Davankov V. A. On the nature of «functional groups» in non-functionalized hypercrosslinked polystyrenes // React. Funct. Polym. 2012. V. 72. N 12. P. 973–982. https://doi.org/10.1016/j.reactfunctpolym.2011.03.002
Supplementary files








