Оптимизация условий получения феррита никеля для создания магнитных композитных фотокатализаторов
- Авторы: Немкова Д.И.1, Сайкова С.В.1,2, Кроликов А.Е.1, Пикурова Е.В.1,2, Самойло А.С.1
-
Учреждения:
- Сибирский федеральный университет
- Институт химии и химической технологии СО РАН – обособленное подразделение ФИЦ КНЦ СО РАН
- Выпуск: Том 69, № 2 (2024)
- Страницы: 258-267
- Раздел: НЕОРГАНИЧЕСКИЕ МАТЕРИАЛЫ И НАНОМАТЕРИАЛЫ
- URL: https://bakhtiniada.ru/0044-457X/article/view/260715
- DOI: https://doi.org/10.31857/S0044457X24020135
- EDN: https://elibrary.ru/ZHBGME
- ID: 260715
Цитировать
Полный текст
Аннотация
Ферриты цветных металлов являются многообещающими магнитными катализаторами, которые после использования легко отделить от реакционной смеси с помощью магнитного поля. Однако характерное для них быстрое время электронно-дырочной релаксации снижает их активность в фотореакциях. Данная проблема решается получением гибридных наноструктур на основе ферритов, например композитов с оксидом цинка. Каталитическая активность таких структур в значительной степени зависит от метода их синтеза. В данной работе для получения наиболее стехиометричного и однородного по составу и структуре прекурсора феррита никеля использовано щелочное соосаждение ионов Fe2+ и Ni2+, имеющих близкие значения ПР гидроксидов. Методом планирования и обработки результатов эксперимента исследовано влияние реакционных параметров на содержание фазы феррита никеля и размер полученных частиц. В найденных оптимальных условиях синтезированы сферические наночастицы диаметром 15.9 ± 1.1 нм. На основе полученного материала и оксида цинка сформированы магнитные композиты различного количественного состава. Фотокаталитическая активность гибридных структур показана на примере фотодеградации красителя кристаллического фиолетового.
Ключевые слова
Полный текст
ВВЕДЕНИЕ
Ферриты представляют собой соединения оксида железа(III) с оксидами других металлов. Существуют различные типы структур ферритов, наиболее важными из которых являются феррошпинели, феррогранаты, гексаферриты и ортоферриты [1]. Состав феррошпинелей может быть выражен формулой MFe2O4, где M = Cu2+, Ni2+, Fe2+, Co2+, Mg2+, Mn2+ и др.
Феррошпинели имеют хорошие магнитные свойства, характеризуются значительной термической и химической стабильностью, а также высокой твердостью, что делает их отличными кандидатами для применения во многих областях науки и техники, таких как радиоэлектроника, медицина, электричество и катализ. Различают нормальные (прямые), обращенные (обратные), а также смешанные шпинели. В элементарной ячейке, которая содержит восемь формульных единиц MFe2O4, в случае нормальной шпинели двухзарядные катионы окружены четырьмя ионами кислорода в тетраэдрическом расположении, а трехзарядные катионы находятся в окружении шести ионов кислорода по вершинам октаэдра. В обращенной шпинели восемь тетраэдрических мест, напротив, заняты трехзарядными ионами, а 16 октаэдрических – статистически распределенными двух- и трехзарядными ионами. Феррит никеля NiFe2O4 представляет собой черные или коричневые кристаллы с кубической структурой обращенной шпинели [2, 3].
Фотокатализ является одним из важнейших направлений в практическом приложении современной науки. Фотокатализаторы служат альтернативой общепринятым подходам очистки сточных вод от органических загрязнителей и очень эффективны благодаря простоте аппаратного оформления и экономичности. При использовании реакции фотодеградации органические вещества разлагаются в мягких условиях с формированием безвредных продуктов (СО2 и Н2О). Кроме того, фотокатализаторы позволяют использовать один из самых доступных источников энергии – солнечный свет. В настоящее время безусловными лидерами в этой области являются фотокатализаторы на основе диоксида титана и оксида цинка из-за их химической стабильности, подходящей ширины запрещенной зоны и достаточного времени жизни электронно-дырочных пар. Однако существует проблема их отделения от обрабатываемой жидкости, особенно если они используются с целью увеличения площади поверхности реакции в наноразмерном или высокодисперсном состоянии. Таким образом, поиск недорогих и высокоэффективных фотокатализаторов, которые легко отделяются от реакционной смеси и пригодны для повторного использования, все еще остается важной проблемой.
В недавних исследованиях [4–7] показано, что ферриты цветных металлов, такие как CuFe2O4, ZnFe2O4, NiFe2O4, CоFe2O4 и др., являются многообещающими магнитными катализаторами, которые после использования легко отделить от очищенной воды с помощью магнитного поля. К сожалению, несмотря на подходящую для фотокаталитического применения ширину запрещенной зоны, ферритам свойственно быстрое время электронно-дырочной релаксации, что снижает их активность в фотореакциях [8]. Однако данная проблема решается получением гибридных наноструктур на основе ферритов, например композитов с оксидами титана или цинка.
На данный момент известно множество способов получения наночастиц феррита никеля, среди них выделяют: твердофазный [9, 10], золь-гель [11–15], левитационно-струйный [16, 17], ультразвуковой [18] методы, синтез в микроэмульсиях [19–21], метод самовоспламенения [22, 23], сольвотермальный метод [24–26], метод щелочного соосаждения [27–31], анионообменное осаждение [32].
Щелочное соосаждение является одним из наиболее простых и легко масштабируемых вариантов получения наночастиц феррита никеля, однако для образования монофазного продукта необходимо, чтобы осаждение обоих катионов (никеля и железа) происходило с сопоставимой скоростью и глубиной. Так можно предотвратить образование неоднородностей, появляющихся за счет быстрого и более полного осаждения одного компонента и более длительного и неполного осаждения другого. В случае часто применяемого совместного щелочного или аммиачного осаждения катионов железа(III) и никеля(II) возможно нарушение стехиометрии осадка вследствие существенно различающихся значений ПР их гидроксидов, что приводит к более полному и быстрому осаждению Fe3+ (ПР = = 6.3 × 10–38) по сравнению с Ni2+ (ПР = 2.0 × 10–15) [33], а также за счет склонности катионов Ni2+ к образованию устойчивых аммиачных комплексов [Ni(NH3)6]2+ (pК = 8.01).
В данной работе для решения этой проблемы использовали соль железа(II), гидроксид которого имеет более близкое к никелю значение произведения растворимости (ПР = 7.1 × 10–16). В дальнейшем образовавшийся гидроксид железа(II) окисляли до железа(III) с помощью кислорода воздуха или пероксида водорода.
Цель настоящей работы – оптимизация условий синтеза наночастиц феррита никеля путем щелочного соосаждения ионов Fe2+, Ni2+ и получение на их основе композитов NiFe2O4/ZnO для фотокаталитического разложения красителя кристаллического фиолетового.
ЭКСПЕРИМЕНТАЛЬНАЯ ЧАСТЬ
В работе использовали следующие реактивы: NaOH (ч. д. а., Химреактивснаб), 35% H2O2 (х. ч., ЛенРеактив), ZnO (х. ч., Химснаб-СПБ), краситель кристаллический фиолетовый C25N3H30Cl (ч. д. а., ЛенРеактив), NiSO4 ∙ 7H2O (х. ч., Химреактивснаб), FeSO4 ∙ 7H2O (х. ч., Химреактивснаб).
Для исследования фотокаталитической активности полученных в работе композитов нами был выбран краситель кристаллический фиолетовый (КФ) — основный трифенилметановый краситель с химической формулой C25H30N3Cl (рис. 1а). Кристаллический фиолетовый широко используется в бактериологии, аналитической химии, а также в производстве для окрашивания шерсти, шелка, хлопчатобумажных изделий, пшеничной соломы, бумаги, кожи, перьев, что может приводить к загрязнению используемым красителем сточных вод [34–36]. КФ имеет широкий максимум поглощения в интервале длин волн 470–640 нм (λmax = 590 нм), оптический спектр поглощения его водного раствора (С = 2.5 × 10–5 моль/л) приведен на рис. 1б.
Рис. 1. Структурная формула (а) и электронный спектр поглощения (б) кристаллического фиолетового.
Наночастицы феррита никеля получали методом щелочного соосаждения из солей железа(II) и никеля(II). К смеси растворов сульфата никеля (10 мл, C = 0.4–0.8 моль/л) и железа(II) (20 мл, C = 0.4–0.8 моль/л) по каплям в течение 5–20 мин добавляли раствор NaOH (C = 1–4 моль/л). Объем щелочи (л) рассчитывали по формуле:
где r — мольное отношение реагентов;
Синтез проводили на магнитной мешалке в течение 1 ч при температуре 25–80°C. В некоторых опытах для окисления железа(II) до железа(III) в смесь добавляли 35%-ный раствор перекиси водорода (0.4–0.8 мл), и/или осаждение проводили при пропускании кислорода воздуха (использовали микрокомпрессор АЭН-4, 50 л/ч). Образовавшийся осадок промывали водой до нейтрального значения рН и отрицательной качественной реакции на сульфат-ионы с хлоридом бария, высушивали в течение 2 ч при температуре 80°C и прокаливали в течение 3 ч при температуре 650°C [37].
Для получения композитов NiFe2O4/ZnO смешивали порошки NiFe2O4 и ZnO в соотношениях, указанных в табл. 1, и добавляли 20 мл дистиллированной воды. Полученную смесь обрабатывали ультразвуком в течение 30 мин, используя ультразвуковую ванну “Сапфир” (60 Вт, 35 кГц), переносили в тигель, высушивали при температуре 80°С и прокаливали в течение 3 ч при температуре 800°С.
Таблица 1. Условия получения композитов NiFe2O4/ZnO
Параметр | Образец | ||||
К1 | К2 | К3 | К4 | К5 | |
Мольная доля (χ) ZnO | 0.28 | 0.36 | 0.54 | 0.70 | 0.77 |
mZnO, г | 0.058 | 0.082 | 0.142 | 0.22 | 0.271 |
mNiFe2O4, г | 0.442 | 0.418 | 0.358 | 0.28 | 0.229 |
Для проведения фотокаталитического разложения к 20 мл водного раствора красителя (1.0 × 10–5–2.5 × 10–5 М) добавляли навеску NiFe2O4 /ZnO массой 50 мг, смесь выдерживали в темноте в течение 30 мин для установления равновесия абсорбции/десорбции красителя на поверхности катализатора. Фотокаталитическую реакцию проводили в реакторе (рис. 2), снабженном люминесцентной ультрафиолетовой лампой (ультрафиолет типа UV-C, длина волны 253.7 нм, мощность УФ-излучения 5 Вт). Степень деструкции (z) красителя определяли по формуле:
где Ai — оптическая плотность красителя за время i, A0 — начальная оптическая плотность красителя.
Рис. 2. Схема установки для проведения фотокаталитической реакции.
Для получения электронных спектров поглощения в диапазоне длин волн 200–800 нм использовали спектрофотометр Specol 1300, измерения проводили в кварцевой кювете с длиной оптического слоя 1 см.
Фазовый состав образцов определяли методом рентгенофазового анализа (РФА) на дифрактометре Shimadzu XDR-600 в СuKá-излучении, идентификацию фаз осуществляли с помощью картотеки базы данных Объединенного комитета по стандартам в порошковой дифракции Joint Committee on Powder Diffraction Standards (JCPDS). Размер области когерентного рассеяния полученных частиц рассчитывали по формуле Дебая–Шеррера.
Микрофотографии и картины микродифракции электронов получали на электронном микроскопе Hitachi 7700М при ускоряющем напряжении 100–110 кВ. Обработку микрофотографий и построение диаграмм распределения проводили с помощью программы ImageJ и пакета Microsoft Excel. Статистическому анализу было подвергнуто 467 частиц.
РЕЗУЛЬТАТЫ И ОБСУЖДЕНИЕ
Оптимизация условий получения наночастиц феррита никеля
Изучение влияния реакционных параметров щелочного соосаждения никеля и железа на фазовый состав конечного продукта и размер его наночастиц проводили с использованием метода планирования и обработки результатов эксперимента (дробный факторный эксперимент ДФЭ 27–4) [38, 39]. На основании анализа литературных данных и предварительных опытов были выбраны следующие факторы (уровни варьирования приведены в табл. 2): время осаждения (τ); пропускание воздуха (воздух); мольное отношение реагентов (r); температура синтеза (Т); концентрация NaOH (СNaOH); объем H2O2 (VH2O2); начальные концентрации солей (CМ).
Таблица 2. Значения независимых переменных
Параметр | X1 τ, мин | X2 воздух | X3 r | X4 Т, °С | X5 СNaOH, моль/л | X6 VH2O2, мл | X 7 CМ, моль/л |
Верхний уровень варьирования | 20 | Есть | 4.0 | 80 | 4 | 0 | 0.8 |
Нижний уровень варьирования | 5 | Нет | 2.4 | 25 | 1 | 0.4–0.8* | 0.4 |
* Количество добавленного пероксида водорода эквимолярно количеству Fe2+.
В рамках исследования построены две математические модели. В качестве целевой функции модели 1 выбран выход фазы образца феррита никеля ( p, %), определенный методом рентгенофазового анализа, в качестве целевой функции модели 2 – размер частиц феррита никеля (D, нм) по данным РФА.
В работе использовали стандартную матрицу планирования ДФЭ 27–4 [38, 39]. При реализации дробно-факторного эксперимента проводили три серии из восьми опытов. Статистический анализ результатов эксперимента осуществляли в программе Statistica Doe. Среднюю квадратичную ошибку и доверительный интервал (Ä, приведен в табл. 3) определяли при вероятности 0.95.
Таблица 3. Значения частных откликов целевых функций
Параметр | № опыта | ||||||||
1 | 2 | 3 | 4 | 5 | 6 | 7 | 8 | Ä | |
p, % | 100.0 | 100.0 | 100.0 | 85.9 | 100.0 | 99.0 | 96.9 | 87.8 | ±0.9 |
d, нм | 19.7 | 14.3 | 20.0 | 22.9 | 31.6 | 20.7 | 12.3 | 18.8 | ±0.4 |
Процесс осаждения вели по методике, приведенной выше. С целью контроля полноты осаждения гидроксидов контактные растворы после синтеза прекурсоров отделяли центрифугированием и исследовали методом атомно-абсорбционной спектроскопии. По результатам анализа, степень осаждения всех образцов близка к 100%.
Образцы после прокаливания исследовали методом РФА, на основании полученных данных для каждого опыта определяли долю фазы NiFe2O4, а также рассчитывали размер области когерентного рассеяния. Все полученные результаты представлены в табл. 3.
В ходе статистического анализа подтверждена однородность выборочных дисперсий, определены коэффициенты регрессии и порог их значимости (табл. 4, значимые коэффициенты подчеркнуты).
Таблица 4. Значения коэффициентов уравнений регрессии
Функция отклика | ∆b | b0 | b1 | b2 | b3 | b4 | b5 | b6 | b7 |
p, % | 1.4 | 92.3 | –3.6 | –4.1 | –0.6 | –3.5 | –1.2 | –1.7 | 1.2 |
d, нм | 1.0 | 20.0 | –0.9 | –1.5 | 0.8 | 3.2 | –0.2 | –3.8 | 1.1 |
Примечание. Подчеркнуты значимые коэффициенты.
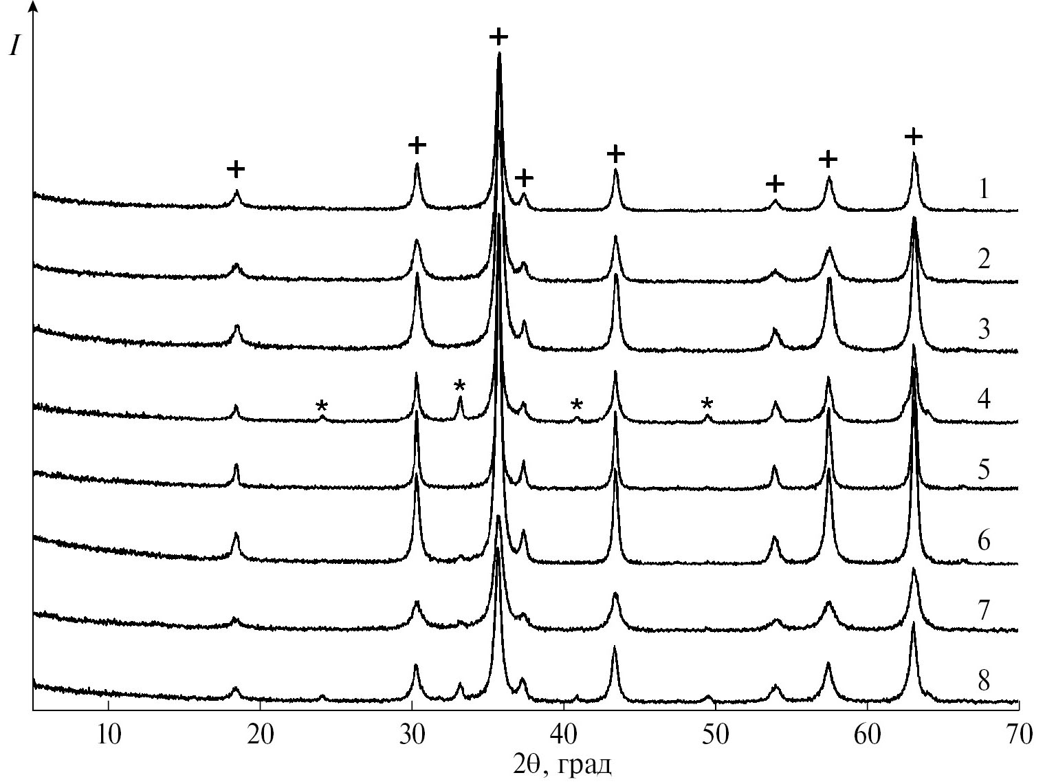
На рис. 3 приведены дифрактограммы образцов, полученных в опытах 1–8, из которых видно, что чистая фаза феррита никеля формируется в опытах 1–3 и 5, в остальных случаях помимо целевого продукта образуется примесь гематита.
Рис. 3. Дифрактограммы образцов, полученных в опытах 1–8: + — NiFe2O4, * — Fe2O3.
В результате эксперимента получены две математические модели, описывающие влияние условий на содержание фазы феррита никеля и размер полученных частиц:
p = 92.3 – 3.6 × 1 – 4.1 × 2 – 3.5 × 4 – 1.7 × 6, (1)
d = 20.0 – 1.5 × 2 + 3.2 × 4 – 3.8 × 6 + 1.1 × 7. (2)
В наибольшей степени на процесс осаждения влияют введение в систему пероксида водорода, пропускание воздуха и температура синтеза. Добавление H2O2 способствует образованию чистой фазы феррита никеля вследствие более полного окисления железа(II). Однако пропускание воздуха и повышенная температура (80°C) увеличивают содержание Fe2O3 (рис. 4). Увеличение длительности добавления щелочи в реакционную среду от 5 до 20 мин также способствует образованию гематита.
Рис. 4. Дифрактограмма образца 9, полученного в оптимальных условиях и прокаленного при 650°С.
На размер частиц наибольшее влияние оказывают пропускание воздуха, добавление пероксида водорода, а также температура синтеза. Добавление H2O2 приводит к небольшому увеличению частиц, тогда как пропускание воздуха и понижение температуры, наоборот, снижают размер частиц.
Направленность и степень влияния некоторых факторов (добавление H2O2 и пропускание воздуха) для разных моделей различны, поэтому анализ полученных данных проводили таким образом, чтобы выявить факторы, способствующие получению частиц чистофазного феррита с наименьшим размером. Оптимальными реакционными параметрами являются следующие: длительность добавления щелочи — 5 мин; r — 2.4; температура синтеза — 25°C; C(NaOH) – 1 моль/л; добавление H2O2, C(NiSO4, FeSO4) = 0.4 моль/л.
По данным рентгенофазового анализа, образец 9, полученный в оптимальных условиях, представляет собой чистую фазу феррита никеля (рис. 4, все рентгеновские рефлексы характерны для NiFe2O4), размер кристаллита, рассчитанный по формуле Дебая–Шеррера, составляет 13.6 ± 0.4 нм. Следует отметить, что каждая частица феррита никеля состоит из одного кристаллита.
Необходимо учитывать, что при определении размера частиц по рентгенографическим данным возможны погрешности, связанные как с используемым оборудованием (инструментальное уширение пиков, точность юстировки), так и со свойствами самого материала, например, дефекты кристаллической решетки тоже приводят к уширению рентгеновских пиков. Поэтому образцы были исследованы методом просвечивающей электронной микроскопии (рис. 5а). Полученные данные хорошо согласуются с результатами РФА, средний размер частиц составил 15.9 ± 1.1 нм. Распределение частиц по размерам, рассчитанное по 467 частицам, представлено на рис. 5б.
Рис. 5. Микрофотография ПЭМ (а) и распределение по размерам (б) частиц образца 9, полученного в оптимальных условиях и прокаленного при 650°С.
Получение композита NiFe2O4 /ZnO и изучение его фотокаталитической активности
Полученные в оптимальных условиях частицы были использованы для синтеза магнитных композитов NiFe2O4/ZnO. Смесь порошков феррита никеля (d = 16 нм) и оксида цинка (d = 60–80 нм) отжигали при 800°C. Дифрактограммы полученных образцов приведены на рис. 6. На дифрактограмме присутствуют рентгеновские рефлексы, соответствующие фазам замещенного феррита ZnxNi1–xFe2O4 (JCPDS 77-9650) и оксида цинка, кроме того, видна небольшая примесь гематита.
Рис. 6. Дифрактограммы композитов, полученных на основе NiFe2O4 и ZnO после обжига при 800°С: + – ZnxNi1–xFe2O4, * – ZnO, o – Fe2O3, ~ – неидентифицируемые рентгеновские рефлексы.
Уточнение состава и параметров ячеек полученных материалов (программа Topas 3) показало, что в процессе высокотемпературной обработки часть цинка из оксида диффундирует в решетку феррита никеля, замещая никель в октаэдрах MO6 с образованием замещенного феррита ZnxNi1–хFe2O4. Поскольку радиус цинка в октаэдрическом окружении (0.74 нм) несколько больше радиуса никеля (0.69 нм) [40], внедрение цинка в решетку феррита никеля приводит к увеличению размеров его ячейки (табл. 5). На рис. 7 показано изменение параметра ячейки (a) феррита в зависимости от доли оксида цинка в составе композита. Видно, что увеличение молярной доли ZnO в составе композита более 0.36 не влияет на размер ячейки вследствие ограниченного замещения. Несмотря на большое содержание оксида цинка в образцах К4 и К5, они, как и все остальные композиты, проявляют значительные магнитные свойства и поэтому могут быть отделены от фотокаталитической системы путем магнитной сепарации (в поле постоянного магнита).
Рис. 7. Зависимость параметра решетки фазы со структурой шпинели от мольной доли ZnО в композитах на основе NiFe2O4 и ZnO.
Таблица 5. Состав и параметры ячейки композита
Параметр | NiFe2O4 | К1 | К2 | К3 | К4 | К5 |
a(NiFe2O4), Å | 8.3570 | 8.3773 | 8.3916 | 8.3925 | 8.3917 | 8.3883 |
3σ | 0.0010 | 0.0019 | 0.0011 | 0.0012 | 0.0014 | 0.0018 |
ω(ZnxNi1–xFe2O4) | – | 91.4 | 93.1 | 72.5 | 50.4 | 37.7 |
ω(ZnO) | – | 5.3 | 1.8 | 23.6 | 46.8 | 61.1 |
ω(Fe2O3) | – | 3.3 | 5.1 | 3.9 | 2.7 | 1.2 |
Фотокаталитическую активность феррита никеля, цинка и композитов NiFe2O4/ZnO исследовали на примере фотодеградации органического красителя кристаллического фиолетового. Изменение оптической плотности КФ в максимуме поглощения (при длине волны 590 нм) в зависимости от длительности процесса фотокаталитического разложения для всех полученных образцов, а также чистофазных ферритов никеля и цинка приведено на рис. 8.
Рис. 8. Изменение оптической плотности раствора кристаллического фиолетового (λmax = 590 нм) в зависимости от длительности процесса фотокаталитического разложения: 1 – NiFe2O4, 2 – ZnFe2O4, 3 – образец К4, 4 – образец К3, 5 – образец К2, 6 – образец К5, 7 – образец К1.
Ферриты никеля и цинка не показывают фотокаталитической активности в условиях эксперимента, это может быть связано с характерной для них быстрой электронно-дырочной рекомбинацией [41]. В случае композита вследствие электрохимического взаимодействия ZnO и NiFe2O4 и различия в энергиях связей Zn2+–O2- и Ni2+–O2- время жизни и перенос фотогенерированных носителей заряда заметно возрастают, что приводит к снижению количества рекомбинаций и увеличению ширины запрещенной зоны. Поглощение в более широкой области спектра способствует процессу разложения органических красителей [42].
Зависимость фотокаталитической активности (τ = 1 ч) композита NiFe2O4/ZnO от его состава представлена на рис. 9. Незначительное снижение степени деструкции при переходе от образца К1 к К2 можно объяснить уменьшением количества фазы оксида цинка в композите (от 5.3 до 1.8 мол. %) вследствие внедрения ионов цинка в структуру феррита (табл. 5). Дальнейший рост содержания оксида цинка до 61.1 мол. % в пределах ошибки не сказывается на степени деструкции кристаллического фиолетового. При этом при использовании чистофазного оксида цинка за 1 ч в условиях эксперимента краситель разлагается на 80%. Мы предполагаем, что отсутствие зависимости каталитической активности композитов NiFe2O4/ZnO от содержания в них ZnO (1.8–61.1 мол. %) может быть связано с изменением поверхностных свойств гибридного материала в ходе его прокаливания и требует дополнительного изучения.
Рис. 9. Влияние состава фотокатализатора на степень деструкции кристаллического фиолетового (1 ч).
ЗАКЛЮЧЕНИЕ
Для получения наночастиц феррита никеля применен метод щелочного соосаждения ионов Fe2+ и Ni2+, предотвращающий нарушение стехиометрии прекурсора вследствие осаждения катионов с сопоставимой скоростью и глубиной за счет близких значений ПР гидроксидов железа(II) и никеля(II). Методом математического планирования и обработки результатов эксперимента (ДФЭ 27–4) изучено влияние реакционных параметров и подобраны оптимальные условия, в которых получены сферические частицы феррита никеля размером 15.9 ± 1.1 нм.
На основе синтезированных наночастиц NiFe2O4 и ZnO получены магнитные композитные материалы различного состава. Показано, что они могут быть применены в качестве легко отделяемого магнитного фотокатализатора для разложения широко используемого синтетического красителя кристаллического фиолетового.
ФИНАНСИРОВАНИЕ РАБОТЫ
Работа выполнена в рамках государственного задания Института химии и химической технологии СО РАН (проект FWES-2021-0014) с использованием оборудования Красноярского регионального центра коллективного пользования ФИЦ КНЦ СО РАН.
КОНФЛИКТ ИНТЕРЕСОВ
Авторы заявляют, что у них нет конфликта интересов.
Об авторах
Д. И. Немкова
Сибирский федеральный университет
Автор, ответственный за переписку.
Email: diana.saykova@mail.ru
Россия, Свободный пр-т, 79, Красноярск, 660041
С. В. Сайкова
Сибирский федеральный университет; Институт химии и химической технологии СО РАН – обособленное подразделение ФИЦ КНЦ СО РАН
Email: diana.saykova@mail.ru
Россия, Свободный пр-т, 79, Красноярск, 660041; Академгородок, 50/24, Красноярск, 660036
А. Е. Кроликов
Сибирский федеральный университет
Email: diana.saykova@mail.ru
Россия, Свободный пр-т, 79, Красноярск, 660041
Е. В. Пикурова
Сибирский федеральный университет; Институт химии и химической технологии СО РАН – обособленное подразделение ФИЦ КНЦ СО РАН
Email: diana.saykova@mail.ru
Россия, Свободный пр-т, 79, Красноярск, 660041; Академгородок, 50/24, Красноярск, 660036
А. С. Самойло
Сибирский федеральный университет
Email: diana.saykova@mail.ru
Россия, Свободный пр-т, 79, Красноярск, 660041
Список литературы
- Литюк Л.М., Журавлев Г.И. Химия и технология ферритов: Учебное пособие для вузов. Л.: Химия, 1983. 256 с.
- Вест А. Химия твердого тела. Теория и приложения. М.: Мир, 1988. Ч. 1. 558 с.
- Преображенский А.А., Бишард Е.Г. Магнитные материалы и элементы. М.: Высш. шк., 1986. 256 с.
- Zangeneh H., Zinatizadeh A.A., Zinadini S. еt al. // Composites Part B. 2019. V. 176. P. 107158. https://doi.org/10.1016/j.compositesb.2019.107158
- An P., Zuo F., Li X. et al. // Nano. 2013. V. 8. № 6. P.1350061-1. https://doi.org/10.1142/S1793292013500616
- Iqbal A., Haq A. ul, Cerron-Calle G.A. et al. // Catalysts. 2021. V. 11. P. 806. https://doi.org/10.3390/catal11070806
- Shokri A. // Environ. Chall. 2021. V. 5. P. 100332. https://doi.org/10.1016/j.envc.2021.100332
- Arumugham N., Mariappan A., Eswaran J. et al. // J. Hazard. Mater. 2022. V. 8. P. 100156. https://doi.org/10.1016/j.hazadv.2022.100156
- Peymanfar R., Ramezanalizadeh H. // Optik. 2018. V. 169. P. 424. https://doi.org/10.1016/j.ijleo.2018.05.072
- Yang H., Zhang X., Weiqin A., Guangzhou Q. // Mater. Res. Bull. 2004. V. 39. № 6. P. 833.
- Azizi A., Sadrnezhaad S.K. // Ceram. Int. 2010. V. 36. № 7. P. 2241. https://doi.org/10.1016/j.ceramint.2010.06.004.
- Lisnevskaya I.V., Bobrova I.A., Lupeiko T.G. // J. Magn. Magn. Mater. 2016. V. 37. P. 86. https://doi.org/10.1016/j.jmmm.2015.08.084
- Лисневская И.В., Боброва И.А., Петрова А.В., Лупейко Т.Г. // Журн. неорган. химии. 2012. Т. 57. С. 474.
- Sivakumar P., Ramesh R., Ramanand A. et al. // Mater. Res. Bull. 2011. № 46. P. 2208. https://doi.org/10.1016/j.materresbull.2011.09.010
- Mana R., Raguram T., Rajni K.S. // Mater. Today: Proc. 2019. № 18. P. 1753.
- Кузнецов М.В., Морозов Ю.Г., Белоусова О.В. // Неорган. материалы. 2012. Т. 48. № 10. С. 1172.
- Hernandeza P.T., Kuznetsov M.V., Morozov I.G., Parkind I.P. // Mater. Sci. Eng., B. 2019. № 244. P. 81. https://doi.org/10.1016/j.mseb.2019.05.003
- Shafi K., Koltypin Y., Gedanken A. // J. Phys. Chem. B. 1997. V. 101. № 33. P. 6409.
- Fang J., Shama N., Tung L.D. // J. Appl. Phys. 2003. V. 93. № 10. P. 7483.
- Rodriguez-Rodriguez A.A., Moreno-Trejo M.B., Melendez-Zaragoza M.J. et al. // Int. J. Hydrogen Energy. 2018. V. 30. P. 12421. https://doi.org/10.1016/j.ijhydene.2018.09.183
- Елисеев А.А., Лукашин А.В. Функциональные наноматериалы. М.: Физматлит, 2010. 456 c.
- Udhayaa P.A., Bessy T.C., Meena M. // Mater. Today: Proceedings. 2019. V. 8. P. 169. https://doi.org/10.1016/j.matpr.2019.02.096
- Mapossa A.B., Dantas J., Silva M.R. // Arabian J. Chem. 2019. V. 30. P. 1. https://doi.org/10.1016/j.arabjc.2019.09.003
- Jifeng Q., Tinghua Ch., Shi L. et al. // Chin. Chem. Lett. 2019. V. 30. P. 1198. https://doi.org/10.1016/j.cclet.2019.01.021
- Morelos-Santos O., Reyes de la Torre A.I., Schacht-Hernandez P. et al. // Catal. Today. 2019. V. 329. P. 1. https://doi.org/10.1016/j.cattod.2019.10.012
- Zhang S., Jiang W., Li Y. et al. // Sens. Actuators, B. 2019. V. 291. P. 266. https://doi.org/10.1016/j.snb.2019.04.090
- Chen D.H., He X.R. // Mater. Res. Bull. 2001. № 36. P. 1369. https://doi.org/10.1016/S0025-5408(01)00620-1
- Hassan A., Khan M.A., Shahid M. et al. // J. Magn. Magn. Mater. 2015. V. 393. P. 56. https://doi.org/10.1016/j.jmmm.2015.05.033
- Velmurugan K., Venkatachalapathy V.S.K., Sendhilnathan S. // Mater. Res. 2010. V. 13. P. 299. https://doi.org/10.1590/S1516-14392010000300005
- Gadkari А.В., Shinde T.J., Vasambekar P.N. // J. Mater. Sci. – Mater. Electron. 2010. V. 21. P. 96. https://doi.org/10.1007/s10854-009-9875-6
- Maaz K., Karim S., Mumtaz A. et al. // J. Magn. Magn. Mater. 2009. № 321. P. 1838. https://doi.org/10.1016/j.jmmm.2008.11.098
- Трофимова Т.В., Сайкова С.В., Пантелеева М.В. и др. // Стекло и керамика. 2018. № 2. С. 38.
- Сайкова С.В., Трофимова Т.В., Павликов А.Ю., Самойло А.С. // Журн. неорган. химии. 2020. Т. 65. № 3. С. 287.
- Chen C.C., Liao H.J., Cheng C.Y. et al. // Biotechnol. Lett. 2007. V. 29. P. 391. https://doi.org/10.1007/s10529-006-9265-6
- Chen K.C., Wu J-Y., Huang C-C. et al. // J. Biotechnol. 2003. V. 101. P. 241. https://doi.org/10.1016/S0168-1656(02)00362-0
- Cho B.P., Yang T., Blankenship L.R. et al. // Chem. Res. Toxicol. 2003. V. 16. P. 285. https://doi.org/10.1021/tx0256679
- Saykova D., Saikova S., Mikhlin Yu. et al. // Metals. 2020. V. 10. № 1. P. 1075. https://doi.org/10.3390/met10081075
- Адлер Ю.П., Маркова Е.В., Грановский Ю.В. Планирование эксперимента при поиске оптимальных условий. М.: Наука, 1976. 280 с.
- Сайкова С.В., Немкова Д.И., Пикурова Е.В., Самойло А.С. // Журн. неорган. химии. 2023. Т. 68. № 8. С. 1011.
- CRC Handbook of Chemistry and Physics / Ed. Lide D.R. CRC Press, 2017. 2560 p.
- Yusmar A., Armitasari L., Suharyadi E. // Mater. Today: proceedings. 2018. V. 5. P. 14955. https://doi.org/10.1016/j.matpr.2018.04.037
- Sharifi I. // J. Magn. Magn. Mater. 2012. V. 324. № 15. P. 2397. https://doi.org/10.1016/j.jmmm.2012.03.008
Дополнительные файлы











