Самовозбуждение колебаний газа в трубе с закрученным пламенем
- Авторы: Ларионов В.М.1, Малахов А.О.1, Иовлева О.В.1, Семенова Е.В.1, Ларионова И.В.2
-
Учреждения:
- Казанский федеральный (Приволжский) университет
- Казанский национальный исследовательский технический университет им. А.Н. Туполева
- Выпуск: Том 62, № 1 (2024)
- Страницы: 150-153
- Раздел: Краткие сообщения
- URL: https://bakhtiniada.ru/0040-3644/article/view/272378
- DOI: https://doi.org/10.31857/S0040364424010181
- ID: 272378
Цитировать
Полный текст
Аннотация
Работа посвящена исследованию пульсационного горения в камере сгорания с закрученным потоком. Экспериментально определены условия возбуждения и характеристики акустических колебаний газа в трубе с тангенциальной подачей смеси пропан-бутанового топлива с воздухом. Обнаружена аномальная зависимость частоты колебаний газа от коэффициента избытка воздуха α: минимум при α = 1 и локальный максимум при α ≈ 1.15. При α = 1 колебания газа имеют максимальную амплитуду. Показано, что на частоту колебаний существенно влияют аксиальный градиент скорости звука в трубе, его зависимость от амплитуды колебаний газа.
Полный текст
ВВЕДЕНИЕ
Известно, что в камерах сгорания энергетических установок, например современных газотурбинных установок (ГТУ) [1–4], процесс горения может стать неустойчивым. Происходит возбуждение акустических колебаний газа, которые дестабилизируют работу всей установки и поэтому должны быть устранены.
В работе [5] проведено исследование процесса самовозбуждения колебаний газа в трубе с закрученным пламенем. Установлено, что при изменении расхода стехиометрической смеси от 10.2 до 32 л/мин наблюдается стабильный режим (без срыва пламени) пульсационного горения с частотой 230–260 Гц и уровнем звукового давления (УЗД) от 122–162 дБ.
Для распределения скорости звука использовалось линейное приближение [6, 7].
В этом случае волновое уравнение для пульсаций скорости газа имеет аналитическое решение, которое позволяет разработать математические модели пульсационного горения для ряда прямоточных камер сгорания. Предполагается, что распределение температуры при фиксированном расходе смеси топлива с воздухом зависит только от температуры горения и одинаково на всех стадиях процесса возбуждения колебаний газа. Реально колебания газа существенно ускоряют теплопередачу к стенкам камеры. В результате распределение температуры газа в режиме установившихся колебаний отличается от распределения в отсутствие колебаний или в начальной стадии возбуждения колебаний, когда их амплитуда бесконечно мала.
Цель данной работы – определение условий возбуждения, частоты и амплитуды колебаний газа в зависимости от коэффициента избытка воздуха в смеси и геометрических параметров смесеподающего устройства в трубе при горении в закрученном потоке.
РЕЗУЛЬТАТЫ ЭКСПЕРИМЕНТА
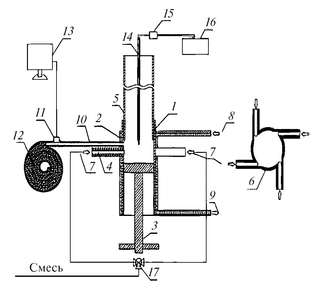
Экспериментальная часть работы проводилась на установке, использованной в работах [5, 8]. Камера сгорания – цилиндрическая труба, закрытая на выходе с тангенциальной подачей смеси (рис. 1).
Рис. 1. Схема экспериментальной установки: 1 – входная камера; 2 – охлаждающий контур; 3 – винтовой поршень; 4 – патрубок подачи топливовоздушной смеси; 5 – цилиндрическая труба-резонатор; 6 – схема расположения патрубков; 7 – трубопроводы подвода смеси к патрубкам; 8, 9 – вход и выход охлаждающей воды; 10 – акустический зонд, щуп; 11 – микрофон; 12 – спиралевидная звукопоглощающая трубка; 13 – компьютер; 14 – термопара ВР 5/20; 15 – компенсатор холодного спая; 16 – цифровой прибор Ф266; 17 – распределитель смеси.
Камера сгорания состоит из цилиндрической трубы 5 внутренним диаметром 34 мм и входной камеры 1 такого же внутреннего диаметра с четырьмя входными патрубками 4 и 6 длиной 60 мм, внутренним диаметром 3 мм. Смесь в патрубки поступала из трубопроводов 7 длиной 0.48 м, внутренним диаметром 8 мм. Использовались два противоположных или четыре симметрично расположенных патрубка. Поршень 3 после предварительных испытаний все время находился на расстоянии 10 мм ниже патрубков. На входе камеры сгорания имеется водяное охлаждение 2. Такая организация необходима для предотвращения перегрева патрубков 4 и стабилизации температуры поступающей газовой смеси 7. Длина камеры сгорания (расстояние от поршня до открытого выхода трубы) составляет 0.45 м.
Использовалась смесь баллонного пропан-бутанового топлива с атмосферным воздухом. Состав топлива [5, 8]: пропан (74.36%), метан (5.2%), изобутан (8.77%), бутан (6.9%), сероводород (4.13%) и вода (0.63%). Расчеты показали [8], что для полного сгорания 1 м3 топлива потребуется 23.5 м3 воздуха. Если расход топлива – Vf и воздуха – Vα, коэффициент избытка воздуха рассчитывается по формуле
α = Vα/(23.5Vf).
Характеристики колебаний газа – частота и УЗД на входе камеры сгорания – измерялись акустическим зондом, включающим компьютерный электретный микрофон и алюминиевый щуп длиной 15 см, внутренним диаметром 3 мм.
Исследовано влияние расхода смеси на частоту и амплитуду колебаний газа при условии, когда коэффициент избытка воздуха постоянен. Данные получены для трубопроводов, подводящих смесь к патрубкам, длиной lt = 0.48 м. Если α = 1, увеличение расхода смеси от 10.2 до 24 л/мин вызывает повышение частоты колебаний до максимального значения 260 Гц (рис. 2). Дальнейшее изменение расхода смеси до 32 л/мин приводит к снижению частоты. Характер зависимости уровня звукового давления в зоне горения от расхода смеси (рис. 3) такой же, как для частоты колебаний. Имеется максимум 162 дБ, который соответствует максимальной частоте.
Рис. 2. Зависимость частоты колебаний газа от расхода смеси.
Рис. 3. Зависимость амплитуды колебаний газа от расхода смеси.
Результаты измерений показали, что стабильный режим пульсационного горения с наибольшими значениями амплитуды колебаний газа соответствует стехиометрическому составу смеси в диапазоне расхода воздуха от 20 до 27 л/мин.
Далее исследовано влияние коэффициента избытка воздуха на характеристики колебаний газа в камере сгорания длиной lс = 0.45 м с четырехпатрубковой системой подачи (n = 4, lt = 0.48 м) для фиксированных значений расхода воздуха (Vα = 21, 25.8, 27 л/мин). Данные, представленные на рис. 4, показывают, что частота колебаний газов минимальна для стехиометрического состава смеси (α = 1). Уменьшение или увеличение α, т.е. увеличение или уменьшение расхода топлива относительно стехиометрического значения, повышают частоту колебаний. Такой результат является неожиданным, аномальным.
Рис. 4. Зависимости частоты акустических колебаний от коэффициента избытка воздуха для трех фиксированных расходов воздуха: 1 – Vα = 21 л/мин, 2 – 25.8, 3 – 27.
Температура горения стехиометрической смеси и скорость звука на входе в камеру сгорания имеют максимальные значения. Как известно, частота акустических колебаний газа в трубе прямо пропорциональна скорости звука [9]. Следовательно, можно было ожидать, что при α = 1 частота колебаний газа – максимальная. Измерения амплитуды колебаний давления на входе в камерах сгорания показали (рис. 5), что этот параметр, в отличие от частоты колебаний, имеет максимальное значение для α = 1.
Рис. 5. Зависимости амплитуды акустических колебаний от коэффициента избытка воздуха: 1 – Vα = 21 л/мин, 2 – 25.8, 3 – 27.
Дальнейшие измерения проводились в случае подачи смеси через два патрубка (n = 2) при постоянном расходе воздуха Vα = 25.8 л/мин, длине подводящих трубопроводов lt = 0.48 м. Измерены зависимости характеристик колебаний газа от коэффициента избытка воздуха при условии lс = 0.45 м (рис. 6, 7). Сравнение данных, полученных для n = 2 и 4, показало, что увеличение числа патрубков с двух до четырех приводит к уменьшению частоты колебаний газа при одинаковых значениях α (рис. 6). При этом амплитуда колебаний газа в камере сгорания почти не изменяется (рис. 7).
Рис. 6. Зависимости частоты колебаний газа от коэффициента избытка воздуха при lс = 0.45 м, lt = 0.48 м: 1 – n = 4, 2 – 2.
Рис. 7. Зависимости амплитуды колебаний газа от коэффициента избытка воздуха при lс = 0.45 м, lt = 0.48 м: 1 – n = 4, 2 – 2.
В итоге для камеры сгорания длиной lс = 0.45 м наиболее благоприятные условия для пульсационного режима горения следующие: расход воздуха – 25.8 л/мин, коэффициент избытка воздуха в смеси α – от 0.77 до 1.22.
В результате эксперимента обнаружена аномальная зависимость частоты колебаний газа от коэффициента избытка воздуха: имеется минимум при α = 1 и локальный максимум при α ≈ 1.15. Эту особенность можно объяснить следующим образом. Вследствие теплопередачи к стенкам поток газа охлаждается, появляются градиенты средней температуры газа и скорости звука вдоль трубы. В работах [6, 7, 10, 11] было показано, что продольное распределение температуры газа, а следовательно, плотности и скорости звука существенно влияет на условия возбуждения, частоту и амплитуду колебаний газа. В [8] измерено аксиальное распределение температуры газа и рассчитано соответствующее распределение скорости звука в трубе с закрученным пламенем, которое имеет вид
c (x) = a − bx, 0 ≤ x ≤ lc,
(1)
где lс – длина трубы; Tc (α) – температура газа на входе трубы; c1, T1 – скорость звука и температура окружающей среды; cl – скорость звука на выходе трубы.
Установлено, что для значений α, близких к единице, величина a(α) почти не изменяется. В то же время модуль градиента скорости звука b быстро возрастает и при α = 1 достигает максимального значения, так же как амплитуда колебаний газа. Эти данные позволяют объяснить характер зависимости f (α). В случае линейного распределения скорости звука вдоль трубы для проведения качественного анализа можно взять среднеарифметическое значение скоростей звука на концах трубы:
(2)
При изменении α от 0.7 до 1 происходит медленное увеличение температуры газа и, следовательно, скорости звука на входе трубы. Известно, что колебания газа значительно ускоряют теплопередачу от газа к стенкам. Это значит, что при одинаковой входной температуре температура газа на выходе трубы при увеличении амплитуды колебаний газа уменьшается. Согласно экспериментальным данным, амплитуда колебаний газа в случае приближения α к единице быстро возрастает. При постоянной скорости звука на входе трубы, согласно (1), модуль градиента скорости звука тоже возрастает, причем так, что средняя скорость звука, согласно (2), уменьшается, приводя к снижению частоты колебаний. При α = 1 величина b достигает максимального значения, что соответствует минимуму частоты. При α > 1 происходит быстрое уменьшение b, которое не только компенсирует уменьшение скорости звука на входе трубы, но и приводит к некоторому увеличению средней скорости звука и частоты колебаний. Однако дальнейшее увеличение коэффициента избытка воздуха вызывает быстрое уменьшение температуры газа и скорости звука на входе камеры сгорания. В это же время темп изменения величины b замедляется. В результате частота колебаний газа, достигнув некоторого локального максимума, начинает постепенно уменьшаться.
ЗАКЛЮЧЕНИЕ
Исследование процесса горения смеси пропан-бутанового топлива с воздухом в экспериментальной камере сгорания с тангенциальной подачей смеси показало, что при определенных условиях горение приобретает пульсационный характер. В трубе длиной 0.45 м происходит самовозбуждение колебаний газа с частотами от 230 до 260 Гц и уровнем звукового давления до 162 дБ. Обнаружена аномальная зависимость частоты колебаний газа от коэффициента избытка воздуха – имеются минимум при α = 1 и локальный максимум при α ≈ 1.15. Аномальная зависимость частоты колебаний газа от коэффициента избытка воздуха объясняется наличием переменного аксиального распределения скорости звука, которое зависит не только от коэффициента избытка воздуха, но и от амплитуды колебаний газа в режиме пульсационного горения. При α = 1 колебания газа имеют максимальную амплитуду.
Об авторах
В. М. Ларионов
Казанский федеральный (Приволжский) университет
Email: Olga.Beloded@kpfu.ru
Россия, Казань
А. О. Малахов
Казанский федеральный (Приволжский) университет
Email: Olga.Beloded@kpfu.ru
Россия, Казань
О. В. Иовлева
Казанский федеральный (Приволжский) университет
Автор, ответственный за переписку.
Email: Olga.Beloded@kpfu.ru
Россия, Казань
Е. В. Семенова
Казанский федеральный (Приволжский) университет
Email: Evgeniya.yallina@gmail.com
Россия, Казань
И. В. Ларионова
Казанский национальный исследовательский технический университет им. А.Н. Туполева
Email: Olga.Beloded@kpfu.ru
Россия, Казань
Список литературы
- Lieuwen T., Zinn B.T. Theoretical Investigation of Combustion Instability Mechanisms in Lean, Premixed Gas Turbines // AIAA 98-0641. 1998.
- Morgans A.S., Stow S.R. Model-based Control of Combustion Instabilities in Annular Combustors // Combust. Flame. 2007. V. 150. P. 380.
- Steinberg A.M., Boxx I., Stӧrh M., Meier W., Carter C.D. Flow-flame Interactions Causing Acoustically Coupled Heat Release Fluctuations in a Thermo-acoustically Unstable Gas Turbine Model Combustor // Combust. Flame. 2010. V. 157. P. 2250.
- Durox D., Moeck J.P., Bourgouin J.F., Schuller T., Candel S., Morenton P., Viallon M. Flame Dynamics of a Variable Swirl Number System and Instability Control // Combust. Flame. 2013. V. 160. P. 1729.
- Malahov A.O., Larionov V.M., Iovleva O.V., Gaianova T.E., Gaponenko S.A. Pulsating Combustion of Propane-butane Fuel Mixture with Air in a Vortex Combustion Chamber // J. Phys.: Conf. Ser. 2020. V. 1588. № 1. 012026.
- Matveev K.I., Culick F.E.C. A Study of the Transition to Instability in a Rijke Tube with Axial Temperature Gradient // Journal of Sound and Vibration. 2003. V. 264. P. 689.
- Raun R.L., Beckstead M.W. A Numerical Model for Temperature Gradient and Particle Effects on Rijke Burner Oscillations // Combust. Flame. 1993. V. 94. P. 1.
- Малахов А.О., Ларионов В.М., Константинов Н.В. Аксиальное распределение температуры газа и скорости звука в трубе с закрученным пламенем // Изв. вузов. Проблемы энергетики. 2022. № 24. С. 63.
- Ларионов В.М., Зарипов Р.Г. Автоколебания газа в установках с горением. Казань: Изд-во Казан. гос. техн. ун-та, 2003. С. 226.
- Семенова Е.В., Иовлева О.В., Ларионова И.В., Ваньков Ю.В. Частоты колебаний газа при горении твердого топлива в коаксиальных трубах // Изв. вузов. Проблемы энергетики. 2017. Т. 19. № 1–2. С. 164.
- Semenova E.V., Iovleva V.M., Larionov E.V. Frequencies of Gas Oscillations in a Pipe with a Concentrated Heat Source // J. Phys.: Conf. Ser. 2016. V. 669. 012023.
Дополнительные файлы










