Фазовые превращения и критические свойства системы С3Н7ОН–С7Н16
- Authors: Базаев Э.А.1, Базаев А.Р.1, Абдулагатов И.М.1, Джапаров Т.А.1, Османова Б.К.1
-
Affiliations:
- ФГБУН ОИВТ РАН
- Issue: Vol 62, No 1 (2024)
- Pages: 29-37
- Section: Thermophysical Properties of Materials
- URL: https://bakhtiniada.ru/0040-3644/article/view/272364
- DOI: https://doi.org/10.31857/S0040364424010059
- ID: 272364
Cite item
Full Text
Abstract
Приведены экспериментальные значения (p, r, Т)х-зависимостей системы 1-пропанол–н-гептан состава х (0.2, 0.38, 0.5 и 0.8 мольных долей н-гептана) при фазовых превращениях (жидкость–пар) ⇄ жидкость и (жидкость–пар) ⇄ пар, определенные по фигуративным точкам изломов (изгибов) изохор фазовой диаграммы в (р, Т)-координатах, и значения ее критических параметров, оцененные на основе анализа кривизны изохор и изотерм фазовых диаграмм в критической области. Зависимость давления насыщенных паров смесей рs = f(ρs, Ts)х вдоль кривой сосуществования фаз описана термическим уравнением состояния вириального вида – разложением фактора сжимаемости Zs = ps /(RTsρms) в ряды по степеням приведенной плотности и приведенной температуры. Средняя относительная погрешность отклонений рассчитанных значений давления от экспериментальных составляет 1%. Температурная зависимость плотности системы вдоль кривой равновесия фаз жидкость–пар описана двумя степенными функциями: во всем диапазоне параметров и в симметричной части кривой (0 < τ < 0.01) при значении критического показателя β0 = 0.370 ± 0.002. Средняя относительная погрешность составляет 0.8% и 0.6% соответственно.
Full Text
ВВЕДЕНИЕ
Жидкости 1-пропанол (полярная) и н-гептан (неполярная) характеризуются близкими температурами кипения (370.55, 371.57 К), незначительно отличающимися критическими температурами (536.85, 540.13 К), но существенно различными критическими давлениями (5.1, 2.736 МПа) и разными молекулярными структурами. При нормальных условиях эти жидкости растворяются друг в друге в любых соотношениях концентраций, образуя гомогенную смесь с одинаковыми химическим составом и физическими свойствами во всех частях, подобно бинарным системам н-пентана и н-гексана с 1-пропанолом [1, 2]. Смесь 1-пропанол–н-гептан в зависимости от состава при определенных температурах и давлениях может проявлять азеотропизм. Так, например, азеотропизм наблюдается при х = 0.46 мол. доли н-гептана в области температур 278.15–303.17 К и давлений 0.0025–0.01017 МПа [3]; при х = 0.62 мол. доли и Т = 258.15 К и р = 0.1013 МПа [4]; при х = 0.38 мол. доли в областях Т = 423.15–521.15 К и р = 0.5–4 МПа (данная работа).
Фазовые превращения (ФП) и критическое состояние (КС) 1-пропанола и н-гептана изучены в [5, 6]. Надежные экспериментальные данные о параметрах ФП и КС, а также (р, ρ, Т, х)-зависимости системы 1-пропанол–н-гептан в широком диапазоне компонентного состава важны для суждения о структурных изменениях компонентов при смешении, о силах взаимодействия полярных молекул с неполярными, для разработки моделей потенциалов межмолекулярного взаимодействия смесей спирт–углеводород, для построения единого взгляда на фазовые равновесия жидкость–пар и критическое состояние сложных систем [7]. Знание фазового и объемного поведения этой системы нужно также для технологий химической и нефтехимической отраслей промышленности [8–10], для оптимизации октанового числа автомобильного топлива [8, 9] и т.д.
Из известных авторам работ, посвященных исследованию параметров ФП и КС системы 1-пропанол–н-гептан, близки по (p, Т)-условиям исследований к данной работе публикации [12–14]. В [9] определены значения параметров КС и получена критическая кривая системы 1-пропанол–н-гептан. Применялись оптический метод с использованием горизонтальной рабочей ячейки из титанового сплава в форме цилиндра с сапфировыми окошками на торцах и электронагревателем на наружной поверхности и наблюдение за исчезновением и появлением границы, разделяющей фазы. Измерения ps, Ts, х и p, Т, ρ, х для системы 1-пропанол–н-гептан проводились для девяти значений состава в диапазоне температур 513.15–573.15 К. Температура в ходе эксперимента измерялась термопарами, установленными на концах цилиндра, и поддерживалась с помощью регулятора температуры WEST6100 с погрешностью ±0.6 К. Перемешивание исследуемого вещества не было предусмотрено. Погрешности определения Тк и рк авторами оценены соответственно в ±1.2 К и ±0.015 МПа. Значения параметров ФП данной системы в работе не приводятся. В [10] тем же методом с рабочей ячейкой из термостойкого стекла в форме трубки, установленной вертикально в жидкостном термостате, определены значения параметров ФП и КС системы 1-пропанол–н-гептан. Измерения ps, Ts, х и p, Т, ρ, х проводились для составов 0.3080, 0.4658, 0.6709 и 1 мол. доли н-гептана в диапазоне температур 423.15–573.15 К и давлений 0.2–5.066 МПа. Также выполнялись наблюдения за исчезновением границы между фазами. Приводится критическая кривая системы, полученная по четырем экспериментальным критическим точкам. Показано, что зависимость Тк от х проходит через минимум, соответствующий значению состава смеси ~0.4 мол. доли н-гептана, а зависимость рк от х близка к линейной. Погрешности измерения температуры эксперимента термометрами сопротивления (± 0.5 К) и давления грузопоршневым манометром (±0.012 МПа) авторами [13] приняты за погрешности определения параметров КС системы, хотя, как правило, погрешности расчета больше измеряемых. Авторы [13] предполагают существование азеотропной точки данной смеси состава 0.38 мол. доли н-гептана в области температур 423.15–523.15 К и давлений 1–4 МПа. Однако смесь 1-пропанол–н-гептан с 0.38 мол. доли н-гептана в работе [10] не исследована. В [11] на установке проточного типа с использованием рабочей ячейки с оптическими окошками путем наблюдения за появлением критической опалесценции и мениска определены значения критических температуры и давления системы 1-пропанол–н-гептан для девяти составов в диапазоне 0.0625–0.8437 мол. долей н-гептана. Погрешности определения значений критических параметров оценены в [14] следующим образом: Тк = ±0.04 К, рк = ±0.01 МПа и х = 0.012 мол. доли.
Значения критических параметров системы 1-пропанол–н-гептан, определенные в [12–14], различаются. Это связано с тем, что метод исследования ФП и КС жидких систем наблюдением за исчезновением (появлением) мениска – границы между фазами – и критической опалесценцией реализован в [12–14] на разных экспериментальных установках со своими особенностями и метрологическими возможностями. В [9] на точности определения давления должно сказываться отсутствие перемешивания исследуемой смеси, уменьшающее влияние гравитации. Измерение температуры термопарами снижает точность определения значений параметров КС системы. В [10] хорошо термостатирована рабочая ячейка, предусмотрено перемешивание исследуемого вещества. Однако вертикальное положение трубчатой рабочей ячейки, в нижней части которой находится столбик ртути, запирающей исследуемую смесь и передающей давление ее на измерительный прибор, влияет на точность измерения давления из-за гравитационного эффекта и испарения ртути. При температурах 473.15 К и выше ртуть испаряется, и содержание ее в исследуемой смеси, особенно в паровой фазе, может быть значительным. Установлено, что растворимость ртути в бутане, сжатом до 400 атм, и при температурах 473.15–673.15 К больше растворимости при давлении насыщенного пара в 4 раза [12]. Может быть, с этим фактом связаны повышенные значения давления паровой фазы, полученные в [10]. Конструкция экспериментальной установки и методика измерений в [11] отличаются от использованных в [9, 10] тем, что исследуемая смесь из сосуда с определенной постоянной скоростью поступает в автоклав, где она предварительно нагревается до нужной температуры, далее – в термостатируемую рабочую ячейку и сбрасывается. Температура камеры измерялась термометром сопротивления и термопарой, а давление – тензопреобразователем. Появление (исчезновение) критической опалесценции и мениска достигается изменением температуры и давления. Измерения проводились несколько раз для разных скоростей потока. За критические значения температуры и давления принимались осредненные значения. Значения критической плотности системы в работе не приводятся.
Определение количества исследуемого вещества в рабочей ячейке проводилось только при заполнении [12, 13], т.е. без отбора вещества после измерений с последующим взвешиванием для уточнения его количества. Опыт показывает, что определяемое по отбору количество исследуемого вещества, как правило, не совпадает с его количеством при заполнении рабочей ячейки.
Для уточнения достоверности полученных в [12–14] данных о ФП и КС системы 1-пропанол–н-гептан визуальным методом ранее [15] были исследованы (р, ρ, Т, х)-данные этой системы методом пьезометра постоянного объема в суб- и сверхкритическом состояниях для различных значений состава. Результаты исследования в околокритической и сверхкритической областях приведены в [15]. Сравнение полученных в [15] значений ФП и КС с данными из работ [12–14] показывает, что в целом расхождение связано как с реализацией визуального метода на разных установках с использованием разных средств измерений (регулирования) температуры и давления, так и с использованием разных методик заполнения рабочей ячейки исследуемым веществом, его чистотой и т.д.
Данная работа дополняет содержание работы [15] подробным анализом экспериментальных данных о (р, Т)-зависимости системы в двухфазной области. Здесь приведены отсутствующие в [15] уравнение состояния, описывающее кривую равновесия фаз жидкость–пар ⇄ пар, уравнения, описывающие зависимость плотности от температуры вдоль кривой равновесия и в симметричной части, диаграммы в различных сечениях термодинамической поверхности и т.д. Работа является продолжением исследований ФП и КС класса смесей спирт–углеводород [1, 2].
ЭКСПЕРИМЕНТ
Описание экспериментальной установки, методики проведения измерений р, ρ, Т, х и определения параметров ФП и КС дано в [1, 2]. Отметим только главные особенности установки. В отличие от известных аналогов, в конструкции используемой рабочей ячейки (пьезометра) в форме цилиндра из жаропрочного коррозионностойкого сплава марки ХН77ТЮР-ВД отсутствуют “балластные объемы”, т.е. все количество исследуемого вещества находится при температуре эксперимента, что необходимо для точного определения параметров ФП и КС. Для регулирования температуры воздуха в термостате используется цифровой регулятор РТП-8.3 (ООО “ИзТех”, г. Москва) в комплекте с эталонным термометром сопротивления ПТС-10М (завод “Эталон”, г. Владимир), которые обеспечивают точность поддержания температуры эксперимента ±0.01 К. Для измерения температуры воздуха и пьезометра используются также эталонные термометры сопротивления в связке с цифровым микроомметром HIOKI RM3545 (Япония, точность – 0.0001 Ом). Разность температур воздуха и пьезометра, а также воздуха и стенок термостата контролируется дифференциальными термопарами. Давление измеряется грузопоршневыми манометрами типа МП-60 и МП-600 (Шатковский приборостроительный завод, Россия) класса точности 0.01 и 0.02 соответственно. Для визуального контроля стабильности температуры и давления эксперимента используется 24-разрядный АЦП (LCARD, Россия) с выводом параметров измерения на экран компьютера. Исследуемое вещество перемешивается с помощью шарика внутри пьезометра раскачиванием термостата вокруг горизонтальной оси. Количество подаваемой в пьезометр под вакуумом смеси состава х подготавливается на аналитических весах AND (Япония, точность – 0.001 г) и уточняется после выпуска смеси при высокой температуре под вакуумом в пробоотборник из титанового сплава, помещаемый в сосуд Дьюара с жидким азотом, с последующим взвешиванием на весах при нормальных условиях.
Для измерений использованы 1-пропанол для спектроскопии и н-гептан марки ХЧ (“Компонент-Реактив”, г. Москва).
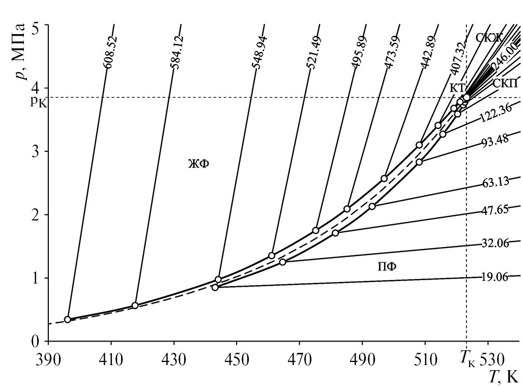
Для определения параметров ФП и особенно КС системы 1-пропанол–н-гептан методом пьезометра постоянного объема по фигуративным точкам изломов и изгибов необходимо проведение измерений р, ρ, Т, х в диапазоне температур, включающем двухфазную, однофазную (жидкую, паровую), околокритическую и сверхкритическую области. Фазовая диаграмма в (р, Т)- координатах системы 1-пропанол–н-гептан состава 0.5 мол. долей компонентов, полученная в эксперименте в диапазоне температур 393.15–623.15 К и давлений до 60 МПа, приведена на рис. 1. Такой же вид имеют фазовые диаграммы системы составов 0.2, 0.38 и 0.8 мол. долей н-гептана. Значения параметров ФП жидкость–пар → жидкость, жидкость–пар → пар, определенные по фигуративным точкам изломов (изгибов) изохор фазовых диаграмм в (р, Т)-координатах, и фактора сжимаемости Zs = psVms/ /(RTs) = ps/(ρmsRTs) приведены в табл. 1 [15].
Рис. 1. Изохоры 19.06–608.52 кг/м3 (снизу вверх) зависимостей давления от температуры системы 1-пропанол–н-гептан состава х = 0.5 мол. доли компонентов.
Таблица 1. Экспериментальные значения параметров фигуративных точек ФП и фактора сжимаемости Zs системы 1-пропанол–н-гептан в зависимости от состава х
Ts, К | ps, МПа | ρs, кг/м3 | Zs | Ts, К | ps, МПа | ρs, кг/м3 | Zs |
х = 0.2 | х = 0.5 | ||||||
463.15 | 1.32 | 29.57 | 0.789 | 521.75 | 3.73 | 181.14 | 0.380 |
484.15 | 1.97 | 47.18 | 0.706 | 522.50 | 3.78 | 196.27 | 0.356 |
498.15 | 2.57 | 65.46 | 0.647 | 522.95 | 3.82 | 212.27 | 0.332 |
511.15 | 3.35 | 94.01 | 0.571 | 523.12 | 3.84 | 230.98 | 0.307 |
520.65 | 3.99 | 132.43 | 0.474 | 523.15 | 3.85 | 244.53 | 0.290 |
525.85 | 4.36 | 172.22 | 0.394 | 523.15 | 3.85 | 246.00 | 0.288 |
527.90 | 4.51 | 217.80 | 0.321 | 523.14 | 3.85 | 250.60 | 0.283 |
528.15 | 4.54 | 255.28 | 0.276 | 523.05 | 3.85 | 261.59 | 0.271 |
528.15 | 4.54 | 258.00 | 0.273 | 522.95 | 3.84 | 274.79 | 0.258 |
527.95 | 4.53 | 296.34 | 0.237 | 522.70 | 3.84 | 290.30 | 0.244 |
527.00 | 4.48 | 326.02 | 0.213 | 522.05 | 3.81 | 308.40 | 0.228 |
524.85 | 4.33 | 360.33 | 0.188 | 521.45 | 3.78 | 319.04 | 0.219 |
521.65 | 4.13 | 391.72 | 0.165 | 519.15 | 3.66 | 344.08 | 0.197 |
512.15 | 3.58 | 433.97 | 0.132 | 513.85 | 3.38 | 381.52 | 0.166 |
501.15 | 2.95 | 473.42 | 0.102 | 508.15 | 3.10 | 407.32 | 0.144 |
489.15 | 2.41 | 507.01 | 0.080 | 496.95 | 2.57 | 442.89 | 0.113 |
480.15 | 2.05 | 527.56 | 0.066 | 484.65 | 2.11 | 473.59 | 0.089 |
460.15 | 1.43 | 563.79 | 0.045 | 474.70 | 1.79 | 495.89 | 0.073 |
446.25 | 1.10 | 586.25 | 0.034 | 459.60 | 1.39 | 521.49 | 0.056 |
430.15 | 0.79 | 611.11 | 0.025 | 442.75 | 1.01 | 548.94 | 0.040 |
420.65 | 0.65 | 624.95 | 0.020 | 418.25 | 0.58 | 584.12 | 0.023 |
х = 0.38 | 395.95 | 0.35 | 608.52 | 0.014 | |||
456.15 | 1.22 | 30.73 | 0.788 | 383.85 | 0.25 | 621.50 | 0.010 |
479.15 | 1.88 | 50.85 | 0.700 | х = 0.8 | |||
497.15 | 2.62 | 77.13 | 0.620 | 458.15 | 0.83 | 25.02 | 0.801 |
514.95 | 3.56 | 130.63 | 0.480 | 478.15 | 1.22 | 38.50 | 0.734 |
522.00 | 4.04 | 196.70 | 0.356 | 507.15 | 2.05 | 73.49 | 0.610 |
522.55 | 4.09 | 238.45 | 0.297 | 521.15 | 2.61 | 107.35 | 0.518 |
522.60 | 4.10 | 250.00 | 0.284 | 526.15 | 2.87 | 132.35 | 0.457 |
522.50 | 4.09 | 275.00 | 0.258 | 529.65 | 3.05 | 159.34 | 0.401 |
522.20 | 4.08 | 294.30 | 0.240 | 531.85 | 3.20 | 199.48 | 0.334 |
518.85 | 3.84 | 350.00 | 0.192 | 532.12 | 3.22 | 222.58 | 0.301 |
513.65 | 3.53 | 388.36 | 0.160 | 532.15 | 3.22 | 237.38 | 0.283 |
495.15 | 2.56 | 459.18 | 0.102 | 532.05 | 3.22 | 256.13 | 0.262 |
477.65 | 1.87 | 503.87 | 0.070 | 531.50 | 3.20 | 287.85 | 0.232 |
466.15 | 1.52 | 526.50 | 0.056 | 529.15 | 3.09 | 320.02 | 0.202 |
446.15 | 1.04 | 558.50 | 0.038 | 525.15 | 2.93 | 352.53 | 0.175 |
х = 0.5 | 516.65 | 2.60 | 390.79 | 0.142 | |||
433.15 | 0.73 | 19.06 | 0.853 | 489.65 | 1.77 | 463.11 | 0.086 |
458.15 | 1.18 | 32.06 | 0.775 | 469.15 | 1.30 | 498.14 | 0.061 |
478.15 | 1.67 | 47.65 | 0.707 | 442.15 | 0.81 | 535.47 | 0.038 |
491.15 | 2.11 | 63.13 | 0.656 | 429.75 | 0.65 | 551.46 | 0.030 |
506.15 | 2.79 | 93.48 | 0.567 | 408.15 | 0.45 | 576.02 | 0.021 |
514.65 | 3.26 | 122.36 | 0.499 | 395.15 | 0.36 | 590.63 | 0.017 |
519.85 | 3.59 | 156.45 | 0.426 | 384.15 | 0.29 | 603.15 | 0.014 |
АНАЛИЗ РЕЗУЛЬТАТОВ ЭКСПЕРИМЕНТА
На рис. 2–4 приведены диаграммы кривых сосуществования фаз (жидкость–пар ⇄ жидкость, жидкость–пар ⇄ пар) смеси 1-пропанол–н-гептан состава 0.5 мол. долей компонентов в виде р = f(T)ρ,х, р = f(ρ)T,х, ρ = f(T)p,х. Аналогичный вид имеют диаграммы ФП смесей и для составов 0.2, 0.38 и 0.8 мол. долей н-гептана. Фазовая диаграмма изотерм зависимости давления насыщенного пара от состава (рис. 5), построенная по данным табл. 1 и работы [10], иллюстрирует положительное отклонение ps от закона Рауля. Это объясняется изменением структур 1-пропанола и н-гептана после их смешения и изменением связей как между однородными, так и между разнородными молекулами и возникновением относительно слабого индукционного взаимодействия между разнородными молекулами раствора [16, 17]. При этом переход компонентов в пар сопровождается эндотермическим процессом (∆H > 0) и увеличением объема системы (∆V > 0), т.е. энергетически более выгодным эффектом [18]. Изотермы зависимости давления от состава вдоль кривых фазовых равновесий жидкость–пар ⇄ жидкость, по данным настоящей работы и [10], близки между собой и имеют гладкое максимальное положительное отклонение от идеальности в диапазоне составов 0.2–0.5 (рис. 5). Кривые давления вдоль равновесий жидкость–пар ⇄ пар при температурах 423.15 и 448.15 К этой работы и [10] не совпадают во всем диапазоне составов, а при температурах 473.15 и 498.15 К и в диапазоне составов 0.5–0.8, наоборот, близки. Расхождение в данных зависимости давления от состава вдоль равновесий (жидкость–пар ⇄ пар) данной работы и [10] связано с испарением ртути при температурах 423.15–523.15 К, вследствие чего увеличивается давление паровой фазы исследуемой смеси [19].
Рис. 2. Изохоры 19.06–608.52 кг/м3 зависимостей давления от температуры системы 1-пропанол–н-гептан состава х = 0.5 мол. доли компонентов: ЖФ – жидкая фаза, ПФ – паровая фаза, СКЖ – сверхкритическая жидкость, СКП – сверхкритический пар, КТ – критическая точка (Тк = 523.15 ± 0.3 К, рк = 3.85 ± 0.03 МПа, ρк = 246.00 ± 2 кг/м3).
Рис. 3. Изотермы зависимости давления от плотности системы 1-пропанол–н-гептан состава х = 0.5 мол. долей компонентов.
Рис. 4. Изобары зависимости плотности от температуры системы 1-пропанол–н-гептан состава х = 0.5 мол. долей компонентов.
Рис. 5. Фазовая диаграмма изотерм зависимости давления от состава системы 1-пропанол–н-гептан по данным настоящей работы (1–3) и [13] (4–6): 1, 4 –жидкость; 2, 5 – пар; 3, 6 – критическая кривая.
При исследовании ФП смеси состава 0.38 мол. доли н-гептана обнаружены локальные максимальные отклонения кривых давления пара при переходе жидкость–пар ⇄ пар в диапазоне температур 423.15–521.15 К, достигающие почти кривых давления насыщенного пара при переходе жидкость–пар ⇄ жидкость (см. рис. 5). Можно предположить, что компоненты смеси данного состава при температурах 423.15–521.15 К и давлениях 0.5–4.0 МПа кипят приблизительно с одинаковой скоростью, т.е. смесь 1-пропанол–н-гептан в этих условиях является азеотропной.
Кривые сосуществования фаз 1-пропанола, н-гептана и их смесей имеют одинаковый вид (рис. 6а). Это хорошо видно на рис. 6б, где кривые равновесий индивидуальных жидкостей и их смесей в диапазоне температур (Tк – 3)–Tк К симметричны относительно критических точек. Система 1-пропанол–н-гептан, в том числе и ранее исследованные бинарные системы (СnH2n+1OH–CnH2n+2) [1, 2], характеризуются свойством индивидуальной жидкой системы в критическом состоянии – соответствием критической температуры и критического давления максимуму кривой фазового равновесия (рис. 6). Этим экспериментальным фактом объясняется возможность использования математических критериев критического состояния индивидуальной жидкости
для оценки критических параметров гомогенных смесей. Графоаналитический анализ кривизны изохор и изотерм фазовых диаграмм системы 1-пропанол–н-гептан в критической области подтверждает выполнение этих критериев.
Рис. 6. Кривые сосуществования фаз (а): 1 – 1-пропанола [5], 2 – н-гептана [6], 3 – смесь при х = 0.2, 4 – 0.38, 5 – 0.5, 6 – 0.8 мол. доли; 1–2 – критическая линия; (б) – увеличенная часть графика.
В табл. 2 для сравнения приведены значения критических параметров системы 1-пропанол–н-гептан, определенные в настоящей работе и взятые из работ [12–14]. Как видно из рис. 7а, значения Тк в зависимости от состава системы, по данным этой работы и работы [10], близки между собой, но заметно отличаются от данных [9]. Значения рк, по данным настоящей работы и [9, 10], близки и линейно уменьшаются с ростом х (рис. 7б). Что касается зависимости ρк от х, данные работы [10] явно не согласуются с полученными здесь (рис. 7в), что говорит о большой погрешности определения количества смеси при заполнении рабочей ячейки. В работе [9] значения ρк не приводятся.
Таблица 2. Значения критических параметров системы 1-пропанол–н-гептан
Источник | х, мол. доли н-гептана | Tк, К | pк, МПа | ρк, кг/м3 | Zк |
Данная работа | 0.2 | 528.15 | 4.54 | 258.0 | 0.2730 |
0.38 | 522.60 | 4.10 | 250.0 | 0.2840 | |
0.5 | 523.15 | 3.85 | 246.0 | 0.2883 | |
0.8 | 532.15 | 3.22 | 237.4 | 0.2829 | |
[13] | 0.308 | 523.92 | 4.32 | 241.7 | 0.2974 |
0.466 | 522.66 | 3.98 | 247.7 | 0.2915 | |
0.670 | 528.13 | 3.52 | 236.2 | 0.2954 | |
[12] | 0.10 | 529.60 | 4.80 | – | – |
0.20 | 524.40 | 4.47 | |||
0.30 | 522.50 | 4.25 | |||
0.40 | 521.40 | 4.02 | |||
0.50 | 522.30 | 3.82 | |||
0.60 | 524.30 | 3.63 | |||
0.70 | 528.10 | 3.43 | |||
0.81 | 532.20 | 3.21 | |||
0.91 | 536.70 | 2.99 | |||
[14] | 0.8437 | 533.72 | 3.116 | ||
0.7058 | 528.63 | 3.401 | |||
0.5832 | 525.02 | 3.623 | |||
0.4736 | 523.08 | 3.837 | |||
0.3749 | 523.05 | 4.039 | |||
0.2856 | 524.22 | 4.237 | |||
0.2045 | 526.26 | 4.464 | |||
0.1304 | 529.48 | 4.710 | |||
0.0625 | 533.13 | 4.918 |
Рис. 7. Зависимости критических давления (а), температуры (б), плотности (в), фактора сжимаемости (г) от состава системы 1-пропанол–н-гептан: 1 – данная работа, 2 – [9], 3 – [10], 4 – [11].
Критическое состояние индивидуальной жидкости характеризуется максимальным значением фактора сжимаемости Zк = pк/(RTкρmк) – безразмерной величины, характеризующей влияние сил межмолекулярного взаимодействия на объемные свойства вещества [13]. Как видно из рис. 7г, величина Zк смеси 1-пропанол–н-гептан растет с увеличением концентрации н-гептана и проходит через максимум при х = 0.55, а далее с ростом х уменьшается. Это необходимо учитывать при разработке моделей уравнения для описания критического состояния смесей спирт–углеводород.
Зависимость давления насыщенных паров смесей рs = f(ρs, Ts)х вдоль кривой сосуществования фаз при х = const описывает термическое уравнение состояния вириального вида – разложение фактора сжимаемости Zs в ряд по степеням приведенной плотности ω = ρ/ρк, приведенной температуры τ = T/Tк [14]:
(1)
откуда
Здесь aij – коэффициенты уравнения, определенные методом наименьших квадратов; ρm – молярная плотность, моль/м3; R = 8.314 – универсальная (молярная) газовая постоянная, Дж/(моль К). Средняя относительная погрешность отклонений рассчитанных значений давления от экспериментальных составляет 1%.
Зависимости плотности жидкой ρж и паровой ρп фаз системы состава х = const от температуры вдоль кривой сосуществования описываются степенными функциями [15, 16]:
(2)
а в симметричной части (0 < τ < 0.01) функцией
(3)
Значения критических показателей βi и амплитуд Bi приведены в табл. 3. Средние относительные погрешности рассчитанных значений плотности от экспериментальных не превышают 0.8% (2) и 0.6% (3).
Таблица 3. Значения β и В в зависимости от состава х
х, мол. доля н-гептана | β0 | β1 | β2 | β3 | В0 | В1 | В2 | В3 |
0 | 0.370 | 0.925 | 0.740 | 1.110 | 2.528 | 1.005 | 0.217 | 0.913 |
0.2 | 0.370 | 0.925 | 0.740 | 1.110 | 2.610 | 0.851 | 0.000 | 1.227 |
0.38 | 0.370 | 0.925 | 0.740 | 1.110 | 2.577 | 0.859 | 0.065 | 0.966 |
0.5 | 0.370 | 0.925 | 0.740 | 1.110 | 2.533 | 0.812 | 0.014 | 1.057 |
0.8 | 0.370 | 0.925 | 0.740 | 1.110 | 2.549 | 0.872 | 0.000 | 1.055 |
1 | 0.370 | 0.925 | 0.740 | 1.110 | 2.319 | 0.612 | 0.286 | 0.765 |
ЗАКЛЮЧЕНИЕ
Смешение 1-пропанола и н-гептана при равновесиях жидкость–пар ⇄ жидкость, жидкость– пар ⇄ пар в диапазоне температур 423.15–513.15 К характеризуется положительным отклонением кривой давления пара от закона Рауля (∆H > 0 и ∆V > 0), т.е. энергетически наиболее выгодным эффектом.
Результаты исследований ФП жидкость–пар ⇄ жидкость, жидкость–пар ⇄ пар системы 1-пропанол–н-гептан, полученные в данной работе методом определения параметров фигуративных точек изломов (изгибов) изохор экспериментальной фазовой диаграммы р = f(Т)ρ,х, в пределах погрешностей эксперимента согласуются с данными работы [10], полученными визуальным методом.
Значения Тк системы 1-пропанол–н-гептан для составов х > 0.2 мол. доли данной работы согласуются с результатами работ [10, 11] и отличаются от значений, полученных в [9]. Зависимости ρк от х, полученные в настоящей работе и в [12–14], хорошо согласуются между собой. Зависимости rк от х из данной работы и из [10] не согласуются, что говорит о большой погрешности определения количества смеси при заполнении рабочей ячейки. В работах [9, 11] значения ρк не приведены.
Полученные экспериментальные (рs, Тs)х- и (р, ρ, Т)х-данные системы 1-пропанол–н-гептан и определенные на их основе значения параметров ФП (жидкость–пар ⇄ жидкость, жидкость– пар ⇄ пар), КС и Z дают фундаментальную информацию для суждения о структурных изменениях при смешении полярной и неполярной неограниченно растворяющихся друг в друге жидкостей и о структуре раствора, о взаимодействиях разнородных молекул. Полученные результаты могут использоваться при построении моделей потенциалов межмолекулярного взаимодействия и единой теории ФП, при расчете технологического процесса разделения азеотропных смесей спирт–углеводород, оптимизации октанового числа автомобильного топлива и т.д.
Термическое уравнение состояния вириального вида (1) может применяться для аппроксимации ограниченных экспериментальных данных о рs, ρs, Тs вдоль кривой сосуществования фаз бинарных гомогенных жидких систем, состоящих из соединений различных гомологических рядов.
Экспериментально подтверждено, что смесь 1-пропанол–н-гептан состава 0.38 мол. доли н-гептана при температурах 423.15–521.15 К и давлениях 0.5–4 МПа является азеотропной.
About the authors
Э. А. Базаев
ФГБУН ОИВТ РАН
Author for correspondence.
Email: emilbazaev@gmail.com
Институт проблем геотермии и возобновляемой энергетики
Russian Federation, МахачкалаА. Р. Базаев
ФГБУН ОИВТ РАН
Email: emilbazaev@gmail.com
Институт проблем геотермии и возобновляемой энергетики
Russian Federation, МахачкалаИ. М. Абдулагатов
ФГБУН ОИВТ РАН
Email: emilbazaev@gmail.com
Институт проблем геотермии и возобновляемой энергетики
Russian Federation, МахачкалаТ. А.-Г. Джапаров
ФГБУН ОИВТ РАН
Email: emilbazaev@gmail.com
Институт проблем геотермии и возобновляемой энергетики
Russian Federation, МахачкалаБ. К. Османова
ФГБУН ОИВТ РАН
Email: emilbazaev@gmail.com
Институт проблем геотермии и возобновляемой энергетики
Russian Federation, МахачкалаReferences
- Базаев Э.А., Базаев А.Р. Фазовые превращения и критические свойства системы C3H7OH–C5H12 // ТВТ. 2020. Т. 60. № 1. С. 38.
- Базаев Э.А., Базаев А.Р. Фазовые превращения жидкость–пар и критические свойства системы С3Н7ОН–С6Н14 // ТВТ. 2019. Т. 57. № 3. С. 390.
- Sipowska J., Wieczorek S. Vapour Pressures and Excess Gibbs Free Energies of (Propan-1-ol + n-Heptane) between 278.164 and 303.147 K // J. Chem. Thermodyn. 1980. V. 12. № 5. P. 459.
- Розенгарт М.И. Техника лабораторной перегонки и ректификации. М.: Госхимиздат, 1951. 194 с.
- Abdulagatov I.M., Bazaev A.R., Bazaev E.A., Dzhapparov T.A. PVT Properties of 1-Propanol in the Critical and Supercritical Regions // J. Supercritical Fluids. 2016. V. 117. P. 172.
- Thermophysical Properties of Fluid Systems. NIST Chemistry WebBook. SRD 69. https://webbook.nist.gov/chemistry/fluid/
- Jacobsen R.T., Penoncello S.G., Lemmon E.W. Multiparameter Equation of State. In: Equation of State for Fluids and Fluid Mixtures. Experimental Thermodynamics / Eds. Sengers J.V., Kayser R.F., Peters C.J., White H.J. Jr. 2000. V. 5. P. 849.
- Уэйлес С. Фазовые равновесия в химической технологии. Ч. 2. М.: Мир, 1989. 360 с.
- Гумеров Ф.М., Сабирзянов А.Н., Гумерова Г.И. Суб- и сверхкритические флюиды в процессах переработки полимеров. Казань: ФЭН, 2007. 336 с.
- Залепутин Д.Ю., Тилькунова Н.А., Чернышева И.В., Поляков В.С. Развитие технологий, основанных на использовании сверхкритических технологий // Сверхкритические флюиды: теория и практика. 2006. Т. 1. № 1. С. 27.
- Карпов С.А., Кунашев Л.Х., Царев А.В., Капустин В.М. Применение алифатических спиртов в качестве экологически чистых добавок в автомобильные бензины // Нефтегазовое дело. 2006. № 2.
- Wang L., Han K., Xia S., Ma P., Yan F. Measurement and Correlation of Critical Properties for Binary Mixtures and Ternary Mixtures Containing Gasoline Additives // J. Chem. Thermodyn. 2014. V. 74. P. 161.
- Zawisza A., Vejrosta J. High-pressure Liquid-vapour Equilibria, Critical State, and p(V, T, x) up to 573.15 K and 5.066 MPa for (Heptane + Propanol-1) // J. Chem. Thermodyn. 1982. V. 14. P. 239.
- Xin N., Liu Y., Guo X., Liu X., Zhang Y., He M. Determination of Critical Properties for Binary and Ternary Mixtures Containing Propanol and Alkanes Using a Flow View-type Apparatus // J. Supercrit. Fluids. 2016. V. 108. P. 35.
- Bazaev A.R., Bazaev E.A., Dzhapparov T.A., Osmanova B.K., Abdulagatov I.M. Critical, Supercritical and Phase-transition Properties of Binary 1-Propanol + n-Heptane Mixtures // J. Mol. Liquids. 2023. V. 379. 121543.
- Бэкингем Э. Основы теории межмолекулярных сил. М.: Мир, 1981.
- Стромберг А.Г., Семченко Д.П. Физическая химия. М.: Высшая школа, 2001.
- Васильева И.А., Волков Д.П., Заричняк Ю.П. Термодинамика химических и фазовых превращений. СПб.: Ун-т ИТМО, 2015.
- Циклис Д.С. Техника физико-химических исследований при высоких и сверхвысоких давлениях. Изд. 4-е, пер. и доп. М.: Химия, 1976. 432 с.
- Анисимов М.А., Рабинович В.А., Сычев В.В. Термодинамика критического состояния индивидуальных веществ. М.: Энергоатомиздат, 1990. 190 с.
- Карабекова Б.К., Базаев А.Р. Уравнение состояния для смесей вода–спирт в широком диапазоне параметров состояния // ЖФХ. 2015. Т. 89. № 9. С. 1386.
- Шиманский Ю.И., Шиманская Е.Т. Расширенное масштабное уравнение для параметра порядка бензола в области фазового равновесия жидкость–пар // ЖФХ. 1996. Т. 70. № 3. С. 443.
- Базаев А.Р., Базаев Э.А. Расчет критических показателей уравнения кривой фазовых равновесий жидкость–пар водных растворов алифатических спиртов // ЖФХ. 2013. Т. 87. № 6. С. 973.
Supplementary files









