Study of the Thermophysical Properties of Promising Thermal Insulation Materials for Space Engineering
- Authors: Alifanov O.M.1, Budnik S.A.1, Nenarokomov A.V.1, Salosina M.O.1
-
Affiliations:
- Moscow Aviation Institute (National Research University)
- Issue: Vol 61, No 4 (2023)
- Pages: 559-566
- Section: Articles
- URL: https://bakhtiniada.ru/0040-3644/article/view/232751
- DOI: https://doi.org/10.31857/S0040364423040014
- ID: 232751
Cite item
Full Text
Abstract
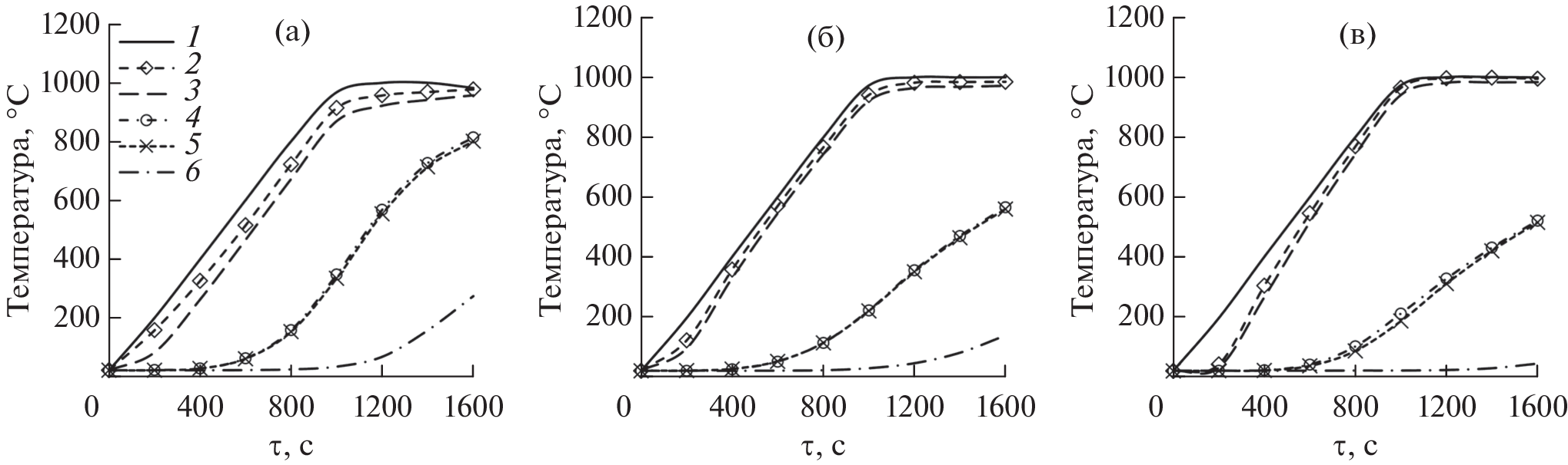
Inverse heat transfer problems are used to study the thermophysical properties of promising highly porous cellular materials. The article presents the results of thermal tests on samples of these materials with different structures determined by the diameter of the cells. The thermophysical characteristics of the samples were obtained, which can be used to construct and verify mathematical models of heat transfer in highly porous cellular materials.
About the authors
O. M. Alifanov
Moscow Aviation Institute (National Research University)
Email: salosina.m@yandex.ru
Moscow, Russia
S. A. Budnik
Moscow Aviation Institute (National Research University)
Email: salosina.m@yandex.ru
Moscow, Russia
A. V. Nenarokomov
Moscow Aviation Institute (National Research University)
Email: salosina.m@yandex.ru
Moscow, Russia
M. O. Salosina
Moscow Aviation Institute (National Research University)
Author for correspondence.
Email: salosina.m@yandex.ru
Moscow, Russia
References
- Алексеев С.В., Аксенова И.В., Иванова Е.К., Харитонова Е.В., Лохов А.А. К вопросу создания конструкции защитного теплового экрана космического аппарата “Интергелио-Зонд” // Вестник НПО им. С.А. Лавочкина. 2017. Т. 35. № 1. С. 64.
- Формалев В.Ф., Колесник С.А., Кузнецова Е.Л. Тепломассоперенос на боковых поверхностях затупленных носовых частей гиперзвуковых летательных аппаратов // ТВТ. 2021.Т. 59. № 5. С. 797.
- Горский В.В. Расчетно-теоретическая модель уноса массы углеродных теплозащитных материалов в окислительных газовых потоках // ТВТ. 2020. Т. 58. № 2. С. 249.
- Голомазов М.М., Иванков А.А. Программный комплекс для разработки систем тепловой защиты космических аппаратов, спускаемых в атмосферах планет // Вестник НПО им. С.А. Лавочкина. 2017. № 3 (37). С. 41.
- Иванков А.А. О численном решении задачи прогрева многослойной теплозащиты спускаемого аппарата с учетом уноса массы внешних и внутренних слоев покрытия // ЖВМиМФ. 2005. Т. 45. № 7. С. 1279.
- Колесников А.В., Палешкин А.В., Пронина П.Ф., Шеметова Е.В. Моделирование тепловых нагрузок на поверхность космического аппарата в имитаторе с сетчатыми модулями // ТВТ. 2022. Т. 60. № 2. С. 242.
- Алифанов О.М., Черепанов В.В. Методы исследования и прогнозирования свойств высокопористых теплозащитных материалов. М.: МАИ, 2014. 263 с.
- Резник С.В., Просунцов П.В., Михайловский К.В. Прогнозирование теплофизических и термомеханических характеристик пористых углерод-керамических композиционных материалов тепловой защиты аэрокосмических летательных аппаратов // ИФЖ. 2015. Т. 88. № 3. С. 577.
- Venkataraman S., Haftka R.T., Sankar B.V., Zhu M., Blosser M.L. Optimal Functionally Graded Metallic Foam Thermal Insulation // AIAA J. 2004. V. 42. № 11. P. 2355.
- Щурик А.Г. Искусственные углеродные материалы. Пермь: Тип. Пермск. гос. ун-та, 2009. 342 с.
- Alifanov O.M., Budnik S.A., Nenarokomov A.V., Salosina M.O. Design of Thermal Protection Based on Open Cell Carbon Foam Structure Optimization // Appl. Therm. Eng. 2020. V. 173. 115252.
- Салосина М.О., Алифанов О.М., Ненарокомов А.В. Проектирование тепловой защиты солнечного зонда с учетом структуры теплозащитных материалов // Тепловые процессы в технике. 2019. Т. 11. № 8. С. 345.
- Doermann D., Sacadura J.F. Heat Transfer in Open Cell Foam Insulation // J. Heat Transfer. 1996. V. 118. P. 88.
- Cellular and Porous Materials: Thermal Properties Simulation and Prediction / Eds. Ochsner A., Murch G.E., de Lemos M.J.S. Weinheim: Wiley‒VCH, 2008. 422 p.
- Coquard R., Rochais D., Ballis D. Conductive and Radiative Heat Transfer in Ceramic and Metal Foams at Fire Temperatures // Fire Technology. 2012. V. 48. P. 699.
- Baillis D., Raynaud M., Sacadura J.F. Determination of Spectral Radiative Properties of Open Cell Foam. Model Validation // J. Thermophys. Heat Transfer. 2000. V. 14. № 2. P. 137.
- Cunsolo S., Coquard R., Baillis D., Bianco N. Radiative Properties Modeling of Open Cell Solid Foam: Review and New Analytical Law // Int. J. Thermal Sci. 2016. V. 104. P. 122.
- Loretz M., Coquard R., Baillis D., Maire E. Metallic Foams: Radiative Properties/Comparison between Different Models // J. Quant. Spectrosc. Radiat. Transfer. 2008. V. 109. P. 16.
- Cunsolo S., Coquard R., Baillis D., Wilson K.S. Ch., Bianco N. Radiative Properties of Irregular Open Cell Solid Foams // Int. J. Thermal Sci. 2017. V. 117. P. 77.
- Samudre P., Kailas S.V. Thermal Performance Enhancement in Open-pore Metal Foam and Foam-fin Heat Sinks for Electronics Cooling // Appl. Thermal Eng. 2022. V. 205. 117885.
- Corasaniti S., Luca E. De, Gori F. Effect of Structure, Porosity, Saturating Fluid and Solid Material on the Effective Thermal Conductivity of Open-cells Foams // Int. J. Heat Mass Transfer. 2019. V. 138. P. 41.
- Marri G.K., Balaji C. Experimental and Numerical Investigations on the Effect of Porosity and PPI Gradients of Metal Foams on the Thermal Performance of a Composite Phase Change Material Heat Sink // Int. J. Heat Mass Transfer. 2021. V. 164. 120454.
- Liu H., Zhao X. Thermal Conductivity Analysis of High Porosity Structures with Open and Closed Pores // Int. J. Heat Mass Transfer. 2022. V. 183. 122089.
- Wang M., Pan N. Modeling and Prediction of the Effective Thermal Conductivity of Random Open-cell Porous Foams // Int. J. Heat Mass Transfer. 2008. V. 51. № 5–6. P. 1325.
- Алифанов О.М. Идентификация процессов теплообмена летательных аппаратов. М.: Машиностроение, 1979. 216 с.
- Алифанов О.М. Обратные задачи теплообмена. М.: Машиностроение, 1988. 279 с.
- Алифанов О.М., Артюхин Е.А., Румянцев С.В. Экстремальные методы решения некорректных задач и их приложения к обратным задачам теплообмена. М.: Наука, 1988. 285 с.
- Алифанов О.М., Будник С.А., Михайлов В.В., Ненарокомов А.В. Экспериментально-вычислительный комплекс для исследования теплофизических свойств теплотехнических материалов // Тепловые процессы в технике. 2009. Т. 1. № 2. С. 49.
- Алифанов О.М., Вабищевич П.Н., Михайлов В.В. и др. Основы идентификации и проектирования тепловых процессов и систем. М.: Логос, 2001. 400 с.
- Alifanov O.M. Inverse Problems in Identification and Modeling of Thermal Processes: Russian Contributions // Int. J. Numer. Meth. Heat Fluid Flow. 2017. V. 27. № 3. P. 711.
- Пелецкий В.Э. Исследование теплопроводности нитрида кремния // ТВТ. 1993. Т. 31. № 5. С. 727.
- Смотрицкий А.В., Зиновьев В.Е., Старостин А.А., Коршунов И.Г., Петровский В.Я. Теплофизические свойства керамик на основе нитрида кремния при высоких температурах // ТВТ. 1996. Т. 34. № 4. С. 546.
- Будник С.А., Нетелев А.В., Салосина М.О., Самарин В.В. Исследование свойств высокопористых ячеистых теплозащитных материалов // Тепловые процессы в технике. 2020. Т. 12. № 12. С. 546.
- Оцисик М.Н. Сложный теплообмен. М.: Мир, 1976. 616 с.
Supplementary files








