Intensive Emission of Droplets during Melting of Metal Samples in a High-Frequency Inductor
- Authors: Borodina T.I.1, Glazkov V.V.2, Ivochkin Y.P.1, Kubrikov K.G.1, Sinkevich O.A.1,2, Teplyakov I.O.1, Yudin S.M.1,2
-
Affiliations:
- Joint Institute for High Temperatures, Russian Academy of Sciences
- Moscow Energy Institute
- Issue: Vol 61, No 2 (2023)
- Pages: 258-264
- Section: Heat and Mass Transfer and Physical Gasdynamics
- URL: https://bakhtiniada.ru/0040-3644/article/view/138719
- DOI: https://doi.org/10.31857/S0040364423020047
- ID: 138719
Cite item
Full Text
Abstract
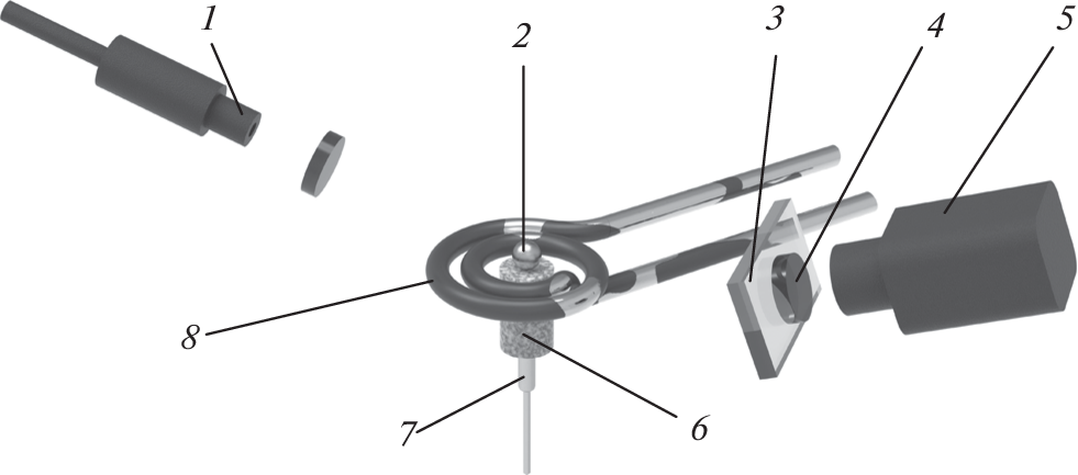
The results of experimental and computational studies of the processes accompanying the melting of metal samples heated in air using induced currents are presented. The materials used for the experimental models—spheres and cylinders with a characteristic size of 10 mm—were pure iron, nonferrous metals, and various grades of steel. An unusual physical effect observed in experiments with iron and steels and associated with the intense release of sparks from the samples was studied: small brightly glowing metal droplets. A possible thermomechanical mechanism for the emission of droplets is proposed, based on the occurrence of excess melt pressure during metal melting inside the volume of the sample, limited by the resulting solid shell consisting of iron oxides. Numerical calculations were carried out, the results of which generally confirm the hypothesis presented.
About the authors
T. I. Borodina
Joint Institute for High Temperatures, Russian Academy of Sciences
Email: vortex@iht.mpei.ac.ru
125412, Moscow, Russia
V. V. Glazkov
Moscow Energy Institute
Email: vortex@iht.mpei.ac.ru
Moscow, Russia
Yu. P. Ivochkin
Joint Institute for High Temperatures, Russian Academy of Sciences
Email: vortex@iht.mpei.ac.ru
125412, Moscow, Russia
K. G. Kubrikov
Joint Institute for High Temperatures, Russian Academy of Sciences
Email: vortex@iht.mpei.ac.ru
125412, Moscow, Russia
O. A. Sinkevich
Joint Institute for High Temperatures, Russian Academy of Sciences; Moscow Energy Institute
Email: vortex@iht.mpei.ac.ru
125412, Moscow, Russia; Moscow, Russia
I. O. Teplyakov
Joint Institute for High Temperatures, Russian Academy of Sciences
Email: vortex@iht.mpei.ac.ru
125412, Moscow, Russia
S. M. Yudin
Joint Institute for High Temperatures, Russian Academy of Sciences; Moscow Energy Institute
Author for correspondence.
Email: vortex@iht.mpei.ac.ru
125412, Moscow, Russia; Moscow, Russia
References
- Тарасов О.В., Назаров Д.А., Синицын Д.С., Мосунова Н.А., Сорокин А.А. Описание моделей горения натрия в помещениях АЭС с РУ БН интегрального кода ЕВКЛИД/V2 и результаты их валидации // Теплоэнергетика. 2022. № 7. С. 38.
- Fletcher D.F., Theofanous T.G. Heat Transfer and Fluid Dynamic Aspects of Explosive Melt−Water Interactions // Adv. Heat Transfer. 1997. V. 29. P. 129.
- Степанов Е.В. Физические аспекты явления парового взрыва. Препринт № 54503/3. М.: ИАЭ, 1991.
- Мелихов В.И., Мелихов О.И., Якуш С.Е. Гидродинамика и теплофизика паровых взрывов. М.: Изд-во ИПМех РАН, 2020. 276 с.
- Деревяга М.Е., Стесик Л.Н., Федорин Э.А. Исследование процесса воспламенения образцов титана в кислороде // ФГВ. 1976. № 4. С. 544.
- Деревяга М.Е., Стесик Л.Н. Влияние давления на скорость горения и окисления молибдена // ФГВ. 1981. № 2. С. 64.
- Zyszkowski W. Study of the Thermal Explosion Phenomenon in Molten Copper–Water System // Int. J. Heat Mass Transfer. 1976. V. 19. P. 849.
- Herlach D.M., Galenko P., Holland-Moritz D. Metastable Solids from Undercooled Melts. Pergamon Materials Series. Elsevier, 2007. V. 10. 432 p.
- Khatsayuk M., Demidovich V., Timofeev V. The Destruction Model of Cylindrical Billet’s Hard Shell During Heating and Melting by Internal Sources // Proc. UIE 2021 XIX Int. UIE Congress on Evolution and New Trends in Electrothermal Processes. Czeck Republic, 2021. P. 73.
- Vinogradov D.A., Ivochkin Yu.P., Kubrikov K.G., Sinkevich O.A., Teplyakov I.O. Study of the Features of Behavior of Overheated Liquid-metal Drops in Gas Media, Water, and Electromagnetic Field of the Inductor // J. Phys.: Conf. Ser. 2019. V. 1359. 012037.
- Магунов А.Н. Спектральная пирометрия объектов с неоднородной температурой // ЖТФ. 2010. Т. 80. № 7. С. 78.
- Шлугер М.А., Ажогин Ф.Ф., Ефимов Е.А. Коррозия и защита металлов. М.: Металлургия, 1981. 216 с.
- Физико-химические свойства окислов. Спр. / Под ред. Самсонова Г.В. М.: Металлургия, 1978. 472 с.
- Kislyakova K.G., Noack L., Johnstone C.P., Zaitsev V.V., Fossati L. Khodachenko M.L., Odert P., Güdel M. Magma Oceans and Enhanced Volcanism on Trappist-1 Planets Due to Induction Heating // Nat. Astron. 2017. V. 1. P. 878.
Supplementary files












