Dependences of Flame Propagation Characteristics on Heterogeneous Reactions of Intermediate Particles
- Authors: Azatyan V.V.1, Prokopenko V.M.2, Son E.E.3, Abramov S.K.2
-
Affiliations:
- Scientific Research Institute for Systemic Research, Russian Academy of Sciences
- Institute of Structural Macrokinetics and Problems of Materials Science Russian Academy of Sciences
- Joint Institute for High Temperatures, Russian Academy of Sciences
- Issue: Vol 61, No 1 (2023)
- Pages: 91-97
- Section: Heat and Mass Transfer and Physical Gasdynamics
- URL: https://bakhtiniada.ru/0040-3644/article/view/138644
- DOI: https://doi.org/10.31857/S0040364423010143
- ID: 138644
Cite item
Full Text
Abstract
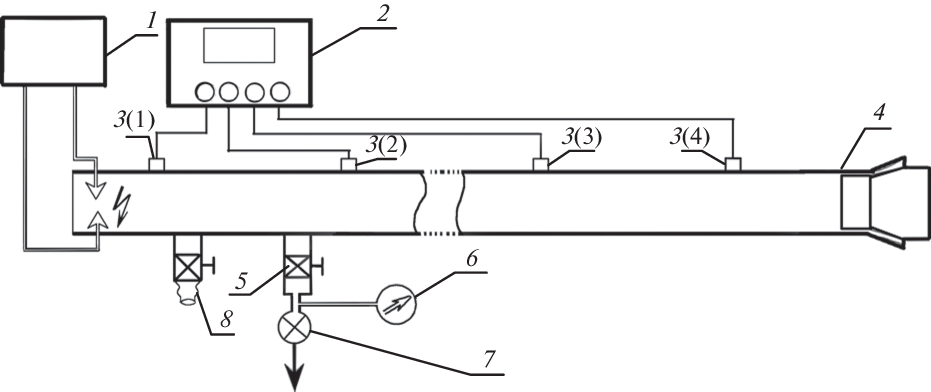
The example of a model reaction of combustion of hydrogen with oxygen is used to show that the flame propagation rate, its thermal mode, and conditions for transition to an explosion strongly depend on the rate of heterogeneous reactions of free atoms and radicals. There is a correlation between the efficiency of heterogeneous termination of reaction chains and the flame propagation rate. The reactions of atoms and radicals on the surface also largely determine the concentration and temperature gradients in the flame. It was discovered that a flame has a strong effect on the chemical properties of the surface and its role in combustion.
About the authors
V. V. Azatyan
Scientific Research Institute for Systemic Research, Russian Academy of Sciences
Email: vylenazatyan@yandex.ru
Moscow, Russia
V. M. Prokopenko
Institute of Structural Macrokinetics and Problems of Materials Science Russian Academy of Sciences
Email: vylenazatyan@yandex.ru
Chernogolovka, Russia
E. E. Son
Joint Institute for High Temperatures, Russian Academy of Sciences
Email: vylenazatyan@yandex.ru
125412, Moscow, Russia
S. K. Abramov
Institute of Structural Macrokinetics and Problems of Materials Science Russian Academy of Sciences
Author for correspondence.
Email: vylenazatyan@yandex.ru
Chernogolovka, Russia
References
- Зельдович Я.Б., Баренблат Г.И., Либрович В.Б., Махвиладзе Г.М. Математическая теория горения. М.: Наука, 1980. 478 с.
- Lewis B., Von Elbe G. Combustion, Explosions, and Flame in Gases. N.Y.‒London: Acad. Press, 1987. 592 p.
- Горение. В кн.: Физическая энциклопедия. Т. 1. М.: Сов. энц., 1988. С. 515.
- Горение. В кн.: Большой энциклопедический словарь “Физика”. М.: Большая Рос. энц., 1998. С. 134.
- Гельфанд Б.Е. Пределы детонации воздушных смесей с двухкомпонентными газообразными горючими веществами // ФГВ. 2002. Т. 38. № 5. С. 101.
- Семенов Н.Н. Избранные труды. Т. 3. М.: Наука, 2005.
- Law Ch. K. Combustion Physics. Cambridge, N.Y.: Cambridge University Press, 2006. 722 p.
- Франк-Каменецкий Д.А. Основы макрокинетики, диффузия, теплопередача в химической кинетике. Долгопрудный: Интеллект, 2008. 407 с.
- Kim N.I. Effect of an Inlet Temperature Disturbance on the Propagation of Methane-Air Premixed Flames in Small Tubes // Comb. Flame. 2009. V. 156. № 7. P. 1332.
- Кукин П.П., Юшин В.В., Емельянов С.Г. Теория горения и взрыва. М.: Юрайт, 2012. 435 с.
- Палесский Ф.С., Фурсенко Р.В., Минаев С.С. Моделирование фильтрационного горения газов в цилиндрической пористой горелке // ФГВ. 2014. Т. 50. № 6. С. 3.
- Дубровский А.В., Иванов В.С., Зангиев А.Э., Фролов С.М. Трехмерное численное моделирование характеристик прямоточной воздушно-реактивной силовой установки непрерывного действия // Хим. физика. 2016. Т. 35. № 6. С. 49.
- Сабденов К.И. Аналитическое исследование гидродинамической устойчивости в пламени // Хим. физика. 2017. Т. 36. № 11. С. 39.
- Бабкин В.С., Сеначин П.К. Процессы горения газов в ограниченных объемах. Барнаул: Изд-во Алт. ГТУ, 2017. 143 с.
- Азатян В.В. Неизотермические режимы разветвленно-цепных процессов и их химическое регулирование // Успехи химии. 1999. Т. 62. № 12. С. 1122.
- Азатян В.В., Вагнер Г.Г., Ведешкин Г.К. Влияние химически активных добавок на детонацию в смесях водорода с воздухом // ЖФХ. 2004. Т. 78. № 6. С. 1036.
- Азатян В.В., Павлов В.А., Шаталов О.П. Ингибирование горения и детонации водородо-воздушных смесей за ударными волнами // Кинетика и катализ. 2005. Т. 46. № 6. С. 835.
- Азатян В.В. Научные основы и эффективные химические методы управления горением, взрывом и детонацией газов // ЖФХ. 2011. Т. 85. № 8. С. 1405.
- Азатян В.В. Цепные реакции горения, взрыва и детонации в газах. Химические методы управления. М.: Изд-во РАН, 2020. 360 с.
- Baulch D.L., Bowman C.T., Cobos C.J. et al. Evaluated Kinetic Data for Combustion Modeling: Supplement II // J. Phys. Chem. Ref. Data. 2005. V. 34. № 3. P. 757.
- Srinivan N.K., Michael J.V. Experimental and Theoretical Rate Constants for the Reactions CH4 + O2 → CH3 + + HO2 // Comb. Flame. 2007. V. 149. № 1/2. P. 104.
- Азатян В.В. Длина реакционных цепей и температурная зависимость скорости цепных реакций // Кинетика и катализ. 1977. Т. 18. № 2. С. 282.
- Азатян В.В., Рубцов Н.М., Черныш В.И., Цветков Г.И. Вытеснение атомов металлов из их солей атомарным водородом // Кинетика и катализ. 2006. Т. 47. № 3. С. 333.
- Азатян В.В., Прокопенко В.М. Кинетические особенности воспламенения газов при нагревании // ЖФХ. 2018. Т. 92. № 12. С. 1925.
Supplementary files








