Кинетика десорбции катионов тяжелых металлов на фосфате титана
- Authors: Маслова М.В.1, Евстропова П.Е.1, Мудрук Н.В.1, Семушина Ю.П.1
-
Affiliations:
- ФГБУН Федеральный исследовательский центр “Кольский научный центр Российской академии наук”
- Issue: Vol 58, No 6 (2024)
- Pages: 784-790
- Section: Articles
- Published: 15.12.2024
- URL: https://bakhtiniada.ru/0040-3571/article/view/283286
- DOI: https://doi.org/10.31857/S0040357124060115
- EDN: https://elibrary.ru/VHDIBZ
- ID: 283286
Cite item
Full Text
Abstract
Исследована кинетика десорбции двухвалентных ионов (Cu2+, Mn2+, Co2+, Ni2+) на аморфном фосфате титана. Установлено, что десорбции катионов тяжелых металлов на фосфате титана реализуются по смешанному механизму: внешнедиффузионному и внутридиффузионному. Рассчитаны коэффициенты диффузии, и показано, что диффузия в порах сорбента протекает без стерических затруднений. Для всех изученных ионов химическое взаимодействие адекватно описывается реакцией псевдовторого порядка. Доказано, что скорость и селективность десорбции во многом определяются эффективным радиусом гидратированных ионов.
Keywords
Full Text
ВВЕДЕНИЕ
В последние годы все большее внимание уделяется экологическим проблемам, связанным с загрязнениями поверхностных и подземных вод тяжелыми металлами. Риск токсичности этих металлов увеличивается за счет накопления в живых организмах с последующей биомагнификацией в пищевой цепи [1, 2], что может привести к долговременному токсическому воздействию на человека и животных даже в низких концентрациях. Основными источниками загрязнения окружающей среды и водных объектов являются предприятия горнодобывающей и горноперерабатывающей промышленности, а также текстильное, лакокрасочное и гальваническое производство [3–4].
Для удаления катионов тяжелых металлов из водных сред разработан ряд технологий, основанный на химическом осаждении, коагуляции, адсорбции, мембранном разделении [5–8]. Осаждение, флокуляция, коагуляция, несмотря на простоту применения, сопряжены с образованием вторичных отходов, требующих утилизации. Использование мембранных процессов для удаления тяжелых металлов демонстрирует более высокие показатели в отношении эффективности очистки воды. Однако короткий срок службы мембраны и зарастание являются серьезными недостатками этого метода [9]. Ионный обмен является хорошо управляемым процессом и может быть использован для удаления загрязняющих веществ различной концентрации до норм предельно допустимых концентраций (ПДК) [10].
Анализ литературных данных показывает, что среди неорганических ионообменных материалов соли четырехвалентных металлов могут успешно использоваться для удаления катионов металлов из водных сред [11].
При использовании ионообменных сорбентов на практике функциональные свойства материала, такие как емкость, селективность, кинетика обмена и возможность регенерации, играют определяющую роль.
В данной работе в качестве ионообменного материала использовался фосфат титана, который проявляет высокую сорбционную емкость по отношению к катионам тяжелых металлов [12]. Несмотря на то, что имеется достаточно много публикаций по синтезу фосфата титана и изучению его сорбционных свойств, информация по регенерации материала практически отсутствует, хотя кинетика десорбции ионов металлов оказывает большое влияние на весь технологический процесс. Знание скорости контролирующей стадии десорбции является решающим фактором для выбора оптимальных условий проведения технологического процесса.
ЭКСПЕРИМЕНТАЛЬНАЯ ЧАСТЬ
Материалы и методы. Для синтеза фосфата титана (TiP) использовали сульфат оксотитана TiOSO4·H2O (СОТ). Это соединение хорошо известно как коммерческий реагент, а также может быть получено как побочный продукт переработки различных титансодержащих руд. В нашей работе СОТ был получен из титанита (CaTiSiO5), который представляет собой техногенный отход переработки апатит-нефелиновых руд [13]. В качестве фосфорсодержащего агента использовали 10% фосфорную кислоту. Синтез TiP проводили в соответствии с методикой [14]. Для этого 10 г СОТ загружали в раствор H3PO4 при мольном отношении Ti : P = 1 : 1 и полученную суспензию выдерживали 5 ч при постоянном перемешивании и температуре 60°С. Полученный TiP отделяли фильтрованием и промывали H2O при соотношении Т : Ж = 1 : 20.
В качестве исследуемых катионов тяжелых металлов были выбраны катионы марганца, меди, кобальта и никеля. Нитратные соли соответствующих металлов растворяли в воде и готовили растворы концентрации 10 моль∙л–1 по металлу. Сорбцию проводили в статических условиях при Т : Ж = 1 : 200 в течение 24 ч. Насыщенный сорбент отделяли фильтрованием и проводили десорбцию 0.1 М HCl при Т : Ж = 1 : 50. Концентрацию тяжелых металлов в фильтрате после сорбционных/десорбционных экспериментов определяли методом атомно-адсорбционной спектрометрии на спектрометре AAS 300 Perkin-Elmer.
Количество сорбированного иона металла определяли по разности концентраций ионов металлов в растворе до и после сорбции. Величину сорбции qeад (ммоль г–1) рассчитывали по формуле:
(1)
Величину десорбции qeдес (ммоль г–1) рассчитывали по формуле:
(2)
где С0 и Се – исходная и равновесная концентрации металла в растворе, ммоль л–1; Сd – концентрация десорбата в растворе, ммоль∙л–1; V и Vd – объем раствора на сорбцию и десорбцию соответственно, мл; m – навеска сорбента, г.
Кинетику десорбции катионов металлов изучали при температуре 25°С методом ограниченного объема. Процесс десорбции вели при интенсивном перемешивании, скорость вращения мешалки составляла 300 об∙мин–1. Методом отдельных навесок через определенные интервалы времени устанавливали характер изменения концентрации раствора, находящегося в контакте с ионитом до установления равновесия. Концентрацию сорбата во всех точках объема раствора и непосредственно у поверхности сорбента при данных скоростях считали постоянной, т.е. рассматривали диффузию из хорошо перемешиваемого раствора. Данный метод подразумевает достаточно высокую скорость переноса вещества из раствора к поверхности сорбента.
Для моделирования кинетики десорбции катионов металлов на фосфате титана использовали диффузионные модели Бойда псевдопервого порядка Лагергрена, псевдовторого порядка Хо и Маккея и модель Еловича.
Диффузионное уравнение Бойда (3) целесообразно использовать для описания случаев внутридиффузионного лимитирования кинетики сорбции и расчета эффективных коэффициентов диффузии [15].
(3)
где = B – кинетический коэффициент; F – степень достижения равновесия; t – время, с; r – средний радиус зерна сорбента, м; D – эффективный коэффициент диффузии, м2 с–1; t – время контакта сорбента с раствором адсорбата; n – натуральные числа от 1 до бесконечности.
Степень достижения равновесия в системе F рассчитывали по формуле (4)
(4)
где Сt – количество сорбированного вещества в момент времени t, мг∙г–1; Сe – количество сорбированного вещества в состоянии равновесия, мг∙г–1.
Эффективный коэффициент диффузии Di рассчитывали по формуле (5) [16]:
(5)
где r – средний радиус частиц сорбента, м.
Кинетический коэффициент В рассчитывали по уравнению (6) [17]:
(6)
Для расчета пленочной диффузии использовали выражение (7) [18]:
(7)
где t – время контакта, мин; c и m – концентрации десорбата в сорбенте и растворе соответственно, мг г–1.
Для выявления вклада химического взаимодействия в общую скорость процесса десорбции использовали кинетические модели псевдопервого, псевдовторого порядка и модель Еловича. Кинетическое уравнение псевдопервого порядка Лагергрена можно представить в виде (8) [19]:
(8)
где qe и qt – количество металла, десорбированное при равновесии и за определенный промежуток времени t, мг∙г–1; k1 – константа скорости, мин–1. Это уравнение описывает случаи пленочной диффузии, контролирующей скорость адсорбции в течение нескольких первых минут в экспериментах с перемешиванием.
Уравнение псевдовторого порядка Хо и Маккея широко используется для описания кинетических закономерностей адсорбции. В интегрированной форме это уравнение может быть представлено следующим образом [20]:
(9)
где k2 – константа скорости, г∙мг–1 мин–1. Решение уравнения в координатах tqt–1 – t позволяет найти значения k2 и qe.
Экспоненциальная модель Еловича описывает случаи гетерогенной хемосорбции на твердых поверхностях. Уравнение Еловича, упрощенное Ченом и Клейтоном [21], имеет следующий вид:
(10)
где α – начальная скорость десорбционного процесса, мг∙г–1 мин–1; β – константа адсорбции, г∙мг–1. Линеаризация уравнения в координатах qt – lnt позволяет определить α и β. Пригодность использования кинетических моделей определяли методом линеаризации данных в координатах их интегральных уравнений и статистического анализа с определением коэффициентов детерминации.
РЕЗУЛЬТАТЫ И ИХ ОБСУЖДЕНИЕ
Экспериментальные кинетические кривые десорбции исследуемых ионов с фосфата титана указывают на быстрое протекание процесса (рис. 1). Согласно полученным результатам, равновесие десорбции достигается в течение 7–15 мин (F = 1). Большая скорость десорбции может указывать как на быстрый массоперенос ионов десорбата из раствора к активным центрам насыщенного сорбента, так и на быстрое их химическое связывание с ионогенными группами на поверхности ионита из-за большой разницы между концентрацией активных участков сорбента и десорбата в пограничном слое.
Рис. 1. Кинетические кривые десорбции катионов тяжелых металлов на фосфате титана: 1 – Cu2+, 2 – Ni2+, 3 – Co2+, 4 – Mn2+.
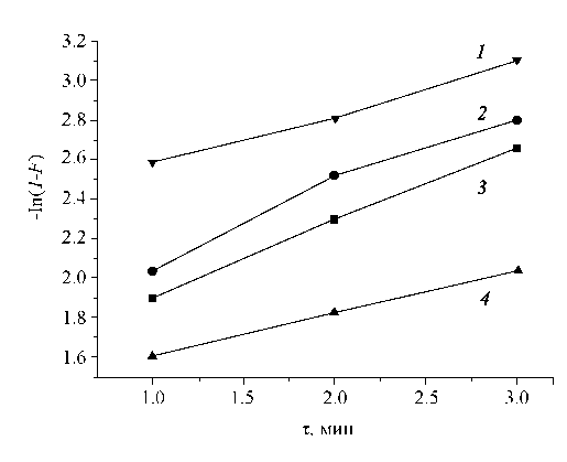
В рамках диффузионной модели Бойда использовали количественный подход для разграничения внешне- и внутридиффузионного лимитирования десорбции, предполагающий анализ кинетических данных в координатах –ln(1 – F)– – t и Bt – t соответственно. Установлено, что для экспериментальных данных, соответствующих сорбции в течение первых 3 минут, зависимость, построенная в координатах –ln(1 – F) от t, линейна (рис. 2). При внешнедиффузионном механизме кинетики процесс выравнивания концентрации в приповерхностном слое жидкости (диффузионном слое) осуществляется намного быстрее, чем диффузия в твердой фазе, поэтому градиенты концентрации появляются только в зерне. Высокие значения коэффициента корреляции R2 (< 0.9) указывают на то, что диффузия в пленке может является стадией, влияющей на скорость процесса в начальный период времени.
Рис. 2. Кинетика пленочной диффузии в координатах уравнения Бойда десорбции катионов тяжелых металлов на фосфате титана: 1 – Cu2+, 2 – Ni2+, 3 – Co2+, 4 – Mn2+.
Константа скорости по модели внешней диффузии k может быть определена по наклону линейной зависимости (табл. 1). Близкие значения k для исследуемых катионов указывают на отсутствие существенных препятствий при переносе ионов для пленочной диффузии. Следует отметить, что все прямые не пересекают начало координат, что обусловлено влиянием внутридиффузионного процесса, когда диффузия в порах сорбента оказывает влияние на процесс десорбции.
Таблица 1. Кинетические параметры внешней и внутренней диффузии десорбции катионов тяжелых металлов на фосфате титана
Катионы металлов | |||||
Кинетическая модель | Параметры | Cu | Ni | Co | Mn |
Внешняя диффузия | k, мин–1 | 0345 | 0.382 | 0.380 | 0.199 |
R2 | 0.989 | 0.954 | 0.998 | 0.999 | |
Внутренняя диффузия | B | 0.292 | 0.262 | 0.301 | 0.195 |
R2 | 0.960 | 0.998 | 0.985 | 0.994 | |
Di × 10–9, м2·с–1 | 0.329 | 0.265 | 0.275 | 0.204 | |
Dio × 10–9, м2·с–1 | 0.753 | 0.718 | 0.702 | 0.592 | |
Поскольку внешняя диффузия для исследуемых катионов происходит в течение первых 3 мин, принимается, что стадия внутренней диффузии длится все остальное время. При описании кинетики сорбции с учетом внутридиффузионного механизма использовали модели гелиевой диффузии. Зависимости Bt = f(t) (рис. 3) представляют собой прямую линию, что подтверждает гелевую диффузию десорбции на фосфате титана. По тангенсу угла наклона рассчитали константу скорости внутренней диффузии В (табл. 1). Рассчитанные значения эффективного коэффициента диффузии Di отражают диффузионные особенности транспорта катионов металлов при десорбции. Учитывая рассчитанные значения коэффициентов самодиффузии катионов металлов Dio, можно предположить, что для всех исследуемых катионов диффузия в порах протекает без стерических затруднений. Полученные результаты свидетельствуют, что процесс десорбции катионов тяжелых металлов на фосфате титана реализуется по двум механизмам: внешнедиффузионному и внутридиффузионному.
Рис. 3. Кинетика внутренней диффузии в координатах уравнения Бойда десорбции катионов тяжелых металлов на фосфате титана: 1 – Cu2+, 2 – Ni2+, 3 – Co2+, 4 – Mn2+.
Для того чтобы определить вклад химического взаимодействия в общую скорость процесса, были применены модели реакций псевдопервого и псевдовторого порядка и модель Еловича.
Уравнение псевдопервого порядка адекватно описывает десорбцию, когда значительное влияние на процесс оказывает диффузия в пленке. Уравнение псевдовторого порядка позволяет учитывать взаимодействия сорбент–сорбат, а также межмолекулярные взаимодействия адсорбированных частиц.
Результаты анализа выбранных моделей приведены в табл. 2. Очевидно, что для модели псевдопервого порядка значения сорбционной емкости qe, найденные из уравнения зависимости lg(qe – qt) от t, не согласуются с данными, полученными из экспериментальных точек (qexp). На основании этого можно сделать заключение, что реакция псевдопервого порядка не является адекватной для описания изучаемого процесса. Наблюдаемая линейность зависимости по модели реакции псевдопервого порядка обусловлена идентичностью математического описания с уравнением для пленочной диффузии.
Таблица 2. Кинетические параметры десорбции катионов тяжелых металлов на фосфате титана
Кинетическая модель | Параметры | Cu | Ni | Co | Mn |
Псевдопервый порядок | qexp, ммоль г–1 | 0.009 | 0.010 | 0.011 | 0.015 |
qе, ммоль г–1 | 5.432 | 5.512 | 5.241 | 2.74 | |
k1, мин–1 | 1.07 | 0.893 | 0.70 | 0.55 | |
R2 | 0.954 | 0.973 | 0.966 | 0.993 | |
Псевдовторой порядок | qе, ммоль г–1 | 0.009 | 0.010 | 0.011 | 0.015 |
k2, г·моль–1 мин–1 | 48.67 | 44.43 | 38.64 | 21.93 | |
R2 | 0.830 | 0.826 | 0.823 | 0.850 | |
Модель Еловича | α, ммоль г–1 мин–1 | 0.51 | 0.59 | 0.75 | 1.72 |
β, ммоль мг–1 | 18494 | 18232 | 15163 | 9395 | |
R2 | 0.986 | 0.969 | 0.975 | 0.995 |
Для модели реакции псевдовторого порядка значения десорбционной емкости при достижении равновесия qe совпадают с экспериментально полученными значениями qexp. Высокие значения константы скорости реакции указывают на неосложненный отрыв ионов с поверхности сорбента.
В то же время, исходя из значений коэффициента детерминации, полученные экспериментальные данные лучше всего описываются моделью Еловича, которая используется для описания процессов сорбции/десорбции веществ в гетерогенной системе. Поскольку исследуемый фосфат титана является аморфным материалом, структура сорбента неоднородна и возможно экспоненциальное изменение скорости десорбции во времени. Согласно полученным результатам, начальная скорость десорбции α на несколько порядков меньше, чем константа десорбции β, что свидетельствует о быстрой десорбции исследуемых катионов. Самое меньшее значение константы десорбции у катионов марганца, что может быть связано с прочностью связи катионов марганца с функциональными группами.
Проводя анализ десорбции в зависимости от природы катионов металлов и сопоставление их кристаллохимических ионных радиусов, можно полагать, что высокие значения константы десорбции катионов кобальта и никеля могут быть обусловлены большими гидратными оболочками, и, следовательно, эти ионы занимают в основном поверхностные сорбционные центры.
По величине удельной поверхности и предельной сорбции катионов металла оценивали посадочную площадку (S) и радиус (r) сорбированного катиона:
(11)
где Sуд – удельная поверхность сорбента, м2∙г–1; Г – максимальная сорбционная емкость по катиону металла, ммоль г–1; Na – число Авогадро, моль–1.
При оценке радиуса сорбированного катиона исходили из следующих предположений:
(12)
(13)
Для расчета радиуса катионов в фазе сорбента рассчитаны посадочные площадки катионов, исходя из данных удельной поверхности сорбента 127.9 м2∙г–1и предельного значения сорбционной способности фосфата титана по данному катиону. Полученные значения приведены в табл. 3.
Таблица 3. Размер ионного и сорбированного радиуса ионов металла при 298 K
Me ион | Ионный радиус rcr, Å | Радиус сорбированного иона rs, Å | |
Co2+ | 0.78 | 2.17 | 2.78 |
Ni2+ | 0.74 | 2.21 | 2.98 |
Cu2+ | 0.80 | 1.86 | 2.32 |
Mn2+ | 0.91 | 1.91 | 2.09 |
Очевидно, что катионы Co2+ и Ni2+ сорбируются в более гидратированном состоянии, при этом более короткодействующее ион-дипольное взаимодействие иона и молекул гидратной оболочки деполяризует сорбируемый катион, и действующие на большие расстояния ион-ионные взаимодействия становятся более слабыми. Это объясняет высокую селективность данных ионов к десорбции. Катионы марганца, имеющие самое низкое значение , а следовательно, самую прочную связь с функциональными группами, наименее селективны к десорбции.
ЗАКЛЮЧЕНИЕ
В результате обработки кинетических кривых показано, что механизм процесса десорбции имеет сложный характер, при этом влияние оказывают как пористая структура сорбента, так и взаимодействия сорбент–сорбат. Равновесие в системе десорбирующий раствор–сорбент устанавливается в течение 10–15 мин, в то время как при использовании классических сорбентов равновесие может устанавливаться от нескольких десятков часов до нескольких дней. Значения эффективных коэффициентов диффузии достаточно высоки (2–3×10–8 м2∙с–1). В скорость сорбционного процесса вносят вклад как диффузионное лимитирование (внутри- и внешнедиффузионное), так и скорость химической стадии адсорбции, что показано применением модели Еловича. Разделить вклад диффузии и химической стадии на основании формальных кинетических уравнений достаточно сложно.
Исследования выполнены при финансовой поддержке Российского научного фонда (РНФ) в рамках научного проекта № 23-23-00187.
About the authors
М. В. Маслова
ФГБУН Федеральный исследовательский центр “Кольский научный центр Российской академии наук”
Author for correspondence.
Email: marmaslova@yandex.ru
Институт химии и технологии редких элементов и минерального сырья им. И.В. Тананаева
Russian Federation, Апатиты, Мурманская обл.П. Е. Евстропова
ФГБУН Федеральный исследовательский центр “Кольский научный центр Российской академии наук”
Email: marmaslova@yandex.ru
Институт химии и технологии редких элементов и минерального сырья им. И.В. Тананаева
Russian Federation, Апатиты, Мурманская обл.Н. В. Мудрук
ФГБУН Федеральный исследовательский центр “Кольский научный центр Российской академии наук”
Email: marmaslova@yandex.ru
Институт химии и технологии редких элементов и минерального сырья им. И.В. Тананаева
Russian Federation, Апатиты, Мурманская обл.Ю. П. Семушина
ФГБУН Федеральный исследовательский центр “Кольский научный центр Российской академии наук”
Email: marmaslova@yandex.ru
Институт химии и технологии редких элементов и минерального сырья им. И.В. Тананаева
Russian Federation, Апатиты, Мурманская обл.References
- Lata S., Singh P.K., Samadder S.R. Regeneration of adsorbents and recovery of heavy metals: a review. // Int. J. Sci. Technol. 2015. V. 12, P. 1461.
- Renge V.C., Khedkar S.V., Pandey Shraddha V. Removal of heavy metals from wastewater using low cost adsorbents: a review // Sci. Rev. Chem. Commun. J. 2012. № 2(4). Р. 580.
- Bazrafshan E., Mohammadi L., Ansari–Moghaddam A., Mahvi A.H. Heavy metals removal from aqueous environments by electrocoagulation process – a systematic review // Journal of Environmental Health Science & Engineering. 2015. № 13. Р. 74.
- Barakat M.A. New trends in removing heavy metals from industrial wastewater // Arabian Journal of Chemistry. 2011. № 4. Р. 361.
- Maftouh A., El Fatni O., El Hajjaji S., Jawish M.W., Sillanpää M. Comparative review of different adsorption techniques used in heavy metals removal in water // Biointerface Research in applied Chemistry. 2023. V. 13. № 4. Р. 387.
- Naga B.A., Raja S.T., Srinivasa R.D., Suresh K.G., Krishna M.G.V. Experimental and statistical analysis of As(III) adsorption from contaminated water using activated red mud doped calcium-alginate beads // Environmental Technology. 2021. № 42(12). Р. 1810.
- Chang Q., Wang G. Study on the macromolecular coagulant PEX which traps heavy metals // Chem Eng Sci. 2007. № 62. Р. 4636.
- Korus I., Loska K. Removal of Cr(III) and Cr(VI) ions from aqueous solutions by means of polyelectrolyte-enhanced ultrafiltration // Desalination. 2009. № 5. Р. 247.
- Shrestha R., Ban S., Devkota S., Sharma S., Joshi R., Tiwari A.P., Kim H.Y., Joshi M.K. Technological trends in heavy metals removal from industrial wastewater: A review // Journal of Environmental Chemical Engineering. 2021. № 9. Р. 105688.
- Burakov A.E., Galunin E.V., Burakova I.V., Kucherova A.E., Agarwal S., Tkachev A.G., Gupta V.K. Adsorption of heavy metals on conventional and nanostructured materials for wastewater treatment purposes: A review // Ecotoxicology and Environmental Safety. 2018. № 148. Р. 702.
- Jia K., Pan B., Zhang Q., Zhang W., Jiang P., Hong Ch., Pan B., Zhang Q. Adsorption of , and from waters by amorphous titanium phosphate // Journal of Colloid and Interface Science. 2008. № 318. Р. 160.
- Maslova M., Ivanenko V., Yanicheva N., Gerasimova L. The effect of heavy metal ions hydration on their sorption by a mesoporous titanium phosphate ion-exchanger // J. Water Process Eng. 2020. № 35. Р. 101233.
- Gerasimova L.G., Maslova M.V., Shchukina E.S. The technology of sphene concentrate treatment to obtain titanium salts // Theor. Found. Chem. Eng. 2009. № 43. Р. 464.
- Maslova M., Mudruk N., Ivanenko V., Gerasimova L. Highly efficient synthesis of titanium phosphate precursor for electroactive materials // Ceramic International. 2022. № 48. Р. 2257.
- Viegas R.M.C., Campinas M., Costa H., Rosa M.J. How do the HSDM and Boyd’s model compare for estimating intraparticle diffusion coefficients in adsorption processes // Adsorption. 2014. № 20.
- Boyd G.E., Adamson A.W., Myers L.S. The Exchange Adsorption of Ions from Aqueous Solutions by Organic Zeolites. II. Kinetics // J. Am. Chem. Soc. 1947. № 69. Р. 2836.
- Znamensky Y.P. Apprecating expression for solving Boyd’s diffusion equation // Russ. J. Phys. Chem. 1993. № 679. Р. 1924.
- Rieman W., Walton H.F. Ion Exchange in Analytical Chemistry. V. 38. Oxford.: Pergamon Press.1970.
- Sparks D.L., Suarez D.L., Aharoni C., Sparks D.L. Kinetics of soil chemical reactions – A theoretical treatment. In. 1991.
- Douven S., Paez C.A., Gommes, C.J. The range of validy of sorption kinetic models // J. Colloid Interface Sci. 2015. № 448. Р. 437.
- Liu Ch., Zhao X., Zhu H., Yue X. Adsorption and desorption of Cu / Zn ions with triethylenetetramine-functionalized adsorbents: kinetics study // Applied Mechanics and Materials. 2012. V. 209–211. Р. 1999.
Supplementary files





