Локализация паров иодида цезия на керамических блочно-ячеистых контактных элементах в среде азота
- Authors: Гаспарян М.Д.1, Грунский В.Н.1, Мочалов Ю.С.1, Суханов Л.П.2, Титов А.В.2, Тищенко С.В.1, Обухов Е.О.1
-
Affiliations:
- Российский химико-технологический университет им. Д.И. Менделеева
- Акционерное общество “Прорыв”
- Issue: Vol 58, No 3 (2024)
- Pages: 382-390
- Section: Articles
- Published: 22.11.2024
- URL: https://bakhtiniada.ru/0040-3571/article/view/271086
- DOI: https://doi.org/10.31857/S0040357124030125
- EDN: https://elibrary.ru/bviebv
- ID: 271086
Cite item
Full Text
Abstract
Исследована эффективность раздельного улавливания оксида цезия и молекулярного иода, образующихся при разложении иодида цезия, в процессе высокотемпературной хемосорбции на керамических высокопористых блочно-ячеистых контактных элементах в среде азота. Определена динамическая сорбционная емкость контактных элементов с нанесенным алюмосиликатным сорбционно-активным слоем и с активным слоем нитрата серебра по цезию и иоду соответственно. Разработанные контактные элементы рекомендуются для использования в системе локальной газоочистки пирохимического передела переработки облученного ядерного топлива реакторов на быстрых нейтронах.
Full Text
ВВЕДЕНИЕ
В предыдущей работе [1] рассмотрен процесс раздельного улавливания оксида цезия и молекулярного иода, образовавшихся из иодида цезия в окислительной среде, моделирующей общие условия головных процессов переработки различных видов облученного ядерного топлива (ОЯТ). Настоящее исследование рассматривает эффективность аналогичного процесса локализации CsI в среде азота, как пример применения керамических высокопористых блочно-ячеистых контактных элементов (КЭ) в условиях, приближенных к условиям проведения процесса высокотемпературной обработки (ВТО) ОЯТ реакторов на быстрых нейтронах (РБН).
В перспективной комбинированной схеме переработки облученного топлива РБН [2] на головной операции пирохимического передела предполагается азотирование фрагментированного ОЯТ в интервале температур 500–800°С. При этом происходит охрупчивание оболочек твэлов и разрыхление топлива в результате протекания реакций [3]:
UN + 0,25N2 = 0,5U2N3, (1)
UN + 0,5N2 = UN2. (2)
Далее ОЯТ охлаждается до температуры 100–300°С и нагревается до 1000°С уже в атмосфере аргона. В отличие от окислительной среды, иодид цезия в инертной для него среде азота и в аргоне отгоняется в локальную систему газоочистки в неразложившемся виде.
Предварительные эксперименты по локализации соединений ЛПД, выделяющихся во время проведения пирохимического вскрытия оболочек твэлов с плотным нитридным топливом, проходящего в инертной среде аргона, подтвердили эффективность КЭ нового поколения на основе керамических высокопористых ячеистых материалов (ВПЯМ) в процессе селективного улавливания цезия [4]. Заметное его количество, подтвержденное радиометрическим анализом без определения фазового состава, селективно улавливалось контактными элементами с алюмосиликатным активным слоем (АС). Все остальные КЭ в сборке с различными АС также улавливали радиоцезий в меньших на порядок количествах, подтверждая сорбционную способность самой керамической основы из ВПЯМ.
Высокая эффективность локализации соединений иода в среде аргона (до 99.97%), подтвержденная в [5], также представлялась положительным заделом для реализации схемы раздельного улавливания цезия и иода в среде азота.
ЭКСПЕРИМЕНТАЛЬНАЯ ЧАСТЬ
Для экспериментов по определению эффективности улавливания и динамической сорбционной емкости по цезию и иоду использовались КЭ, синтезированные классическим методом дублирования структуры полимерной матрицы из ретикулированного пенополиуретана с нанесенным АС (30% γ-Al2O3 + 70% SiO2) и АС AgNO3 соответственно. Методика их синтеза подробно описана в первой части исследований [1]. В работе [6] приведены характеристики полученных КЭ со специфической сетчато-ячеистой структурой, обеспечивающей высокую внешнюю объемную поверхность (до 2500 м2/м3), доступную для контакта с реакционным газовым потоком. Как следствие, повышается интенсивность массообмена процесса хемосорбции, проходящего, как правило, во внешнедиффузионной области. Такие свойства КЭ позволяют предполагать при их применении повышенную эффективность диссоциации CsI и последующее раздельное улавливание цезия и иода в среде азота.
Размеры синтезированных образцов КЭ составляли 35–50 (d) – 50 (h) мм, плотность пор 30 ppi, средняя плотность 0.4–0.5 г/см3, открытая пористость 75–85%. Содержание алюмосиликатного АС 15–25 мас. %, АС нитрата серебра 10–15 мас. %.
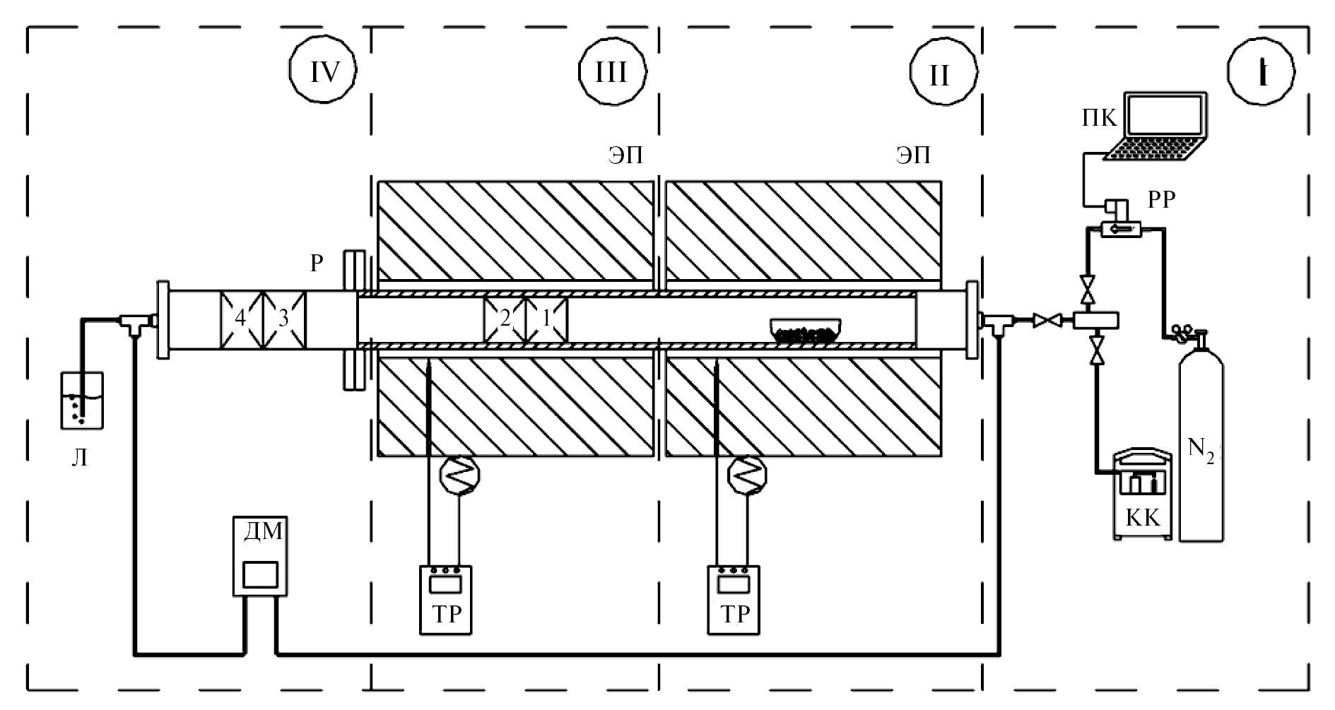
Эксперименты проводили на специализированном сорбционно-каталитическом испытательном стенде (рис. 1). В блоке подготовки газа-носителя (I) баллонный азот с добавлением при необходимости кислорода из концентратора (КК) через регуляторы-расходомеры (РР) поступает в реактор из коррозионностойкой стали (Р), футерованный в высокотемпературной зоне корундовой трубкой. В блоке II происходит нагрев газа-носителя в электропечи (ЭП) с терморегуляторами (ТР) до температуры эксперимента (800–960°С) и испарение навески иодистого цезия в корундовом тигле. Далее пары CsI поступают в испытательный блок III, где в реакторе установлены 2 образца КЭ (№ 1 и 2) диаметром 35 мм с алюмосиликатным АС (испытуемый и контрольный) для улавливания цезия. В зоне реактора, расположенной вне электропечей (блок IV) с температурой 150–250°С, установлены также 2 образца КЭ (№ 3 и 4) диаметром 50 мм с нанесенным АС AgNO3, предназначенные для улавливания I2. Наличие проскока иода качественно наблюдается по изменению цвета раствора крахмала в ловушке (Л), установленной на выходе из реактора. Дифманометр (ДМ) измеряет газодинамическое сопротивление КЭ и всей сборки.
Рис. 1. Схема сорбционно-каталитического стенда.
Условия проведения испытаний и расчетные характеристики для выбранных значимых экспериментов приведены в табл. 1 со следующими принятыми обозначениями: динамическая сорбционная емкость КЭ по цезию – ACs, ACsI – сорбционная емкость по CsI, AI2 – сорбционная емкость по I2, ECsI – суммарная эффективность улавливания CsI всеми образцами сборки. Степень использования АС (η) определяется как соотношение фактического прироста массы КЭ к максимально возможному теоретически с учетом количества и состава образовавшихся продуктов хемосорбции Cs и I2 по данным рентгенофазового анализа (РФА), которые приводятся ниже в мас. %.
Таблица 1. Условия проведения и результаты экспериментов по улавливанию паров CsI: газ-носитель – N2 или (N2 + O2)*, τexp = 10 ч
№ эксп. | № обр. | WG, л/ч | texp, °С | mCsI, г | CCsI, г/л | ACs, г/г КЭ (г/г АС) | ACsI, г/г КЭ | AI2 г/г КЭ (г/г АС) | η, % | ECsI, % |
1 | 1 | 70 | 800 | 4.90 | 0.0070 | 0.06 (0.18) | 0.12 | – | 39.0 | 94.8 |
2 | 0.01 (0.03) | 0.01 | – | 9.5 | ||||||
3 | 200 | – | – | 0.03 (0.13) | 35.2 | |||||
4 | – | 0.01 | 0.01 (0.04) | 12.1 | ||||||
2 | 1 | 100 | 900 | 6.58 | 0.0066 | 0.11 (0.52) | 0.04 | – | 65.0 | 97.5 |
2 | – | 0.01 | – | – | ||||||
3 | 200 | – | – | 0.05 (0.22) | 52.5 | |||||
4 | – | – | 0.01 (0.05) | 10.7 | ||||||
3 | 1 | 100 | 960 | 7.28 | 0.0073 | 0.14 (0.60) | 0.02 | – | 75.8 | 99.9 |
2 | – | 0.01 | – | – | ||||||
3 | 200 | – | 0.01 | 0.07 (0.48) | 69.2 | |||||
4 | – | – | 0.01 (0.05) | 10.7 | ||||||
4* | 1 | 150 | 900 | 8.75 | 0.0058 | 0.16 (0.68) | 0.02 | – | 85.2 | 99.5 |
2 | 0.02 (0.07) | – | – | 10.8 | ||||||
3 | 200 | – | 0.01 | 0.10 (0.65) | 95.9 | |||||
4 | – | – | – | |||||||
5 | 1 | 150 | 800 / 400 | 6.05 | 0.0040 | – | 0.30 | – | – | 98.7 |
2 | – | 0.02 | – | – |
РЕЗУЛЬТАТЫ И ИХ ОБСУЖДЕНИЕ
Как показали проведенные эксперименты, в высокотемпературной среде азота CsI разлагается частично со степенью диссоциации 40–85%, растущей с увеличением температуры, по уравнению:
CsI ↔ Cs(г) + I(г). (3)
При этом образовавшийся атомарный цезий реагирует с оксидами алюминия и кремния в АС (γ-Al2O3×4SiO2), внедряясь в структуру тетраэдров (SiAl)O4 с подвижным кислородом с образованием поллуцита нестехиометрического состава. Молекулярный иод, как и в окислительной среде, далее поступает в низкотемпературную зону реактора, где улавливается нанесенным на КЭ нитратом серебра. Качественным подтверждением разложения CsI в той или иной степени является изменение цвета раствора крахмала в ловушке до фиолетово-синего во всех экспериментах в результате незначительного проскока иода.
Природный поллуцит имеет алюмосиликатный каркас из связанных тетраэдров SiO4 и AlO4, в крупных цеолитных полостях которого размещены катионы Cs+, Na+ и молекулы воды. Как утверждается в работе [7], его состав всегда нестехиометрический, а развернутая кристаллохимическая формула в расчете на элементарную ячейку с 48 (Si, Al) имеет следующий вид:
CsxNayAlx+ySi48-x-yO96×(16–х) Н2O, (4)
где 2у ≥ 16–х ≥ у. В структурной формуле поллуцита x + y всегда < 16 и, соответственно, число атомов кремния превышает 32 (обычно на 1–2 единицы), а число атомов алюминия настолько же менее 16. Разделив приведенную формулу на 16, получаем упрощенное выражение:
(CsxNay)Alx+ySi3-x-yO6×(1–x)H2O, (5)
где 2y ≥ 1–x ≥ y. Используя принятую в [7] схему структурного замещения:
Na+ + mH2O → Cs+, (6)
где (2 ≥ m ≥ 1), при m = 1 получаем формулу синтетического безводного поллуцита:
Csx+yAlx+ySi3-x-yO6. (7)
Если принять x + y = 1, получаем классическую формулу поллуцита стехиометрического состава – CsAlSi2O6. При другом крайнем значении последнего неравенства (x + 2y = 1) получаем поллуцит с формулой:
Cs1-yAl1-ySi2+yO6, (8)
где y ~ 0,06–0,12 (1/16–2/16). Структуру активного слоя исследуемых в настоящей работе КЭ можно представить в форме (1 – y)Al2O3 × 2(2 + y)SiO2.
Таким образом, можно предположить, что в процессе хемосорбции атомарного цезия заполняются вакантные места в полостях структурных тетраэдров и образуется поллуцит близкого к стехиометрическому состава, что подтверждается данными РФА. Механизм этого процесса, безусловно, требует дальнейшего изучения.
Теоретически кислород для окисления иодида цезия может поступать из применяемого газа-носителя – азота высокой чистоты с содержанием O2, измеряемым в ходе испытаний газоанализатором OMD-501X AC, равным 140–150 ppmv. В пересчете на условия всех серий экспериментов такое количество кислорода соответствует окислению 60–80% от общего количества цезия, поступающего в реактор с CsI, в соответствии с уравнением:
4CsI + O2 = 2Cs2O + 2I2. (9)
Полученный оксид цезия реагирует с алюмосиликатным АС по схеме, предложенной в [1], с образованием поллуцита. При суммарной эффективности улавливания более 99% оставшиеся 20–40% цезия адсорбируются в АС КЭ как в форме CsAlSi2O6 по предложенному выше механизму (до 90%), так и в виде неразложившегося CsI, что подтверждено рентгенографически.
Аналогичный подход предложен в работе исследовательского института атомной энергии KAERI (Южная Корея) [8]. С целью получения в результате хемосорбции цезия, генерированного его иодидом в окислительной среде, преимущественно цезиевого нефелина (CsAlSiO4), используют зольные фильтры на основе каолинита (Al2O3×2 SiO2). Процесс идет по реакции:
4CsI + 2(Al2O3×2SiO2) + O2 → 4CsAlSiO4 + 2I2. (10)
В восстановительной среде (4%H2 + Ar) состав сорбента представляется как (Al2O3+xÍ2SiO2+y), где x + 2y = 1, с получением в результате реакции того же стехиометрического нефелина. При этом полагается, что для окисления CsI используется кислород из материала фильтра, но степень его диссоциации и дальнейшего участия цезия в процессе хемосорбции незначительна (менее 1%).
В наших экспериментах, как следует из данных табл. 1, суммарная эффективность улавливания иодида цезия при различных температурах, расходах азота и концентрациях в нем CsI, определяемая соотношением прироста массы всех КЭ по Cs, I и CsI к массе испарившегося иодида цезия, равно как и эффективность раздельного улавливания цезия и иода, составила 94.8–99.9%.
Сорбционная емкость по цезию, уловленному в процессе хемосорбции с образованием поллуцита, растет с увеличением температуры и составляет 0.06–0.14 г Cs/г КЭ, в то же время емкость по уловленному за счет физической адсорбции CsI снижается в пределах 0.12–0.02 г/г. Рост поллуцитовой составляющей емкости соответствует увеличению степени диссоциации иодида цезия. В большинстве экспериментов первый КЭ с АС из смеси γ-Al2O3 + SiO2 улавливал по двум механизмам практически весь цезий, не набирая максимальной сорбционной емкости при степени использования АС 39.0–85.2%. Установленный за ним контрольный образец практически ничего не поглощал. Отметим, что скорость испарения CsI в среде азота примерно в 1.5 раза меньше по сравнению с экспериментами в окислительной среде [1].
Характерная дифрактограмма образца КЭ, испытанного в среде азота при температуре 800°С, приведена на рис. 2. Кроме материалов ВПЯМ (корунд – 61.3%, муллит – 8.6% и следы кварца – 0.4%) в фазовом составе присутствуют поллуцит (12.9%) и 16.8% неразложившегося CsI. В данном случае степень диссоциации иодида цезия составляет 39.3%.
Рис. 2. Фазовый состав образца КЭ после улавливания Cs при texp = 800°С, газ-носитель – N2.
На следующем рис. 3 приведена дифрактограмма образца КЭ, испытанного при температуре 900°С. При ее расшифровке идентифицированы корунд (61.6%), муллит (11.2%), поллуцит (17.7%) и новая фаза CsI3 (9.5%).
Рис. 3. Фазовый состав образца КЭ после улавливания Cs при texp = 900°С, газ-носитель – N2.
Комплексное соединение трииодид цезия (CsI3), образование которого в газовых потоках отмечается также в работе [9], вероятно, является результатом протекания на поверхности КЭ побочной реакции образовавшегося иода с непрерывно поступающим в реактор иодидом цезия:
CsI + I2 = CsI3, (11)
а степень диссоциации иодида цезия возрастает до 75.0%.
На рис. 4 представлена дифрактограмма образца КЭ, испытанного при повышенной температуре 960°С. Кроме корунда (60.6%) и муллита (10.2%) в его фазовом составе наблюдается изменение соотношения CsAlSi2O6 и CsI3 в сторону первого соединения (22.7% : 6.5%), а образование второго, видимо, затруднено вследствие повышения эффективности основного процесса хемосорбции при степени диссоциации иодида цезия 85.2%.
Рис. 4. Фазовый состав образца КЭ после улавливания Cs при texp = 960°С, газ-носитель – N2.
На рис. 5 приведен фазовый состав образца КЭ с АС AgNO3, установленного в холодной зоне реактора (200°С) после улавливания цезия при 900°С и уловившего практически весь образовавшийся I2.
Рис. 5. Фазовый состав образца КЭ после улавливания I2 при texp = 200°С, газ-носитель – N2.
Кроме материала керамической основы (корунд – 55.7% и муллит – 9.5%) в нем присутствует основной продукт хемосорбции – иодид серебра (16.8%), непрореагировавший остаток нанесенного на ВПЯМ нитрата серебра (4.5%) и незначительные количества новых фаз: дисереброиода нитрата (Ag2INO3 – 6.4%), образование которого наблюдалось и в окислительной среде [1], а также сложного галогенида CsAg2I3 (7.1%), в состав которого, вероятно, входит прошедший через высокотемпературную зону реактора в результате проскока иодид цезия. В разных экспериментах сорбционная емкость первых по ходу газа КЭ с нанесенным AgNO3 по молекулярному иоду, не учитывающая иод, уловленный в составе CsI, находится в пределах значений 0.03–0.07 г/г.
Для более глубокого окисления CsI и исключения протекания реакции (11) необходимо добавлять в газовый поток небольшое количество кислорода или воздуха. Как показано в эксперименте № 4, для практически полного перехода цезия в форму оксида и последующего его улавливания КЭ с алюмосиликатным АС достаточно добавления минимального количества O2 (6 мл/мин). Эффективность улавливания CsI составила 99.5%; сорбционная емкость по цезию – 0.16 г/г; по иоду – 0.10 г/г для КЭ с активным AgNO3. Дифрактограмма образца КЭ после улавлива ния иодида цезия в среде (N2 + O2) при температуре 900°С приведена на рис. 6, из которого следует, что почти весь цезий уловлен в форме поллуцита при следующем массовом содержании фаз: α-Al2O3 – 57.8%; 3Al2O3×2SiO2 – 12.5%; CsAlSi2O6 –27.8%; CsI – 1.9%. Таким образом, достигается общая цель по разработке основ химической технологии раздельной локализации изотопов цезия и иода, поставленная в работе [1].
Рис. 6. Фазовый состав образца КЭ после улавливания Cs при texp = 900°С, газ-носитель – (N2 + O2).
Наличие в фазовом составе различных образцов КЭ, независимо от типа нанесенного АС и температурной зоны реактора иодида и трииодида цезия, подтверждает заключение, сделанное в работах [1, 10], о способности керамических ВПЯМ удерживать радиоактивные и токсичные аэрозоли по сорбционно-фильтрационному механизму.
Для проверки эффективности данного процесса в среде азота проведен эксперимент № 5 по улавливанию испарившегося при температуре 800°С иодида цезия КЭ с плотностью пор 30 ppi без нанесенного АС, установленными в блоке IV при температуре в электропечи 400°С. После охлаждения до этой температуры пары иодида цезия должны кристаллизоваться и переходить в аэрозольную форму. Сорбционная емкость по уловленному веществу, которым по данным РФА является исключительно CsI, составила ~ 0.30 г/г КЭ. При этом разложения иодида цезия с выделением молекулярного иода не наблюдалось.
Газодинамическое сопротивление сборки реактора с 4 КЭ при расходе газа-носителя 180 л/ч (линейная скорость 5 см/с) в начале и после окончания экспериментов по улавливанию CsI находится на уровне незагруженного реактора и составляет < 10 Па.
ЗАКЛЮЧЕНИЕ
В среде азота происходит частичное разложение CsI со степенью диссоциации 40–85%, в результате которого, аналогично процессам высокотемпературной хемосорбции в окислительной среде, образовавшийся атомарный цезий может улавливаться активным алюмосиликатным слоем КЭ с образованием CsAlSi2O6, неразложившийся CsI удерживается за счет физической адсорбции, а молекулярный иод улавливается КЭ с активным AgNO3. Сорбционная емкость КЭ по цезию достигает 0.14 г/г, по молекулярному иоду – 0.07 г/г, по CsI – 0.12 г/г КЭ.
Добавление минимального количества кислорода к азоту решает вопрос практически полного окисления цезия в CsI до оксида. В отличие от процесса ВТО, проводящегося в окислительной среде (Ar + O2), в технологической цепочке процесса азотирования ОЯТ для гарантированного раздельного улавливания цезия в форме поллуцита и образовавшегося иода необходимо предусмотреть подачу кислорода или воздуха на линии отходящих газов.
На примере иодида цезия подтверждена способность КЭ с блочно-ячеистой структурой удерживать радиоактивные и токсичные аэрозоли по сорбционно-фильтрационному механизму с динамической емкостью ~ 0.30 г/г КЭ.
В предлагаемых на сегодняшний день локальных системах газоочистки [2, 11] не предусматривается применение процесса хемосорбции – наиболее надежного способа фиксации соединений ЛПД, особенно это касается изотопов цезия, содержание которого в ОЯТ является наибольшим из всех продуктов деления. Поэтому считаем актуальным и целесообразным после масштабирования и оптимизации характеристик КЭ нового поколения на основе керамических ВПЯМ, представленных в настоящей работе и в работе [1], в сторону увеличения сорбционной емкости рекомендовать их для применения в составе опытно-промышленных ЛСГО высокотемпературных переделов переработки ОЯТ РБН как в окислительной среде, так и в среде азота, в условиях эксплуатации модулей переработки Опытно-демонстрационного энергокомплекса, разрабатываемого в рамках проектного направления (ПН) “Прорыв”.
Разработанные алюмосиликатные КЭ с нанесенным АС аналогичного состава также могут применяться для локализации соединений радионуклидов цезия в отходящих газах высокотемпературных операций переработки ОЯТ различного типа в условиях радиохимических производств ведущих предприятий Госкорпорации “Росатом”, процессов иммобилизации жидких высокоактивных отходов и производства цезиевых источников ионизирующего излучения.
Работа выполнена при поддержке ПН “Прорыв”.
ОБОЗНАЧЕНИЯ
A динамическая сорбционная емкость, г/г КЭ (г/г АС)
C концентрация CsI в газовом потоке, г/л
E суммарная эффективность улавливания CsI всеми образцами сборки, %
W объемный расход газа-носителя, л/ч
d диаметр образца КЭ
h высота образца КЭ
m масса испарившегося CsI, г
ppi количество пор на линейный дюйм
ppmv единица измерения концентрации в миллионных объемных долях
t температура эксперимента, °C
τ время проведения эксперимента, ч
η степень использования активного слоя, %
ИНДЕКСЫ
exp эксперимент
G газ-носитель
CsI иодид цезия
Cs цезий
I2 иод
About the authors
М. Д. Гаспарян
Российский химико-технологический университет им. Д.И. Менделеева
Author for correspondence.
Email: migas56@yandex.ru
Russian Federation, Москва
В. Н. Грунский
Российский химико-технологический университет им. Д.И. Менделеева
Email: migas56@yandex.ru
Russian Federation, Москва
Ю. С. Мочалов
Российский химико-технологический университет им. Д.И. Менделеева
Email: migas56@yandex.ru
Russian Federation, Москва
Л. П. Суханов
Акционерное общество “Прорыв”
Email: migas56@yandex.ru
Russian Federation, Москва
А. В. Титов
Акционерное общество “Прорыв”
Email: migas56@yandex.ru
Russian Federation, Москва
С. В. Тищенко
Российский химико-технологический университет им. Д.И. Менделеева
Email: migas56@yandex.ru
Russian Federation, Москва
Е. О. Обухов
Российский химико-технологический университет им. Д.И. Менделеева
Email: migas56@yandex.ru
Russian Federation, Москва
References
- Гаспарян М.Д., Грунский В.Н., Мочалов Ю.С., Суханов Л.П., Титов А.В., Тищенко С.В., Обухов Е.О. Локализация паров иодида цезия на керамических блочно-ячеистых контактных элементах в окислительной среде // Теорет. основы хим. технологии. 2023. Т. 57. № 6. С. 1.
- Шадрин А.Ю., Двоеглазов К.Н., Масленников А.Г., Кащеев В.А., Третьякова С.Г., Шмидт О.В., Виданов В.Л., Устинов О.А., Волк В.И., Веселов С.Н., Ишунин В.С. РH-процесс – технология переработки смешанного уран-плутониевого топлива реактора БРЕСТ-ОД-300 // Радиохимия. 2016. Т. 58. № 3. С. 234.
- Мазанников М.В., Потапов А.М., Вылков А.И., Дедюхин А.Е., Суздальцев А.В., Зайков Ю.П. Способ высокотемпературной обработки отработавшего нитридного ядерного топлива. Пат. 2775564 РФ. 2022.
- Гаспарян М.Д., Осипенко А.Г. Комплексная очистка газообразных сред от летучих продуктов деления в процессе переработки облученного ядерного топлива // Экология промышленного производства. 2015. № 2. С. 40.
- Гаспарян М.Д., Магомедбеков Э.П., Обручиков А.В., Меркушкин А.О., Грунский В.Н., Беспалов А.В., Попова Н.А., Ваграмян Т.А., Григорян Н.С., Осипенко А.Г. Улавливание метилйодида на керамических высокопористых блочно-ячеистых сорбентах в инертной среде // Химическая промышленность сегодня. 2015. № 4. С. 34.
- Гаспарян М.Д., Грунский В.Н., Беспалов А.В., Давидханова М.Г., Попова Н.А., Харитонов Н.И. Структурно-механические характеристики полифункциональных высокопористых блочно-ячеистых материалов на основе оксидной керамики // Химическая промышленность сегодня. 2016. № 6. С. 9.
- Фельдман Л.Г., Плескова М.А. К вопросу о химизме поллуцита // Труды минералогического музея. 1977. № 26. С. 146.
- Yang J.H., Yoon J.Y., Hong S.-M., Lee J.H., Cho Yu.-Z. An efficient capture of cesium from cesium iodide (CsI) off-gas by aluminosilicate sorbents in the presence of oxygen // J. Indust. Eng. Chem. 2019. V. 77. P. 146.
- Кулемин В.В., Михеев Н.Б., Лавриков В.А., Румер И.А., Мелихов И.В., Кулюхин С.А. Извлечение летучих соединений 137Cs и 131I из воздушного потока // Радиохимия. 2014. Т. 56. № 1. С. 41.
- Гаспарян М.Д., Грунский В.Н., Давидханова М.Г., Григоренко Р.И., Титов А.В. Керамические высокопористые блочно-ячеистые фильтры для очистки газовых сред от аэрозолей // Химические волокна. 2021. № 6. С. 21.
- Устинов О.А., Двоеглазов К.Н., Тучкова А.И., Шадрин А.Ю. Локальная система газоочистки при окислении отработавшего нитридного топлива // Атомная энергия. 2017. Т. 123. № 4. С. 2.
Supplementary files








