Distillation Separation of the Isobutyl Acetate–Acetic Acid–Isoamyl Acetate Industrial Mixture
- Autores: Polkovnichenko A.V.1, Chelyuskina T.V.2
-
Afiliações:
- Kurnakov Institute of General and Inorganic Chemistry RAS
- MIREA Russian Technological University (Lomonosov Institute of Fine Chemical Technologies)
- Edição: Volume 57, Nº 4 (2023)
- Páginas: 433-444
- Seção: Articles
- ##submission.datePublished##: 01.07.2023
- URL: https://bakhtiniada.ru/0040-3571/article/view/138516
- DOI: https://doi.org/10.31857/S0040357123040097
- EDN: https://elibrary.ru/VGCJLH
- ID: 138516
Citar
Texto integral
Resumo
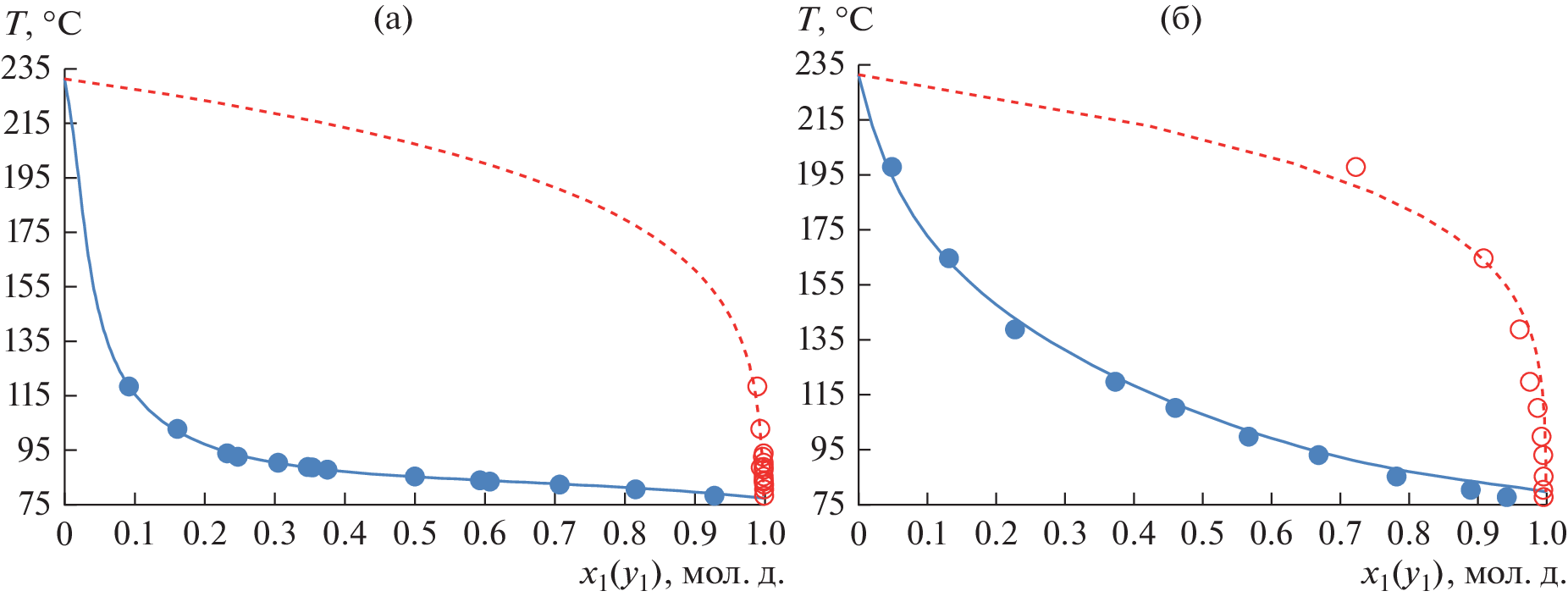
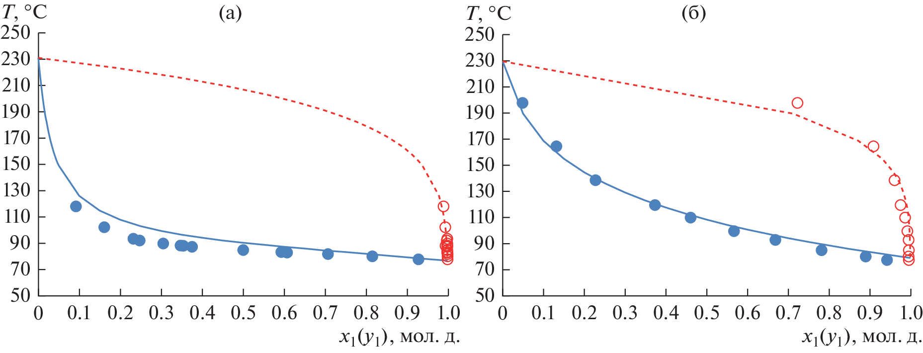
The process of distillation separation of the isobutyl acetate (IBA)–acetic acid (AA)–isoamyl acetate (IAA) industrial mixture, which is a product of the large-capacity waste processing of the alcohol industry, is considered. Various versions of the process flow diagramm (PFD) are proposed and the operating parameters of the distillation columns for providing isolation of IAA and IBA with purity higher than 99.5 mol % from the IBA–AA–IAA industrial mixture are determined. For the IBA–AA, IBA–IAA, IBA–SF, and AA–SF systems the binary interaction parameters of the NRTL-HOC model were estimated. New experimental data on the liquid–vapor phase equilibrium in the IBA–SF and AA–SF systems at 200 mm Hg are obtained for the estimation of the parameters.
Sobre autores
A. Polkovnichenko
Kurnakov Institute of General and Inorganic Chemistry RAS
Email: anzakhlevniy@rambler.ru
Moscow, Russia
T. Chelyuskina
MIREA Russian Technological University (Lomonosov Institute of Fine Chemical Technologies)
Autor responsável pela correspondência
Email: chelyuskina@mirea.ru
Moscow, Russia
Bibliografia
- Пантелеев Е.В., Пантелеев П.Е., Пантелеева Г.В. Способ переработки сивушного масла. 2011. Патент № 2471769
- Patidar P., Mahajani S.M. Esterification of Fusel Oil Using Reactive Distillation. Part II: Process Alternatives // Ind. Eng. Chem. Res. 2013. V. 52. P. 16637–16647
- Комарова Л.В., Серафимов Л.А., Гарбер Ю.Н. Классификация диаграмм трехкомпонентных смесей, включающих биазеотропные составляющие // Журн. физической химии. 1974. Т. 48. С. 1391
- Жаров В.Т., Серафимов Л.А. Физико-химические основы дистилляции и ректификации. Химия, Л. 1975
- Gorak A., Schoenmakers H. Distillation: Operation and Applications, 1st ed. Elsevier, Amsterdam. 2014
- Коган В.Б. Азеотропная и экстрактивная ректификация. Изд. 2-е, перераб. и доп. Химия, Л. 1971
- Seader J.D., Henley E.J. Separation process principles. Wiley, New York. 1998
- Doherty M.F., Malone M.F. Conceptual Design of Distillation Systems. McGraw-Hill, New York. 2001
- Lei Z., Li C., Chen B. Extractive Distillation: A Review // Separation & Purification Reviews. 2003. V. 32. P. 121–213. https://doi.org/10.1081/SPM-120026627
- Wankat P.C. Equilibrium Staged Separations. Prentice Hall, Englewood Cliffs, NJ. 1984
- Фролкова А.К. Разделение азеотропных смесей. Физико-химические основы и технологические приемы. Гуманитар. изд. центр “Владос”, М. 2010
- Тимофеев В.С., Серафимов Л.А., Тимошенко А.В. Принципы технологии основного органического и нефтехимического синтеза // Учебное пособие для вузов. Изд. 3-е, перераб. и доп. М.: Высшая школа, 2010. 407 с.
- Muñoz R., Montón J.B., Burguet M.C., de la Torre J. Separation of isobutyl alcohol and isobutyl acetate by extractive distillation and pressure-swing distillation: Simulation and optimization // Sep. Purif. Technol. 2006. V. 50. P. 175–183. https://doi.org/10.1016/j.seppur.2005.11.022
- Renon H., Prausnitz J.M. Local compositions in thermodynamic excess functions for liquid mixtures // AIChE J. 1968. V. 14. P. 135–144. https://doi.org/https://doi.org/10.1002/aic.690140124
- Митюшкина И.А. Разделение бинарных биазеотропных смесей с использованием дополнительных веществ различной летучести / Дисс. … канд. техн. наук. МИТХТ, М. 2011
- Челюскина Т.В. Теоретические основы ректификационного разделения биазеотропных смесей / Дисс. … докт. техн. наук. МИТХТ, М. 2011
- Hayden J.G., O’Connell J.P. A generalized method for predicting secod virial coefficients // Industrial & Engineering Chemistry Process Design and Development. 1975. V. 14. P. 209
- Серафимов Л.А. Теоретические принципы построения технологических смех ректификации неидеальных многокомпонентных смесей / Дисс. … докт. техн. наук. МИТХТ, М. 1968
- Шутова Г.В. Физико-химические закономерности биазеотропии в бинарных системах / Дисс. … канд. хим. наук. МИТХТ, М. 1992
- Серафимов Л.А., Фролкова А.К., Челюскина Т.В. Подбор экстрактивных агентов при разделении биазеотропных бинарных смесей экстрактивной ректификацией // Теоретические основы химической технологии. 2009. Т. 43. С. 648
- Мягкова Т.О. Физико-химические основы разделения биазеотропных смесей / Дисс. … канд. техн. наук. МИТХТ, М. 2007
- Meirelles A., Weiss S., Herfurth H. Ethanol dehydration by extractive distillation // Journal of Chemical Technology & Biotechnology. 1992. V. 53. P. 181
- Клаузнер П.С., Рудаков Д.Г., Анохина Е.А., Тимошенко А.В. Применение комплекса с частично связанными тепловыми и материальными потоками и тепловых насосов в экстрактивной ректификации смеси аллило- вый спирт – аллилацетат с н-бутилпропионатом // Химия и технология органических веществ. 2020. № 4 (16). C. 42–56.
- Павлов С.Ю. Выделение и очистка мономеров для синтетического каучука. Химия, Л. 1987
- Зарецкий М.И. Комплексообразование бензола и галогенбензолов с органическими растворителями // Российский химический журн. 1998. Т. XLII. С. 9
- Биттрих Г.Й., Гайле А.А., Лемпе Д., Проскуряков В.А., Семенов Л.В. Разделение углеводородов с использованием селективных растворителей. Химия, Л. 1987
- Челюскина Т.В., Бедретдинов Ф.Н. Математическое моделирование экстрактивной ректификации смеси бутилбутират – масляная кислота // Теоретические основы химической технологии. 2016. Т. 50. С. 516
- Бедретдинов Ф.Н., Челюскина Т.В. Исследование различных изомногообразий в четырехкомпонентных системах, содержащих биазеотропные бинарные составляющие // Тонкие химические технологии. 2018. Т. 13. № 1. C. 45–53.
- Раева В.М., Громова О.В. Разделение смеси вода – муравьиная кислота – уксусная кислота в присутствии сульфолана // Тонкие химические технологии. 2019. Т. 14. № 4. C. 24–32.
- Bedretdinov F., Chelyuskina T., Frolkova A. Modeling of vapor-liquid equilibrium and extractive rectifiction of butyl-propionate-propionic acid mixture // In: 10th International Conference on Distillation and Absorption. Germany. 2014. P. 928.
- Гайле А.А., Сомов В.Е. Сульфолан. Получение и применение в качестве селективного растворителя. 2-е изд., испр. и доп. ХИМИЗДАТ, СПб. 2014
- Иванов И.В., Лотхов В.А., Глебова Ю.А., Челюскина Т.В., Кулов Н.Н. Исследование фазового равновесия в системе бензол–гептан–N-метилпирролидон // Теоретические основы химической технологии. 2014. Т. 48. С. 363.
- Christensen S.P., Olson J.D. Phase equilibria and multiple azeotropy of the acetic acid-isobutyl acetate system // Fluid Phase Equilib. 1992. V. 79. P. 187–199. https://doi.org/10.1016/0378-3812(92)85129-V
- Burguet M.C., Montón J.B., Muñoz R., Wisniak J., Segura H. Polyazeotropy in Associating Systems: The 2-Methylpropyl Ethanoate + Ethanoic Acid System // J. Chem. Eng. Data. 1996. V. 41. p. 1191–1195. https://doi.org/10.1021/je960159k
- Zhang C., Wan H., Xue L., Guan G. Investigation on isobaric vapor liquid equilibrium for acetic acid + water + (n-propyl acetate or iso-butyl acetate) // Fluid Phase Equilib. 2011. V. 305. P. 68–75. https://doi.org/10.1016/j.fluid.2011.03.006
- Челюскина Т.В., Митюшкина И.А., Чернышова М.А., Фролкова А.К. Математическое моделирование эволюции биазеотропии в системе изобутилацетат – уксусная кислота // Вестник МИТХТ. 2011. Т. 6. С. 47.
- Челюскина Т.В., Митюшкина И.А., Фролкова А.К., Чернышова М.А. Разделение биазеотропных смесей с использованием легколетучих дополнительных веществ // Химическая технология. 2011. Т. 12. С. 730.
- Серафимов Л.А., Челюскина Т.В., Полковниченко А.В., Якушев Р.А. Анализ взаимных преобразований структур диаграмм трехкомпонентных систем путем образования бинарных внутренних тангенциальных азеотропов // Теоретические основы химической технологии. 2018. Т. 52. С. 636–648. https://doi.org/10.1134/S0040357118040061
- Серафимов Л.А., Челюскина Т.В., Якушев Р.А. Термодинамико-топологический анализ образования внутренних тангенциальных азеотропов в бинарных двухфазных системах // Тонкие химические технологии. 2015. Т. 10. С. 41.
- Sánchez C.A., Sánchez O.A., Orjuela A., Gil I.D., Rodríguez G. Vapor–Liquid Equilibrium for Binary Mixtures of Acetates in the Direct Esterification of Fusel Oil // J. Chem. Eng. Data. 2017. V. 62. P. 11–19. https://doi.org/10.1021/acs.jced.6b00221
- Osorio-Viana W., Duque-Bernal M., Quintero-Arias J.D., Dobrosz-Gómez I., Fontalvo J., Gómez-García M.Á. Activity model and consistent thermodynamic features for acetic acid–isoamyl alcohol–isoamyl acetate–water reactive system // Fluid Phase Equilib. 2013. V. 345. P. 68–80. https://doi.org/10.1016/j.fluid.2013.02.006
- Wittig R., Lohmann J., Gmehling J. Vapor-Liquid Equilibria by UNIFAC Group Contribution. 6. Revision and Extension // Ind. Eng. Chem. Res. 2003. V. 42. P. 183.
- Челюскина Т.В., Полковниченко А.В., Модурова Д.Д. Расширение классификации трехкомпонентных систем, содержащих бинарные биазеотропные составляющие и не имеющих тройных азеотропов // Теоретические основы химической технологии. 2020. Т. 54. С. 738.
- Серафимов Л.А. Термодинамико-топологический анализ диаграмм гетерогенного равновесия многокомпонентных смесей // Журн. физической химии. 2002. Т. 76. С. 1351.
- Patidar P., Mahajani S.M. Esterification of fusel oil using reactive distillation – Part I: Reaction kinetics // Chemical Engineering J. 2012. V. 207–208. P. 377–387. https://doi.org/10.1016/j.cej.2012.06.139
- Huang X. Modeling and Optimization of Acetic Acid Dehydration Process in Industrial Heterogeneous Azeotropic Distillation. PhD Thesis, East China University of Science and Technology, Shanghai 2014.
- Gao H., Zhao F., Zhu L., Yang F., Wang Y., Li D. Dehydration of a Dilute Acetic Acid-Water Mixture via Batch Heteroazeotropic Distillation // Chem. Eng. Technol. 2021. V. 44. P. 477–487.
Arquivos suplementares











