Magneto-Optical Visualization of Magnetic Phases in an Epitaxial Film of Ferrite–Garnet Near the Compensation Point
- Authors: Vetoshko P.M.1, Berzhanskii V.N.2, Polulyakh S.N.2, Suslov D.A.1, Mashirov A.V.1, Shavrov V.G.1, Pavlyuk E.I.2
-
Affiliations:
- Kotelnikov Institute of Radioengineering and Electronics, Russian Academy of Sciences
- Vernadsky Crimean Federal University
- Issue: Vol 68, No 4 (2023)
- Pages: 391-395
- Section: К 90-ЛЕТИЮ ВЛАДИМИРА ГРИГОРЬЕВИЧА ШАВРОВА
- URL: https://bakhtiniada.ru/0033-8494/article/view/138202
- DOI: https://doi.org/10.31857/S0033849423040149
- EDN: https://elibrary.ru/PFZUCD
- ID: 138202
Cite item
Full Text
Abstract
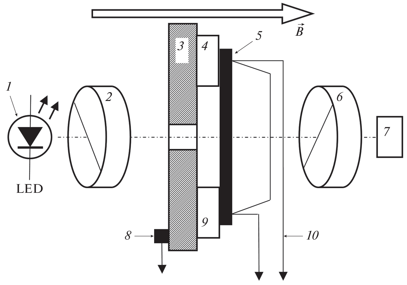
A method for the magneto-optical visualization of magnetic phases in ferrimagnets in the vicinity of the compensation point in the lateral temperature gradient is described. On the example of films of bismuth–gadolinium ferrite garnet, zones corresponding to collinear and non-collinear magnetic phases were observed, depending on the temperature and the magnitude of the magnetic field in the range from 0 to 10 T.
About the authors
P. M. Vetoshko
Kotelnikov Institute of Radioengineering and Electronics, Russian Academy of Sciences
Email: sda_53@mail.ru
Moscow, 125009 Russia
V. N. Berzhanskii
Vernadsky Crimean Federal University
Email: sda_53@mail.ru
Simferopol, 295007 Russia
S. N. Polulyakh
Vernadsky Crimean Federal University
Email: sda_53@mail.ru
Simferopol, 295007 Russia
D. A. Suslov
Kotelnikov Institute of Radioengineering and Electronics, Russian Academy of Sciences
Email: sda_53@mail.ru
Moscow, 125009 Russia
A. V. Mashirov
Kotelnikov Institute of Radioengineering and Electronics, Russian Academy of Sciences
Email: sda_53@mail.ru
Moscow, 125009 Russia
V. G. Shavrov
Kotelnikov Institute of Radioengineering and Electronics, Russian Academy of Sciences
Email: sda_53@mail.ru
Moscow, 125009 Russia
E. I. Pavlyuk
Vernadsky Crimean Federal University
Author for correspondence.
Email: sda_53@mail.ru
Simferopol, 295007 Russia
References
- Белов К.П. // Успехи физ. наук. 1996. Т. 166. № 6. С. 669. https://doi.org/10.3367/UFNr.0166.199606f.0669
- Clark A.E., Callen E. // J. Appl. Phys. 1968. V. 39. № 13. P. 5972. https://doi.org/10.1063/1.1656100
- Звездин А.К., Попков А.Ф. // ФТТ. 1974. Т. 16. № 4. С. 1082.
- Davydova M.D., Zvezdin K.A., Kimel A.V., Zvezdin A.K. // J. Phys.: Cond. Matt. 2020. V. 32. № 1. Article No. 01LT01. https://doi.org/10.1088/1361-648X/ab42fa
- Geprägs S., Kehlberger A., Coletta F.D. et al. // Nat. Commun. 2016. V. 7. Article No. 10452. https://doi.org/10.1038/ncomms10452
- González J.A., Andrés J.P., Anton R.L. // Sensors. 2021. V. 21. № 16. P. 5615. https://doi.org/10.3390/s21165615
- Medapalli R., Razdolski I., Savoini M. et al. // Europ. Phys. J. B. 2013. V. 86. № 4. Article No. 183. https://doi.org/10.1140/epjb/e2013-30682-6
- Bernasconi J., Kuse D. // Phys. Rev. B. 1971. V. 3. № 3. P. 811. https://doi.org/10.1103/PhysRevB.3.811
- Dionne G.F. // J. Appl. Phys. 1976. V. 47. № 9. P. 4220. https://doi.org/10.1063/1.323204
Supplementary files






